完整竣工结算资料 (28)
- 格式:doc
- 大小:108.00 KB
- 文档页数:9
附表一××××工程竣工结算资料单位名称(章):_______________________时间:______________________备注:此表为竣工结算资料的装订顺序,备注栏中的“如果有”在正式的结算资料中应删除并改为见附件×××。
附表二结算交接单合约管理部:本部经办的以下工程项目,已竣工验收,完全符合办理结算的条件,请安排办理工程竣工结算。
根据工程现场实际情况及本部门对结算资料的审核,现就下列事项(须说明:1.结算范围是否属实,是否发过指令修改了原来合同约定的与其它施工单位的工作交接面;2.签证资料是否齐全,若无签证变更需注明;3.工程奖罚单是否齐全,若无奖罚单需注明;4.工程遗留问题、5.合同违约(工期、质量等所有合同约定部分);6.施工现场清理;7.甲供材料;8.隐蔽工程;9.施工用水用电;10.其他)进行说明,请在结算时予以考虑:结算资料清单:□工程竣工验收资料□施工组织方案、图纸会审记录□现场签证单(含现场签证单所需附件)□工程竣工图纸(保证进行过全面审查,并确认图实相符)□其他与工程结算相关的双方确认的协议、备忘录等□工程奖罚单□会议纪要、报告、洽商纪要□工程结算书□合同违约执行情况说明书(工期、质量等是否违约,怎么处理)□施工用水用电及其他□甲供材料明细□开箱验货单、材料入库单□施工形象进度月报表□开竣工报告□隐蔽工程验收资料□桩基资料□场地三通一平资料□混凝土级配单□索赔资料及其他□其他1.2.3.项目责任工程师:(签字)工程主管部门经理:(签字)年月日附表三工程竣工结算申请表说明:本表流向,施工单位(申请单位)—甲方责任部门—甲方相关部门审核—甲方工程分管领导结算通知书:贵单位与我司签订的合同编号为的工程,开工日期为,合同竣工时间为,实际竣工时间为,目前工程竣工验收已办理完成,可予以办理结算。
请贵公司在收到上述通知后注意以下事项:1、结算办理完成前,我司将按合同不再支付工程款项;2、请在接到此结算通知书后30天内(建安总包工程60天内)向我司申报结算资料两套(若合同有约定,以合同约定为准)。
一、工程结算工程结算是指项目竣工后,承包方按照合同约定的条款和结算方式,向业主结清双方往来款项。
工程结算在项目施工中通常需要发生多次,一直到整个项目全部竣工验收,还需要进行最终建筑产品的工程竣工结算。
从而完成最终建筑产品的工程造价的确定和控制。
在此主要阐述工程备料款、工程价款和完工后的结算(工程竣工结算).二、工程价款结算的方式我国现行工程价款结算根据不同情况,可以采取多种方式。
(一)按月结算采取旬末或月中预支,月终结算,竣工后清算的办法.即每月月末由承包方提出已完工程月报表以及工程款结算清单、交现场监理工程师审查签证并经过业主确认之后,办理已完工程的工程价款月终结算.跨年度竣工的工程,在年终进行工程盘点,办理年度结算.目前,我国建安工程项目中,大多采用按月结算的办法。
(二)竣工后一次结算当建设项目或单位工程全部建筑安装工程建设期在12个月以内时,或者工程承包合同价值在100万元以下的,可采取工程价款每月月中预支,竣工后一次性结算.(三)分段结算对当年开工,但当年不能竣工的单项工程或单位工程,可以按照工程形象进度,划分不同阶段进行结算.分段结算可按月预支工程款,分段的划分标准、由各部门、自治区、直辖市、计划单列市规定。
(四)目标结算就是在工程合同中,将承包工程的内容分解成不同的控制界面,以业主验收控制界面作为支付工程价款的前提条件,换言之,是将合同中的工程内容分解为不同的验收单元,当承包商完成单元工程内容并经业主验收后,业主支付构成单元工程内容的工程价款。
在目标结算方式下,承包商欲得到工程款,必须履行合同约定的质量标准完成界面内的工程内容;否则承包商会遭受损失。
目标结算方式中,对控制界面的设定应明确描述,以便量化和质量控制,同时也要适应项目资金的供应周期和支付频率。
三、工程预付款及其计算我国目前工程承发包中,大部分工程实行包工包料,就是说承包商必须有一定数量的备料周转金.通常在工程承包合同中,会明确规定发包方(甲方)在开工前拨付给承包方(乙方)一定数额的工程预付备料款.该预付款构成承包商为工程项目储备主要材料、构件所需要的流动资金。
工程竣工结算所需提供的资料
1、招标文件(投标邀请函)(原件)
2、投标文件(原件)
3、中标通知书(复印件加盖公章)
4、建设工程施工合同及补充协议扫描件(原件)
5、法人授权委托书
6、工程竣工结算调查表、竣工结算承诺书(详见附表1、
2)
7、工程施工许可证
8、开工报告和竣工报告(原件)
9、工程施工图、竣工图(原件+电子版)
10、图纸会审记录、设计变更单、现场签证单、工作联系单
(原件+设计变更电子版)
11、工程结算书(原件,计价电子文档)
12、工程量计算底稿(原件+电子文档)
13、结算价超合同价情况说明(若结算价超合同价)
14、工期延期报告(若工期超合同工期)
(注明以上资料,两份原件)
附表1:工程竣工结算调查表
附表2:工程竣工结算审核承诺书。
工程结算需提供资料1、为简化工作流程、提高工作效率,建议设计预算部相关人员参与各分项工程的验收。
2、各分(子)公司、项目部要求各施工单位在其施工内容进行验收的同时报送工程结算资料,工程经验收合格14日内仍未报送者,甲方按现有资料进行单方结算。
各施工单位报送结算真实、准确,如报送结算与实际严重不符,处理办法详见内发改费字[2012]65号。
要求各施工单位按《工程结算资料审核清单》(后附表)上报结算资料,同时签订关于结算的《授权委托书》(附件3)和《工程结算审核承诺书》。
3、其他相关事宜参照《工程结算管理流程》(博源置业发[2013]97 号)和《工程造价管理实施细则》(博源置业发[2013]88 号)。
附件1:工程结算通知书致:___________________现 _________________________ 工程已竣工,具备结算条件,请贵公司准备完整的结算资料,按《______________ 合同》规定的计价条款,本着实事求是的原则,办理结算,并于________ 年____月_____ 日前报送结算资料(含电子版结算资料和计算底稿),如逾期未报,由此引起的一切法律和经济责任,均由贵方承担。
同时,请贵公司根据本通知附件,填写相关资料,以便于加快今后结算进展。
附件:《授权委托书》《工程结算审核承诺书》特此通知公司名称(盖章):年月日附件2:授权委托书本授权委托书声明:我系法定代表人,现委托为我公司的全权代理,身份证号为,造价员证书编号为,以我公司名义全权处理工程结算事项,授权代理人在结算及谈判过程中所签署的一切文件和处理与之相关的一切事务,我公司全部予以承认。
代理人无权再委托,本委托自本结算完成后自动失效。
授权代理人:(签字)性别:联系电话:法人代表人:(签字、盖章)授权委托日期:附件3:工程结算审核承诺书致:现________________________________ 工程已竣工,具备结算条件,请贵公司按《合同》规定的计价条款,本着实事求是的原则,办理结算。
工程合同竣工结算【标题】h1工程合同竣工结算范本/h1【】随着工程项目的圆满完成,甲乙双方即将进入关键的竣工结算阶段。
为确保结算过程的公正性与透明度,根据《中华人民共和国民法典》及相关法律法规,结合本项目的具体实际情况,特制定以下竣工结算范本。
一、结算前提1. 工程项目已按照合同约定内容完成,并通过甲方组织的验收,达到合同约定的质量标准。
2. 所有必要的工程变更、调整已经双方确认,并有相应的书面文件作为依据。
3. 双方已清理并确认无遗留问题,或已有明确的处理方案和时间表。
二、结算依据1. 工程量清单:根据实际完成的工程量,参照合同约定的计价方式进行计算。
2. 设计变更:任何设计变更都应有正式的设计变更通知单,并经双方签字确认。
3. 现场签证:对于施工过程中的现场签证,应确保其真实性、合法性,并有相关证明材料。
三、结算流程1. 乙方提交初步结算报告,包括工程量清单、设计变更、现场签证等相关资料。
2. 甲方对初步结算报告进行审核,提出异议项,并在约定时间内反馈给乙方。
3. 双方就异议项进行协商,达成一致后形成最终结算报告。
4. 甲方在收到最终结算报告后的约定时间内完成付款。
四、结算原则1. 公正性:确保所有结算数据真实、准确,不得有任何虚假成分。
2. 透明性:结算过程应公开透明,双方均有权了解和监督结算的每一个环节。
3. 合法性:所有结算行为必须符合国家法律法规的规定,不得违法操作。
五、违约责任1. 若甲方未按约定时间完成付款,应按合同约定支付违约金。
2. 若乙方提供的结算资料不实,应承担由此产生的一切后果。
六、其他事项1. 本结算范本中未尽事宜,双方应本着公平、诚信的原则协商解决。
2. 本结算范本一经双方签字盖章,即成为工程合同不可分割的一部分,具有同等法律效力。
管理科:预付款:7天进度款14天。
竣工验收及索赔28天。
42天最后答复。
误期赔偿在结算款中扣除。
竣工结算资料28天(支付申请7天发支付凭证后结算支付14天完成)。
竣工15日备案,质量监督上报3天计日工结束后24小时内上报发包人签证报告一式三份,发包人收到后2天内答复。
举证第一审不少于15日第二审不少于10日。
进度款(60%-90%)24小时:暂停施工24小时答复。
3天:建设单位把各方签字的质量质量验收证明在验收后3天内报质量监督备案。
7天的:合同计量周期核量,发包人需现场核量的前24时通知承包人。
期满后预付款和进度款7天内不支付第8天可以停工。
建设单位在竣工验收7个工作日前将验收的时间地点验收组名单通知监督单位。
监理7天给承包人发开工通知。
14天的:合同价款调整(调增调减)事项后14天内:进度款间隔14天(监理应该收到承包人的支付申请的14天内审核,发包人审核14天。
发包人应在监理人收到进度付款申请单后的28 天内支付):缺陷期满退还工程质量保证金14天。
:变更估价14天。
劳务分包结算14天。
竣工支付款和最终清算14天。
预付款保函退回扣完后14天审核完成。
劳务14天内结算尾款。
合同变更程序为14天(只能监理发出变更指示)28天的:法定价格调整为招标截止日前或非招标的合同签订前28天。
竣工验收申请28天申请后56天不验收为合格合同索赔都为28天(只向监理提交。
索赔意向书-索赔报告-延续索赔通知-最终索赔报告)30天:中标通知书发出30天内签订书面合同。
安全文明费开工28天支付不少于60% 。
隐蔽验收提前48小时通.知监理人。
公安受理20日内组织消防验收节能验收:分项工程为监理主持施工技术负责人相关专业质量员施工员必要时邀请设计相关专业人员分部工程:总监主持。
施工项目经理技术负责人专业质检员施工员,设计单位节能专业设计人员6个月:中止后继续履行(有不可抗力或者客观原因障碍在时效最后6个月内才可以中止)中断后重新计算诉讼时效裁决15天裁定10天上诉期。
工程竣工(结算)需提供的资料清单
精品文档
工程竣工结算审核需提供的资料清单
1、招标文件及答疑;
2、标底(或控制上限价)预算书;
3、中标单位投标文件(含中标预算书);
4、施工合同及补充协议书(如果有);
5、竣工图和原招标用施工图;
6、送审结算书;
7、开工、竣工报告;
8、图纸会审记录及设计变更通知;
9、基础开挖平面图(如果有);
10、施工现场签证(单)资料;
11、工程隐蔽记录及相关材料合格证明等;
12、是否有甲方提供设备或建筑材料的情况说明;
13、场地地质设计勘察报告;
14、工程所在地材料价格信息(招标用的那一期及施工期
间的);
15、其它有关本工程的文件资料。
收集于网络,如有侵权请联系管理员删除。
竣工结算需提供资料(主体)一、竣工验收报告:竣工验收报告需经监理、建设及其政府相关部门签字确认;二、施工图纸及相关资料,包括以下内容:1、施工合同及附件、协议书2、补充协议3、中标(中选)通知书4、建设项目安全文明施工评价得分及措施费费率核定表5、图纸会审纪要(签字盖章手续齐全且清楚)6、开、竣工报告及工期延期联系单(签字盖章手续齐全且清楚)7、竣工验收记录(签字盖章手续齐全且清楚)8、招标文件及招标工程量清单及电子盘、招标答疑纪要、招标补遗9、投标文件商务标及电子盘10、投标文件技术标11、承包人编制的结算书及电子版(盖承包人公章和造价编制人员资格章,并由建设单位签字同意送审,共叁套)。
12、地勘报告及总平面布置图13、承包方、发包方、监理方按规定签字认可的竣工图纸(按《技术制图复制图的折叠方法》GB/10609.3-89统一折叠成A4幅面297mm×210mm)14、经审定的施工组织设计、施工方案或专项施工方案(签字盖章齐全且清楚)15、原始地貌标高抄测记录16、材料、设备认质核价单(需有连续编号,签字盖章齐全且清楚)17、设计变更单、技术核定单(需有连续编号,签字盖章手续齐全且清楚、附件完备)18、现场签证单(需有连续编号,签字盖章手续齐全且清楚,附件完备)19、甲供材料(设备)收货验收签收单及材料(设备)明细表20、隐蔽工程验收记录(签字盖章手续齐全且清楚)21、与工程结算有关的“发包方通知、指令、会议纪要、往来函件、工程洽商记录及其他相关罚款单等”22、建设单位付款情况表(附进度支付审核报表封面)23、各标段、各专业施工单位涉及交叉的施工范围确认文件24、结算资料报送承诺书、及结算委托书。
25、其他有关影响工程造价、工期等资料26、移交资料签收表(一式三份)27、工程量计算表28、施工单位资质等级、营业执照复印件(加盖公章、法人章)以上资料全部为原件(资质等级,营业执照等复印件除外),其中11、18、19、21、27、28项资料留存,剩余其它资料审计完成后全部返还。
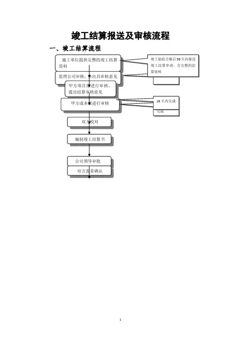
竣工结算报送及审核流程一、竣工结算流程二、流程说明1、工程竣工验收合格后30天内,施工单位向监理单位递交竣工结算申请及完整的结算资料(见结算资料清单)。
2、监理公司接到结算申请及结算资料后10天内,对资料的准确性、完整性、符合性进行审核,如不符合要求,施工单位应在7天内补充及修订不完整不准确的资料.监理公司对上述结算资料出具结算意见。
3、甲方项目部在接到经监理审核的结算申请及结算资料后10天内,对资料的准确性、完整性、符合性进行复核,如不符合要求,施工单位应在7天内补充及修订不完整不准确的资料。
项目部对上述结算资料出具结算意见。
4、经项目部审查通过的结算资料视为最终的结算资料,在此之后无论任何单位或部门补充的资料均须按上述流程并报甲方公司领导批准方予受理。
5、成本部在接到项目部转来的结算资料后组织预算工程师进行结算审核。
根据工程实际情况在1~3个月内完成。
6、成本部审核完毕在与施工单位进行校对前须同施工单位共同制定校对工作计划,明确校对时间及在每个时间段的应校对的工作内容,双方签字确认.若在校对过程中施工单位预算人员在某个时间段内未前来校对则视为施工单位认可甲方对该时间段内工作内容的审核结果.7、校对工作完毕后,预算工程师将校对后的结果提交成本部指定的专业预算工程师进行复核。
8、专业预算工程师在接到校对结果后21天内进行复核,如有不同意见及时与主办工程师进行沟通然后将统一意见后的结算书提交成本部经理审核。
9、成本部经理在7天内对专业预算工程师复核后的结算书进行审核。
10、成本部审核结果报送公司领导审定,经公司审定的结算书一式四份,甲乙双方签字盖章,甲方存三份,乙方存一份.该结算书做为甲方支付工程结算款的唯一依据.如甲方需要另行编制竣工结算证明及建设工程造价结算核准表,乙方必须无条件配合,该竣工结算证明及建设工程造价结算核准表所附之结算书仅作为办理相关证件用,不作为支付工程款的依据。
三、施工单位申报竣工结算需提交的资料清单1、结算申请表一份,该结算申请表须经监理公司及甲方项目部签署意见,对施工单位报送的竣工结算资料进行审核确认,对施工范围及施工过程中合同执行情况进行详细说明,确认施工范围是否与合同约定相符、在施工过程中施工范围有何变化以及与其他分包单位的施工范围如何界定。
建筑工程竣工结算书尊敬的甲方/乙方:兹向贵公司提交本工程竣工结算书,请查收。
一、结算内容本工程竣工结算范围包括以下项目:1. 工程概况:简要介绍工程名称、地点、建设单位、施工单位等基本信息。
2. 合同概况:概述工程合同的签订日期、合同金额及付款方式等关键信息。
3. 工程量计算:详细列出本工程的各项工程量,并标明计量单位。
计算工程量时,严格按照相关行业标准、规范进行计算,确保准确性。
4. 工程变更:如有工程变更,需要将变更内容、变更前后工程量以及变更费用进行说明。
5. 材料清单:列出工程所使用的主要材料清单,并注明单价、数量、金额等详细信息。
6. 劳务支付:按照劳动力工资标准,结算工程期间所需劳动力的工资总额,并附上相关工资单据。
7. 设备使用费:如工程期间使用了设备,需结算设备使用费,在清单中注明设备名称、使用天数、单价等相关信息,并计算总费用。
8. 管理费用:结算工程期间的管理费用,包括管理人员工资、差旅费等,务必提供相关票据以确保合法性。
9. 其他费用:如有其他费用发生,需详细列示并提供费用明细。
10. 结算金额总计:将以上各项费用汇总计算,得出最终的结算金额总计。
二、结算说明1. 结算依据:本竣工结算书的费用计算依据包括合同约定、计量单据、材料清单、劳动力工资标准以及相关管理费用规定等。
2. 结算方式:结算方式按照合同约定,本结算书采用明细结算方式。
3. 付款要求:甲方/乙方应在收到竣工结算书后的10个工作日内,将应支付的款项按照约定方式支付至相应账户。
三、结算附件1. 工程量清单:对竣工结算的工程量进行明细列示。
2. 材料清单:详细列出工程所使用的主要材料清单。
3. 劳务工资单据:提供工程期间劳动者的工资单据、合同等相关文件。
4. 其他费用明细:如有其他费用发生,需提供相关费用明细。
五、结算总计根据以上结算说明和费用计算,本工程竣工结算金额总计为XX元整(大写)。
六、结算陈述本结算书的内容真实、准确,相关费用的计算和支付符合相关法律法规的要求,且未发生虚报、偷税、逃税等行为。
工程竣工结算表1. 简介工程竣工结算表是工程项目竣工验收过程中,对全部工程量、工程成本和工程质量进行评估和计算的一种表格。
它是工程项目结算汇总、总结的基础,也是获得竣工验收、结算资金的重要依据之一。
2. 表格内容工程竣工结算表的内容包括但不限于以下几个方面:2.1 工程项目信息包括工程项目的名称、项目编号、施工单位、建设单位等基本信息。
2.2 工程量计算工程竣工结算表需要记录工程的各项量值,如土方、砌体、混凝土、钢筋等。
同时,需要记录每项工程的计量单位和数量,以便后续计算。
2.3 工程成本计算工程竣工结算表需要按照成本清单或单位工程造价计算规定,计算出工程项目的成本。
成本计算包括直接费用和间接费用两部分。
直接费用包括材料费、人工费、机械费等;间接费用包括管理费、安全费、施工保证金等。
2.4 工程质量评估工程竣工结算表需要对工程质量进行评估,包括主体结构的稳定性、安全性和耐久性等方面的考核。
根据工程质量评估结果,可以对工程进行加减项的处理。
2.5 竣工验收意见工程竣工结算表需要记录竣工验收单位对工程项目的评审结果和意见。
竣工验收意见包括验收合格、验收合格但有纠正要求和验收不合格等。
3. 编写要求3.1 表格格式工程竣工结算表可采用Markdown表格格式编写,确保表格内容整齐、对齐,并且易于阅读。
建议使用图表软件或在线Markdown编辑器生成表格,以确保格式正确。
3.2 语言规范文档需使用明确、准确的语言描述,避免使用口语化的表达方式。
句子结构清晰,语法规范,避免出现歧义。
3.3 文档长度文档最低长度要求为1200字,但并不代表文档必须达到该长度,更重要的是保证内容详尽、完整。
4. 示例表格下面是工程竣工结算表的一个示例(仅为示例,具体内容根据实际工程项目而定):项目名称项目编号施工单位建设单位工程量计算单位数量土方工程m3 1000砌体工程m²500混凝土工程m³200钢筋工程t 50工程成本计算直接费用材料费万元100人工费万元50机械费万元30间接费用管理费万元20安全费万元10施工保证金万元 5工程质量评估结构稳定性合格结构安全性合格结构耐久性合格竣工验收意见验收结果合格纠正要求验收意见5. 结论工程竣工结算表是工程项目竣工验收和结算的重要文件,通过对工程量、工程成本和工程质量的计算和评估,为工程项目竣工验收提供了依据,保障了工程质量和工程款项的合理结算。
政府投资建设项目竣工结算送审资料1.立项文件、调概文件及附件(包括:可行性研究报告、立项批复、政府批文、领导指导、会议纪要等)2.初步设计及预算批复3.设计、施工图纸及图纸会审纪要4.招标代理、勘察、设计、监理单位相关资料(含确定过程资料及合同)5.地勘报告6.财政评审文件、财政评审“工程量清单”7.招标/比选文件(含标底或预算控制价、工程量清单、招标答疑纪要等)8.评标过程资料及评标报告等相关资料9.中标单位的投标/参选文件(含技术标、商务标、综合单价分析表)10.中标/中选通知书11.施工合同/协议12.施工企业资质证明文件13.施工企业规费证14.施工许可证15.已审批的施工组织设计/施工方案16.开工报告17.设计变更(含:通知书、说明、图纸、技术核定单)及重大变更审批资料18.技术核定单(需要编号、签字盖章齐全)19.隐蔽工程验收记录(签字盖章齐全)20.现场签证单(需要编号、签字盖章齐全)21.材料(设备)核价单(需有编号、签字盖章齐全)22.质量保证资料(含材料合格证、材料进厂检验记录、质量验收记录、需相关单位签字盖章)23.其他与工程相关的“甲方通知及指令、会议纪要、往来函件”24.工程接受质检、安全环境检查等相关资料25.建设工程安全文明施工措施评价及费率测定表26.专项验收相关资料27.竣工工程申请验收报告和竣工验收报告28.竣工图纸(需建、施双方、监理单位签字盖章认可)29.送审结算书(需建、施双方以及注册与该施工单位的造价人员签字盖章)30.其他工程相关资料(如监理日志、监理报告、施工日志及相关单位资质证明)31.电子光盘(含设计图、投标/参选文件、竣工图、送审结算)32.主要设备清单。
建设工程竣工结算方案一、总则建设工程竣工结算是指建设单位与施工单位在工程竣工验收合格后,根据合同约定和工程实际情况,按照国家相关规定,通过审核、评审、结算程序,最终确认工程造价的过程。
竣工结算是一项涉及多方利益和合法权益的复杂工作,对于确保工程质量、维护建设单位、施工单位和相关其他利益主体的正当权益具有重要的意义。
因此,竣工结算必须遵循规范程序,依法依规,公开、公正、公平地进行,确保各方合法权益不受损害。
二、竣工结算程序1、竣工结算的必备条件(1)工程竣工验收合格;(2)工程中的变更工程和新增工程已经办理合法手续;(3)工程制图、工程记录、技术资料的整理工作已完成。
2、竣工结算的程序(1)竣工结算编制建设单位组织工程造价审核单位、监理单位等进行综合审核,审核施工单位提交的竣工结算初步编制情况。
审核内容包括:工程量清单的编制是否符合规范要求,工程变更和增加工程的协议和变更单是否具备合法性,变更工程和新增工程的工程量计算是否准确、合理等。
(2)审核评审审核评审工作由建设单位委托具备相应资质的工程造价审核机构负责。
审核评审内容包括:审查工程造价资料的真实性和完整性,评审增加工程和变更工程的合理性以及造价计算的准确性,工程质量是否合格等。
(3)竣工结算报审竣工结算最终编制完成后,建设单位组织相关单位对竣工结算文件进行报审。
报审内容包括:工程完成情况的证明文件、监理工程师和建设单位审核意见、竣工结算金额的计算核对等。
(4)资金支付竣工结算文件经验收合格后,建设单位及时向施工单位支付竣工结算款。
三、注意事项1、工程量清单编制竣工结算编制以工程量清单为基础。
工程量清单应依据实际工程情况编制,确保工程量的真实准确。
2、工程造价资料的真实性竣工结算应当依据真实的工程造价资料编制,不得夸大工程量和单价等。
3、工程施工质量竣工结算应当以工程实际完成情况和工程质量验收结果为基础,严格按照质量验收标准和工程奖惩制度执行,对工程质量差、不符合设计要求的部分应当进行相应的扣罚。
竣工资料目录及全套内容一、交工技术文件的交付及责任建设单位对交工技术文件的形成、收集、组卷有协调、监督的责任。
监理单位对交工技术文件的形成、收集、组卷有组织、审核的责任,应及时对交工技术文件进行检查、审核、签证、盖章,组织承包单位完成交工技术文件的归档工作。
交工技术文件由施工单位负责编制、组卷。
有分包施工单位的工程项目,分包施工单位应按本规定的要求向总承包单位提交经整理、编制后的分包工程交工技术文件,然后由总承包单位统一汇编、组卷。
各施工承包单位不可单独组卷或移交档案,各单元联合参建单位需编制好本单位施工范围内竣工资料,交主体施工单位统一组卷,否则整个单元资料不予验收。
施工承包单位按照工程承包合同规定的内容和要求及设计文件、施工图等,完成承担的全部建筑安装工程,并经工程交接后,在三个月内将装订成册的交工技术文件正本、副本向建设单位归档。
建设单位应在收到交工技术文件后一个月内组织监理单位、工程质量监督机构及有关部门对其完成审核、签章确认工作,并签署和办理交工技术文件移交手续。
当存在影响试运行、投产和使用的少量未完工程时,可暂不提交未完工程的交工技术文件。
当未完工程完工后,施工承包单位应及时补交有关交工技术文件,并汇入原交工技术文件的相应案卷中。
二、项目竣工文件内容项目竣工文件包括:1.项目施工文件;2.竣工图;3.项目监理文件。
(一)、工程施工文件详表:施工文件及组卷按次应包罗但不限于以下内容:第一卷施工综合管理资料序号名称表格编号1.外封面见档案馆请求2.封面SY01-0013.交工技术文件目录SY01-0024.工程说明SY01-0035.工程交接项目统计表SY01-0046.主要实物工程量及劳动工日统计表SY01-0057.未完工程明细表SY01-0068.施工分包审批表SY01-0079.施工图审查记录SY01-00810.施工技术交底记录SY01-00911.单项工程开工报告SY01-01012.施工组织设计、HSE管理文件、工程质量管理文件、工程进度管理文件、工程分包计划和工程单位工程划分(包含批复文件)13.合格焊工登记表SY01-01114.无损检测人员登记表SY01-01215.特种作业人员登记表(通用)SY01-01316.计量器具注销表(无计量器具,有施工机具)SY01-01417.设计变更通知单明细表SY01-01518.设计变换通知单SY01-01619.工程联络单明细表SY01-01720.工程联络单SY01-01821.单项工程质量验收评价表SY01-01922.单位工程质量验收评价表SY01-02023.分部工程质量验收评价表SY01-02124.质量包管资料核查表SY01-02225.声像材料交接记录SY01-02326.严重质量变乱处置惩罚记录SY01-02427.中间交接证书SY01-02528.工程交接证书SY01-026第二卷设备材料验收资料序号名称表格编号1.材料代用单SY02-0012.合格证汇总表SY02-0023.合格证粘贴表SY02-0034.设备开箱检查记录SY02-0045.材料检验(实验)报告明细表SY02-0056.阀门/管件实验记录SY02-0067.高压管件现场检验记录SY02-0078.大型设备(构件)到货检查记录SY02-008第三卷施工及质量检验记录(一)工业建构筑物施工卷1.压实土密实度试验报告甘试-212.水泥实验报告甘试-223.钢材力学性能试验报告甘试-234.砂实验报告甘试-265.卵石(碎石)试验报告甘试-276.混凝土配合比报告甘试-287.砂浆配合比报告甘试-298.混凝土抗压强度试验报告甘试-329.混凝土强度评定记录甘试-3310.混凝土抗渗试验报告甘试-3411.建筑工程饰面砖粘结强度报告甘试-4012.石油沥青纸胎油毡防水卷材试验报告甘试-4113.高聚物改件沥青防水卷材试验报告甘试-4214.高份子防水卷材实验报告甘试-4315.聚氨酯防水材料实验报告甘试-4416.混凝土配合比设计委托单甘试-6317.砂浆配合比设计委托单甘试-6418.道路石油沥青检验报告有相应资质检测单位出具的正式报告19.水泥混凝土抗折强度检验报告20.道路基层、面层厚度检测报告21.道路弯沉检验报告22.路面抗滑性能检验报告(二)动设备安装工程施工及质量检验记录用表格式(三)静设备安装工程施工及质量检验记录用表格式(四)储罐/气柜制作安装工程施工及质量检验记录用表格式(五)球罐制作安装工程施工及质量检验记录用表格式(六)管道安装工程施工及质量检验记录用表格式(七)电气安装工程施工及质量检验记录用表格式(八)自控外表安装工程施工及质量检验记录用表格式(九)通信安装工程施工及质量检验记录用表格式施工资料填报要求:1、上述表格中未涵盖的其它筑炉、衬里、防火、防腐、防渗、绝热、锅炉、压力等专业以及其它需要由国家认可的、有资质的检测(试验)单位检验的材料二次复验和施工质量检测用表,按检测(试验)单位主管部门的规定执行,同时按本管理办法列入交工技术文件,组卷、装订及交付按本管理办法执行。
工程竣工结算的说法一、工程竣工结算的那些事儿(一)什么是工程竣工结算呢?工程竣工结算就像是一场工程旅程的最终算账。
你想啊,一个工程从开始规划、施工到最后完工,这期间花费了多少钱,甲方应该给乙方多少钱,这都得通过竣工结算来搞清楚。
这就好比我们出去旅游,回来要算算一共花了多少钱一样。
它是对整个工程的成本、利润等各方面的一个综合计算,可重要啦。
(二)工程竣工结算包含哪些部分?1. 工程量的计算。
这是基础中的基础,工程做了多少量得算清楚。
比如说盖房子,到底砌了多少块砖,打了多少立方米的混凝土,这些都得按照一定的规则和标准去计算。
不能施工方说多少就是多少,得有依据。
就像我们买东西,得知道自己买了多少个一样。
2. 单价的确定。
不同的工程材料、人工等都有不同的单价。
这个单价有的是按照市场行情来的,有的是在合同里就约定好的。
比如说请工人,有的工人一天工钱是200元,有的可能因为技术好或者地区差异,工钱是300元呢。
这些单价在结算的时候要准确无误地用在计算总价上。
3. 费用的调整。
在工程建设过程中,可能会有一些费用的变动。
比如说材料价格突然上涨了,或者因为设计变更增加了一些工程内容,这些都会导致费用的调整。
这就像我们计划好了旅游预算,结果中途某个景点门票涨价了,那总预算就得变一变。
(三)工程竣工结算的流程1. 施工方提交竣工结算报告。
施工方要把自己算好的竣工结算报告交给甲方。
这个报告里要详细列出工程量、单价、总价等各种数据。
就像是给甲方交一份详细的账单一样。
2. 甲方审核。
甲方拿到报告后,不能就这么轻易地相信,得进行审核。
甲方可能会自己有专门的审核人员,也可能会聘请第三方的造价咨询公司来审核。
他们会对照合同、施工图纸、工程变更记录等各种资料,仔细地检查施工方提交的报告有没有问题。
这就好比我们检查商家给的账单有没有算错一样。
3. 双方核对与协商。
如果甲方在审核过程中发现了问题,就会和施工方进行核对和协商。
双方可能会就某些工程量或者单价存在争议。
工程竣工资料样本
在工程竣工资料中,需要包括以下内容:
一、竣工图纸:包括建筑、结构、电气、给排水等专业的竣工图纸。
二、施工工程质量验收报告:对工程的建筑结构、建筑设备、室内装
饰装修等方面进行全面的质量验收。
三、工程施工记录与施工日志:记录了整个工程施工的过程,包括施
工人员、施工方法、材料的使用情况等。
四、工程竣工检查报告:对工程进行了全面的竣工检查,包括各项建
筑设备的安装、使用情况、消防设施的完备性等。
五、工程竣工备案证明:通过相关部门的验收,对工程进行备案,将工程纳入管理范围。
六、主要设备和材料的质量证明和合格证书:对于工程中使用的主要
设备和材料,需要提供其质量证明和合格证书,证明其符合相关质量标准。
七、竣工结算价款支付证明:包括施工单位的结算费用、实际支付的金额、支票或转账凭证等。
八、竣工验收合格证书:由工程质量监督部门颁发的证书,证明工程已经完成验收并合格。
九、竣工图纸、设计变更记录和审批文件:包括工程竣工时所使用的
最终设计图纸、设计变更过程记录和相关审批文件。
十、工程安全技术档案和验收记录:包括工程施工期间的安全技术档案和工程的安全验收记录。
以上是工程竣工资料的主要内容,具体要求和形式可以根据不同工程的性质和要求进行调整。
为了保证工程竣工资料的完整性和准确性,务必对每个环节进行认真的记录和备案。
工程计算有哪些依据?工程合同有哪些类型?不同的合同类型如何对工程量计价?现有的招投标文件有哪些结算方式?工程变更如何处理?……关于工程结算资料太多,注意问题太多,优工给您整理了一个结算注意问题汇总大全,请您收藏一下,希望对您的工程结算有所帮助!看点01工程计算的依据1、招标书:指业主或其委托单位发出的具有法律效力的招标文件,包括招标文件答疑、补充说明、往来信函、会议纪要等。
2、投标书:指我方为响应招标书而投出的并且已经中标的投标文件。
3、合同:指经甲乙双方签订的工程承包合同,其内容与工程承包合同所规定的合同组成内容一致。
4 、设计变更:指由设计院开出的签字齐全并生效的设计变更通知单或其它文件。
5 、委托单:指业主或其他单位开出的委托我单位施工的本标段范围以外工作的有效单据。
6、联系单:指业主、设计院、总承包单位、其他施工单位以及本单位就施工协调等方面开出的工程联系单。
7、施工方案及措施:指由我方编制经业主(发包方)、监理批准的用以指导工程施工的方法和程序。
8 、价格确认单:指根据合同规定或业主另行委托由乙方采购设备或材料时,必须经业主确认价格和数量的单据。
9 、工程量签证单:根据合同和图纸实际情况,必须由业主及监理现场确认的工程量签证单据。
10 、工程索赔:指在合同履行中,当事人一方由于另一方未履行合同所规定的义务或者出现了应当由对方承担的风险而遭受损失时,向另一方提出补偿要求的行为。
看点02工程合同一、总价合同1、固定总价合同:合同双方以图纸和工程说明为依据,依照约定的总价进行承包。
在合同履行过程中,除非招标人要求变更原定的承包内容,或实际工程量与预计工程量的差异超过某一约定的百分比之后才可以调整合同价格,否则承包人不得要求变更总价。
2、调整总价合同:在报价及签定合同时,以招标文件的要求和当时的物价计算合同总价。
但在合同条款中约定,如果在执行中由于市场价格浮动引起工料成本增加或减少时,合同总价应如何做相应调整。
3、固定工程量总价合同:招标人要求投标人在投标时按工程量清单中规定的内容分别填报分项工程的单价。
(这是参考工程量,一般不作调整)二、单价合同当准备发包的工程项目的内容和设计指标不能十分确定,或是可能出入校大,此时采用总价合同方式就不再合适,而应改用单价合同方式。
单价合同有以下形式:1、估计工程量单价合同,招标人在准备此类合同的招标文件时,委托咨询单位按分部分项工程列出工程量表及估算的工程量,承包商投标时在工程量表中填入各项的单价,据之计算出合同总价作为投标报价之用。
但在每月结算时,以实际完成的工程量计算。
在工程全部完成时以竣工图最终结算工程的总价款。
2、纯单价合同,在设计单位还来不及提交施工详图,或虽有施工图但由于某些原因不能准确地计算工程量时采用这种合同。
招标文件只向投标者给出各项工程内的工作项目一览表,工程范围及必要的说明,而不提供工程量,承包商只要给出工作项目一览表中各项目的单价既可。
将来施工时按实际工程量计算。
3、单价与包干混合式合同,以单价合同为基础,但对其中某些不易计算工程量的分项工程采用包干办法。
三、成本加酬金合同1、成本加固定百分比酬金合同2、成本加固定酬金合同3、成本加奖罚合同4、最高成本加变动酬金合同四、目前现行的招投标文件1 、总价包干(工程量与价格均不作调整)2、单价包干(只调整工程量单价不变)3 、施工图预算结算(下浮率)4、暂列价五、工程合同变更1、合同变更的概念合同变更的含义:合同的变更有广义和狭义之分。
合同关系属于民事法律关系,同样存在民事法律关系的三要素,广义的合同变更指合同构成要素的主体、客体、内容中的一项或多项要素的变更,也就是合同变更包括合同转让。
狭义的合同变更不包括主体变更中的主体改变,即不包括合同转让。
这里的合同变更指狭义的合同变更。
2、合同变更的条件:1)当事人之间原已存在有效合同关系。
2)合同变更必须有当事人的变更协议。
3)原合同内容发生变化。
4)合同变更必须按照法定的方式。
3、合同变更的效力:1)变更后的合同部分,原有的合同失去效力,当事人应当按照变更后的合同履行。
2)合同变更只对合同未履行部分有效,不对合同中已履行部分产生效力,除了当事人约定以外。
即合同的变更不产生追溯力。
3)合同的变更不影响当事人请求损害赔偿的权利。
4、合同变更分类:工程变更包括工程量变更、工程项目变更、进度计划的变更、施工条件的变更等。
通常工程变更分为设计变更和其他变更两大类。
1)设计变更。
在施工过程中如果发生设计变更,将对施工进度产生很大的影响。
因此,应尽量减少设计变更,如果必须对设计进行变更,必须严格按照国家的规定和合同约定的程序进行。
2其他变更。
合同履行中发包人要求变更工程质量标准或发生其他实质性变更,由双方协商解决。
5、合同变更的处理要求:1)如果出现了必须变更的情况,应当尽快变更。
如果变更不可避免,不论是停止施工等待变更指令,还是继续施工,无疑都会增加损失。
2)工程变更后,应尽快落实变更。
工程变更指令发出后,应当迅速落实指令,全面修改相关的各种文件。
承包人也应当抓紧落实,如果承包人不能全面落实变更指令,则扩大的损失应当由承包人承担。
3)对工程变更的影响应当作进一步分析。
工程变更的影响往往是多方面的,影响持续的时间也往往较长,对此应当有充分的分析。
六、工程变更的程序1、设计变更的程序:1)发包人对原设计进行变更。
2)承包人原因对原设计进行变更。
3)设计变更事项。
能构成设计变更的事项包括:a、更改有关部分的标高、基线、位置和尺寸:b、增减合同中约定的工程量:c、改变有关工程的施工时间和顺序:d、其他有关工程变更需要的附加工作。
2、其他变更的程序:从合同角度看,除设计变更外,其他能够导致合同内容变更的都属于其他变更。
如双方对工程质量要求的变化(符合国家强制性标准要求)、双方对工期要求的变化、施工条件和环境的变化导致施工机械和材料的变化等。
这些变更的程序,首先应当由一方提出,与对方协商一致签暑补充协议方可变更。
3、变更估价:变更估价的原则:a、变更工作在工程量表中有同种工作内容的单价或价格,应以该单价计算变更工程费用。
实施变更工作未引起工程施工组织和施工方法发生实质性改变,不应调整该项目的单价。
b、工程量表中虽然列有同类工作的单价或价格,但对具体变更工作而言已不适用,则应在原单价或价格的基础上制定合理的新单价或新价格。
c、变更工作的内容在工程量表中没有同类工作的单价或价格,应按照与合同单价水平相一致的原则,确定新的单价或价格。
任何一方不能以工程量表中没有此项价格为借口,将变更工作的单价定得过高或过低。
看点03项目索赔管理1、工程索赔的概念工程索赔是在工程承包合同履行中,当事人一方由于另一方未履行合同所规定的义务或者出现了应当由对方承担的风险而遭受损失时,向另一方提出补偿要求的行为。
在实际工作中,索赔是双向的,即包括承包人向发包人的索赔,也包括发包人向承包人的索赔。
但在工作实践中,发包人索赔数量较小,而且处理方便,可以通过冲帐、扣拨工程款、扣保证金等实现对承包人的索赔,而承包人对发包人的索赔则要困难一些。
通常情况下,索赔是指承包人(施工单位)在合同实施过程中,对非自身原因造成的工程延期、费用增加而要求给预补偿损失的一种权利要求。
2、工程索赔的性质1)索赔的损失结果与被索赔者的行为并不一定存在法律上的因果关系。
2)索赔不是惩罚,而是补偿。
3)索赔工作是承发包双方之间经常发生的管理业务,是双方的合作,而不是对立。
3、索赔的特征1)索赔是双向的。
2)只有实际发生了经济损失或权利损害,才能向对方索赔。
3)索赔是一种未经对方确认的单方行为。
4、索赔产生的原因1)当事人违约。
2)不可抗力事件。
3)合同缺陷。
4)合同变更。
5)工程师指令。
6)其他第三方原因。
5、索赔的分类1)按索赔的合同依据分类:合同中明示的索赔、合同中默示的索赔、道义索赔。
2)按索赔的目的分类:工期索赔、费用索赔。
3)按索赔事件的性质分类:工程延误索赔、工程变更索赔、工程加速索赔、合同被迫中止的索赔、意外风险和不可预见因素的索赔、其他索赔。
6、工程索赔的处理原则:索赔必须以合同为依据。
及时、合理地处理索赔。
加强主动控制,减少工程索赔。
7、索赔的依据1)招标文件、施工合同文本及附件,其他各签约(如备忘录、修正案等),经认可的工程实施计划、各种工程图纸、技术规范等。
这些索赔的依据可在索赔报告中直接引用。
2)双方的往来信件及各种会议记要。
在合同履行过程中,业主、监理、承包人定期或不定期的会谈所做出的决议或决定,是合同的补充,应作为合同的组成部分,但会谈记要只有经过各方签暑才可作为索赔的依据。
3)进度计划和具体的进度以及项目现场的有关文件。
进度计划计划和具体的进度安排是和现场有关的文件,是变更索赔的重要依据。
4)气象资料、工程检查验收报告和各种技术鉴定报告,工程中停电、停水、道路开通和封闭的记录和证明。
5)国家有关法律、法令、政策文件,官方的物价指数、工资指数,各种会议核算资料,材料的采购、订货、运输、进场、使用方面的凭证。
看点04工程价款结算1、工程价款结算的意义工程价款结算是指承包商在工程实施过程中,依据承包合同只关于付款条款的规定和已完成的工程量,并按照规定的程序向建设单位(业主)收取价款的经济活动。
工程价款结算是反映工程项目实施中的一项十分重要的工作,主要表现在:1)工程价款结算是反映工程进度的主要指标,在施工过程中,工程价款的依据之一就是按照已完成的工程量进行结算,也就是说,承包商完成的工程量越多,所应结算的工程价款就应越多。
所以,根据累计已结算的工程价款占合同总价款的比例,就能够近似地反映工程的进展情况,有利于掌握工程进度。
2)工程价款结算是加速资金周转的重要环节。
承包商能够尽快尽早地结算回工程款,有利于偿还债务和资金回笼,也能够降低成本。
3)工程价款结算是考核经济效益的重要指标,对于承包商而言,只有工程款得到如数结算,才意味着避免了经营风险,承包商也才能够获得相应的利润,进而实现良好的经济效益。
2、工程价款结算的办法1)程资金计划(工程款收款计划)及请款表根据合同规定或业主(发包方)要求,在工程开工前(每年年初)需报出工程资金计划(工程款收款计划)者,由公司经营计划部指导并协助项目经营人员依据工程计划进度安排和报价书(或经核定的施工图预算)编制上报,以此作为该工程(或该年度)的收款计划。
根据合同规定或业主(发包方)要求,每一付款期满,项目应编制请款表(或统计报表、预算书)报业主(发包方)核准。
2)工程价款收取预收工程款:根据合同规定开具发票、办理纳税、收取预付工程款,做好收款台账。
本市项目由公司财务部办理。
外省市项目由项目经营(财务)人员办理,并及时报公司经营计划部和财务部。