带有旋转药盒的电动按摩足浴盆的制作技术
- 格式:pdf
- 大小:126.57 KB
- 文档页数:10
一种便于移动的中药泡脚桶的制作方法本实用新型涉及医用器械技术领域,具体涉及一种结构简单、轻便快捷、安全可靠的便于移动的中药泡脚桶。
背景技术:热水泡脚,加点中药”是我国传统医学宝库中一种优秀的理疗保健方法。
医学典籍记载:“人之有脚,犹似树之有根,树枯根先竭,人老脚先衰。
”因而早在几千年前,中医就很重视对双足的锻炼和保养,并运用足部泡脚按摩(足疗)来防病治病。
现有的中药泡脚桶一般为木桶或插电式加热恒温泡脚桶,由于体积大、桶身重,在盛装中药汤剂后重量增加。
按国家中医药管理局下发的《护理人员中医技术使用手册》中的中药泡脚操作流程,每次泡脚中药汤剂为10~15升,中药泡脚汤剂温度为38~40℃,桶身加中药汤剂的重量约为13~18kg,而为患者泡脚均需医务人员搬动及倾倒,造成医务工作人员工作量极大、劳动强度高,不仅导致工作效率低,还存在容易烫伤的风险。
特别是中药汤剂泡脚大部分为中老年患者,存在体弱、感觉迟钝、定向力极差等问题,对于加热泡脚桶在治疗中有的患者会自主将设置好的温度在医护人员监管疏忽的情况下将温度随意调高或调低,因此影响中药泡脚治疗疗效及容易发生烫伤的高风险,存在极大的安全隐患。
为此,目前医疗机构一般采用保温性能好、触感舒服、质感高级的木桶作为泡脚桶,但由于木材材质的原因,在木桶的搬运和汤剂的倾倒、内壁清洗时不仅重,而且滑手,难以高效率的操作。
虽然也有在木质泡脚桶上用螺钉固定把手等方式以便操作,但由于木材易裂的原因,难以推广运用。
技术实现要素:本实用新型的目的在于提供一种结构简单、轻便快捷、安全可靠的便于移动的中药泡脚桶。
本实用新型是这样实现的:包括桶体、万向轮,所述桶体的底部固定设置有多个万向轮,还包括可伸缩推拉杆、箍紧带、固定带、连接扣,所述箍紧带环绕固定设置于桶体的外缘下部,所述可伸缩推拉杆竖直设置且底部与箍紧带铰接,所述桶体的外缘上部在可伸缩推拉杆对应位置固定设置有连接扣,所述固定带一端固定设置于可伸缩推拉杆的上部且另一端与连接扣可拆卸的连接。
自制电热恒温泡脚桶
有些病需要一些辅助治疗,一些脚病及腿部关节病都需要用热水来泡脚,泡脚也有要求的,例如踝关节陈旧性关节炎,骨质增生,股骨头无菌性坏死,痛经,高血压等要求水深最好在二十公分以上,目前市场上还没有有如此深度的理想产品,在看到很多的股骨头无菌性坏死的患者求医过程的不易及我的亲人也有这个病时,在得到了吉林袁师傅的帮助学习了他的海路空疗法后,我自制了一个电热恒温浴脚盆,经过一段时间使用,效果不错,现将制做方法介绍给有需要的朋友.
1买一个合适的桶,我买的是一种拖布桶,主要是正好放得下两只脚,加电热管后水深仍可泡到脚的二十公分以上。
一个700-1500瓦的电热管,平直U形。
一个摄氏30-60度10K瓦水温恒温开关。
一个电饭锅用电源插坐。
一条配插坐的电源线。
电源通断指示灯。
2桶的下部一端钻三个孔,两边的是安装电热管的,孔距与电热管管距相等,中间的是安装感温头的,钻好孔装上电热管和感温头,注意做好密封,保正安装部位不漏水。
3找一个两升空的酱油桶,锯或切去一壁,另一面合适的位置开适当大小孔,把插坐固定上面,低部向上开孔固定恒温开关旋转开关,空位固定电源指示灯。
4电热管一头接插座电源插头,另一头通过恒温开关接插座另一电源插头,电热管外壳用一根线接插座地线,接好指示灯。
5将电控盒固定在泡脚桶上,检查电源线与地(电热管外壳)绝缘电阻,确定绝缘良好后加水试验。
自制人员应有一定电工知识,一定确保接地良好。
足浴盆设计案例分析法案例名称:自动按摩足浴盆设计背景介绍:足浴是人们常用的一种休闲方式。
一些消费者希望能够在家中进行足浴,但是普通的足浴盆只能让脚部浸泡,难以提供完整的按摩体验。
因此,设计一款自动按摩的足浴盆成为了市场上的一个需求。
设计需求:设计一款足浴盆,能够自动进行按摩,提供更好的足部按摩体验,同时具备简洁美观的外观设计。
设计思路:为了能够满足消费者对足浴盆的自动按摩需求,我们采用了以下设计思路:1. 设计带有自动按摩功能的足底垫,利用电动机和振动器实现按摩功能;2. 设计带有自动水流控制的排水孔,可以根据用户需求控制水流大小;3. 采用双层设计,内层为可拆卸的浸水桶,方便清洗,外层采用高品质的塑料材料,美观且易于保养;4. 设计带有自动温度控制功能的加热装置,可根据用户需求控制水温;5. 带有简易按摩控制面板,方便用户操作。
设计效果:经过我们团队的设计,最终设计出了一款自动按摩足浴盆。
这款足浴盆采用简约、美观的外观设计,同时具备自动按摩、自动控温、自动控水流等功能,能够提供更好的足部按摩体验。
在市场上获得了消费者的认可。
优点:1. 自动按摩功能使得用户可以获得更好的按摩体验;2. 双层设计方便用户进行清洗和保养;3. 自动温度控制和自动控水流功能提供更好的使用体验;4. 外观设计简约美观,适合各种装修风格。
缺点:1. 需要电源支持,不适合户外使用;2. 相比于普通足浴盆,价格较高。
改进措施:1. 增加蓄电池支持,使得可以在户外使用;2. 降低材料成本,减少售价。
结论:这款自动按摩足浴盆充分满足了消费者对足浴盆自在对足浴盆进行设计时,可以采用许多不同的方法。
下面将介绍一种案例分析法的设计方法,以便更好地理解该过程。
案例分析法是一种通过研究已有产品或服务并分析它们的功能和特点来寻求改进或创新的方法。
在足浴盆设计方面,案例分析法可以帮助设计师更好地了解市场需求和消费者的期望,并为新的设计提供参考。
足疗仪器的制作原理足疗仪器是一种可以帮助促进足部血液循环、缓解足部疲劳、舒缓足部肌肉酸痛的设备。
它通过特定的原理和技术来实现这些功能,下面我们来详细了解一下足疗仪器的制作原理。
足疗仪器的制作原理涉及到多个方面的技术和原理,其中包括按摩、热敷、穴位刺激等。
首先,足疗仪器通常包括按摩功能,它通过震动、旋转或振动等方式对足部进行按摩,帮助促进足部血液循环,并缓解足部酸痛和疲劳。
其次,足疗仪器还会采用热敷功能,通过加热方式给足部提供温热的舒适感,有助于放松足部肌肉,舒缓疲劳感。
另外,足疗仪器还会利用穴位刺激原理,通过对足部特定穴位的刺激和按摩,来达到调理脏腑、舒缓痛楚、促进健康的效果。
在制作足疗仪器时,首先需要考虑的是按摩功能的实现。
通常,足疗仪器会使用电机或气动机构来实现按摩功能,电机通过旋转、震动等方式产生机械力,而气动机构则通过气压变化推动按摩装置进行按摩。
这些机械力的传递和控制,需要使用传感器、电子控制器等设备来实现,以确保按摩力度和频率的合适性和稳定性。
其次,足疗仪器的热敷功能也是关键之一。
一般来说,热敷功能可以通过加热元件来实现,例如使用碳纤维发热片、加热丝等电热元件或者PTC发热体来提供热敷效果。
这些加热元件需要与温控装置配合使用,以确保热敷温度的准确控制和安全性。
此外,对于足疗仪器而言,穴位刺激也是非常重要的一个功能。
为了实现这一功能,通常会在足疗仪器的按摩装置上设计特定的凸起或者按摩头,以达到对足部穴位的刺激。
同时,这些凸起或按摩头的设计需要考虑到人体工程学和足部结构特点,以确保刺激得到有效传递和舒适感受。
除了上述的主要功能原理外,足疗仪器在制作过程中还需要考虑到外壳设计、外观造型、安全性设计、电气设计等多个方面的技术和原理。
比如,注重外观设计和人性化操作界面可以增加产品的吸引力和用户体验,而安全性和电气设计则关乎产品的质量和稳定性。
总的来说,足疗仪器的制作原理涉及到多个方面的技术和原理,需要融合多种功能来实现对足部的综合舒缓和养生效果。
足疗仪器的制作原理
足疗仪器的制作原理基于按摩和刺激足部以达到舒缓肌肉疲劳、促进血液循环、放松身心的效果。
下面是一种常见的足疗仪器足底按摩仪的工作原理:
1. 电动振动:足底按摩仪内置电动机,通过转动偏心轴或使用电动振动装置,产生高频振动。
2. 按摩头和面板:足底按摩仪配有多个按摩头,面板上安装有凸起、凹陷或疙瘩等设计。
按摩头可分为滚轮状、球形、刺状等多种形状,面板上的设计可根据不同需求进行调整。
3. 反射区按摩:足底按摩仪按摩头和面板上的凸起和凹陷等设计,被认为与人体脚底部的反射区相对应。
当按摩头和面板与脚底接触时,它们的形状和位置可以刺激和按摩脚底的反射区,以达到调理全身器官和身体功能的效果。
4. 热散热原理:一些足疗仪器内置加热设备,如电热板或红外热板。
加热装置可通过红外线或传导方式,向脚底提供温暖感,促进血液循环、加速新陈代谢,同时散热可以确保设备在使用过程中不会过热。
5. 控制模块:足疗仪器通常含有一个控制模块,用于控制振动频率、振动强度、加热温度等参数,用户可以根据自己的需求进行调整。
总的来说,足疗仪器通过电动振动和特殊设计的按摩头和面板,刺激足底的反射区域,以达到舒缓、放松身体的效果。
同时,一些足疗仪器还通过加热功能提供温暖感,促进血液循环和新陈代谢。
不同的足疗仪器可能使用不同的原理和技术,具体的工作原理会有所不同。
本技术公开了一种电动洗脚盆,盆体上设有弹性板,盆体的一端设有第一挡板,盆体的另一端设有第二挡板,第一挡板和第二挡板的一端设有弧形缺口,第一挡板和第二挡板的两侧均设有滑动轴,第一挡板和第二挡板的底部设有壳体,壳体的顶部设有滑槽,滑槽之间设有控制按钮,壳体的内部为内置腔,内置腔内设有烘干孔,烘干孔位于凹槽内,凹槽的两端均设有按摩轮,按摩轮的两端均设有波轮,内置腔的底部设有导热板,导热板的一端设有传热板,本技术结构新颖、操作简便,通过按摩轮便于使用者的脚底按摩,并且通过波轮便于使盆体的药物与水融合便于脚步吸收,并且通过加热板和挡板便于保持盆体内的水温,提高吸收率和舒适性。
技术要求1.一种电动洗脚盆,包括盆体(1),其特征在于,所述盆体(1)的一端设有第一挡板(2),所述盆体(1)的另一端设有第二挡板(4),所述第一挡板(2)和所述第二挡板(4)的一端设有弧形缺口,所述第一挡板(2)和所述第二挡板(4)的两侧均设有滑动轴(5),所述第一挡板(2)和所述第二挡板(4)的底部设有壳体(12),所述壳体(12)的顶部设有滑槽(9),所述滑槽(9)之间设有控制按钮(7),所述壳体(12)的内部为内置腔(3),所述内置腔(3)内设有烘干孔(10),所述烘干孔(10)位于凹槽(11)内,所述凹槽(11)的两端均设有按摩轮(6),所述按摩轮(6)的两端均设有波轮(8),所述内置腔(3)的底部设有导热板(13),所述导热板(13)的一端设有传热板(17),所述传热板(17)的一端设有加热板(18),所述加热板(18)的一端设有隔板(14),所述隔板(14)的底部设有底腔(15),所述底腔(15)的内部设有烘干机(16),所述烘干机(16)的两端均设有驱动马达(19)。
2.根据权利要求1所述的一种电动洗脚盆,其特征在于,所述驱动马达(19)和所述波轮(8)之间设有传动轴,所述烘干机(16)和所述烘干孔(10)之间设有送风孔,所述烘干机(16)内部设有小型风机、云母片和加热元件。
本技术是一种用于下肢康复机器人系统:结构合理、功能完善、安装方便,将被动机械运动与中药药疗结合的安全有效的医疗器械。
包括坐姿康复机器人、水浴舱、配电箱、升降机构、旋转机构、工作扶梯、显示器、手柄遥控器。
坐姿康复机器人由座椅与下肢康复机器人组成,以实现坐姿下肢康复运动训练;水浴舱可以盛放水和中药,与工作扶梯组合,配备有显示工作数据的显示器及手柄遥控器,舱内置有防水配电箱,包括温控模块、电机和安全模块;升降机构与旋转机构组成传动系统,通过连接件与水浴舱及坐姿康复机器人连接,实现使用者到水浴舱间的来往传送,整个系统可通过手柄遥控器或舱外控制按钮控制工作。
本技术不仅减轻了医护人员的工作强度,而且达到了在辅助运动中进行中药药物治疗的目的。
技术要求1.一种中药坐浴式下肢康复机器人系统,其特征在于:包括坐姿康复机器人、水浴舱、配电箱、升降机构、旋转机构、工作扶梯、控制电脑、手柄遥控器,所述坐姿康复机器人由座椅与下肢康复机器人组成,以实现坐姿下肢康复运动训练;所述水浴舱可以盛放水和中药,与工作扶梯组合,配备有显示工作数据的显示器及手柄遥控器,舱内置有防水配电箱,包括温控模块、电机和安全模块;所述升降机构与旋转机构组成传动系统,通过连接件与水浴舱及坐姿康复机器人连接,实现使用者到水浴舱间的来往传送,整个系统可通过手柄遥控器或舱外控制按钮控制工作。
2.按照权利要求1所述的一种中药坐浴式下肢康复机器人系统,其特征在于:水浴舱与工作扶梯及监护玻璃组合,可以让不便乘坐传动系统的护理人员能及时观察舱内情况,进入舱内配置药液,进行系统维修,以应对突发状况发生。
3.按照权利要求1所述的一种中药坐浴式下肢康复机器人系统,其特征在于:水浴舱内置配电箱,包括控制药液温度及保持恒定温度的温控系统,控制药液流动及流速的搅动电机,温控系统主要由双金属恒温控制器、恒温自动开关及新型热敏材料组成,可以保证药液疗效的最大利用。
4.按照权利要求1所述的一种中药坐浴式下肢康复机器人系统,其特征在于:坐姿下肢康复机器人驱动方式为电动,运动精准,低速运行平稳,调速范围广且平滑,采用防水材料,避免了导电危险,安全性高。
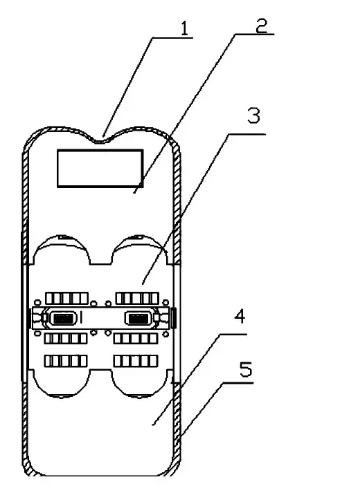
本技术新型公开了一种带有旋转药盒的电动按摩足浴盆,包括上壳体、控制装置、加热装置、按摩装置、药盒装置、排水装置、足浴盆本体、电源装置和下壳体;足浴盆本体内置脚部容纳腔;上壳体包括控制盒、保温盖、微电脑控制板、微电脑控制器和控制排线;脚部容纳腔内底面设有支撑柱;电源装置包括电源线和电源板;按摩装置包括按摩转盘、转盘底座、转盘齿轮组、内置有主齿轮的齿轮盒和内置齿轮电机的电机底座;副齿轮与主齿轮同轴连接,转盘齿轮与副齿轮通过齿轮啮合;按摩转盘同轴连接设置在转盘齿轮顶部;旋转药盒同轴连接在副齿轮的顶部,药盒筒筒身向外设有按摩凸粒和散药通孔,加热装置包括高效率双加热PTC块以及防干烧温控保护装置。
权利要求书1.一种带有旋转药盒的电动按摩足浴盆,其特征在于:包括上壳体、控制装置、加热装置、按摩装置、药盒装置、排水装置、足浴盆本体、电源装置和下壳体;所述足浴盆本体顶部开口向内设有容纳脚部置入的脚部容纳腔;所述上壳体固定在所述足浴盆本体顶部,所述下壳体固定在所述足浴盆本体底部;所述上壳体包括固定在所述足浴盆本体顶部开口处的所述控制装置,所述控制装置包括控制盒和保温盖,所述控制盒包括控制盒壳体,所述控制盒壳体内设置有微电脑控制板,所述控制盒壳体上方设有可触摸感应控制的玻璃面板,所述微电脑控制板上设置有微电脑控制器和控制排线;所述脚部容纳腔内底面一侧向上设有与所述控制盒壳体底部连接固定的支撑柱,所述支撑柱上下竖直贯穿形成一个容纳所述控制排线穿过的线路通道,所述支撑柱顶部与所述控制盒壳体底部连接处设有防水密封圈;所述电源装置包括外置的电源线以及设置在所述下壳体内部的电源板,所述电源板与所述电源线电连接;所述按摩装置包括按摩转盘、转盘底座、转盘齿轮组、内置有主齿轮的齿轮盒和内置齿轮电机的电机底座;所述电机底座设置在所述控制盒壳体底部下表面,所述齿轮盒设置在所述电机底座的一侧,所述齿轮电机的输出轴为蜗杆结构用于通过所述蜗杆与所述主齿轮啮合形成同步转动,所述转盘底座设置在所述脚部容纳腔内底面,所述转盘底座呈工字结构,包括两侧的侧板以及连接两侧所述侧板的横板,所述转盘齿轮组包括设置在两侧所述侧板底部的转盘齿轮和设置在所述横板底部的副齿轮,所述副齿轮与所述主齿轮之间设有可同轴连接的连接轴,所述转盘齿轮与所述副齿轮通过齿轮啮合连接形呈一体;所述脚部容纳腔内底面设有容纳所述连接轴穿过的轴孔,所述连接轴与所述轴孔之间设有油封,所述按摩转盘同轴连接设置在所述转盘齿轮顶部;所述旋转药盒包括药盒筒、环形连接挡板和药盒盖,所述药盒筒同轴连接在所述副齿轮的顶部,所述药盒筒筒身向外设有按摩凸粒和散药通孔,所述环形连接挡板底部固定设置在所述药盒筒顶部,所述药盒盖固定设置在所述环形连接挡板顶部,所述环形连接挡板内部设有上下贯穿的穿孔;所述加热装置包括设置在所述控制盒壳体底部的双加热PTC块和防干烧温控保护装置,所述双加热PTC块内置有加热丝,所述加热丝与所述防干烧温控保护装置电连接,所述脚部容纳腔内底面设有容纳所述双加热PTC块顶部的加热口,所述双加热PTC块顶部与所述加热口之间设有防水密封垫;所述防干烧温控保护装置与所述齿轮电机分别与所述电源板通过供电线电连接,所述微电脑控制器通过所述控制排线分别与所述防干烧温控保护装置和所述齿轮电机电连接。
2.根据权利要求1所述的一种带有旋转药盒的电动按摩足浴盆,其特征在于:所述按摩转盘包括按摩盘本体、按摩滚珠和按摩转杆;所述按摩盘本体顶部为圆弧面并设有容纳所述按摩滚珠的滚珠凹槽;所述按摩转杆顶部设有连接所述按摩滚珠的连接杆;所述按摩转杆底部与所述转盘齿轮同轴连接。
3.根据权利要求1所述的一种带有旋转药盒的电动按摩足浴盆,其特征在于:所述制盒壳体的一侧还设置有内凹的置物槽,所述置物槽开口处设有可一端开启的置物盖板。
4.根据权利要求1所述的一种带有旋转药盒的电动按摩足浴盆,其特征在于:所述排水装置包括排水管和挂扣,所述脚部容纳腔内底面设有排水口,所述排水口与所述排水管相连通。
5.根据权利要求1所述的一种带有旋转药盒的电动按摩足浴盆,其特征在于:所述制盒壳体底部通过卡扣方式固定在所述足浴盆本体的顶部开口处。
6.根据权利要求1所述的一种带有旋转药盒的电动按摩足浴盆,其特征在于:所述保温盖的一端与所述控制盒壳体的对应一端通过铰接方式固定连接,所述保温盖的另一端设有用于容纳腿部的腿部容纳孔。
7.根据权利要求1所述的一种带有旋转药盒的电动按摩足浴盆,其特征在于:所述足浴盆本体上设置有提手,所述提手的两端对应设置在所述足浴盆本体的左右两侧。
8.根据权利要求1所述的一种带有旋转药盒的电动按摩足浴盆,其特征在于:所述电源板上设有灯板,所述灯板设置有灯珠。
9.根据权利要求1所述的一种带有旋转药盒的电动按摩足浴盆,其特征在于:所述防干烧温控保护装置包括温控器和防干烧板。
10.根据权利要求1所述的一种带有旋转药盒的电动按摩足浴盆,其特征在于:所述下壳体底部设有万向轮。
技术说明书一种带有旋转药盒的电动按摩足浴盆技术领域本技术新型涉及养生保健领域,尤其涉及一种带有旋转药盒的电动按摩足浴盆。
背景技术随着时代的进步以及经济的发展,人民群众对于养生保健的需求程度越来越高;而脚自古就有人体的第二心脏之说,从养生角度来看,脚离人体的心脏最远,而负担最重,因此,这个地方最容易导致血液循环不好,而足浴能够有效地促进血液循环,人体脚上有6条主要的经络,包括三条阳经(膀胱经、胃经、胆经)的终止点,和三条阴经(脾经、肝经、肾经) 的起始点都在脚上,因此热水泡脚也等于刺激了这六条最主要的经络,通过对足部的刺激到对全身的机理作用,增加新陈代谢,促使对营养物质的吸收,从而改善以上的不足,减少疾病的发生,起到保健的作用。
但是目前市面上的足浴盆大多功能性单一,结构简单,大多主打泡脚功能,往往仅仅通过盆地脚踩面上凸出设置的按摩颗粒,通过外加的药剂进行泡脚,营养物质的吸收不足,养生按摩效果较差,因此一个带有旋转药盒的电动按摩足浴盆成为本领域继续解决的问题。
实用新型内容为了克服现有技术中的缺点,本技术新型的目的在于提供一种带有旋转药盒的电动按摩足浴盆,该足浴盆不仅能够通过电动同步旋转的按摩转盘对足部进行按摩,其同步旋转的药盒可将药剂均匀容散至洗脚汤水中,双加热PTC块能够有效迅速地提升药汤的温度,使足部能够被有效通过按摩和药力吸收增加新陈代谢,促使对药汤中营养物质的吸收,效果提升明显,按摩体验更佳,便于大力推广。
技术方案一种带有旋转药盒的电动按摩足浴盆,包括上壳体、控制装置、加热装置、按摩装置、药盒装置、排水装置、足浴盆本体、电源装置和下壳体;所述足浴盆本体顶部开口向内设有容纳脚部置入的脚部容纳腔;所述上壳体固定在所述足浴盆本体顶部,所述下壳体固定在所述足浴盆本体底部;所述上壳体包括固定在所述足浴盆本体顶部开口处的所述控制装置,所述控制装置包括控制盒和保温盖,所述控制盒包括内设置有微电脑控制板的控制盒壳体,所述控制盒壳体上方设有可触摸感应控制的玻璃面板,所述微电脑控制板上设置有微电脑控制器和控制排线;所述脚部容纳腔内底面一侧向上设有与所述控制盒壳体底部连接固定的支撑柱,所述支撑柱上下竖直贯穿形成一个容纳所述控制排线穿过的线路通道,所述支撑柱顶部与所述控制盒壳体底部连接处设有防水密封圈;所述电源装置包括外置的电源线以及设置在所述下壳体内部的电源板,所述电源板与所述电源线电连接;所述按摩装置包括按摩转盘、转盘底座、转盘齿轮组、内置有主齿轮的齿轮盒和内置齿轮电机的电机底座;所述电机底座设置在所述足浴盆本体底部下表面,所述齿轮盒设置在所述电机底座的一侧,所述齿轮电机的输出轴为蜗杆结构用于通过所述蜗杆与所述主齿轮啮合形成同步转动,所述转盘底座设置在所述脚部容纳腔内底面,所述转盘底座呈工字结构,包括两侧的侧板以及连接两侧所述侧板的横板,所述转盘齿轮组包括设置在两侧所述侧板底部的转盘齿轮和设置在所述横板底部的副齿轮,所述副齿轮与所述主齿轮之间设有可同轴连接的连接轴,所述转盘齿轮与所述副齿轮通过齿轮啮合连接形呈一体;所述脚部容纳腔内底面设有容纳所述连接轴穿过的轴孔,所述连接轴与所述轴孔之间设有油封和轴承,所述按摩转盘同轴连接设置在所述转盘齿轮顶部;所述旋转药盒包括药盒筒、环形连接挡板和药盒盖,所述药盒筒同轴连接在所述副齿轮的顶部,所述药盒筒筒身向外设有按摩凸粒和散药通孔,所述环形连接挡板底部固定设置在所述药盒筒顶部,所述药盒盖固定设置在所述环形连接挡板顶部,所述环形连接挡板内部设有上下贯穿的穿孔;所述加热装置包括设置在所述足浴盆本体底部的双加热PTC块和防干烧温控保护装置,所述双加热PTC块内置有加热丝,所述加热丝与所述防干烧温控保护装置相连接,所述脚部容纳腔内底面设有容纳所述双加热PTC块顶部的加热口,所述双加热PTC块顶部与所述加热口之间设有防水密封垫;所述防干烧温控保护装置与所述齿轮电机分别与所述电源板通过供电线电连接,所述微电脑控制器通过所述控制排线分别与所述防干烧温控保护装置和所述齿轮电机电连接。
所述按摩转盘包括按摩盘本体、按摩滚珠和按摩转杆;所述按摩盘本体顶部为圆弧面并设有容纳所述按摩滚珠的滚珠凹槽;所述按摩转杆顶部设有连接所述按摩滚珠的连接杆;所述按摩转杆底部与所述转盘齿轮同轴连接。
所述制盒壳体的一侧还设置有内凹的置物槽,所述置物槽开口处设有可一端开启的置物盖板。
所述排水装置包括排水管和挂扣,所述脚部容纳腔内底面设有排水口,所述排水口与所述排水管相连通。
所述制盒壳体底部通过卡扣方式固定在所述足浴盆本体的顶部开口处。
所述保温盖的一端与所述控制盒壳体的对应一端通过铰接方式固定连接,所述保温盖的另一端可沿铰接一端开启并设有用于容纳腿部的腿部容纳孔。
所述足浴盆本体上设置有提手,所述提手的两端对应设置在所述足浴盆本体的左右两侧。
所述电源板上设有灯板,所述灯板设置有灯珠。
所述防干烧温控保护装置包括温控器和防干烧板。
所述下壳体底部设有万向轮。
有益效果与现有技术相比,本技术新型具有以下有益效果:通过齿轮电机转动主齿轮带动同轴连接的副齿轮,使与副齿轮同步啮合连接转盘齿轮同步转动,并同步带动按摩转盘对足部进行按摩,与副齿轮同轴连接形成同步旋转的药盒可将药剂均匀扩散至洗脚汤水中,其筒壁上的按摩凸粒能够对足部侧边进行按摩,筒壁上的孔能够在药盒旋转时通过水流加速药剂的均匀扩散。
双加热PTC块能够有效迅速地提升药汤的温度,使足部能够被有效通过按摩和药力吸收增加新陈代谢,促使对药汤中营养物质的吸收,效果提升明显,按摩体验更佳,便于大力推广。
置物槽可以放置一些修剪指甲之类的小工具,储物方便,使用便捷。
附图说明图1是本技术新型中一种带有旋转药盒的电动按摩足浴盆的组成结构爆炸示意图。