水稳基层施工工艺流程图
- 格式:doc
- 大小:17.50 KB
- 文档页数:2
水泥稳定碎石基层工艺流程框图(二)施工方法下承层的检查和准备→施工测量放样(边线、中线、高程)→严格材料试验→混合料的拌和→含水量检测→混合料的运输和摊铺→混合料的碾压和边部整形→压实度检测→ 接缝处理→交通管制1、下承层的检查和准备在水稳基层施工前,对下承层进行外观检查。
测量放线施工准备水泥稳定碎石料拌和 水泥稳定碎石含水量检测 水泥稳定碎石含水量检测 摊铺 碾压和边部整形 压实度检测 养生 原材料检验 合格 不合格 不合格在进行水稳基层铺筑前视路面干湿情况,如比较干燥用水车雾状喷洒,以工作面湿润没有积水为度。
2、测量放样、挂设钢丝线试验段施工区域测量放样按每 10 米一根桩放出中桩和边桩,复测下承层标高,打钢钎支架,挂上钢丝,并按标高值和松铺系数(按1.32 预设,松铺系数测定后进行调整)调整钢丝的高程,作为纵横坡基线。
钢丝直径采用 3mm 钢丝,每段长 200 米,每次两侧 4 根交替使用。
每根钢丝一端用紧线器将钢丝绷紧,钢丝拉力不小于600KN,以保证摊铺成型面的平整度。
3、材料检验水稳基层所用的各种碎石原材料应严格符合规范和监理部文件要求,未经批准的原材料不允许进场,更不准使用。
①碎石应符合规范规定的级配要求。
碎石压碎值不大于30%,单个颗粒的最大粒径不大于31.5mm。
应选用储藏量大、品质稳定的料场。
②水:不能含有有害物质,一般采用地下水。
③水泥:采用普通硅酸盐水泥,32.5MPa 低强度水泥。
4、混合料的拌和、运输、摊铺、碾压、接缝处理。
①拌和a 拌和站在拌料前进行配合比的调试并进行试拌,确定各料仓的皮带转速,严格控制各料仓的材料用量,试拌制的混合料级配组成、含水量都应满足规范要求。
b 混合料拌和时,随时观察并检测含水量,控制最佳含水量。
若遇到大风和高温天气,对混合料的含水量应作相应上调1-2%,使混合料运到现场摊铺后碾压时含水量接近最佳含水量。
c 拌和站拌和混合料必须连续、均匀。
水泥稳定碎石基层施工工艺框图
水泥稳定碎石基层施工工艺框图说明:
(1)施工准备:首先将施工方案、施工方法、施工配合比等施
工前准备资料连同开工申请一同提交监理工程师。
监理工程师同意后
方可开始施工。
在底基层施工前,做好下承层的准备工作,其表面平整、横坡度、压实度、弯沉等符合规定。
(2)施工放样:用全站仪进行测量放样,在主线上每隔10米加
设边桩,在边桩外侧30厘米处加钉一根钢钎挂钢丝做为摊铺机控制高程轨道。
(3)混合料拌和:采用W—300型拌和机进行混合料拌和,拌和时控制混合料含水量应比最佳含水量多1-2%。
(4)混合料运输:采用自卸汽车。
(5)摊铺:本工程基层设计厚度为30cm 35cm为保证基层的压实度等各项施工质量,基层分两层摊铺施工。
基层混合料摊铺使用摊铺机进行摊铺,摊铺前调整熨平板高度,使其等于压实厚度乘以松铺系数。
摊铺时采用走双侧钢丝方法控制标高。
(6)压实:使用胶轮压路机和双轮双振钢轮压路机配合碾压。
(7).质量检查:每一段碾压完成后立即检查压实度,如有问题立即补压,直至合格。
(8)养生:在作业面完成12小时后,即可养生。
养生采用洒水养生,同时禁止水车外其他车辆通行。
12345678910、若职工在作业时,碰到与本工种或非本工种人员(如因材料、场地、塔吊机械、施工用电、施工用水等)发生矛盾时,应及时上报班组长或管理人员解决,严禁采用暴力解决,而发生打架、斗殴事件。
11、做到三不伤害(自己不伤害自己、不伤害别人、不被别人伤害)。
12、在外加架上或高空作业必须系好安全带(安全帽要高挂低处)。
13、施工人员在作业前要检查作业环境,发现有不安全因素(如有未经覆盖的洞口和有未围护的临边,或为经安全措施的立体作业等),严禁作业。
班组长安排职工工作时,必须对职工交代工资环境安全情况,对职工进行班前安全交底及作业现场的应注意事项交底。
14、施工人员在外架作业时,检查外架脚手片是否有铁丝绑扎,有破损或老化,脚手片上有杂物等不安全因素的,必须先更换脚手片(铁丝绑扎)清理杂物后方可作业,外架必须有按规范要求的封层措施。
15、各工种在施工中,必须紧密配合,贴别是立体交叉作业,若有班组在洞口作业时,要注意上下有无其他班组人员或本班组人员在作业,若有人作业,必须有可靠地安全措施方可作业,否则必须停止作业。
16、施工临时用电严禁乱拉乱接,乱接使用无插座的钨丝灯、电器设备和老花及单股线。
使用强检查漏保器等失灵可靠方可操作,电线不得拖地、碾压、破皮、老化等,接头牢固,绝缘符合规范要求。
17、及时清理建筑垃圾、材料、钢筋登、木登支教等零星材料不得堆积在通道上,包括临时通道,以确保道路畅通。
18、各职工在上班作业前,要检查周围的作业环境,确保无隐患后方可上岗作业。
若有多人一起作业要联络明确,班组长要多长巡查(若单人作业要增加巡逻频率)。
19、乘电梯上下时,要听从电梯司机指挥,不得在电梯运行时,开启电梯门,严禁将人或物伸出电梯轿厢外面,人或物严禁靠在电梯门边。
需要用电梯而发信号时,人或物必须站在出料台门李侧,严禁人或物伸出电梯运行范围内。
在电梯每到或没停稳时,不得开启出料台上的门和电梯门。
20、严格施工现场用火(包括明火、烧电焊、使用氧气乙炔等),确需用火必须经动火审批方可作业。
水泥稳定碎石基层施工1.施工工艺(1)、施工方法采用混合料场拌、自卸车运输、摊铺机摊铺、压路机压实的全过程机械化施工。
(2)、工艺流程为: 施工放样→上料拌和→运输→混合料摊铺→碾压→养护→封闭交通。
(3)、水泥稳定碎石施工工艺流程图水泥稳定基层施工流程图2.施工方法(1)施工放样基层施工前首先对底基层进行验收, 表面一定要清扫干净, 并严格整形压实, 使其符合规范要求。
放样采用人工挂钢丝绳控制高程: 每5m左右两边各钉一钢钎, 进行高程控制, 钢丝绳张紧度应以两桩间(10m)挠度不超过2mm(水准仪进行检测)。
(2)混合料最佳含水量控制在正式拌制混合料之前, 必须先调试所用的厂拌设备, 使混合料的颗粒组成和含水量都达到规定的要求。
进行现场调试的过程中确定施工配合比, 将此配合比写在标牌上, 挂在拌和机旁。
在生产过程中, 拌和时含水量略大于最佳含水量1%~2%, 使混合料运到现场摊铺碾压时, 接近最佳含水量。
同时根据集料的含水量及时调整拌和料中的加水量, 以免出现过干过湿的现象。
每天开工前对砂砾料用燃烧法快速测定其天然含水量, 然后根据实测含水量和天气情况对混合料的含水量进行调整, 由于当地气候多变, 故对混合料实际含水量要及时调整。
(3)混合料的拌和1)拌和场设在胥口, 拌合设备各采用两台WBC-300型稳定土拌和机, 工地试验室配合拌和场做好质量控制工作, 主要控制混合料的配合比, 既通过调整料斗下面的电机转速和斗门高低来控制各种材料的流量。
同时还要控制好水泥剂量和拌和时的含水量。
拌和场根据施工情况将拌和设备调整到最佳配置, 确保运转连续、拌合均匀不要出现花白料。
, 设计水泥剂量为3.5%~4%范围, 现场施工水泥剂量控制在5%以内。
2)拌和场生产过程中, 试验室应随时抽检混合料的含水量和水泥剂量, 立即通知拌和场调整配合比, 直到完全达到要求为止。
对混合料的7天无侧限抗压强度进行检测。
(4)混合料的运输根据拌和场的生产能力和作业的要求, 项目部组织了足够的运输车辆, 水泥稳定砂砾运输及施工时, 常常发生粗细料离析现象。
(一)水泥稳定碎石基层施工
1.施工工艺流程
水泥稳定碎石基层工艺流程见下图
水泥稳定碎石基层施工工艺流程图
2.施工方案
拌合和运输:采用按重量比掺配。
从合格拌合站购买,自卸汽车运送,运输中加覆盖以防水分蒸发。
摊铺整型:采用摊铺机摊铺,人工配合,按试验路段提供的松铺厚度,均匀地摊铺在要求的宽度上。
摊铺时,混合料的含水量保持高于最佳含水量0.5--1.0 %并按规定路拱进行整型。
施工前,先在路肩上打钢钎,钢钎上拉钢丝,水准仪抄平,摊铺时,摊铺机沿钢丝行走,以控制基层平整度和标高。
碾压:摊铺和整型后,立即进行碾压,碾压时先轻后重,先静压, 防止推拥,再振压,最后静压,防止振松已成型的基层。
碾压方向与路中心线平行。
直线段由边到中,超高段由内侧到外侧,一次连续均匀进行碾压。
保证压实后表面平整,无轮迹或隆起,并有正确的断面和路拱。
碾压过程中注意
水泥稳定碎石表面始终保湿。
从加水拌和到碾压终了的延迟时间不超过2--3 小时。
接缝处理:将末端混合料弄整齐,紧靠混合料放两根与混合料压实厚度相同的方木,方木的另一侧用砂砾回填3 米长,其高度比方木高约5 厘米,然后压实末端混合料。
在另一侧开始摊铺混合料之前,将砂砾和方木除去,并将下承层顶面清扫干净和拉毛。
养生:采取洒水养生办法,一般不少于7 天,养生期保持稳定粒料表面始终处于潮湿状态,未铺面层以前,禁止车辆通行。
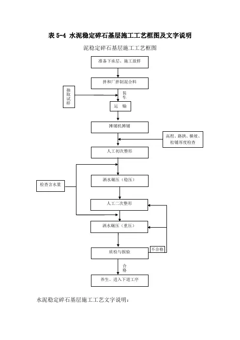
表5-4 水泥稳定碎石基层施工工艺框图及文字说明
泥稳定碎石基层施工工艺框图
水泥稳定碎石基层施工工艺文字说明:
水泥稳定碎石施工时,必须采用流水作业法,使各工序紧密衔接。
特别是要尽量缩短从拌合到完成碾压之间的延迟时间。
所以在施工时应做延迟时间对强度影响的试验,以确定合适的延迟时间,并使此时水泥稳定碎石的强度仍能满足设计要求。
水泥稳定碎石基层的施工方法主要有路拌法和中心站集中伴合(厂拌)法两种,本标段拟采用集中拌合(厂拌)法施工。