西街街道政府信息依申请公开流程图【模板】
- 格式:docx
- 大小:49.65 KB
- 文档页数:1
政务公开操作流程图
一、登录
1、输入网址:http://222.36.5.104/gkht 显示登陆页面
2、输入用户名:gzz001 ;密码:29821651 。
进入系统页面
二、信息上载
1、点击“信息上载”
显示页面
2、点击“增加”
显示页面
3、“信息种类[选择]”可选择合适的信息种类
4、“信息名称”填上相应的名称
5、“生成日期[选择]”选择发文日期后20工作日之内的日期
6、“原文”可把文件粘贴到此处,如果用附件,此处也可不填。
7、“上传文件”用附件,在此处点击“浏览”,添加即可。
8、完成上述操作后,点击“提交至审核”
三、信息审核
1、点击“信息审核”
显示页面
2、点击“审核”
显示页面
3、选择“审批通过”,点击“保存”
四、信息发布
1、点击“信息发布”
2、点击“发布”,之后进行确认即可。
五、已发布信息维护
可在此选项内进行“查看、删除、取消发布”等操作。
1
附件2
XX 区综合执法局政府信息公开申请的流程图
能够确定
申请人当场 签收
申请人提出申请
申请人推荐填写
江州区综合执法局政府信息公开申
受理机关登记(含网上登记)并出具《登记回执》
受理机关当场答复
受理机关当场不能答复 15个工作日内答复
经批准延长 15个工作日内答复
属于公 开范围
属于部分 公开范围
属于不干 公开范围
不属于受理 机关掌握范围
信息不存在 申请内容不明确
受理机关出具《政府信息公开告知书》
受理机关出具《政府信息部分公开告知书》
受理机关出具《政府信息不予公开告知书》
受理机关出具《非本机关政府信息告知书》
受理机关出具
《政府信息不存在告知书》
受理机关出具《补正申请通知书》
申请人办理缴费 等申请手续
受理机关 当场提供
受理机关告知申请人掌握机关的联系方式
特殊情况。
上海申请政府信息公开的流程
申请人根据《中华人民共和国政府信息公开条例》《上海市政府信息公开规定》申请公开政府信息,应提出书面申请。
政府信息公开申请应当包括下列内容:
1.申请人的姓名或者名称、身份证明、联系方式;
2.申请公开的政府信息的名称、文号或者便于行政机关查询的其他特征性描述;
3.申请公开的政府信息的形式要求,包括获取信息的方式、途径。
为了便于行政机关处理,推荐填写《政府信息公开申请表》,并建议“一事一申请”(即一张申请表只申请一个政府信息)。
申请人可以通过以下渠道提出申请:
1.互联网申请。
通过“上海市黄浦人民政府”网站“政务公开”专栏中的依申请公开页面,按要求填写申请表、上传身份证明后直接提交。
2.信函申请。
通过信函方式提交申请,并随申请附上有效身份证明。
为提高信函送达政府信息公开工作机构的效率,建议在信封左下角注明“政府信息公开申请”的字样。
3.当面申请。
到行政机关的政府信息公开工作机构当面提出申请,当面申请时申请人应出示有效身份证明。
4.传真申请。
申请人根据行政机关在信息公开指南中公布的接收申请的传真号,将申请表和身份证明材料发送到行政机关的政府信息公开申请受理机构。
XX县XX信息公开申请表
申请人信息
公民姓名工作单位
证件名称证件号码
XX 邮XX编码
联系地址传真
电子信箱
法人或
其他
组织
名称
法人代表联系人姓名
联系人电话
联系地址邮编
XX 传真
所需信息情况
所需信息的
内容描述
所需信息的指
定提供载体形
式
□ 纸质□ 电子邮件□ 光盘□磁盘
□ 若本机关无法按照指定方式提供所需信息,也可接受其他方式
选填部分
所需信息的名称
所需信息的XX号
所需信息的用途
是否申请减免费用
□ 不申请
□ 申请(请提供相关证明)
获取信息的方式
□ 自行领取
□邮寄
□ 电子邮件
□ 传真。
政府信息公开申请处理流程图
能够确定的
的
特殊
情况
特殊情况
申请人提出申请 申请人填写
《经区信息公开申请表》
受理机关登记(含网上登记),验证申请人身份,并出具《登记回执》
受理机关当场答复
受理机关当场不能答复,15个工作日内答复
经批准延长15个工作日内答复, 受理机关出具《延期答复告知书》
属于公开范围
属于不予公开范围 不属于受理机关
掌握范围
信息 不存在 属于主动公开范围 受理机关出具《政府信息公开告知书》 受理机关出具《政府信息不予公开告知书》 受理机关 出具《非本机关政府信息告知书》
受理机关出具《政府信息不存在告知书》 受理机关出具《政府信息公开告知书》
申请人办理缴费等申请手续
受理机关当场
提供
属于部分公开范围 受理机关出具《政府信息部分公开告知书》 受理机关在规定时间内提供
申请人签收
申请内容不明确 受理机关出具《政府信息公开申请补正通知书》
书面征求第三方意见
受理机关告知申请人信息掌握机关的联系方式。
图1:政府信息公开申请处理流程附件1:局政府信息公开申请表(样本)附件2:政府信息公开申请登记回执()第号(申请人姓名或者名称):你(单位)于年月日通过电子邮件/信函/电报/传真/当面方式提出政府信息公开申请,申请获得信息。
经审查,你(单位)的申请行为符合《中华人民共和国政府信息公开条例》第十三条的规定,本机关予以受理。
根据《中华人民共和国政府信息公开条例》第二十四条的规定,对你(单位)的申请,本机关将:□当场予以答复;□于年月日前予以答复。
(机关印章)年月日附件3:政府信息公开告知书()第号(申请人姓名或者名称):本机关于年月日受理了你(单位)提出的政府信息公开申请,具体见《登记回执》()第号。
经查,你(单位)申请获取的信息属于公开范围。
根据《中华人民共和国政府信息公开条例》第二十六条的规定,本机关将以你(单位)指定的方式/以下方式提供所申请的政府信息:□纸质□电子邮件□光盘□磁盘□其他方式,具体为根据《中华人民共和国政府信息公开条例》第二十七条的规定,本机关将向你(单位)收取实际发生的检索/复制/邮寄费用。
请在收到本告知书后,到地点办理缴费等具体手续。
特此告知。
(机关印章)年月日附件4:政府信息部分公开告知书()第号(申请人姓名或者名称):本机关于年月日受理了你(单位)提出的政府信息公开申请,具体见《登记回执》()第号。
经查,你(单位)申请获取的政府信息属于部分公开范围,根据《中华人民共和国政府信息公开条例》第二十六条的规定,本机关将以你(单位)指定的方式/以下方式提供所申请的政府信息:□纸质□电子邮件□光盘□磁盘□其他方式,具体为根据《中华人民共和国政府信息公开条例》第二十七条,本机关将向你(单位)收取实际发生的检索/复制/邮寄费用。
请在收到本告知书后,到地点办理缴费等具体手续。
你(单位)申请获取的政府信息中,有部分内容属于:□国家秘密□商业秘密或者公开可能导致商业秘密被泄露的政府信息□属于个人隐私或者公开可能导致对个人隐私权造成不当侵害的政府信息□正在调查、讨论、处理过程中的政府信息□与行政执法有关,公开后可能会影响检查、调查、取证等执法活动或者会威胁个人生命安全的政府信息□法律、法规规定免予公开的其他情形。
附件21.政府信息公开申请接受回执(一式两份)政府信息公开申请接收回执黑建依回执〔20 〕第号(申请人姓名或者单位名称):您(你单位)于年月日通过当面申请方式向本机关提出份政府信息公开申请,申请获取信息。
您(你单位)提交的材料有。
根据《政府信息公开条例》第三十三条的规定,本机关将于年月日起20个工作日内作出答复,如需延期答复,本机关将依法告知。
办理进度查询电话:。
申请人签名:黑龙江省住房和城乡建设厅年月日2.政府信息公开申请补正告知书黑建依补告〔20 〕第号政府信息公开申请补正告知书(申请人姓名或者单位名称):本机关于年月日收到您(你单位)通过□在线□信函□传真□当面□提交的《政府信息公开申请书》。
经审查,您提交的政府信息公开申请不符合《政府信息公开条例》第二十九条的规定,需要补正下列内容:□申请公开的内容不明确,(本机关指导和释明)请补充修改《政府信息公开申请书》并重新提交;□缺少身份证明,请补充提交身份证明复印件(□委托证明材料等);□缺少申请公开政府信息的形式要求,请补充修改《政府信息公开申请书》并重新提交。
根据《政府信息公开条例》第三十条的规定,请您(单位)在年月日前补正相关内容。
逾期未补正的,视为放弃申请。
黑龙江省住房和城乡建设厅年月日3.延期答复告知书黑建依延告〔20 〕第号政府信息公开申请延期答复告知书(申请人姓名或者单位名称):本机关于年月日收到您(你单位)通过□在线□信函□传真□当面□提交的《政府信息公开申请书》,根据《政府信息公开条例》第三十三条的规定,本机关将延期答复,延长期限不超过20个工作日。
感谢对政府信息公开工作的理解和支持。
黑龙江省住房和城乡建设厅年月日4.征求第三方意见告知书(给第三方)黑建依征告〔20 〕第号政府信息公开申请征求第三方意见告知书(第三方姓名或者单位名称):本机关于年月日收到(申请人姓名/名称)提交的关于的政府信息公开申请。
因申请人申请公开的政府信息可能涉及您(你单位)的合法权益,根据《政府信息公开条例》第三十二条的规定,现就是否向申请人公开该政府信息书面征求意见,请于收到本告知15个工作日内填写并回复《政府信息公开申请征求意见确认函》,供本机关依据《政府信息公开条例》有关规定处理。
62
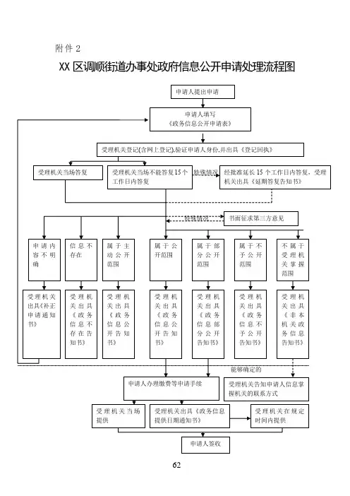
附件2
XX 区调顺街道办事处政府信息公开申请处理流程图
特殊情况
特殊情况
能够确定的
受理机关登记(含网上登记),验证申请人身份,并出具《登记回执》
受理机关当场答复 受理机关当场不能答复15个工作日内答复 经批准延长15个工作日内答复,受理机关出具《延期答复告知书》 书面征求第三方意见
属于公开范围
属于部分公开范围 属于不予公开范围
不属于受理机关掌握范围
属于主动公开 范围
信息不存在
申请内容不明确
受理机
关出具《非本机关政务信息告知书》
受理机关出具《政务信息公开告知
书》
受理机关出具《政务信息公开告知
书》
受理机关出具《政务信息不存在告知书》
受理机关
出具《补正
申请通知
书》
受理机关出具《政务信息部分公开告知书》
受理机
关出具《政务信息不予公开告知书》
申请人办理缴费等申请手续
受理机关告知申请人信息掌
握机关的联系方式
受理机关当场 提供 受理机关出具《政务信息提供日期通知书》
受理机关在规定时间内提供
申请人签收
申请人填写
《政务信息公开申请表》
申请人提出申请。
特殊情况
受理机关审核要件、验证身份
特殊情况经批准后延长15个工作日答复
出具《政府信息延期答复通知书》
属于依申请公开范围
属于部分公开范围
属于免于公开范围
信息不存在 申请内容不明确
能够确定受理机关的,告知申请人具体联系方式
申请人办理缴费等申请手续
出具《政府信息提供日
期通知书》
当场提供
受理机关在15个工作日内提供
特殊情况延长15个工作日内提供
出具《政府信息延期提供通知书》
书面征求第三方意见
不属于本机关掌握范围
申请人签收
属于主动公开范围
出具《政府信息公开告知书》
出具《政府信息部分公开告知书》
告知获取方式和途径
出具《政府信息不予公开告知书》
出具《政府信息不存在告知书》
出具《非本单位掌握政府信息告知书》
不能当场答复的,在15个工作日内答复
当场答复
若要件不全,要求申请人补全相关资料
受理机关登记(含网上登记),出具登记回执
申请人提交申请(包括当面递交、书面申请、网上申请)
出具《补正申请通知书 申请人填写《西街街道政府信息依申请公开登记表》。