流程图急救模板
- 格式:doc
- 大小:165.00 KB
- 文档页数:22
一、单人徒手心肺复苏操作流程成人BLS 技术流程无反应高质量CPR无呼吸或者无正常呼吸至少100 次/min (仅有喘息) 按压深度至少2 英寸(5cm )在每次按压后要允许胸廓完全回弹尽可能减少中断胸外按压激活紧急反应系统避免过度通气取来AED 或者除颤仪检查脉搏:10 秒内有无确定的脉搏无脉搏确定脉搏每5~6 秒一次人工呼吸每2 分钟再次检查脉搏开始每30 次胸外按压赋予2 次人工呼吸并循环进行AED 除颤仪到位检查是否为除颤心律可除颤不可除颤除颤一次即将继续CPR2min即将继续CPR2min每2min 检查心律一次直至ALS 人员到场或者患者能动二、院前医护配合 CA-CPR 规范操作流程呼叫原因:晕厥/昏迷医生 抬工 护士出车准备 填写出车记录本电话联系家属戴手套口包帽子报“110”出车戴手套口包帽子监护箱呼吸机、担架取抢救 B 箱判定环境安全(D )现场处理判定意识丧失(R ),触摸不到颈动脉搏动实施胸外按压开放气道球囊面罩通气(B )按压-通气 5 循环(C )辨明有否除颤心律无 有胸外按压球囊通气 5 循环嘱护士: (3-5min1 次)肾上腺素 1mg iv ;检查有否除颤心律检查有否除颤心律嘱护士胸外按压球囊通气 5 循环脉室 无检查心律心脏停博或者 无脉电活动判断呼吸球囊通气重复:胸外按压-球囊通气 →血管活性药物 (30min )心脏停博或者无脉电活动整理现场转运回院报“110”回院 填出车登记本取 A 箱、氧袋连接 AED建立静脉通道肾上腺素 1mg iv触摸颈动脉搏动胺碘酮 0.3 iv肾上腺素 1mg iv准备插管设备接呼吸机控制呼吸监测生命体征 (HR ) 通知院内准备抢救。
胸 外 按 压 - 球 囊通气 5 循环检查心律恢复窦律 气管插管球囊通气见左嘱护士胸外按压-球囊通气 5 循环住手抢救 宣布死亡离开 现场整理 现场室颤或者无 嘱护士(E )除颤(D )到 诊嘱护士 嘱护士嘱护士见左除颤速无说明:1、到达现场, (条件允许时)医护站位及抢救设备摆放位置:医生:患者一侧(右侧),B 箱放患者头部外上方,挨近医生处(利于球囊通气);护士:患者另一侧(左侧),A 箱放其该侧前臂外方(便于建立静脉通道);抬工:置监护除颤仪于护士同侧,患者头部外方 (便于连接AED 和心电监护),呼吸机条件允许情况下置患者头部外上方、B 箱外方,在旁等待医护指示,配合医护。
一、单人徒手心肺复苏操作流程成人BLS技术流程高质量CPR至少100次/min按压深度至少2英寸(5cm)在每次按压后要允许胸廓完全回弹尽可能减少中断胸外按压每5~6秒一次人工呼吸每2分钟再次检查脉搏二、院前医护配合CA-CPR规范操作流程呼叫原因:晕厥/昏迷抬工医生护士说明:1、到达现场,(条件允许时)医护站位及抢救设备摆放位置:医生:患者一侧(右侧),B箱放患者头部外上方,靠近医生处(利于球囊通气);护士:患者另一侧(左侧),A箱放其该侧前臂外方(便于建立静脉通道);抬工:置监护除颤仪于护士同侧,患者头部外方(便于连接AED和心电监护),呼吸机条件允许情况下置患者头部外上方、B箱外方,在旁等待医护指示,配合医护。
2、护士连接AED并开机后方执行建立静脉通道。
3、对于院前非目击的CA患者,先行5个循环基础CPR(球囊通气-胸外按压-球囊通气5循环),然后再AED除颤(05心肺复苏指南,10指南无变化)。
4、在首次5个循环基础CPR过程中,球囊通气时可辨明CA患者心律,即便是室颤心律,仍行完整的5循环CPR后再判断心律。
5、院前静脉通道建立时间差异较大,多数情况下需比平常更长时间,首个5循环CPR内不能完成则延续至第二个5循环;若在首个5循环CPR内静脉通道已建立,可以提前使用肾上腺素(若球囊通气时辨明为无除颤心律可加用阿托品)。
6、按压过程中嘱护士触摸颈动脉搏动以判定是否为有效按压。
7、医生遵循“判定环境危险与否(D)→判断意识丧失(R)→仰卧位→触摸颈动脉搏动,扫视呼吸情况(10秒内)→解开上衣→实施胸外按压30次→嘱护士接AED(E)→开放气道(A)→清除呼吸道异物→球囊面罩通气(B)(3-4秒/2次)→按压-通气5循环(C)→检查心律→AED除颤(D)胸外按压-球囊通气5循环→检查心律→AED除颤(D)→胸外按压-球囊通气5循环(其中2-3个循环按压护士执行)→恢复窦性心律→触摸挠动脉→判断呼吸→球囊面罩通气(10-12次/分)→气管插管→接呼吸机(500-600ml、8-10次/分)→综合判断复苏情况→整理患者及呼吸机”。
'、单人徒手心肺复苏操作流程成人BLS技术流程无反应无呼吸或无正常呼吸(仅有喘息)开始每30次胸外按压给予2次人工呼吸并循环进行AED除颤仪到位激活紧急反应系统取来AED或除颤仪高质量CPR至少100次/min按压深度至少2英寸(5cm)在每次按压后要允许胸廓完全回弹尽可能减少中断胸外按压避免过度通气检查脉搏:;确定]每5~6秒一次人工呼吸10秒内有无确定的脉搏脉搏】每2分钟再次检查脉搏无脉搏院前医护配合CA-CPR规范操作流程呼叫原因: 晕厥/昏迷医生抬工护士岀车准备1 填写岀车记录本1 r电话联系家属1y1戴手套口包帽子1V到诊取抢救B箱1 ■现场处理判定环境安全(D)报“110”岀车1 F戴手套口包帽子监护箱呼吸机、担架取A箱、氧袋判定意识丧失(R),触摸不到颈动脉搏动嘱护士(E)连接AED 实施胸外按压开放气道球囊面罩通气(B)嘱护士建立静脉通道离开现场辨明有否除颤心律无有胸外按压球囊通气5循环■除颤(D)F!按压-通气5循环(C)嘱护士:(3-5min1 次)肾上腺素1mg iv;胸外按压-球囊通气5循环_嘱护士检查有否除颤心律无V检查有否除颤心律-----►除颤见左胸外按压-球室颤胸外按压球囊通气5循环检查心律心脏停博或无脉电活动重复:胸外按压-球囊通气-血管活性药物(30min )心脏停博或无脉电活动停止抢救宣布死亡嘱护士肾上腺素1mg iv触摸颈动脉搏动或无脉室整理现场囊通气5循环胺碘酮0.3 iv检查心律恢复窦律判断呼吸球囊通气气管插管球囊通气可编辑报“110”回院填岀车登记本无__ 见左肾上腺素1mg iv嘱护士嘱护士准备插管设备接呼吸机控制呼吸转运回院整理现场监测生命体征(HR)通知院内准备抢救。
说明:1、到达现场,(条件允许时)医护站位及抢救设备摆放位置:医生:患者一侧(右侧),B箱放患者头部外上方,靠近医生处(利于球囊通气);护士:患者另一侧(左侧), A 箱放其该侧前臂外方(便于建立静脉通道);抬工:置监护除颤仪于护士同侧,患者头部外方(便于连接 AED 和心电监护),呼吸机条件允许情况下置患者头部外上方、 B 箱外方,在旁等待医护指示,配合医护。
急救通则(First Aid)7 6 休克抢救流程图出现休克征兆(烦燥不安、面色苍白、肢体湿冷、脉细速、脉压差<30mmHg ) ● 卧床,头低位。
开放气道并保持通畅,必要时气管插管● 建立大静脉通道、紧急配血备血 ● 大流量吸氧,保持血氧饱和度95%以上 ● 监护心电、血压、脉搏和呼吸 ● 留置导尿记每小时出入量(特别是尿量) ● 镇静:地西泮5~10mg 或劳拉西泮1~2mg 肌肉注射或静脉注射 ● 如果有明显的体表出血尽早外科止血,以直接压迫为主病因诊断及治疗 ●保持气道通畅 ●静脉输入晶体液,维持平均动脉压>70mmHg ,否则加用正性肌力药(多巴胺、多巴酚丁胺) ●严重心动过缓:阿托品0.5~1mg 静脉推注,必要时每5分钟重复,总量3mg ,无效则考虑安装起搏器 ●请相关专科会诊 心源性休克 评估休克情况: ●心率:多增快 ●皮肤表现:苍白、灰暗、出汗、瘀斑 ●体温:高于或低于正常 ●代谢改变:早期呼吸性碱中毒、后期代谢性酸中毒●肾脏:少尿 ●血压:(体位性)低血压、脉压↓ ● 呼吸:早期增快,晚期呼吸衰竭肺部啰音、粉红色泡沫样痰 ●头部、脊柱外伤史 ●纠正心律失常、电解质紊乱 ●若合并低血容量:予胶体液(如低分子右旋糖酐)100~200ml/5~10min ,观察休克征象有无改善 ●如血压允许,予硝酸甘油5mg/h ,如血压低,予正性肌力药物(如多巴胺、多巴酚丁胺) ●吗啡:2.5mg 静脉注射 ●重度心衰:考虑气管插管机械通气 ●积极复苏,加强气道管理 ●稳定血流动力学状态:每5~10分钟快速输入晶体液500ml (儿童20ml/kg ),共4~6L (儿童60ml/kg ),如血红蛋白<7~10g/dl 考虑输血 ●正性肌力药:0.1~0. 5mg/min 静脉滴注,血压仍低则去甲肾上腺素8~12µg 静脉推注,继以2~4µg/min 静脉滴注维持平均动脉压60mmHg 以上 ●清除感染源:如感染导管、脓肿清除引流等 ●尽早经验性抗生素治疗 ●纠正酸中毒●可疑肾上腺皮质功能不全:氢化● 初步容量复苏(血流动力学不稳定者),双通路输液: 快速输液1500~2000ml 等渗晶体液(如林格液或生理盐水)及胶体液(低分子右旋糖酐或羟基淀粉)100~200ml/5~10min ● 经适当容量复苏后仍持续低血压则给予血管加压药: 收缩压70~100mmHg 多巴胺0.1~0. 5mg/min 静脉滴注 收缩压<70mmHg 去甲肾上腺素0.5~30µg/min ● 纠正酸中毒:严重酸中毒则考虑碳酸氢钠125ml 静脉滴注 神经源性休克 低血容量性休克 过敏性休克 (见“过敏反应抢救流程”) 脓毒性休克 1 234 58 9 10 11 12急性心肌梗死的抢救流程图成人致命性快速性心律失常抢救流程图抽搐急性发作期的抢救流程图。
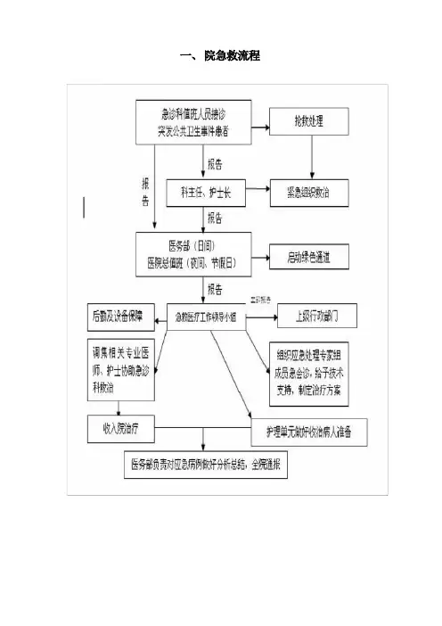
1.接到有关突发性事件的信息后,应记录事件的性质、人员伤亡情况、事件发生的地点、联系电话情况,即将通知医务部。
节假日或者下班时间得到有关事件的信息后,应先通知总值班,总值班负责通知医务部主任及值班领导。
2.医务部主任对所获得的信息应进行再次核实,可与到达事故现场的急救人员联系,向有关单位或者部门确认事件发生准确地点、时间、性质、人员伤亡数量、现场救治情况。
科、住院处、外科、内科、麻醉科、手术室、药剂科、检验科、功能检查科、影像中心等部门和急救小组,医务部主任应根据上级指示或者突发公共卫生事件的严重程度,决定是否增派救护车和急救人员参加现场救治疗工作,如有必要,则及时通知急诊科执行。
医院各部门应积极做好接纳危重患者和大批患者的准备工作,并组织好人员待命。
及有关上级领导。
并随时落实上级的指示。
持通信联络,接受指示。
的负责人,医务人员做好物品、器械、药品及血源准备.者的准备。
护车辆,在3 分钟内出发,迅速到达事故现场。
积极参预现场抢救工作。
并根据现场情况处理患者。
(人数达三人以上),首先要对患者进行初步判断,按病情的严重程度分为轻患者、重患者和危重患者三个等级,分别用兰、黄、红三种不同颜色的标志带系于患者腕部或者踝部,若患者有肢体丧失或者严重受伤时则不宜系标志带,系顺序挨次为左腕部、右腕部、左踝部、右踝部,利于后续抢救人员及时辨认出危重患者。
并由联络人将现场情况通知急诊科主任,如现场伤亡或者中毒人员众多时,应迅速增派人员和车辆。
首先抢救病情危及生命的危重患者,进行现场的心肺复苏,止血、骨折简单固定、输液抗休克治疗,并立即将危重患者转送医院。
骨折简单外固定。
并及时安排转运到医院抢救。
轻伤员的处理主要是伤口包扎,并指导轻伤员服从现场指挥人员的安排,有计划进行转送。
查、对症处理后即将转送医院急诊科进行救治,对其他患者及时赋予对症处理及催吐、洗胃等处理,并及时转送医院急诊科,同时现场工作人员应采集可疑食品并送卫生防疫部门进行鉴定,确定致毒因子,以便指导治疗。
危重症抢救流程目录1、急救通那么 (4)2、休克抢救流程 (5)3、休克抢救流程图 (6)4、过敏反响抢救流程图 (7)5、昏迷抢救流程 (8)6、昏迷病人的急救流程图 (9)7、眩晕抢救流程 (10)8、眩晕的诊断思路及抢救流程 (11)9、窒息的抢救流程 (12)10、窒息的一般现场抢救流程图 (13)11、急性心肌堵塞的抢救流程 (14)12、急性心肌梗死的抢救流程图 (15)13、心律失常抢救流程 (16)14、成人致命性快速心律失常抢救流程图 (18)15、心脏骤停抢救流程 (19)16、成人无脉性心跳骤停抢救流程图 (20)17、高血压急症抢救流程 (21)18、高血压危象抢救流程图 (22)19、急性左心衰竭抢救流程 (24)20、急性左心衰竭抢救流程图 (25)21、支气管哮喘的抢救流程 (26)22、致命性哮喘抢救流程图 (27)23、咯血抢救流程 (28)24、大咯血的紧急抢救流程图 (29)25、呕血的抢救流程 (30)26、呕血抢救流程图 (31)27、糖尿病酮症酸中毒抢救流程……………………………………………………… .3228、糖尿病酮症酸中毒抢救流程图 (33)29、抽搐抢救流程 (34)30、全身性强直——阵挛性发作持续状态的紧急抢救流程图 (35)31、抽搐急性发作期的抢救流程图 (36)32、中署抢救流程 (37)33、中署的急救流程图 (38)34、溺水抢救流程 (39)35、淹溺抢救流程图 (40)36、电击伤抢救流程 (41)37、电击伤急救处理流程图 (42)38、急性中毒抢救流程 (43)39、急性中毒急救处理图 (44)40、铅、苯、汞急性中毒诊疗流程图 (45)41、急性药物中毒诊疗流程图 (46)42、急性有机磷中毒抢救流程图 (47)43、创伤抢救流程 (48)44、颅脑创伤的急救诊疗流程图 (49)45、胸部、心脏创伤的急救流程图 (50)46、腹部损伤的现场急救流程图 (51)47、骨折的现场急救流程图 (52)48、急腹症抢救流程 (53)49、肝性脑病抢救流程 (57)50、胃底食管静脉曲张出血抢救流程 (59)51、子痫抢救流程 (60)52、产科羊水栓塞的抢救流程 (61)53、产科出血性休克抢救流程 (62)54、产科急性心衰的抢救流程 (64)55、产科甲亢危象的抢救流程 (65)56、产科糖尿病酮症酸中毒抢救流程 (66)57、新生儿窒息抢救流程 (67)68、麻醉科局麻药中毒抢救流程 (69)59、麻醉科过敏性休克抢救流程 (70)60、透析器破膜的应急处理预案 (71)61、动静脉内瘘穿刺引起出血、皮下血肿的应急预案 (72)62、溶血的应急处理预案 (73)63、血透并发心脑血管疾病的应急处理预案 (74)64、血透过程中出现空气栓塞的应急处理预案 (75)65、血透过程中出现空气栓塞的应急处理流程图 (75)66、血透发生低血压的应急预案及流程图 (76)67、透析中发生休克的应急预案 (77)68、透析过程中体外凝血的应急预案 (78)69、透析时水源中断的应急预案 (79)70、透析时电源中断的应急预案 (80)71、透析患者出现自杀倾向的护理应急程序 (81)72、输血反响处理预案 (82)73、医疗风险预警机制与预案 (83)74、气管插管术 (86)75、氧气疗法 (87)76、球囊面罩加压通气术 (88)77、深静脉插管术 (89)78、非同步电复律除颤术 (91)79、胸腔穿刺术 (92)80、套管针胸膜腔闭塞引流术 (93)81、腹腔穿刺术 (94)82、胃肠减压术 (95)83、洗胃术 (96)84、三腔二囊管压迫止血术 (98)85、导尿术 (99)急救通那么〔First Aid 〕休克抢救流程诊断依据1.有各种原因造成的出血、大量丧失体液、烧伤、严重创伤、感染或过敏等病史。
危重症抢救流程目录1、急救通则 (4)2、休克抢救流程 (5)3、休克抢救流程图 (6)4、过敏反应抢救流程图 (7)5、昏迷抢救流程 (8)6、昏迷病人的急救流程图 (9)7、眩晕抢救流程 (10)8、眩晕的诊断思路及抢救流程 (11)9、窒息的抢救流程 (12)10、窒息的一般现场抢救流程图 (13)11、急性心肌梗塞的抢救流程 (14)12、急性心肌梗死的抢救流程图 (15)13、心律失常抢救流程 (16)14、成人致命性快速心律失常抢救流程图 (18)15、心脏骤停抢救流程 (19)16、成人无脉性心跳骤停抢救流程图 (20)17、高血压急症抢救流程 (21)18、高血压危象抢救流程图 (22)19、急性左心衰竭抢救流程 (24)20、急性左心衰竭抢救流程图 (25)21、支气管哮喘的抢救流程 (26)22、致命性哮喘抢救流程图 (27)23、咯血抢救流程 (28)24、大咯血的紧急抢救流程图 (29)25、呕血的抢救流程 (30)26、呕血抢救流程图 (31)27、糖尿病酮症酸中毒抢救流程……………………………………………………… .3228、糖尿病酮症酸中毒抢救流程图 (33)29、抽搐抢救流程 (34)30、全身性强直——阵挛性发作持续状态的紧急抢救流程图 (35)31、抽搐急性发作期的抢救流程图 (36)32、中署抢救流程 (37)33、中署的急救流程图 (38)34、溺水抢救流程 (39)35、淹溺抢救流程图 (40)36、电击伤抢救流程 (41)37、电击伤急救处理流程图 (42)38、急性中毒抢救流程 (43)39、急性中毒急救处理图 (44)40、铅、苯、汞急性中毒诊疗流程图 (45)41、急性药物中毒诊疗流程图 (46)42、急性有机磷中毒抢救流程图 (47)43、创伤抢救流程 (48)44、颅脑创伤的急救诊疗流程图 (49)45、胸部、心脏创伤的急救流程图 (50)46、腹部损伤的现场急救流程图 (51)47、骨折的现场急救流程图 (52)48、急腹症抢救流程 (53)49、肝性脑病抢救流程 (57)50、胃底食管静脉曲张出血抢救流程 (59)51、子痫抢救流程 (60)52、产科羊水栓塞的抢救流程 (61)53、产科出血性休克抢救流程 (62)54、产科急性心衰的抢救流程 (64)55、产科甲亢危象的抢救流程 (65)56、产科糖尿病酮症酸中毒抢救流程 (66)57、新生儿窒息抢救流程 (67)68、麻醉科局麻药中毒抢救流程 (69)59、麻醉科过敏性休克抢救流程 (70)60、透析器破膜的应急处理预案 (71)61、动静脉内瘘穿刺引起出血、皮下血肿的应急预案 (72)62、溶血的应急处理预案 (73)63、血透并发心脑血管疾病的应急处理预案 (74)64、血透过程中出现空气栓塞的应急处理预案 (75)65、血透过程中出现空气栓塞的应急处理流程图 (75)66、血透发生低血压的应急预案及流程图 (76)67、透析中发生休克的应急预案 (77)68、透析过程中体外凝血的应急预案 (78)69、透析时水源中断的应急预案 (79)70、透析时电源中断的应急预案 (80)71、透析患者出现自杀倾向的护理应急程序 (81)72、输血反应处理预案 (82)73、医疗风险预警机制与预案 (83)74、气管插管术 (86)75、氧气疗法 (87)76、球囊面罩加压通气术 (88)77、深静脉插管术 (89)78、非同步电复律除颤术 (91)79、胸腔穿刺术 (92)80、套管针胸膜腔闭塞引流术 (93)81、腹腔穿刺术 (94)82、胃肠减压术 (95)83、洗胃术 (96)84、三腔二囊管压迫止血术 (98)85、导尿术 (99)急救通则(First Aid)休克抢救流程诊断依据1.有各种原因造成的出血、大量丢失体液、烧伤、严重创伤、感染或过敏等病史。
1、大批创伤患者抢救流程2、急性创伤患者救治流程急性创伤患者入抢救室、首诊医师迅速评估病情心搏呼吸骤停立即危及生命情窒息、休克、立即进入相应抢救流程保持呼吸氧疗液体复苏生命支持心电监护实验室检查影像检查组织相关迅速明确诊断30 分钟内二次病情评估有手术指征无手术指征能耐受60 分钟内完成手术室暂不能积极创造手术条件如保守治疗再评估清除缝合止血固定降颅压留观或者住院3、大批中暑患者抢救流程大批中暑报告急诊科组织抢救医务部(日间)报告上级行政部门即将报告急救医疗工作领导小组密切观察体温、神志及各反射多参数监护完善辅助检查:血常规、血生化、血气分析、心电图、物理降温:脱去衣物冰毯、冰帽、冷水洗浴冰水灌(胃)肠药物降温,酌情:建立静脉通道:液体复苏补充电解质纠正酸碱失衡启动应急预案组织相关科室会诊:神经内科、重症医学科、肾内科分流患者留观察住院重症医学科4、突发重大医疗纠纷应急处理流程发生重大医疗纠纷医务科、门诊部、护理部(日间)了解情况启动应急预保卫部全程保卫(根据事态)当地突发事件应急处理科主任指挥小组护士长医务科组织医疗质量与安全管理委员会专积极救治病人家病例讨论,制定治妥帖处理事态与患者或者其家属商谈商议解决,争取达成共识积极配合达成共识不能达成共识建议患方通过鉴定和诉终止应急预案医务科与患方履行鉴定和诉讼程序5、突发药品和医疗器械不良事件处理流程图临床发生严重不良事件接到上级突发不良事件通知医务部组织专家做出初步判断启动响应是否启动响应不启动临床科全力诊治抢救药剂科、设备科流程向上级报告事件总结对应急响应体系的效率进行评估,提出改进措施。
需要时修改急预案或者流程事件总结,进行上报。
6、放射事故医学应急处理流程无 受 照 人 员 按 常 规 治 疗医疗救治机构对外污染 人员进行去污洗消进行白细胞计数、淋巴细胞绝对 计数等检测,内污染人员迟早服 用促排药物;大剂量外照射人员 迟早服用抗放药。
疾控中心(辐射检测机构):⒈进行现场 取样,包括血液、尿、便、擦拭物、毛 发、 指甲等生物样品和必要的环境样品, 并进行现场剂量摹拟;⒉辐射检测人员 进行地表 γ剂量率测量、地表污染测量 及核素分析,如有必要采集空气、水和⒈进行待物剂量(染色体、微核)检测, HLA 配型,外照射及内污染检测,估算 受照剂量;⒉进行环境样品、空气、食 品和饮用水监测。
心肺复苏抢救流程图(最新版)心肺复苏抢救流程图(最新版)一、患者评估与准备1.确认患者无反应:呼唤患者、摇动患者肩膀来唤醒患者,观察患者是否有任何反应。
2.检查患者呼吸:倾听患者口鼻是否有规律的呼吸声,观察患者胸部是否有明显上下起伏。
3.寻找危险因素:检查患者周围是否存在危险因素,如电击、溺水等。
二、急救呼叫与AED使用1.由旁人拨打急救方式:呼叫急救中心,报告患者情况,告知需要AED支持。
2.寻找AED设备:在周围寻找并使用AED设备,若AED设备不可用,继续CPR。
三、胸外按压1.将患者平放:将患者置于坚硬平整的地面上,确保患者处于合适的位置。
2.定位手法:将手掌放置在患者胸部中央,另一手叠放在上方,手指交叉。
3.胸外按压的执行:用身体上部的重力向下施压,以压迫患者胸部,每分钟至少按压100-120次。
压缩深度应达到至少5公分。
4.胸外按压与人工呼吸比例:每30次胸外按压后,进行2次人工呼吸。
四、人工呼吸1.开放患者气道:侧头托下巴或通过抬头方法,确保患者的气道畅通。
2.人工呼吸的执行:将患者鼻孔捏住,用嘴对嘴或嘴对鼻进行呼气,每次呼气持续1秒钟,以观察患者胸廓抬升。
五、除颤与复苏药物应用1.准备除颤:确保自己与患者没有接触,按照AED设备的指示,进行电击准备。
2.除颤时执行:根据AED设备的指示,给予患者电击。
3.完成除颤后:立即继续胸外按压与人工呼吸,每2分钟后重新评估患者心率,并根据需要再次进行除颤。
4.药物应用:根据医生指示,给予患者适当的复苏药物。
六、继续监测与维持1.监测心率与呼吸:继续监测患者心率与呼吸,并记录相关数据。
2.维持通气:在人工呼吸过程中,确保每次呼气充分,避免过度通气。
3.维持血液循环:保持胸外按压力度与频率,并确保按压不间断,以维持有效循环。
文档结束附注:1.本文档涉及附件:本文档所涉及的附件包括:急救中心联系方式、AED设备的位置指示等相关资料。
2.法律名词及注释:本文档中涉及的法律名词和术语解释如下:●急救方式:指拨打紧急救援方式(如911)的行为。
急诊抢救流程图(内容清晰)危重患者抢救工作流程图危重患者有抢救指征通知病危医疗工作报医务科进行抢救请会诊通知上级医师确定治疗方案进一步治疗病情好转进一步治疗病愈出院报医务科护理工作建立静脉通路、生命体征监护抢救设备、药品准备到位执行医嘱操作、用药记录抢救结束病情恶化死亡转上级医院请会诊确定治疗方案完成抢救记录完成死亡记录死亡病历讨论抢救设备归位整理病床补充抢救药品成人基础生命支持操作流程图术者报告,现场环境安全拍肩呼唤,确认意识丧失喊助手准备除颤仪、简易呼吸器观察口腔无异物压额抬颏触颈动脉搏动(≥10秒)(看面部反应)无脉搏胸外心脏按压/人工通气(看面部反应)5组30:2复检听呼吸、触摸颈动脉、看胸廓(≥10秒)无呼吸无脉搏,除颤仪置监护位电极板置胸部判断示室颤擦拭胸部,电极板涂导电胶再次放置电极板仍为室颤心律,准备除颤,置除颤位,选择200J,周围人闪开,充电放电移开电极板,关机擦干患者胸壁皮肤继续心肺复苏,2分钟后再次复检休克抢救流程图低血容量苍白、呼吸急促、手足湿冷,心率加快,血压下降,脉压差缩小,少尿或无尿,神志改变等。
初步诊断:休克立即建立双静脉通道,多参数监护,吸氧,平卧、保暖记出入量,送检:常规、血生化、动脉血气分析、心肌酶分类治疗感染性休克心源性休克低血容量休克过敏性休克神经源性休克液体复苏控制感染纠正酸中毒血管活性药糖皮质激素纳洛酮莨菪类药物营养支持保护脏器功能防治DIC 其他常见原因:心率失常心力衰竭心肌梗塞肺栓塞心瓣膜病机械性压迫或梗阻常见原因:外伤手术腹泻呕吐止血或制止失液去除过敏原肾上腺素激素钙制剂异丙嗪止痛去除病因补充容量维持血压激素肾上腺素病因治疗血管活性药物调控液体补充水电平衡酸碱平衡外科治疗内科治疗补充血容量血管活性药物药物过敏性休克患者急救流程拟诊药物过敏性休克立即实施抢救:吸氧、保证有效静脉通道多参数监护立即终止致敏药物更换输液管道封存剩余药物和液体保持呼吸道通畅必要时; 人工气道辅助呼吸肾上腺素糖皮质激素钙制剂异丙嗪血管活性药物保持有效循环血量对症处理。