电气项目设计工作流程图
- 格式:doc
- 大小:22.21 KB
- 文档页数:1
成套配电设备开关柜生产工艺流程图1.设计阶段:a.确定需求:根据客户的需求和要求,确定开关柜的规格、容量和功能。
b.技术设计:根据需求确定开关柜的布局、装配和连接方式,并进行3D设计和模拟。
2.材料准备:a.材料检验:对采购的材料进行检验,确保符合质量标准。
b.材料切割:根据设计要求,使用切割设备对金属板材进行切割。
c.板材加工:对切割后的板材进行成型、冲孔和折弯等加工。
d.表面处理:对板材进行表面处理,如喷涂、抛光和防腐处理等。
3.零部件制造:a.框架制作:根据设计要求,对金属板材进行焊接和连接,制作出开关柜的框架。
b.导电轨制作:根据设计要求,使用金属材料制作出导电轨。
c.铜排制造:根据设计要求,对铜材进行加工和铆接,制作出铜排用于电源连接。
d.绝缘件制作:根据设计要求,使用绝缘材料制作出绝缘件,用于隔离电路。
4.组件装配:a.安装导电轨:将制作好的导电轨安装在开关柜的内部。
b.安装电器元件:将电器元件如断路器、接触器和继电器等安装在开关柜内,按照电路图进行连接。
c.连接导线:使用导线将电器元件进行连接,形成完整的电路。
d.安装绝缘件:将制作好的绝缘件安装在开关柜内,用于隔离电路。
5.功能测试:a.电气测试:对已装配好的开关柜进行电气测试,检测各个电路是否正常工作。
b.功能测试:对开关柜的各个功能进行测试,确保开关柜满足设计要求。
6.包装和出厂:a.包装:对测试合格的开关柜进行包装,保护其不受损坏。
b.出厂检验:对包装好的开关柜进行最后的出厂检验,确保质量合格。
c.发货:将已包装好的开关柜进行发货,送至客户指定的地点。
7.安装和调试:a.现场安装:根据客户要求,将开关柜安装到指定位置,并接入相应的电源和负载设备。
b.调试测试:对已安装好的开关柜进行电气联调和功能测试,确保开关柜正常运行。
以上是成套配电设备开关柜的生产工艺流程,每个步骤都十分重要,需要严格按照要求进行操作和检验,以确保开关柜的质量和性能。
电气工程施工工艺流程电气工程施工工艺流程图1电气工程施工方案1.1电气配管(1)电气暗配管电气管路的预留预埋包括电线管预埋及接线盒预埋,施工过程中必须密切配合土建进行施工。
配合土建施工电气管路主要施工工艺如下:①预埋在混凝土内的电线管应按最近的路线敷设,为了便于穿线,管路长、弯曲多的电线管按规范要求加装过线盒。
②暗敷的电线管与结构钢筋用铁丝绑扎牢固,管端用堵头堵实以防杂物进入管内。
开关、插座以及灯具的位置安装接线盒,接线盒的位置应准确。
混凝土结构接线盒必须紧贴施工模板面并固定牢固,且不得损坏模板。
线管底部刷漆便于拆模后观察其走向避免后期施工破坏如下图施工效果图电气明配管①成排明配管做法:明配钢管应排列整齐、横平竖直,固定点间距均匀,固定牢靠。
成排明配电线管采用圆钢作吊杆,角钢作横担固定。
做法见下图:成排钢管安装做法符号说明: 1-膨胀螺栓 2-吊杆3-U 形螺丝管卡 4-钢管 5-螺母M8〜M10 6-垫圈8〜10 7-角钢支架符号说明:1-电动机接线盒 2-接线箱连接器 3-金属软管 4-接地卡 5-混合连接器 6-接地线 7-钢管 3 2 13 5 7②单根明配管采用圆钢支架及管卡固定。
做法见下图: 单根钢管在吊顶内安装示意图符 说明:1- 边管卡2- 地线3- 线盒4- 地卡5- 管1.2管道与设备连接做法电气配管进电动机做法图 单边管卡大样图II接线箱连接器详图 混合连接器详图2桥架、线槽安装本工程桥架安装量较大,主要集中在强电井、每层公共走道。
电缆桥架水平安装时,支架间距1.5米,垂直安装时支架间距2米。
桥架施工时,应注意与其它专业的配合。
同一桥架中的双电源回路间加装隔板。
电缆桥架穿过防烟分区、防火分区、楼层时应在安装完毕后,用防火材料封堵。
各段电缆桥架及其支架全长应不少于两处与接地干线连接。
(1)工艺流程弹线定位日支架安装 I 桥架安装 T 桥架接通(2)施工准备(3)施工工艺1)弹线定位根据深化设计图中桥架的分布进行弹线定位。
-_工程施工主要工序质量控制图附表 1:独立钢筋砼根基施工工艺流程施工的准备工作测根基中心定根基位挖根基土方浇注垫层混凝土配比现场实验室建筑独立根基模板制独立柱钢筋〔网片筋〕制安砼保养拆模回填土根基梁钢架模板试块试验试块保养试块取样根基梁混凝土浇注-_附表 2:模板工程质量控制程序熟习设计图纸和技术资料模板选择掌握操作规程和质量标准施工准备平坦钢模板底板抄平放线模板涂隔绝剂书面交底技术交底与钢筋工序交接班组操作人员参加钢模板孔洞堵补底部标高、中心线、断面、尺寸注意预埋件的地点和尺寸支模质量查收履行质量查收标准企业质监科中间抽查按现场预留拆模试块压报工程部、班组自检告状况,联合强度曲线确定拆模时间注意二次支模接缝注意保护棱角拆模梁、板底部按规定起拱修理模板、分类堆放要有足够风采、防备胀模自检记录与钢筋、混凝土工序交接检查灌溉混凝土时、留人看模质量查收记录清理现场,文明施工预埋件隐蔽记录资料整理施工记录熟习设计图纸和技术资料掌握操作规程和质量标准施工工作钢筋出厂合格证、现场复试报告检查脚手架、脚手板用表记牌表记钢筋检测与否带颗粒或片状钢筋老锈先除去书面交底技术交底班操作人员参加下料成型工程部、班组自检企业质监科、监理企业中间检查现场绑扎安装控制保护层厚度注意检查钢筋数目及地点接头不留在同一地点钢筋合格证及复验报告钢筋代换签证单质量查收自检记录质量查收记录隐蔽签证记录施工记录、钢筋取样目睹记录资料清理事故办理检查记录、剖析报告、整顿举措方案、复验报告拟订与审查钢筋配料表钢筋应平直,无局部波折Ⅰ级钢筋尾端作 1800弯钩按不一样型号挂牌不一样意加热曲折钢筋、模板工序交接检查办理隐蔽查收签证手续灌溉混凝土、留人看钢筋履行质量查收标准不合格的要办理〔返修〕清理现场、文明施工熟习设计图纸和技术资料焊条、焊剂准备、出具合格证掌握操作规程和质量标准准备工作准备钢筋,出具质量证明焊条烘焙、焊件除油污电焊机准备及保养书面交底获得焊接合格证技术交底班操作人员参加按规定做试件送检〔目睹取样〕中间检查保证焊接长度工程部、班组自检除去焊渣焊接注意焊接轴线地点注意焊接表面质量不得出现裂纹、夹渣、焊瘤、烧穿、弧坑和针状气孔钢筋合格证、复验报告与监理办理焊接隐蔽查收签证焊条、焊剂合格证焊条烘焙记录履行质量查收标准质量查收焊件试验报告不合格的要办理〔返修〕自检记录质量查收报告记录隐蔽查收记录清理现场,文明施工目睹取样记录资料整理X光探伤记录事故办理检查记录、剖析报告、整顿举措方案、复验报告熟习设计图纸和技术资料资料准备,出具资料质保局或合格证以及资料现场取样试验报告准备工作掌握操作规程和质量标准申请防水混凝土配合比拟订混凝土质量保证举措准备试模和坍落度书面交底模板、钢筋、砼工序交接技术交底班组操作人员参加检查脚手架及道路战胜上道工序弊端的挽救举措水平、垂直泵送砼设施准备专业会签申请混凝土灌溉履行重量比,依据状况调整配合比办理钢筋隐蔽签证手续岗位分工,操作挂牌木匠,钢筋每个工作班许多于1 组,每拌工跟从作业保证质量制 100立方米砼许多于1 组,现浇楼层每许多于1 组。
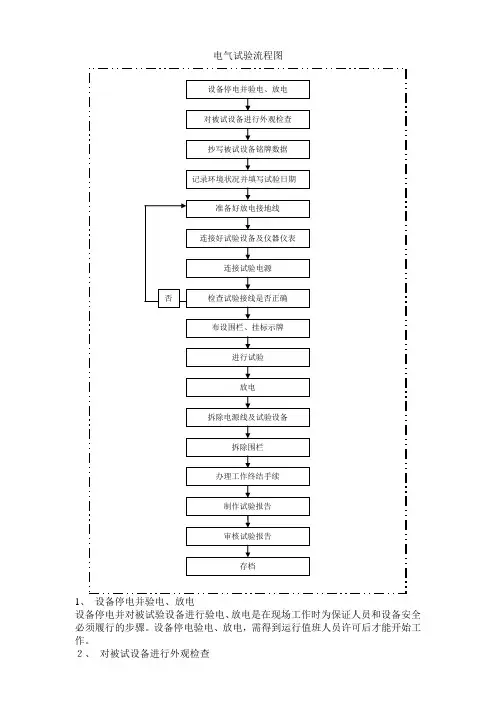
电气试验流程图1、设备停电并验电、放电设备停电并对被试验设备进行验电、放电是在现场工作时为保证人员和设备安全必须履行的步骤。
设备停电验电、放电,需得到运行值班人员许可后才能开始工作。
2、对被试设备进行外观检查外观检查内容包括:瓷件有无破损、充油设备是否缺油、与被试设备连接线是否全部拆除、设备本身有无异常现象等。
3、抄写被试设备铭牌数据凡试验每一台设备,必须将设备铭牌数据完整地抄录下来,这是试验的需要,也是填写试验报告、建立试验台账的需要。
4、记录环境状况并填写试验日期环境状况包括天气状况、环境温度、设备温度及大气气压等,以便将试验数据换算到标准条件下进行比较,同时还要填写试验日期。
5、准备好放电接地线准备好对设备进行放电的接地线,接地线应牢固可靠,保证一定的截面积,一端与接地体相连,另一端与干燥的接地棒相连。
6、连接好试验设备及仪器仪表根据试验项目,按照经批准的试验方案,连接好试验设备及仪器仪表,合理整齐地布置现场。
试验器具应处于试验人员视线之内,并在允许范围内尽量靠近被试品。
7、连接试验电源根据试验项目,确定试验电源。
将电源线与刀开关连接好,并将刀开关打开。
8、检查试验接线是否正确试验接线应由试验工作负责人进行检查。
检查内容有:接线是否正确,试验导线连接处是否牢靠,试验设备及仪器是否在起始位置,仪表是否已调到零位等。
9、布设围栏、挂标示牌在被试设备及试验设备周围应装设封闭遮栏或围栏,悬挂“止步、高压危险”标示牌,标示牌字应朝外,要有专人看守,以防其他人员进入试验区。
如被试品两端不在同一地点,另一端也应派人看守。
10、进行试验试验操作时,应由一人操作,一人监护并作记录,填写好试验项目及测量的数据。
操作者的活动范围应满足与带电部位的最小安全净距。
试验时,应随时注意试验数据,做好降压、限流或断电准备,发现异常现象应立即断电。
电源确已断开后,进行接地放电、检查设备、分析异常,然后再确定是否继续进行试验。
目录前言一、各设计阶段的工作流程说明(一)可行性研究阶段1 电气一次主设人在可行性研究阶段应进行的工作和设计流程2 电气二次主设人在可行性研究阶段应进行的工作和设计流程(二)初步设计1 电气一次专业主设人在初步设计阶段应进行的工作和设计流程2 电气二次专业主设人在初步设计阶段应进行的工作和设计流程3 设计人在初步设计阶段应进行的工作和设计流程(三)施工图设计1 电气一次专业主设人在施工图设计阶段应进行的工作和设计流程2 电气二次专业主设人在施工图设计阶段应进行的工作和设计流程3 设计人在施工图设计阶段应进行的工作和设计流程(不分专业)4 校核人在施工图设计阶段应进行的工作和设计流程(不分专业)二、设计组织机构图1变电站设计组织机构2 变电电气室设计组织机构三、设计流程图1变电工程设计过程流程图2变电电气设计工作流程图3可行性研究流程图4初步设计流程图1)初步设计变电电气一次主要程序图2)初步设计变电电气二次主要程序图5施工图流程图6主设人工作流程图7设计人工作流程图8校核人工作流程图9设计验证校审程序10图纸会签程序1)初步设计阶段图纸会签2)施工图阶段图纸会签附件:1 主要规程规范2 国家电网公司有关文件3 图纸会签项目一、各设计阶段的工作流程说明(一)可行性研究阶段可行性研究阶段工作的重点是变电站站址选择和投资估算。
一切工作都要围绕它来进行。
在国家电网公司《可行性研究内容深度规定(试行)》中规定,要求进行工程设想。
1 电气一次主设人在可行性研究阶段应进行的工作和设计流程(1)设计准备1)参加项目经理召开工程启动会,接受工程选址设计任务、明确工程设计进度(包括内部接口资料内容进度和设计成品交付时间)、掌握可研设计计划的内容和要求。
2)接收系统资料,掌握变电站可研设计规模、变压器容量台数、近远期各级电压出线回路数及出线方向、无功补偿的配置等,要了解对端变电站的地理位置,为主接线设计和电气总平面设计进行准备。
第46届世界技能大赛湖南省选拔赛电气装置项目技术工作文件2020年5月20日目录1.电气装置项目技术描述 (2)2.专家组、裁判员和选手 (4)3.操作比赛内容及说明 (5)4.竞赛命题要求 (10)5.成绩评判方式 (10)6.选拔赛的基础设施 (12)7.选拔赛场地要求 (21)8.选拔赛安全 (21)9.竞赛规则 (23)10.开放赛场 (25)11.绿色环保 (25)1.电气装置项目技术描述1.1 简要的技术描述1.1.1工作内容本项目要求选手具有安装电工的操作技能。
能够按照国家相关电气施工标准,根据施工图纸在模拟工作间内完成管路布局安装,电气线路安装,系统编程与调试,并能完成电气设备的检查与维护。
1.1.2工作标准电气装置项目竞赛中主要参照现行《电气设备安装工国家职业标准》二级,结合《电工国家职业标准》三级,《第45届世界技能大赛电气装置项目技术说明》以及企业生产实际和院校教学实际规范要求完成工作。
1.2 选手的竞赛能力要求1.2.1商业、住宅及工业现场不同线路系统的安装(1)在物体表面稳固的安装电缆、电缆有均匀的弯曲半径且不变形、电缆接入线槽及设备箱、盒时使用正确的终端配件等。
(2)在线槽、导管及柔性导管内安装绝缘导线或绝缘电缆。
(3)在电缆桥架(网孔式电缆桥架、或槽式电缆桥架)上安装并固定绝缘电缆。
(4)安装金属和塑料线槽。
准确测量并制作指定长度和角度的线槽;正确装配多段线槽,连接处不变形,且尺寸误差、间隙控制在允许范围内;装配不同的终端配件,如在线槽上安装端盖;在物体表面上正确安装不同型号的线槽。
(5)安装金属和PVC导管。
在物体表面稳固的安装导管;弯管半径均匀,且不小于4R,导管接入箱、板、槽时不变形,正确使用终端配件。
(6)安装金属和塑料柔性导管。
在物体表面上稳固的安装柔性导管;弯管半径均匀,不使柔性导管变形;柔性导管接入箱、板、槽时,使用正确的终端配件。
(7)安装电缆桥架(槽式、网孔式)。
建筑电气工程施工方案1、建筑电气工程施工流程建筑电气工程施工流程图2、建筑电气工程主要施工方法主要施工方法表1、施工工艺流程施工工艺流程图2、预制加工(1)套丝使用电动套丝机,为确保螺纹连接紧密,丝扣一般都加工成圆锥形外螺纹。
在套丝过程中,丝扣处应经常加机油润滑和冷却。
管端套丝长度不应小于管接头的1/2,在管箍连接拧紧后外露2~3扣的丝扣。
(2)SC25及以下的镀锌钢管使用手动弯管器弯管,SC32及以上的镀锌钢管使用液压弯管器,并注意模具的选择,弯曲半径不小于6D,即管外径的6倍。
钢管不应有折扁和裂缝,管子焊缝应在煨弯处的侧面,弯曲后不应产生凹裂现象,且弯扁程度不应大于管子外径的10%,管内无铁屑及毛刺,切断口应挫平,管口应刮光。
(3)支架加工时,应用切断机械断料,不得气割。
钻孔,应用电钻,不得气割。
支架加工完成后,应红丹一道、灰漆二道。
设计有特殊规定时则按规定进行处理。
(4)在各类盒、箱壁上开出线孔时应用开孔器、严禁气割。
开孔中心间距的尺寸,应考虑管卡之间、锁紧螺母之间应有的最小距离。
开孔直径宜大于管外径1~2mm。
3、钢管的接地连接钢管接头及灯头盒等处均采用4mm²的多股铜芯导线和专用接地线卡进行可靠的跨接接地。
4mm²的多股铜芯导线与螺丝压接处应盘圈涮锡。
对于紧定式镀锌JDG钢管连接处应涂动力复合脂,可不做接地跨接线。
4、灯头盒与灯具之间接线采用包塑金属软管保护导线,金属软管两端均用专用锁紧接头连接。
金属软管长度不大于1m,且金属软管不应退绞、松散,中间不应有接头,金属软管弯曲半径不小于软管半径的6倍,金属软管均可靠接地,且不得作为电气设备的接地导体。
4、电缆桥架及线槽安装1、工艺流程工工艺流程图2、弹线定位施工前应进行深化设计,根据深化设计图中桥架的分布进行弹线定位。
对于桥架较密集的变配电所和设备房,从地板上弹线,然后用红外线射灯定位投射到顶板来确定支架的固定点。
其它部位从顶板上放线以确定支架的位置。
比亚迪电器及电子产品开发流程一、设计开发流程阶段划分比亚迪电气及电子产品设计开发流程划分为6个阶段,各事业部在设计开发过程中,可根据项目的复杂程度及开发模式对各个开发阶段及其主要活动进行合并删减和/或分解细化,并在项目开发计划中体现。
1、前期调研2、功能确认3、产品设计4、产品定型5、生产确认6、量产二、各阶段的主要活动/任务、职责及要求1、收集市场需求信息销售部门负责调查和收集市场需求信息,对市场需求信息进行初步评估2、选定产品开发主题销售部门根据市场需求初步选定新产品开发主题,确定新产品开发的大致方向3、初步明确产品要求各事业部项目部门经理/主管组织相关部门初步明确产品的基本要求,并进行产品生命周期预估4、可行性分析评估门共同完成可行性分析评估报告,可行性评审通过之后由总裁批准立项,并明确以下事项:(1)项目名称(2)项目背景(3)项目目标(4)项目任务分工(5)项目进度计划(6)费用预算(7)项目开发小组(PDT)负责人四、产品设计阶段主要工作1、设计开发策划(1)组建PDT、召开项目启动会议、下达设计任务书、制定项目计划、方案设计及评审、产品定义确定、初始DFMEA开发产品设计开发和评审(2)产品设计、系统设计、子系统设计/开发、零部件设计/开发、包装设计、随机附件开发、设计和开发评审(3)初始过程设想和开发(4)初始过程设想、初始PFMEA开发、初始过程开发和评审(5)阶段总结和批准(6)总裁办组织对S0阶段进行阶段总结(含产品成本分析)并组织对相关问题进行整改后提请事业部总经理批准是否可进入S1阶段2、总裁办组织各相关部门提报人员组建项目开发小组(PDT),并明确相关职责分工,必要时,包括各功能模块小组的负责人及成员。
3、项目开发小组组建完成后,总裁办组织召开项目启动会议,介绍新产品开发项目的相关情况,以使各PDT成员了解项目内容及要求,并明确各成员和/或功能模块设计小组所承担的任务、职责和联系方式等。
建筑电气工程施工方案1、施工准备施工道路、办公设施、生活设施、库房由项目经理部统一规划并提供,施工用水、施工用电采用临时上水、临时用电。
⑴技术准备工作:施工前技术人员必须详细审图,对照招标文件,提出问题并在图纸会审时落实。
然后要根据工程特点编制施工方案,并编排进度计划。
根据施工方案提出材料计划,并向施工人员下达详细的技术交底。
⑵人员准备工作:施工人员上岗必须经过培训,掌握施工工艺、技术操作方法,考核合格后方可上岗,特殊工种必须持证上岗。
2、施工流程电气工程施工流程图3、接地装置及接地干线安装1)工艺流程:(1)自然基础接地体安装:确定连接钢筋组数、位置及连接方法→接地体连接→干线敷设、预留及标志→核验接地体→验收(2)接地干线安装:测量弹线定位→支架安装→接地干线敷设固定→接地干线连接→防腐处理→标识→检测验收2)接地体的安装:(1)利用结构基础地梁内钢筋作为接地体:按设计图尺寸位置要求,标好位置,将底板钢筋搭接焊好。
再将柱主筋(每处不少于2根)底部与底板筋搭接焊好,并在室外地面以下将该处2根主筋焊接连通,清除焊渣,并将两根主筋做好标记,以便于引出和检查。
应及时请质检部门进行隐检,同时作好隐检记录。
(2)利用桩基及平台钢筋做接地体:按设计图尺寸位置,找好桩基组数位置,把每组桩基四角钢筋搭接封焊,再与柱主筋(每处不少于2根)焊好,甩出备用外接点,清除焊渣,并将两根主筋做好标记,便于引出和检查,并应及时请质检部门进行隐检,同时做好隐检记录。
3)接地干线安装:(1)接地干线安装应符合以下规定:①接地干线穿墙及楼板处应加套管保护;跨越伸缩缝时,应做煨管补偿。
②接地干线应设有为测量接地电阻而预备的断接卡子,一般采用暗盒装入,同时加装盒盖并做上接地标记。
③接地干线跨越门口时应暗敷设于地面内(做地面之前埋好)。
④接地干线距地面不应小于200mm,距墙面应不小于10mm,支持件应采用40×4mm扁钢,尾端应制成燕尾状,总长度为70mm,埋置孔的深度与宽度各为50mm,支持件间距的水平直线距离一般为1~1.5m,垂直部分为1.5~2m,转弯部分为0.5m。
弱电项目设计施工流程[导读]施工过程可分为四个阶段:即施工准备、施工阶段、调试开通和竣工验收阶段。
结合本公司的实际情况,制定本流程。
一、设计阶段流程1、设计招标(方案设计)2、初步设计(技术设计)与概算3、施工图绘制4、图纸交底与会审5、工程联系单6、竣工验收二、建筑设计业务流程1、设计咨询与沟通2、确定设计意向(签定委托设计协议)3、实地勘测4、初步方案设计与规划5、编制初步工程施工估算6、方案沟通与修正(结合估算)7、确定设计方案,签定设计合约8、扩初设计9、全套施工图纸设计10、客户确认施工图纸11、编制工程施工招标书12、签定施工合同13、图纸交底,组织施工(设计师负责跟进)14、工程竣工验收15、质量跟踪服务通常的就三步:做方案设计,技术设计,和施工图绘制。
1.方案设计:了解设计要求,获得必要设计数据,绘制出各层主要平面,剖面和立面,有必要时甚至要画出效果图来。
要标出房屋的主要尺寸,面积,高度,门窗位置和设备位置等,以充分表达出设计意图,结构形式和构造特点。
这阶段和业主,使用该房屋相关人员接触比较多,如果方案确定,就可以进入下步的技术设计阶段。
2.技术设计:一般要是不太复杂的工程,这就省掉了。
这一阶段主要是和其他建筑工种互相提供资料,提出要求,协调与各工种(比如结构,水电,暖通,电气等)之间的关系,为后续编制施工图打好基础。
在建筑设计上,这一步骤就是要求建筑工种标明与其他技术工种有关的详细尺寸,并编制建筑部分的技术说明。
3.施工图绘制:这是建筑设计中,劳动量最大,也是完成成果的最后一步,主要功能就是绘制出满足施工要求的施工图纸,确定全部工程尺寸,用料,造型。
在建筑设计上就是要完成建筑施工图的全套图纸。
最后建筑施工图完成后,审核,盖注册建筑师章,出图章,设计人员审核人员等相关人员签字,并配合其他结构施工图,水电施工图,电气施工图等,这套图纸就可以出图了,这份建筑图就具有法律效力,相关人员就要为这设计的房屋承担相应责任。
工程师分享做plc项目的流程图我们学PLC有时候是为了做项目,做项目需要做些什么步骤呢,学习什么知识点,看看老工程师怎么告诉你……一.做一个PLC项目的大体流程如下1、熟悉好现场环境和工艺流程2、设计出安全可靠的控制方案3、画出电气控制原理图4、确定好材料,制作材料物资明细表5、编写PLC程序,组态监控画面,设计PLC机柜接线图,并同时制作PLC机柜6、沟通甲方,现场施工7、现场调试,并完善工艺控制方案8、组织甲方验收项目二.PLC设计原则1、最大限度的满足被控对象提出的各项性能指标为明确控制任务和控制系统应有的功能,设计人员在进行设计前,就应深入现场进行调查研究,搜集资料,与机械部分的设计人员和实际操作人员密切配合,共同拟定电气控制方案,以便协同解决在设计过程中出现的各种问题。
2、确保控制系统的安全可靠电气控制系统的可靠性就是生命线,不能安全可靠工作的电气控制系统,是不可能长期投入生产运行的。
尤其是在以提高产品数量和质量,保证生产安全为目标的应用场合,必须将可靠性放在首位,甚至构成冗余控制系统3、力求控制系统简单在能够满足控制要求和保证可靠工作的前提下,应力求控制系统构成简单。
只有构成简单的控制系统才具有经济性、实用性的特点,才能做到使用方便和维护容易。
4、留有适当的裕量考虑到生产规模的扩大,生产工艺的改进,控制任务的增加,以及维护方便的需要,要充分利用PLC易于扩充的特点,在选择PLC的容量(包括存储器的容量、机架插槽数、I/O点的数量等)时,应留有适当的裕量。
三.PLC设计的基本步骤在进行PLC控制系统设计,尽管有着不同的被控对象和设计任务,设计内容可能涉及诸多方面,又需要和大量的现场输入、输出设备相连接,但是基本内容应包括以下几个方面:1、明确设计任务和技术条件设计任务和技术条件一般以设计任务书的方式给出,在设计任务书中,应明确各项设计要求、约束条件及控制方式。
因此,设计任务书是整个系统设计的依据。
电气施工主要工序流程及注意事项一、穿线施工工艺流程图:检测项目:1、材料验收:导线的规格型号符合设计的要求,有"3C"标志和证书,合格证和检测报告。
2、根据图纸选择进场导线,运输到现场准备敷设,,敷设前应先清理盒内杂物并检查穿线管的护口是否齐全,然后穿带线(即钢丝)。
3、导线应放在放线车或放线架上,剪断导线应预留以下长度:1)开关、插座、过线盒等应留150MM;2)配电箱应留长度为配电箱周长的;3)公用导线在分支处可不剪断;4、将导线前端的绝缘层削除,然后将线芯和带线绑扎牢固,是绑扎处形成一个平滑的圆锥形以减少阻力;5、导线的连接不能增加导线的电阻值,不能降低导线的机械强度和绝缘强度,为了满足以上要求,到线连接必须牢固,缠绕5圈以上,要求焊接是必须焊接,然后进行包扎,进行绝缘。
6、导线敷设完毕后,应进行线路检查,绑、焊、包是否符合规范工艺,准确无误后进行绝缘摇测,500V兆欧表进行测量,按工艺要求去除或断开相应的元器件。
二、人工接地施工工艺流程图检查项目:1、材料验收:按设计要求选用,或选用热浸镀锌材料,且镀锌层均匀,材料要有质量证明文件和合格证等;2、人工接地体镀锌圆钢应采用直径不小于10,镀锌扁钢采用40*4,镀锌钢管、镀锌角钢应分别采用不小于3.5MM和4MM厚的材料。
3、加工接地体:当采用镀锌圆钢或镀锌角钢、镀锌钢管时应在接地体的顶部焊接抗击打的附件,以防止接地体被击打开裂;还应将接地体的底部加工成尖锐状,减轻夯下的阻力;详细做法可参见工艺标准。
4、根据图纸定位接地体的位置并放线,开挖槽沟,沟应上宽800MM左右,下宽500MM左右,深度800MM,以方便下人施工;并应记录土层情况。
5、将接地体用大锤垂直夯入地下,在顶部距沟底200MM左右时,焊接接地扁钢,接地扁钢应弯成弧形或直角形与接地体牢固焊接,扁钢搭接应不小于宽度的2倍,三面施焊。
6、施工完毕应进行检查焊接准确、搭接符合要求,清除焊渣干净,然后刷沥青漆两遍。
电气工程施工流程一、施工总体顺序:电气工程施工总体顺序框图二、、动力照明系统本系统主要包括管敷设、电缆桥架安装、配电箱(柜)安装、线缆敷设、低压电器设备(灯具、开关及插座)安装,防雷接地焊接及调试等内容。
(动力照明系统施工流程图见下图)(1)钢管敷设工艺1)材料检查①所用钢管必须具备产品出厂合格证,并具有出厂日期和生产厂家。
②钢管壁厚要均匀,焊缝一致,无劈裂、砂眼、棱刺和凹扁现象。
③管箍丝扣清晰不乱扣,两端光滑无毛刺。
2)预制加工3)箱、盒固定。
4)管路敷设、连接5)关键部位的处理(2)桥架安装工艺流程弹线定位→预留孔洞→金属膨胀螺栓安装→支架与吊架固线槽安装→保护地线安装。
1)做法要求2)弹线定位:根据进出户线、盒、箱、等电器具的位置,从始端至终端找好水平或垂直线,在线路的中心线进行弹线,分匀档距并用笔标出具体位置。
3)预留孔洞:结构施工时,用木制框架固定在线槽穿墙、板处、找正,等模板拆除后,拆下框架,收好洞口。
4)金属膨胀螺栓安装首先沿墙或项板根据设计图纸弹线定位,标出固定位置,选择合适的膨胀螺栓以及与其配套的钻头,在固定点位置用冲击钻钻孔,埋好螺栓。
金属膨胀螺栓埋好后,直接将吊架或支架固定在膨胀螺栓上。
5)线槽安装:线槽安装应先做好干线,再做分线;线槽连接可采用内连接头,配上平垫、弹圈用螺母固定,螺母必须在线壁外侧;线槽交叉、丁字、十字应采用二通、三通、四通、连接;转弯部位应采用立上弯头和立下弯头,安装角度适宜;线槽末端要装上封,在盒、箱、柜进出线处采用抱脚连接。
6)保护地线安装:保护地线应敷设在线槽外侧,连接处螺栓直径不小于6mm,并加平垫和弹垫,用螺母压接牢固;金属线槽的宽度在100以内时,两段线槽连接板连接处(即用连接板做地线时),每端螺丝固定点不少于4个,宽度在200mm 以上(含200mm)两端线槽用连接板连接保护地线,每端螺丝固定点不小于6个。
3、配电箱安装工艺流程弹线定位→配电箱壳安装→明装配电箱安装→明、暗配电箱芯安装导线压接→绝缘遥测→通电检查→试验运行。
电气控制柜生产工艺流程(1) 电气控制柜外型尺寸、面板开孔、柜体面板标识丝印检查,在电气控制柜开始装配前按照《屏柜结构、开孔图》进行外型尺寸、面板开孔、柜体面板标识丝印,及电气元件物料清单,确认无误后方可进行装配工作。
(2) 准备齐电气控制柜装配所需的所有电气元件及安装辅材(3) 电气装配人员要先准备齐电气控制柜上需使用的电气安装底板、电气面板、电气元件PLC、低压电器等)及所需要的安装辅材(行线槽、导轨、导线、接地铜排、安装螺栓等元器件安装在电气安装底板上(4) 根据电气原理图中的底板布置图量好线槽与导轨的长度,用相应工具截断。
(注:线槽、导轨断缝应平直。
)两根线槽如果搭在一起,其中一根线槽的一端应切45度斜角。
用手电钻在线槽、导轨的两端打固定孔将线槽、导轨按照电气底板布置图放置在电气底板上,用黑色记号笔将定位孔的位置画在电气底板上。
先在电气底板上用样冲敲样冲眼,然后用手电钻在样冲眼上打孔(用低压电器元器件(微型空开、继电器、接触器、信号线端子、动力电源端子等)应按照电气原理图中的底板布置图安装在导轨上的。
)(5)电气元件的安装方式符合该元件的产品说明书的安装规定,以保证电气元件的正常工作条件,在屏内的布局应遵从整体的美观,并考虑控制元件之间的电磁干扰和发热性干扰,元件的布置应讲究横平竖直原则,整齐排列。
所有元件的安装方式应便于操作、检修、更换;工控机等重要操作的元件及液晶显示器、指示灯等有角度视觉要求的元件安装应尽量保持在离地高度视线范围内,以便于观察操作。
所有元件的安装应紧固,保证不致因运输震动使元件受损,对某些有防震要求的元件应采取相应的防震方式处理。
元件安装位置附近均需贴有照接线图对应的表示该件种类代号的标签,标签采用电脑印字机打印。
屏底侧安装接地铜排,并粘贴明显的接地标识牌。
三相电路主回路安照电气原理图中设计要求大小的铜芯电缆(或铜排)进行连接。
A、B、C三相应分别使用黄、绿、红电缆(若使用铜排应在对应铜排上套黄、绿、红套管)并在每相接线端子处粘贴A、B、C标贴。
苏州翰川机电有限公司电气制图规范一、电气制图介绍----------------------------------------------------3二、电气制图相关规定、要求---------------------------------------5三、电气制图示例----------------------------------------------------四、电气制图符号----------------------------------------------------五、附录----------------------------------------------------------------前言电气科学技术的迅速发展,新产品、新工艺、设备的复杂设计及其工作量的急剧增加促使苏州瀚川机电机电有限公司在非标设备电气技术文件编制上制定标准规划,促使其健康发展。
本标准对简图内容、表达方式等方面的要求主要引用现行有效的有关电气制图和其他相关的国家标准,反映CAD特点的制图规则根据相关标准和CAD经验分析总结制定。
由于本标准暂只限于苏州瀚川机电机电有限公司内部参阅、使用,对于引用文件、文献、国家标准都没有表明出处、作者、版本等,所以参阅、使用本标准的人员必须自觉保密,不要随意传播此文件,如由此引起纠纷、法律方面等问题,制作者、后续修改者和苏州瀚川机电机电有限公司不承担任何责任。
一、电气制图介绍图样是工程语言,用来表达和交流思想技术的工具,今天我们所介绍的电气制图是探讨非标自动化设备电气原理图制图的基本知识,基本方法和基本技能。
电气简图是采用图形符号和带注释的框来表示包括连接线在内的一个电气系统或设备的多个部件或零件之间关系的图示形式。
无论是手工绘图还是CAD制图,最终形成的文件内容和作用是相同的,所不同的应当是制图的过程、手段及其简图的规范化程度。
电气制图可包括下述电气简图的绘制----功能性简图----接线图表----位置和安装图简图采用图形符号和带注释的框来表示包括连线在内的一个系统或设备的多个部件或零件之间关系的图示形式。