市政道路工程监理工作程序图
- 格式:doc
- 大小:69.00 KB
- 文档页数:10
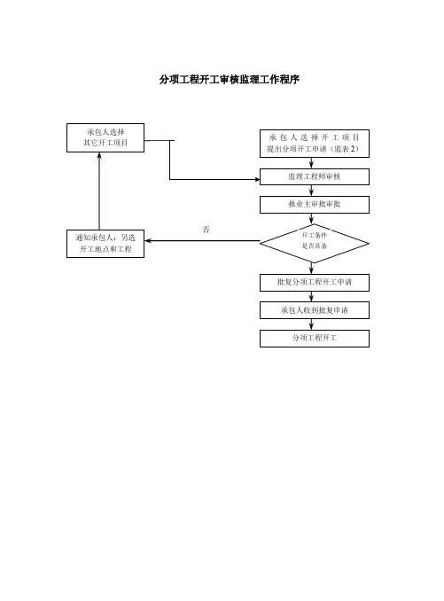
分项工程开工审核监理工作程序
工序(工艺)质量检查监理工作流程
原材料的试验程序
2.混合料设计配合比的复核试验程序
3、现场检测试验程序
4、单项工程检验程序
1)、路基工程监理工作流程
2)、导线水准点交接监理
3)、路线放样监理
4)、原地面清理及填前压实监理
5)、挖方路基监理
6)、路基填料监理
7)、填方用土质量监理
7(1)、填方路基准备监理
7(2)、填方压实监理
8)、路基整修监理
9)、石方爆破工程监理工作流程
10)、结构物回填监理程序:
回填用料质量监理程序
台背回填、锥坡砌筑监理程序
审批中间交工证书的监理程序框图
通道、箱涵监理程序框图
管涵、倒虹吸监理要求与程序与通道箱涵基本相同,
砂浆质量监理程序
圬工砌体质量监理程序
支挡构造物监理程序
排水及小型构造质量监理程序框图
路面底基层施工监理程序框图
混合料配合比监理工作流程
沥青面层质量监理
石料质量监理
水泥混凝土面层质量监理(人工摊铺)
混凝土原材料质量监理
钢筋工程监理程序框图
绿化工程监理工作流程
铺设表土监理(原始地面土绿化工程检查程序参照此程序)
撒播草种的监理
种植乔木、灌木、攀藤植物和草皮监理
[此文档可自行编辑修改,如有侵权请告知删除,感谢您的支持,我们会努力把内容做得更好]。
市政道路改造工程《监理实施细则》范本1. 引言该文档旨在规范市政道路改造工程监理实施的各项细则和要求。
通过明确监理工作的职责和流程,确保市政道路改造工程能够按照规划和设计要求顺利进行。
2. 监理工作范围监理工作覆盖市政道路改造工程的各个阶段,包括但不限于项目前期准备、施工过程、验收及竣工等。
3. 监理工作职责3.1 前期准备阶段- 审查并确认市政道路改造工程的设计方案;- 提供监理意见和建议,包括合理化建议等;- 参与编制监理计划。
3.2 施工过程阶段- 监督施工单位的施工进度和质量;- 检查施工现场,确保安全措施的有效实施;- 协调解决施工过程中的问题和纠纷;- 检查材料和设备的质量。
3.3 验收及竣工阶段- 参与验收工作,包括程序的规范和验收标准的制定;- 检查工程竣工情况,确保符合规划和设计要求;- 提供竣工报告和验收报告。
4. 监理流程监理流程包括以下几个主要环节:1. 前期准备:监理单位收到委托书后,与相关单位进行沟通和会议,明确各方责任和义务。
2. 施工过程:监理单位每天(或周期性)巡查工地,记录施工情况和问题,及时协调解决。
3. 验收及竣工:监理单位参与工程的验收过程,确保工程质量和规范。
4. 报告和总结:监理单位应编制监理报告和总结报告,记录监理过程和结果。
5. 备注本范本仅供参考,实际执行时需根据具体项目情况进行调整和补充。
以上是市政道路改造工程《监理实施细则》的范本内容,旨在为市政道路改造工程的监理工作提供指导和参考。
具体实施时,请结合实际情况进行调整和补充。
市政改造工程监理工作交底工程名称: 某市政改造工程交底单位:监理交底人:日期:交底主要内容一、项目监理工作主要依据二、监理工作目标三、项目监理部组织结构四、监理人员主要分工职责五、监理主要工作方式六、监理工作程序及监理用表七、监理工作主要内容八、监理主要工作制度与要求九、警示录监理交底单位:接受交底单位:接受交底方签章:日期:一、项目监理工作主要依据1、国家和地方现行法律法规和有关文件规定;2、强制性标准条文、现行工程施工及验收规范、验评标准等;3、建设工程监理规范GB50319-2000;4、工程开工有关前期文件、工程设计文件;5、施工招投标文件和建设工程施工合同;6、监理招投标文件和建设工程委托监理合同;7、项目监理规划和监理实施细则;8、与质量、投资和进度目标控制等有关的其它有效文件。
二、监理工作目标1、质量目标:以施工合同中明确的工程质量等级作为监理质量控制目标,并以监理批准的施工组织设计中的质量分解目标作为监理质量控制的分解目标。
2、进度目标:以施工合同中明确的工期要求作为监理进度控制目标。
若业主对工程施工还有阶段性的施工进度要求,其阶段性进度控制目标也将作为监理进度控制目标。
3、造价控制目标:以施工合同中明确的合同价作为监理投资控制目标。
三、项目监理部组织结构四、监理人员主要分工职责1、总监理工程师岗位职责:(1)确定项目监理机构人员的分工和岗位职责;(2)主持编写项目监理规划、审批项目监理实施细则,并负责管理项目监理机构的日常工作;(3)审查分包单位的资质,并提出审查意见;(4)检查和监督监理人员的工作,根据工程项目的进展情况可进行人员调配,对不称职的人员应调换其工作;(5)主持监理工作会议,签发项目监理机构的文件和指令;(6)审定承包单位提交的开工报告、施工组织设计、技术方案、进度计划;(7)审核签署承包单位的申请、支付证书和竣工结算;(8)审查和处理工程变更;(9)主持或参与工程质量事故的调查;(10)调解建设单位与承包单位的合同争议、处理索赔、审批工程延期;(11)组织编写并签发监理月报、监理工作阶段报告、专题报告和项目监理工作总结;(12)审核签认分部工程和单位工程的质量检验评定资料,审查承包单位的竣工申请,组织监理人员对待验收的工程项目进行质量检查,参与工程项目的竣工验收;(13)主持整理工程项目的监理资料;(14)负责完成公司交办的其它任务。
市政道路工程一、专业工程特点市政道路工程是城市建设的主要组成部分,是为城市居民生产和生活服务的,为城市的繁荣和发展提供了必要的条件。
市政道路工程通常开工急、工期短、质量控制难度大;且施工场地狭窄,常常影响工程实施地段的环境和交通,给人们生产和生活带来不便,也增加了工程建设进度控制、质量控制的难度。
另外,市政道路工程通常地下管线比较复杂,在工程建设实施过程中,常常遇到地下管线位置不清的情况,容易发生事故,因此监理单位应要求承包人在开工前多作调查研究,摸清施工地段地下管线情况,避免挖断管线,影响施工进度和造成经济损失,市政道路工程质量监理是指工程在施工阶段,从测量放样到路基、基层、面层的施工全过程进行的质量检查、监督、和管理。
二、监理工作流程1、市政道路工程质量监理工作流程,见图2-12、市政道路工程测量放样质量监理工作流程,见图2-23、土质路基质量监理工作流程,见图2-34、石质路基质量监理工作流程,见图2-45、砂(砾)石基层质量监理工作流程,见图2-56、碎石基层监理工作流程,见图2-67、石灰土(水泥稳定土)基层监理工作流程,见图2-78、水泥混凝土面层质量监理工作流程,见图2-89、沥青混凝土面层质量监理工作流程,(另见沥青砼实施细则)10、侧石、缘石、人行道质量监理工作流程,见图2-911、雨水井、支管质量监理工作流程,见图2-10图2-1市政道路工程质量监理工作流程图2-2市政道路工程测量放样质量监理工作流程图2-3土质路基质量监理工作流程图2-4 石质路基质量监理工作流程图2-5 砂(砾)石基层质量监理工作流程图2-6 碎石基层监理工作流程图2-7 石灰土(水泥稳定土)基层监理工作流程图2-8 水泥混凝土面层质量监理工作流程图2-9 侧石、缘石、人行道质量监理工作流程图2-10 雨水井、支管质量监理工作流程三、监理工作的控制要点及目标值1、道路工程测量放样1.1 监理人员在熟悉设计文件和图纸的基础上,会同承包人、设计单位或勘测部门在现场交接中线控制桩和水准点,并指示和检查承包人对所有控制桩和水准点进行有效的保护,直到工程竣工验收结束。
目录一、工程概况二、监理工作的范围、目标和依据1、监理工作的指导思想2、监理工作的范围3、监理工作的依据4、监理目标三、监理组织机构、人员配备、岗位职责1、依据本工程特点,配备监理结构框图2、监理人员岗位职责四、质量控制的工作任务与方法(一)、工程质量监理(二)、质量监理方法(三)、质量缺陷处理(四)、工序监理技术措施1、二灰碎石路面基层监理工作措施2、沥青砼面层监理工作措施3、排水管道工程监理工作措施4、桥梁工程监理工作措施五、进度控制的工作任务与方法1、进度控制的工作任务2、进度控制的方法3、进度计划的检查4、进度计划的调整5、加快工程进度6、进度计划的延期六、造价控制的工作任务与方法1、造价控制的工作任务2、造价控制的方法七、现场安全控制监理的工作任务与方法1、安全文明施工监理的工作任务2、安全文明施工监理方法八、合同管理的工作任务与方法1、合同管理的工作任务2、合同管理方法3、费用索赔4、争端与仲裁5、承包商违约6、分包与指定分包九、工程信息资料管理的任务和方法1、信息资料管理的任务2、信息资料管理的方法十、监理工作制度十一、监理设施十二、狠抓廉政建设,杜绝不正之风××××××××工程监理规划一、工程概况1、道路工程:道路东接××××××,西与××××××路相接。
道路全长××××m,道路全宽为×××m,×××m绿化带+×××人行道+×××行车道。
车行道结构层为:×××cm细粒式沥青砼+沥青粘层+×××cm粗粒式沥青砼+×××cm下封层+×××cm二灰碎石。
市政道路质量控制监理工作流程一、开工前1、审查工程分包(1)按照合同规定审查《工程分包计划》;(2)按照合同规定审查《分包协议》;(3)上述两项内容审查符合要求,报建设单位批准;(4)发现非法分包、转包,应指令施工单位纠正并报告建设单位。
2、审批施工测量放线⑴检查施工单位测量仪器是否按照规定进行了校准;⑵审查施工单位提交的施工测量数据、图表及放线成果并予以批复;⑶复测施工单位从基准点引出的控制桩,重点桩位100%复测,其他桩位不低于30%抽测。
3、审批原材料与混合料⑴审查施工单位申报的原材料、混合料试验资料,对原材料独立取样进行平行试验;⑵对混合料应在施工单位基础上进行试验验证,必要时做标准试验;⑶在合同规定的期限内进行批复。
4、审批施工组织与人员配备⑴审查分项工程的施工组织,包括项目负责人、技术负责人及施工管理人员、自检人员是否符合合同要求并满足施工需要;⑵审查施工操作人员的配备是否符合合同要求并满足施工需要。
5、审批施工机械设备⑴审查施工单位进场的施工机械是否满足合同要求,重点审查机械设备是否满足施工质量、安全、环保、进度等要求;⑵施工单位如果使用合同约定以外的施工机械设备,应要求施工单位另行提出使用申请,解释原因、对拟使用设备进行充分说明。
6、审查施工方案及主要工艺⑴审查施工单位提交的分项、分部工程的施工方案及主要工艺;⑵对技术复杂或采用新技术、新工艺、新材料、新设备的工程,应根据试验工程结果进行审批。
二、审批分项工程的开工申请三、开工后1、验收构、配件或设备⑴外购或定做用于永久工程的构、配件或设备,应要求施工单位提交产品合格证和自检报告;⑵可采用常规仪器设备检测的,监理工程师应按不低于施工单位自检频率的20%进行抽检,合格后准予使用。
2、巡视、检查工序施工⑴正在施工的分项、分部工程是否已经批准;⑵质量检测、安全管理人员是否到岗;⑶特种作业人员是否持证上岗;⑷现场使用的原材料或混合料、外购设备、施工机械设备、施工方法与工艺是否与批准的一致;⑸质量、安全、环保设施是否到位;⑹试验仪器、设备是否按规定进行了校准;⑺是否按规定进行了施工自检和工序交接;⑻监理人员每天对每道工序巡视不少于1次,并按照《公路工程施工监理规范》附录格式详细做好巡视记录; ⑼.发现的问题、处理意见、处理结果等应如实记录,当天未处理的,应在处理之日及时补记。
铸造精品回馈社会一、工程项目概况二、监理工作范围按照委托监理合同,本工程监理工作范围为施工阶段全部的建筑安装工程及保修期工程的全过程“三控制、三管理、一协调”的监理工作。
即:质量控制、进度控制、投资控制、安全管理、合同管理、信息管理、组织协调。
铸造精品回馈社会三、监理工作内容:监理工作的主要任务是实施质量、进度、投资控制,安全生产监督及合同信息管理,做好协调工作.具体内容为:1、协助业主做好施工准备工作;2、组织施工图纸会审和监理技术交底;3、审核施工单位提交的施工组织设计、施工技术方案和施工进度计划,以及保证措施并督促实施;4、审查承包人各项施工准备工作,下达开工令;5、审查工程使用的原材料、半成品、成品、构配件和设备的进场验收及保管措施;6、审核承包人提出的分包工程项目及选择分包单位;7、监督承包人在施工中严格按照国家有关标准、规范和设计图纸文件及管理程序进行施工,审核和检查施工过程中的关键环节、重要部位和隐蔽工程,控制工程质量;8、参与工程质量事故的分析及处理,商定质量事故处理措施和验收办法;9、检查承包人的工程进度计划和事前、事中、事后的控制措施;10、严格复核已完工程量,签发工程中期付款凭证,控制工程投资;11、监督各施工单位文明施工,检查安全防护措施;12、及时、准确记录施工过程中的有关信息,严格执行工程变更程序、费用索赔、工程延期及延误程序,加强合同管理,协调业主与承包人之间的争议;13、督促承包人整理合同文件及施工技术档案资料;14、组织工程各阶段的初验、参与工程竣工验收,对施工质量提出评价意见;15、整理工程建设的各种资料,分类归档,形成清晰、明了、全面、准确的监理资料,及时移交给业主;16、保修期内,如发现有工程质量问题,应协助检查工程状况,鉴定工程质量问题责任,督促保修。
铸造精品回馈社会四、监理工作目标1、质量目标:确保全部工程达到现行的建设工程质量验收标准;确保分项工程一次性验收合格率达100%;2、进度目标:按承包合同约定工期控制;3、投资目标:力争控制在建设单位与施工单位签订的工程承包合同中确定的工程总价款之内;4、安全控制目标:督促施工单位贯彻“安全第一,预防为主"的方针,建立健全安全生产责任制和安全生产组织保证体系,确保安全生产无事故.五、监理工作依据1、工程建设委托监理合同文件及工程建设合同文件;2、设计文件、地质勘察报告、图纸清单及说明;3、施工图中设计要求的标准、工程招投标文件及附件;4、国家及四川省颁布的有关工程建设的法律、法规、政策和规定;5、政府部门批准的工程建设项目的有关文件、可行性研究报告;6、建设部颁发的《建设工程监理规范》(GB50319—2000);7、《城镇道路工程施工质量验收规范》CJJ1—2008等有关规范和标准;8、其它有关的工程建设管理文件。
目录三、工程质量控制(一)工程质量控制目标(二)工程质量控制程序(三)工程质量控制方法(四)工程质量控制措施(五)主要分项工程质量针对性控制措施(六)旁站监理方案四、工程投资控制(一)工程投资控制目标(二)工程投资控制程序(三)工程投资控制方法(四)工程投资控制措施(五)施工准备阶段投资控制的工作重点及对策(六)施工阶段投资控制的工作重点与对策(七)工程计量与支付的管理控制工作重点与对策(八)工程结算管理控制和签证工程五、工程进度控制(一)工程进度控制的目标(二)工程进度控制程序(三)工程进度控制方法(四)工程进度控制措施(五)工程进度控制的针对性措施六、工程安全控制(一)安全监督管理目标(二)安全管理监理工作程序(三)安全监督方法(四)安全施工监控措施(五)安全监督针对性措施(六)文明施工,环境保护监理措施三、工程质量控制(一)工程质量控制目标1、总体质量控制目标质量控制目标:合格以上工程.施工阶段质量控制包括施工过程的质量控制和最终产品的质量控制,其中心任务是通过建立健全有效的质量保证体系,确保工程质量达到合同规定的标准和等级要求。
我司在项目驻地监理机构一直推行“坚持质量第一、坚持质量标准、坚持以人为核心、坚持以预防为主、坚持科学、公正、守法的职业道德规范"这一准则,以事前预控为重点,以施工过程工序的巡视检查和旁站监督为基础,对施工全过程实施全面的动态监控,确保质量目标的实现。
在本工程监理工作中我司确保所有监理人员将以严格的监理、热情的事前服务,按施工承包合同文件和技术规范、验收标准等进行监理;建立全面的质量控制体系,强化承包入自检体系的管理,严格做好中间的质量检验以及现场质量验收,搞好工序监测;以形成承包商自检,监理工程师复检的二级质量保证系统;工作中强调事前控制,严格开工申请的审批,尽量杜绝施工质量事故的发生,确保工程质量合格.2、本工程关键质量控制点(1)土方开挖:控制高程,不得超挖.(2)土方回填:土质的验收、分层压实的厚度、压实度、清淤的情况.(3)测量放线:工程平面控制网复核,控制轴线、标高及竖向传递复核。
*********道路及管网工程监理实施细则****监理咨询有限公司**年**月********道路及管网工程监理实施细则审批:审核:编制:**监理咨询有限公司**年**月目录第一章工程概况 .......................................................................................... 第二章编制依据 . (3)第三章专业工程特点 (4)第四章监理工作流程 (6)第一节施工准备阶段监理工作流程 (6)第二节施工阶段监理工作流程 (7)第三节质量控制监理工作流程 (8)第四节投资控制监理工作流程 (15)第五节进度控制监理工作流程 (19)第六节合同管理监理工作流程 (20)第七节施工安全监理工作流程 (21)第八节竣工验收监理工作流程 (22)第九节保修期监理工作流程 (23)第五章监理工作要点 (24)第一节路基工程监理工作要点 (24)第二节路面工程监理工作要点 (28)第三节人行道工程监理工作要点 (41)第四节排水工程监理工作要点 (46)第五节照明工程监理工作要点 (48)第六节交通工程监理工作要点 (61)第六章监理工作方法及措施 (63)第一节质量控制的方法及措施 (63)第二节进度控制的方法及措施 (70)第三节投资控制的方法及措施 (73)第四节合同管理的方法及措施 (78)第五节文明施工与安全的方法及措施 (81)第一章工程概况1. 工程概况1.1 道路及管网工程是规划中小江片区与长江片区、盘龙片区的主要通道,也是长江片区、盘龙片区的重要交通线路,是生态转移人口安置区基础设施建设工程的引线工程,是连接迎宾大道的重要通道。
担负着小江片区与长江片区、盘龙片区的联通以及长江片区、盘龙片区的交通运输任务。
目前长江片区至小江片区,长江片区、盘龙片区的交通运输多从县城绕行通过,绕行线路较长,制约着城市的发展。
目录一、工程概况二、监理工作的范围、目标和依据1、监理工作的指导思想2、监理工作的范围3、监理工作的依据4、监理目标三、监理组织机构、人员配备、岗位职责1、依据本工程特点,配备监理结构框图2、监理人员岗位职责四、质量控制的工作任务与方法(一)、工程质量监理(二)、质量监理方法(三)、质量缺陷处理(四)、工序监理技术措施1、二灰碎石路面基层监理工作措施2、沥青砼面层监理工作措施3、排水管道工程监理工作措施4、桥梁工程监理工作措施五、进度控制的工作任务与方法1、进度控制的工作任务2、进度控制的方法3、进度计划的检查4、进度计划的调整5、加快工程进度6、进度计划的延期六、造价控制的工作任务与方法1、造价控制的工作任务2、造价控制的方法七、现场安全控制监理的工作任务与方法1、安全文明施工监理的工作任务2、安全文明施工监理方法八、合同管理的工作任务与方法1、合同管理的工作任务2、合同管理方法3、费用索赔4、争端与仲裁5、承包商违约6、分包与指定分包九、工程信息资料管理的任务和方法1、信息资料管理的任务2、信息资料管理的方法十、监理工作制度十一、监理设施十二、狠抓廉政建设,杜绝不正之风××××××××工程监理规划一、工程概况1、道路工程:道路东接××××××,西与××××××路相接。
道路全长××××m,道路全宽为×××m,×××m绿化带+×××人行道+×××行车道。
车行道结构层为:×××cm细粒式沥青砼+沥青粘层+×××cm粗粒式沥青砼+×××cm下封层+×××cm二灰碎石.2、雨水管道:雨水管道DN400UPVC加筋管、DN600、DN800、DN1000钢筋砼管。
城市道路改建工程监理大纲目录一、工程概况二、监理工作内容、工程监理的依据(二)、监理工作的目标和范围(三)、施工阶段的监理工作内容三、工程监理组织和监理组织图示(一)、工程监理组织(二)、监理组织图示(三)、组织机构及人员组成情况(四)、监理人员职责及工作制度(五)、监理工作权限四、监理方案(一)、投资控制措施(二)、进度控制措施(三)、质量控制措施(四)、工程合同管理(五)、信息管理与文档管理(六)、现场组织协调工作(七)、现场安全文明施工管理控制方案(八)、保修阶段监理实施方案(九)、监理工作程序五、本工程监理的技术难点、要点一、工程概况监理有限责任公司二00四年五月一、工程概况1、建设工程名称:2、建设工程地点:3、建设工程组成及建设规模:4、主要建筑结构类型:5、工程总投资:6、资金来源:城市建设资金。
二、监理工作内容二00四年五月二、监理工作内容(一)、工程监理的依据我公司将本着“严格监理、热情服务、秉公办事、一丝不苟”的工作原则,认真贯彻执行有关施工监理的各项方针、政策、法律、法规,制定详细的工作计划,明确岗位职责,对本工程实施监理,开展施工阶段各项监理业务的主要依据是:1、工程建设监理合同及监理授权委托书。
2、国家和本市有关工程建设监理的法律、法规和政策。
3、国家、地方、行业有关现行技术标准、规范及相关管理规定。
4、业主提供的有关图纸资料、工程承包合同以及与其相关的各类合同文件等。
5、施工单位提供并经批准的施工组织设计、施工技术方案等文件。
(二)、监理工作的目标和范围:1、监理目标:本监理公司将根据设计概算,国家工期定额和业主的目标要求,拟定切实可行的投资控制目标、质量控制目标、工程进度控制目标,并针对该工程项目的特殊性进行目标控制,力争实现“三大目标”。
通过风险管理,进行项目目标规划和项目目标的动态控制,使工程项目的质量、进度和投资始终处于受控制状态,力求达到业主委托的要求。
投资目标:中标施工合同价工期目标:。
监理大纲目录第一章工程基本情况及监理工作目标、范围1. 工程概况2. 资金状况3. 监理目标4. 监理范围第二章组织管理方案1. 现场人员组织机构图2. 监理部人员资质情况表3. 监理人员职责4. 监理人员职业道德和工作工作纪律第三章工期控制1. 工程工期控制目标2. 进度控制的监理工作内容、原则和程序3. 进度控制的监理工作措施第四章质量控制1. 工程质量控制目标2. 原材料质量控制措施3. 事前质量控制措施4. 事中质量控制措施(含隐蔽工程、技术措施、测试手段等)5. 事后质量控制措施第五章造价控制1. 工程造价控制目标2. 施工阶段投资控制的监理工作方法和措施3. 工程变更的管理方法4. 费用索赔的处理方法第六章组织协调管理1. 协调管理的内容和任务2. 协调管理的分类3. 协调管理工作的方法4. 与项目参建各方的关系第七章安全与文明施工控制1. 安全控制措施2. 文明施工措施第八章合同与信息管理控制1. 合同管理措施2. 信息管理措施第九章现场旁站监理措施1. 工程监理旁站部位的设置2. 设置本工程的基本旁站部位/过程3. 旁站监理措施4. 旁站监理人员的主要职责第十章监理工作基本程序1. 工程进度控制的基本控制2. 工程质量控制的基本程序3. 工程投资控制的基本程序4. 合同管理的基本程序5. 信息管理的程序第十一章拟用于本工程施工监理的主要检测设备表第十二章廉政记录第一章工程基本情况及监理工作目标、范围1. 工程概况xx市xx新区CBD外环道路工程全长5km,分为两个监理标段,每个标段包括相连放射路,具体划分如下:2. 资金状况已落实。
3. 监理目标我公司将采用科学的管理方法和技术经济手段,对项目进行动态管理,使该工程建设的各项目标(质量目标、进度目标造价目标、管理协调工作)得到有效控制和实现。
具体控制目标如下:(1)质量目标通过监理工程师在施工过程中的事前、事中、事后的严格控制,使本工程质量达到优良验收标准。
目录第一部分投标综合说明------------------------------------------------------1 第一章工程剖析--------------------------------------------------------2 第二章监理服务内容综合说明--------------------------------------3 第二部分监理方案-----------------------------------------------------------19 第一章监理工作范围和监理工作依据---------------------------20 第二章监理组织架构与工作职责---------------------------------21 第三章监理工作指导思想和监理目标---------------------------26 第四章监理工作制度------------------------------------------------29 第五章施工阶段监理目标控制与管理---------------------------43 第一节投资控制-------------------------------------------------43第二节进度控制-------------------------------------------------54第三节质量控制-------------------------------------------------63第四节合同管理------------------------------------------------150第五节组织协调------------------------------------------------157第六节信息管理------------------------------------------------168第七节本工程的旁站监理措施------------------------------193第八节安全、文明施工监理措施---------------------------224 第三部分本工程针对性监控难点及响应的监控措施---------------235 第四部分监理方的合理化建议------------------------------------------285 第五部分拟投入本工程的检测设备清单------------------------------294第一部分投标综合说明第一章工程剖析一.工程概况工程名称;顺德区大良云近东区东乐中路、东乐东路市政工程监理建设单位:佛山市顺德区城区建设开发中心建设地点:顺德区大良云近东区建设规模:本项目投资总额约为4800万元,其中东乐东路市政工程投资约为2500万元,东乐中路约为2300万元,道路设计总长约为1400米,其中东乐东路为600米,东乐中路为800米,给水管最大管径DN600,排水管最大管径Φ1350。
市政道路监理规划建设单位为XXX,设计单位为XXX,施工单位为XXX、XXX和XXX。
本工程位于大兴安岭新林区,包括2条市政道路和道路交通工程、排水工程、照明绿化及小区维修巷道改造工程。
监理工作范围包括施工阶段的全部工程项目监理,包括路基、路面、人行道及附属工程等。
监理工作内容包括:熟悉合同文件和设计文件,了解施工现场情况,编制监理规划和监理细则,参与交桩和设计技术交底会议及施工图纸会审会,审查承包人提交的路线复测成果资料。
主持召开第一次工地会议和常规工地例会,督促承包人建立健全质量保证体系,并经常检查其运行情况。
发布开(复)工令,批准单项工程开工报告。
经得“委托人”同意后,发布“停工令”。
审批承包人报送的施工组织设计和施工方案,审批承包人提交的总体进度计划,并经常检查和督促承包人实施工程进度计划。
当计划进度与实际进度出现较大偏差时,应通知承包人及时修订工程施工进度计划。
审查承包人进场的用于本工程的原材料、成品、半成品的规格和质量是否达到设计要求。
审查承包人进场用于本工程的施工机械设备的规格、性能和数量是否满足施工需要。
监督承包人按照合同文件、技术规范和监理程序进行施工。
通过旁站、巡视、平行检验和隐蔽工程验收等手段,严格控制工程质量,未经签认,不得进入下道工序施工。
组织工程中间验收,并签发中间验收证书。
主持工程质量事故调查,参与质量事故处理。
对已完成的合格工程进行准确计量。
复核工程结算单,签发中期支付凭证。
处理工程设计变更事宜。
根据合同规定处理违约事件,协调合同争端,需要时在仲裁过程中作证。
编制监理工作月报和监理方面竣工文件。
18.监督承包人提交交工申请,并对拟交工工程进行检查和验收。
若合格,颁发交工证书。
19.审查竣工图和竣工结算文件,确保符合相关法规和合同要求。
2.协助委托人进行竣工验收和工程移交工作。
四、监理工作目标:1.投资目标:对于投标工程项目,按中标合同价控制投资;对于非投标项目,尽最大努力控制在批准的概算总价内。
市政道路工程监理工作主要程序图1、公路与城市道路工程施工工艺流程
2、质量监理工作流程
3、测量放线流程
4、测量放样监理工程流程
5、隐蔽工程验收流程
可
6、原材料质量监理工作流程
7、材料使用批准程序流程退还或换料源
8、施工阶段进度控制监理工作流程图
9、竣工验收流程图
10、工程付款流程
建设单位组织竣工验收,承包、监理、设计及其他有关单位
质量监督站验收、评定
进入保修阶段
监理
单位提出
评估报告报
承包单位提出付款申请
总监理工程师审查工程进度、质量,签署付款凭证建设单位审核后付
申
报
否。