无追索权保理业务操作流程图
- 格式:doc
- 大小:28.00 KB
- 文档页数:3
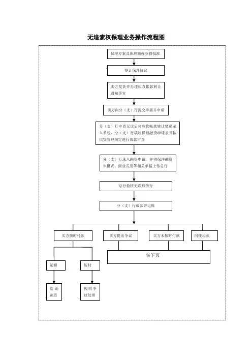
无追索权保理业务操作流程图
签订保理协议
卖方发货并办理应收帐款转让
通知事宜
卖方向分(支)行提交单据并申请
分(支)行审查无误后将应收帐款转让情况录
入系统,分(支)行填制保理融资申请表并按
信贷管理规定进行放款审查
保理方案及保理额度获得批准
分(支)行录入融资申请,并将保理融资
审批表、商业发票等相关单据上传总行
总行检核无误后放行
足额买方按时付款
短付
偿还融资视同争
议处理
分(支)行放款并记帐
买方未按时付款
买方提出争议间接还款
转下页
接上页
买方争议
1暂停向卖方提供其对该争议买方应收帐款项下融资
2. 追索争议应收帐款项下保理融资
3.如争议应收帐款为受核准应
买方未付款间接还款
1.暂停融资
2.落实保理业务操作
方案要求
1.立即催收
2.应收帐款即为逾期应收帐款,
不得转为受核准应收帐款
3.逾期超过15天,暂停融资,
并采取其他风险防范措施
逾期超过30天
向卖方追索其在该
应收帐款项下融资
后将逾期应收帐款
反转让给卖方
争议未在争议解
决期限内解决争议在争议解卖方权益未卖方权益得
1. 将争议应收帐款反转让给卖方
2. 如争议应收帐款为受核准应收帐款,我买方在规定期限内
仍未支付受核准应
收帐款付款
1.担保付款
2.风险预警,
报备总行公
司银行部
应收帐款转让未
通知的,不得进行
担保付款
受核准应
未受核准
应收帐款。
中国××银行无追索权出口保理(信用保险项下)业务操作细则为规范和加强无追索权出口保理(信用保险项下)业务(以下简称“出口信保保理”)的管理,进一步明确出口信保保理业务操作流程,在有效控制风险的前提下促进该业务健康有序发展,根据国家有关法律法规和我行相关规章制度,特制定本业务操作细则。
第一章总则第一节业务定义和种类第一条业务定义出口信保保理业务是指,针对出口企业已向中国出口信用保险公司(以下简称“中信保”)投保了出口信用保险险种(包括综合保险、统保保险或特定买方保险等出口信用保险)的出口贸易,在出口企业将贸易合同项下的应收账款债权以及保险单项下的赔款权益转让予我行的基础上,我行在中信保承保赔付范围内向出口企业提供的集贸易融资、销售分户账管理、账款收取以及坏账担保功能于一体的综合性金融服务。
第二条业务适用范围1、本细则仅适用于短期(不超过360天)出口信用保险项下的无追索权保理业务。
2、在基础交易符合我行国际保理业务和出口信保融资业务相关规定的前提下,已向中信保投保短期出口贸易信用保险的出口企业均可向我行申请办理出口信保保理业务。
第三条业务种类我行出口信保保理业务属于标准贸易融资产品,该业务项下分为合格出口信保保理业务和不合格出口信保保理业务,其中:1、合格出口信保保理业务合格出口信保保理业务是指同时满足和符合下列要求和条件的出口保理业务:(1)进出口双方合作时间须在2年(含)以上;(2)中信保在其签发的有效保单中承担“非信用证支付方式下”的全部商业风险(包括买方破产或无力偿付债务、买方拖欠货款、买方拒绝接收货物)和政治风险(买方在中国大陆境内的视为无政治风险)引起的直接损失的保险责任;(3)《无追索权出口信保保理操作打分卡》得分70分(含)以上;(4)中信保对出口企业向其申报的出口业务已出具《承保通知书》。
2、不合格出口信保保理业务不符合上述合格出口信保保理业务条件的,均为不合格出口信保保理业务。
有追索权的明保理业务流程:一、收集资料(一)、卖方资料卖方生产经营稳定、买卖双方合作良好(二)、买方资料公开获得、买方保理业务(三)、应收账款资料5、历史交易、本次合同交易成立、交易无瑕疵二、融资流程1、保理预付款融资买卖双方应收账款成立,买方付款前2、融资调查核对贸易记录:合同与发票匹配、发票与应收账款台账匹配调查银行结算记录:台账与对账单匹配、票据回款复印件、对账单记录与报表销售收入相符调查生产、贸易情况:生产正常?仓储正常?有许可?企业经营的流程、工序、利润率分析,退货、赔偿概率(履约情况)交易对手(上、下游)分析、交易对手评价、结算方式、回款习惯、是否关联竞争对手调研竞争对手评价、行业协会评价2、审查审批卖方生产经营稳定买卖双方合作良好买方实力较强买方验货通过买卖双方应收账款成立、债权无瑕疵3、应收账款转让应收账款转让给我行,人民银行应收账款质押登记公示系统中,对转让信息予以规范登记。
登记过程中,“交易类型”应选择“应收账款转让”。
4、合同签署与卖方签订《有追索权国内保理业务合同》与卖方签订《国内保理业务应收账款转让登记合同》与卖方、买方签订《应收账款债权转让三方确认书》或与卖方签订《应收账款债权转让通知书》如我行规定买方付款至卖方在我行开立的监管账户,须与卖方签订《国内保理业务委托收款及账户质押合同》5、融资发放结算账户,客户账户,放款、收取手续费、其他费用保理专户,我行内部账户,收取保理本息、收取各项费用保证金账户三、融资后管理融资后检查融资收回及应收账款催收应收账款反转让应收账款争议处理。
有追索权的明保理业务流程:一、收集资料(一)、卖方资料卖方生产经营稳定、买卖双方合作良好(二)、买方资料公开获得、买方保理业务(三)、应收账款资料5、历史交易、本次合同交易成立、交易无瑕疵二、融资流程1、保理预付款融资➢买卖双方应收账款成立,买方付款前2、融资调查➢核对贸易记录:合同与发票匹配、发票与应收账款台账匹配➢调查银行结算记录:台账与对账单匹配、票据回款复印件、对账单记录与报表销售收入相符➢调查生产、贸易情况:生产正常?仓储正常?有许可?企业经营的流程、工序、利润率分析,退货、赔偿概率(履约情况)➢交易对手(上、下游)分析、交易对手评价、结算方式、回款习惯、是否关联➢竞争对手调研竞争对手评价、行业协会评价2、审查审批➢卖方生产经营稳定➢买卖双方合作良好➢买方实力较强➢买方验货通过➢买卖双方应收账款成立、债权无瑕疵3、应收账款转让➢应收账款转让给我行,人民银行应收账款质押登记公示系统中,对转让信息予以规范登记。
登记过程中,“交易类型”应选择“应收账款转让”。
4、合同签署➢与卖方签订《有追索权国内保理业务合同》➢与卖方签订《国内保理业务应收账款转让登记合同》➢与卖方、买方签订《应收账款债权转让三方确认书》或与卖方签订《应收账款债权转让通知书》➢如我行规定买方付款至卖方在我行开立的监管账户,须与卖方签订《国内保理业务委托收款及账户质押合同》5、融资发放➢结算账户,客户账户,放款、收取手续费、其他费用➢保理专户,我行内部账户,收取保理本息、收取各项费用➢保证金账户三、融资后管理➢融资后检查➢融资收回及应收账款催收➢应收账款反转让➢应收账款争议处理。
保理业务是一种综合性的金融服务产品。
正确全面系统的认识和把握保理业务的技术要点,是维护保理业务健康发展的基础。
本文拟以综合保理为例,揭示保理业务的技术要点及业务的过程管理模式。
无追索权保理,是保理业务中最完整的一种保理形态,包含全部四项基本保理业务服务功能,即资金融通、销售分户帐管理、应收帐款催收和坏帐担保等.对无追索权保理业务操作流程的考察,有助于我们对保理业务基本原理和技术要领的理解,也是我们掌握其它形态保理品种的一条捷径。
无追索权保理业务的技术操作要点与原理保理业务的准备与开始——卖方客户考察保理业务一般是以卖方为核心服务对象的业务,因此,选择适合保理业务的卖方是至关重要的。
对卖方的考察主要从两个方面入手:(一)是从企业本身入手进行考察,包括对企业财务报表的考察分析;对企业销售分户帐的分析;与企业管理层的面谈等。
(二)是从企业外部进行考察,包括从卖方主要往来银行获得相关信息及其对卖方的评价;从专业机构了解卖方所属行业的基本情况;以及通过对卖方客户(买方)的考察印证买卖双方所建立的业务关系等。
对卖方考察的目的是要对卖方是否适合保理业务做出结论,同时,也要对卖方在未来的保理业务中可能出现的风险做出评价。
针对卖方的风险评价体系:一、应收账款是否适用于保理·可转让性:应收账款在债权上是完整的,没有任何法律上的限制,比如贸易合同规定禁止转让,代理销售,已将资产抵押给银行或第三方都构成了法律意义上的债权不完整。
·可收回性:保理商给予卖方融资,一旦卖方出现财务危机甚至是破产,是否能够根据应收账款收回融资?这依赖于:(1)权利的完整性:最适合保理的是那些简单的,没有特定附加条件的产品,也就是说只要产品为所订购的品种,数量正确,质量合规,按时装运,正确出票,则买方就必须付款,在合同中不存在寄售、安装证明、分期付款、权利保留等条件.(2)买方的分散程度:权利的完整并不意味着保理商可以收回款项,最可能的原因就是出现坏账和争议。
国内保理业务合同无追索权1. 合同背景本文将对国内保理业务合同的基本内容进行说明,并介绍其中一种常见的合同条款:无追索权。
2. 合同基本内容国内保理业务合同是保理商与供应商之间签订的协议,其中包含了双方的权益和义务,以及相关保理业务的具体规定。
2.1 签约方保理业务合同明确了参与合同的签约方身份和责任,一般包括:•供应商:指出售应收账款给保理商的企业或个人,也是保理业务的转让方。
•保理商:指提供保理服务的金融机构或其他法人实体,也是保理业务的收购方。
•买方:指购买供应商产品或服务的企业或个人,也是应收账款的付款人。
•应收账款转让条件和方式:明确供应商将应收账款转让给保理商的方式、时间和条件,以及转让后的权益和义务。
•融资额度和费用:规定保理商向供应商提供的融资额度,以及相应的融资费用和费率。
•付款条件和方式:约定买方向保理商支付应收账款的方式、时间和条件。
•资金结算方式:规定资金结算的方式和周期,包括融资款项的划付和还款方式。
•违约责任和纠纷解决:明确双方的违约责任和违约后的后果,以及纠纷解决的方式和途径。
3. 无追索权条款无追索权是国内保理业务合同中的一种常见条款,指保理商在购买供应商的应收账款后,无权向供应商追索买方未支付的账款。
3.1 条款说明该条款明确保理商在购买供应商的应收账款后,无权向供应商追索因买方未履行支付义务而导致的账款亏损。
•分散风险:由于保理商无权追索供应商,供应商不必承担买方违约的风险,大大减轻了供应商的经济压力和风险。
•简化操作流程:无追索权条款消除了供应商在保理业务中的后顾之忧,使其能够更加专注于生产和销售,简化了业务操作流程。
•增加融资灵活性:无追索权条款增加了供应商通过保理业务获得融资的灵活性,提高了供应商的资金周转效率。
3.3 条款风险尽管无追索权条款对供应商有诸多好处,但也存在一些风险:•买方违约:如果买方违约导致应收账款无法收回,供应商将承担相应的经济损失。
有追索权的明保理业务流程:一、收集资料(一)、卖方资料卖方生产经营稳定、买卖双方合作良好(二)、买方资料公开获得、买方保理业务(三)、应收账款资料5、历史交易、本次合同交易成立、交易无瑕疵二、融资流程1、保理预付款融资➢买卖双方应收账款成立,买方付款前2、融资调查➢核对贸易记录:合同与发票匹配、发票与应收账款台账匹配➢调查银行结算记录:台账与对账单匹配、票据回款复印件、对账单记录与报表销售收入相符➢调查生产、贸易情况:生产正常?仓储正常?有许可?企业经营的流程、工序、利润率分析,退货、赔偿概率(履约情况)➢交易对手(上、下游)分析、交易对手评价、结算方式、回款习惯、是否关联➢竞争对手调研竞争对手评价、行业协会评价2、审查审批➢卖方生产经营稳定➢买卖双方合作良好➢买方实力较强➢买方验货通过➢买卖双方应收账款成立、债权无瑕疵3、应收账款转让➢应收账款转让给我行,人民银行应收账款质押登记公示系统中,对转让信息予以规范登记.登记过程中,“交易类型”应选择“应收账款转让”。
4、合同签署➢与卖方签订《有追索权国内保理业务合同》➢与卖方签订《国内保理业务应收账款转让登记合同》➢与卖方、买方签订《应收账款债权转让三方确认书》或与卖方签订《应收账款债权转让通知书》➢如我行规定买方付款至卖方在我行开立的监管账户,须与卖方签订《国内保理业务委托收款及账户质押合同》5、融资发放➢结算账户,客户账户,放款、收取手续费、其他费用➢保理专户,我行内部账户,收取保理本息、收取各项费用➢保证金账户三、融资后管理➢融资后检查➢融资收回及应收账款催收➢应收账款反转让➢应收账款争议处理。
国内保理业务合同无追索权1. 合同简介本合同由(甲方)(简称“保理商”)与(乙方)(简称“被保理方”)签订,旨在规定双方在国内保理业务中的权利和义务,特别是关于无追索权的约定。
2. 合同背景保理业务作为一种重要的融资工具,被广泛应用于国内贸易和商业活动中。
为了进一步规范保理业务的运作,保护双方的权益,本合同得以签订。
3. 定义和解释•国内保理业务:指保理商向被保理方提供的融资业务,包括应收账款的转让和融资,以及与此相关的服务。
•保理商:指提供国内保理业务的金融机构或专门从事保理业务的公司。
•被保理方:指向保理商转让应收账款并获得融资的企业或个人。
•无追索权:指保理商无权要求被保理方对应收账款的付款人承担偿付责任。
4. 无追索权的约定4.1 被保理方确认,在符合本合同约定的情况下,保理商在向其提供融资的同时放弃对应收账款的追索权。
4.2 被保理方在将应收账款转让给保理商后,无需承担应收账款的支付责任,对应收账款的付款人也无需对其承担偿付责任。
保理商与付款人之间的偿付义务由保理商自行承担。
4.3 无论付款人是否履行支付义务,保理商均无权追索被保理方。
5. 知识产权保护5.1 被保理方保证其转让的应收账款没有任何权利限制或纠纷,并且具备可转让和可供保理的合法权利。
5.2 被保理方承诺,如因其原因导致保理商面临知识产权纠纷或侵权争议,将承担全部责任并进行赔偿。
5.3 被保理方同意保理商有权对转让的应收账款进行合理的尽职调查,包括但不限于核对应收账款的真实性和有效性、确认应收账款是否存在争议等。
6. 违约责任6.1 若一方违反本合同的任何条款或约定,应向对方支付违约金,并承担由此引发的全部法律责任。
6.2 违约方应向守约方支付的违约金不得超过合同总金额的10%。
7. 法律管辖和争议解决7.1 本合同的签订、解释和执行均受中国法律的管辖。
7.2 双方如发生任何争议,应通过友好协商解决;若协商不成,应提交至合同签订地的人民法院诉讼解决。
保理业务流程梳理成熟版TPMK standardization office【 TPMK5AB- TPMK08- TPMK2C- TPMK18】1.1保理业务管理流程图与风险控制图1.2保理业务内部控制矩阵1.3保理业务流程一、业务目标1经营目标1.1保证保理业务规范,防范和控制坏账风险。
2财务目标2.1保证保理业务的真实、完整和准确,满足信息披露的需要。
3合规目标3.1符合国家有关保理的规定和当地监管机构的要求。
3.2保理业务的各项制度、协议符合合同法等国家法律、法规和集团内部规章制度。
二、业务风险1经营风险1.1对资信不良、经营状况不佳的企业进行保理业务,承担坏账风险,造成公司财产损失。
1.2部门越权审批,造成不当保理的风险。
1.3未经审核,变更合同示范文本中涉及权利、义务条款导致的风险。
2 财务风险2.1保理事项归集、汇总和核销不及时、不完整,导致分户帐混乱。
2.2保理坏账拨备未合理预计,导致坏账损失核算不实。
3 合规风险3.1保理违反国家规定和当地监管机构的要求,导致被处罚。
3.2保理各项制度、协议不符合合同法等国家法律、法规和集团内部规章制度的要求,造成损失。
三、业务流程步骤与控制点1提出保理申请申请人(卖方)向我司提出保理申请,需要由业务部和风控部门对其信用状况进行调查和审核。
1.1业务部门出具《卖方整体情况调查报告》,调查报告应包括卖方企业的《保理业务额度申请书》、基本信息,客户结构、企业财务情况分析;2 实施授信审查2.1业务部门将《卖方整体情况调查报告》和卖方的财务报表(包括资产负债表、损益表和现金流量表)及对买方客户的付款记录调查情况提交风控部门审批;2.2风控部门审批后,将提交信审委员会审批(信审委员会包括总经理、业务部总经理、风控部门总经理、信审员、计划财务部总经理,采取多数通过制,总经理对报审项目拥有一票否决权);2.3提交实业风控部及主管领导审核;2.4业务部门代表公司签署签署《保理业务主协议》。
无追索权应收保理会计处理说到“无追索权应收保理”,可能大家都会觉得有点晦涩难懂,甚至会皱眉头,“这是什么鬼东西?”别急,今天我们就来聊一聊,通俗一点,轻松一点,给大家理理这背后的门道。
简单来说,无追索权应收保理就是公司把自己的一些账款卖给一个第三方公司,这个第三方公司帮你收钱,前提是它不会追你要回钱——也就是说,如果客户最后没还款,它扛了!听起来是不是像是一个“白给”的好事?可是,大家别被表面迷惑,这事儿可有它的一套规矩。
首先啊,得跟大家捋捋保理背后的那个“保理公司”到底是干嘛的。
你想啊,作为一个企业,自己每天催款追账,常常是心力交瘁,既浪费时间又费精力,客户一拖再拖,甚至拖到你头发都掉了。
这时候,你就想啊,要是有个“帮手”,能帮我拿到钱、收账,还不让我管,简直太美好了!于是你把这些应收账款卖给保理公司,保理公司替你负责收钱。
问题是,若客户最后赖账不还,保理公司扛了这部分风险——但它为了减小这个风险,会收取一定的费用,也就是“手续费”啦。
而且最重要的一点就是,你公司拿到的那笔钱,不用再为客户是否能还款发愁,真是“放下包袱轻装上阵”了。
不过,咱说好听点,卖账款给保理公司是“轻松”,但账面上的操作就得小心了。
你想啊,一旦公司决定进行无追索权保理,就必须在账面上做出一定的处理。
为什么?因为这是一项将资产“转手”的行为,你的应收账款就不再是你公司的资产了。
换句话说,账户上一笔账款变成了你自己的资金流动——它的账面上就不再是你的应收账款了,而是保理公司的一块“负担”了。
这种账面操作得分得清楚,谁是谁的责任,财务上可不能糊弄。
聊聊怎么处理这笔账务。
第一步,企业将这些应收账款转给保理公司之后,得确认这笔交易的资金流动,明确说好,你公司不再承担追款的责任。
然后呢,保理公司会根据你账面上的款项支付一笔资金给你,这笔钱就要记录在“现金”或“银行存款”里,简单来说就是你拿到钱了,对吧?接下来呢,账款的余额部分,由保理公司承担。
中国某某银行无追索权出口保理(信用保险项下)业务操作细则中国××银行无追索权出口保理(信用保险项下)业务操作细则为规范和加强无追索权出口保理(信用保险项下)业务(以下简称“出口信保保理”)的管理,进一步明确出口信保保理业务操作流程,在有效控制风险的前提下促进该业务健康有序发展,根据国家有关法律法规和我行相关规章制度,特制定本业务操作细则。
第一章总则第一节业务定义和种类第一条业务定义出口信保保理业务是指,针对出口企业已向中国出口信用保险公司(以下简称“中信保”)投保了出口信用保险险种(包括综合保险、统保保险或特定买方保险等出口信用保险)的出口贸易,在出口企业将贸易合同项下的应收账款债权以及保险单项下的赔款权益转让予我行的基础上,我行在中信保承保赔付范围内向出口企业提供的集贸易融资、销售分户账管理、账款收取以及坏账担保功能于一体的综合性金融服务。
第二条业务适用范围1、本细则仅适用于短期(不超过360天)出口信用保险项下的无追索权保理业务。
2、在基础交易符合我行国际保理业务和出口信保融资业务相关规定的前提下,已向中信保投保短期出口贸易信用保险的出口企业均可向我行申请办理出口信保保理业务。
第三条业务种类我行出口信保保理业务属于标准贸易融资产品,该业务项下分为合格出口信保保理业务和不合格出口信保保理业务,其中:1、合格出口信保保理业务合格出口信保保理业务是指同时满足和符合下列要求和条件的出口保理业务:(1)进出口双方合作时间须在2年(含)以上;(2)中信保在其签发的有效保单中承担“非信用证支付方式下”的全部商业风险(包括买方破产或无力偿付债务、买方拖欠货款、买方拒绝接收货物)和政治风险(买方在中国大陆境内的视为无政治风险)引起的直接损失的保险责任;(3)《无追索权出口信保保理操作打分卡》得分70分(含)以上;(4)中信保对出口企业向其申报的出口业务已出具《承保通知书》。
2、不合格出口信保保理业务不符合上述合格出口信保保理业务条件的,均为不合格出口信保保理业务。
有追索权的明保理业务流程:一、收集资料(一)、卖方资料卖方生产经营稳定、买卖双方合作良好(二)、买方资料公开获得、买方保理业务(三)、应收账款资料5、历史交易、本次合同交易成立、交易无瑕疵二、融资流程1、保理预付款融资➢买卖双方应收账款成立,买方付款前2、融资调查➢核对贸易记录:合同与发票匹配、发票与应收账款台账匹配➢调查银行结算记录:台账与对账单匹配、票据回款复印件、对账单记录与报表销售收入相符➢调查生产、贸易情况:生产正常?仓储正常?有许可?企业经营的流程、工序、利润率分析,退货、赔偿概率(履约情况)➢交易对手(上、下游)分析、交易对手评价、结算方式、回款习惯、是否关联➢竞争对手调研竞争对手评价、行业协会评价2、审查审批➢卖方生产经营稳定➢买卖双方合作良好➢买方实力较强➢买方验货通过➢买卖双方应收账款成立、债权无瑕疵3、应收账款转让➢应收账款转让给我行,人民银行应收账款质押登记公示系统中,对转让信息予以规范登记。
登记过程中,“交易类型”应选择“应收账款转让”。
4、合同签署➢与卖方签订《有追索权国内保理业务合同》➢与卖方签订《国内保理业务应收账款转让登记合同》➢与卖方、买方签订《应收账款债权转让三方确认书》或与卖方签订《应收账款债权转让通知书》➢如我行规定买方付款至卖方在我行开立的监管账户,须与卖方签订《国内保理业务委托收款及账户质押合同》5、融资发放➢结算账户,客户账户,放款、收取手续费、其他费用➢保理专户,我行内部账户,收取保理本息、收取各项费用➢保证金账户三、融资后管理➢融资后检查➢融资收回及应收账款催收➢应收账款反转让➢应收账款争议处理。
保理业务操作流程图方舟保理前海方舟保理业务操作流程(2015-12)一、业务立项审批二、合同签订和资金监管1、客户提交《保理业务申请表》和保理资料清单上标明的资料,复印件一律加盖公司公章,并说明与原件相符。
2、业务与产品经理协商业务模式,项目经理出具《保理融资项目申请报告》及相关资料提交到风控部4、立项通过,业务与客户沟通项目跟进度,收齐项目所有资料,进入尽调阶段5、尽职调查,风控、财务、业务、法务参加项目尽职调查,主要核查应收债权的真正性、融资主体的经营实况(业务/财务),回款主体经营情况,外部资债信息等。
客户提供最新征信报告及最新资债材料。
6、风控结合材料和尽调结果出具《项目风险评估报告》,配合业务、完成最终版本的《保理业务申请报告》,由业务提交公司风委会。
7、风评会议,由公司至少二位向管领导、业务、产品、风控、法务、财务共同参加,会议决策项目操作与否,具体操作方案、授信额度、相应风控措施的确定,关注点等8、形成产品,风控、法务、财务协助产品经理(项目经理)撰写产品要素明书和向外推介的路演PPT2、业务和风控参与合同等相关文件资料的现场签订环节,并齐套文件的相关材料(法人代表、股东、实际控股人、授权代表的身份证复印件,代表授权文书1、业务部根据合同模版撰写保理合同、额度申请表、相关的担保合同、质押/抵押合同等相关文件,风控和法务复核通过后,走合同和额度审批流程,经终审(投决会)通过方能使用。
3、合同文本等相关资料盖章原件归档,并将上传系统,及提供复印件到相应的操作部门由评审委员会秘书(保理云经办人)统计意见并填写《业务审批表》3、初审申报,针对项目提出相关的风险点,风控措施,额度建议,操作建议,(业务、产品、风控参会),确认项目主体是否符合导入基本要求。
初审通过后,由项目经理提交立项报告、分别由项目经理、风控签署意见,再报总经理等领导审批。
4、统一实施回款账户关联或特殊项目实施帐户监管办法:其一:我司与客户在指定银行(平安银行)开设共管并关联平安保理云系统帐户作为回款指定帐户,我司托管网银操作权限,客户仅开放查询权限;客户向买方发出销售结算账户更改申请,以收到买方账户变更通知回执或首笔回款为准。
一、概念国内保理业务是指销售商将其现在或将来的基于其与购货商(债务人)订立的货物销售与服务合同或因其他原因所产生的应收账款转让给我行,从而获得我行为其提供的商业资信调查、融资、应收账款管理等方面的综合性金融服务。
二、适用对象主要适用于应收账款数量较多、质量较好,且购货方相对较为稳定的法人客户。
三、特点1、能满足客户多方面融资需求;2、能解决客户担保难问题;3、能与客户保持良好、稳定的业务往来;4、帮助客户改善资产状况,优化资产负债表结构。
四、基本要求1、叙作保理业务的应收账款必须符合以下条件:(1)商品交易或提供的服务合法、有效、真实,购销双方没有争议;(2)应收账款权属清楚,没有争议,不受抵消权、质押权、留置权、求偿权的影响;(3)应收账款还款期限一般在12个月内。
(4)应收账款账龄结构合理、坏账比例小、风险能有效预测和控制,应收账款周转率在行业良好值以上;(5)购销合同中没有含有禁止应收账款转让的条款。
2、办理有追索权(回购型)保理业务的,销售商应同时具备以下条件:(1)信用等级在A(含)以上,无不良信用记录;(2)经营管理规范,财务制度健全,现金流量充足,有较强的回购和偿债能力;(3)发展前景良好,主要产品所占市场份额较大;(4)应收账款的期限、地区、客户结构合理;(5)我行要求的其他条件。
3、办理无追索权(非回购型)保理业务的,销售商除符合前述办理有追索权(回购型)保理业务的规定外,购货商的信用等级必须在AA-(含)以上(销售商提供低风险或次低风险担保的,购货商可不受信用等级的限制),经营管理规范,财务制度健全,现金流量情况较好,没有拖欠销售商货款及其他不良信用记录。
五、业务流程1、有追索权(回购型)保理业务操作流程(1)市场营销部门或经办行受理销售商提出叙作保理业务的申请后,根据调查情况完成销售商应收账款分析报告,制定切实可行的业务操作方案,按规定权限报批。
(2)有权人审批同意后,授权市场营销部门或经办行与销售商签订保理业务协议。