严重创伤患者的急救流程
- 格式:docx
- 大小:11.54 KB
- 文档页数:2
创伤救治中心的急救执行流程
1. 事故现场的急救措施
- 在到达事故现场时,首先要确保自身安全,并尽快评估现场
的安全状况。
- 确定受伤人员的数量和严重程度,并根据情况决定是否需要
呼叫更多救援人员。
- 开始进行基础生命支持措施,如心肺复苏和止血。
- 对于有呼吸困难或严重出血的伤员,应尽快进行急救处理,
并保持通畅的呼吸道。
- 在急救过程中,尽量避免进一步加重伤者的伤情。
2. 搬运和转运伤员
- 在对伤员进行急救处理后,需要进行搬运和转运。
- 使用正确的搬运方法,避免进一步损伤伤员。
- 根据伤员的严重程度和病情稳定性,选择合适的转运方式,
如救护车或直升机。
- 在转运过程中,保持与伤员的密切联系,及时调整急救措施。
3. 创伤救治中心的急救流程
- 伤员到达创伤救治中心后,立即进行初步评估,确定伤员的伤情和急救需求。
- 根据伤员的伤情严重程度,安排急诊医生和护士进行相应的急救处理。
- 进行进一步的检查和治疗,如X光、CT扫描、手术等。
- 在急救过程中,及时记录伤员的病情和治疗过程,以便后续医疗工作。
4. 伤员的后续处理和康复
- 在急救和治疗阶段结束后,对伤员进行康复护理。
- 提供必要的物理治疗、康复训练和心理支持,帮助伤员尽快康复。
- 与家属保持沟通,提供必要的信息和支持,以促进伤员的康复进程。
- 定期进行随访和复查,确保伤员的康复情况。
以上是创伤救治中心的急救执行流程,确保在应急情况下能够迅速有效地救治伤员,并尽可能减少伤员的伤害。
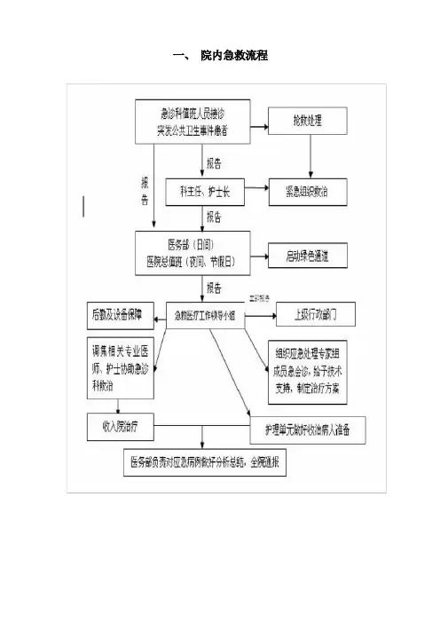
1、大批创伤患者抢救流程2、急性创伤患者救治流程急性创伤患者入抢救室、首诊医师迅速评估病情心搏呼吸骤停者立即行CPR危及生命情窒息、休克、脑疝、呼吸衰立即进入相应抢救流程保持呼吸道畅通氧疗液体复苏生命支持治疗心电监护实验室检查影像检查诊断性穿刺组织相关科室会诊迅速明确诊断30 分钟内二次病情评估实施救治有手术指征无手术指征能耐受手术者60 内术备分钟完成前准手术室暂不能耐受者积极创造手术条件如抗休克、稳定生命体征保守治疗严密观察再评估清除缝合止血固定降颅压抗感染穿刺引流保护脏器留观或者住院3、大批中暑患者抢救流程大批中暑急诊科组织抢救报告医务部(日间)医院总值班(夜间)报告上级行政部门即将报告急救医疗工作领导小组密切观察体温、神志及各反射多参数监护完善辅助检查:血常规、血生化、血气分析、心电图、影像学检查等物理降温:脱去衣物冰毯、冰帽、冷水洗浴冰水灌(胃)肠室内降温、风扇静脉输注10°C 液体血液透析药物降温,酌情:氯丙嗪、安定建立静脉通道:液体复苏补充电解质纠正酸碱失衡防治脑水肿维护各脏器功能启动应急预案组织相关科室会诊:神经内科、重症医学科、肾内科心脏内科呼吸内科消化内科血液内科分流患者留观察住院重症医学科4、突发重大医疗纠纷应急处理流程发生重大医疗纠纷的科室医务科、门诊部、护理部(日间)医院总值班(夜间、节假日)了解情况启动应急预案保卫部全程保卫工作科主任护士长突发事件应急处理指挥小组医务科组织医疗质量与安全管理委员会专家病例讨论,制定治(根据事态)当地公安部门积极救治病人妥帖处理事态疗方案,进行技术鉴定与患者或者其家属商谈商议解决,争取达成共识积极配合调查处理达成共识不能达成共识终止应急预案建议患方通过鉴定和诉讼程序解决医务科与患方履行鉴定和诉讼程序5、突发药品和医疗器械不良事件处理流程图临床发生严重不良事件接到上级突发不良事件通知医务部组织专家做出初步判断启动响应是否启动响应不启动临床科全力诊治抢救药剂科、设备科流程向上级报告事件总结对应急响应体系的效率进行评估,提出改进措施。
创伤急救流程一、简介创伤是指由外界力量引起的身体损伤,包括刀伤、烧伤、骨折等。
创伤急救是指在创伤发生后即将采取的紧急救治措施,旨在减轻伤者的痛苦,保护生命,并减少并发症的发生。
本文将详细介绍创伤急救的流程及注意事项。
二、1. 确保安全在进行任何急救行动之前,首先要确保自己和伤者的安全。
如果事故现场存在危(wei)险因素,如火灾、爆炸等,应先将伤者转移到安全地点。
2. 判断意识和呼吸检查伤者的意识和呼吸情况。
轻拍伤者的肩膀,喊叫其名字,观察是否故意识反应。
如果伤者没故意识反应,需要即将进行心肺复苏术(CPR)。
3. 住手出血创伤常伴有大量出血,应迅速采取措施止血。
可以使用压迫止血法,用纱布或者干净的布料直接压在出血部位上,保持压力直到止血。
4. 保护伤者颈部如果伤者有颈部损伤的症状,如颈部疼痛、无力等,应采取措施保护颈部,避免进一步的损伤。
可以使用颈托固定颈部,并将伤者转移到硬板上,保持颈部稳定。
5. 拨打急救电话在进行创伤急救的同时,应即将拨打急救电话(如120),向医护人员报告伤者的情况,并请求专业的医疗救援。
6. 处理骨折和关节脱位如果伤者浮现骨折或者关节脱位的症状,应尽快处理。
可以用固定带或者绷带固定骨折部位,并尽量保持伤者的舒适。
7. 控制伤者疼痛创伤常伴有剧痛,可以使用止痛药或者冰袋缓解伤者的疼痛。
但在使用药物时应遵循医生的建议,并注意剂量和用药时间。
8. 保持体温伤者受伤后易浮现体温过低的情况,应及时保持体温。
可以使用毯子或者衣物覆盖伤者,避免进一步的热量散失。
9. 观察并记录伤情在急救过程中,应密切观察伤者的病情变化,并及时记录。
包括伤者的意识状态、呼吸情况、出血情况等。
这些信息将为医护人员提供重要的参考。
10. 等待急救人员到达在进行了必要的急救措施后,应等待急救人员的到来。
他们将进一步评估伤者的病情,并进行必要的治疗和转运。
三、创伤急救注意事项1. 不挪移伤者除非伤者处于危(wei)险环境,否则不要轻易挪移伤者,以免加重伤情。
严重创伤应急预案与流程1.快速、全面的生命评估:有无呼吸道梗阻、休克、大出血等致命征象及心博呼吸骤停;心博呼吸骤停者立即行 CPR,神志昏迷者保持呼吸道通畅,监测生命体征2.快速有效的生命支持:VIPCO 程序。
①V(ventilation)保持气道通畅:保持呼吸道通畅、通气和充分给氧;②I(infusion)输液抗休克:迅速建立 2-3 条静脉通路,保证输液、输血,扩充血容量等抗休克治疗;③P(pulsation)心肺脑复苏:监测心电和血压,及时发现和处理休克;④C(control bleeding)控制出血:颈椎和脊柱制动直至证实无损伤;⑤O(operation)损伤控制手术:急诊手术治疗。
3.初步控制窒息、休克、大出血后行进一步详细评估。
(1)病史采集:受伤时间、方式、撞击部位、落地位置、处理经过、上止血带时间,有否昏迷史。
(2)体格检查:CRASHPLAN 原则(心脏、呼吸、腹部、脊柱、头部、盆骨、四肢、动脉、神经)。
(3)实验室检查:血型、交叉配血,查血气、电解质、了解酸碱平衡、查生化,评价肝肾功能,查血常规,反复多次,评估出血情况。
(4)特殊检查:X 线、超声、CT、腹腔穿刺、心电图、MRI 等。
4.持续动态的病情观察:严密监测患者生命体征和相应症状、体征变化,观察治疗效果,观察有无隐藏的深部损伤、继发性损伤和并发症。
5.送手术室手术治疗或收入创伤 ICU。
创伤 ICU严重创伤伤员急诊科抢救快速有效的生命支持:VIPCO 程序附:严重创伤应急流程对心博呼吸骤停者行 CPR ,神志昏迷者保持呼吸道通畅,监测生命体征对其他患者须排除呼吸道梗阻、休克、大出血等致命征象颅脑损伤进行快速、全面的生命评估伤情的再估计:动态观察,发现隐藏的深部损伤、继发性损伤、并发症特殊检查:X 线、 超声、CT 、腹腔穿刺、心电图、MRI 等实验室检查:血型、交叉配血,查血气、电解质、了解酸碱平衡、查生化,评价肝肾功能,查血常规,反复多次,评估出血情况体格检查:CRASHPLAN 原则(心脏、呼吸、腹部、脊柱、头部、盆骨、四肢、动脉、神经)病史采集: 受伤时间、方式、撞击部位、落地位置、处理经过、上止血带时间,有否昏迷史O.损伤控制手术operationC.控制出血controlI.输液抗休克infusionV.保持气道通畅ventilationP.心肺脑复苏 pulsation 初步控制窒息、休克、大出血后行进一步评估其他损伤对症处理四肢、盆骨损伤 确定性手术治疗腹部损伤脊柱损伤 胸部损伤。
急危重症患者处置流程急危重症患者的处置流程是医疗系统中的一项关键环节,对于患者的生命安全和健康恢复具有决定性的影响。
以下是一份关于急危重症患者处置流程的详细报告,以供参考。
一、急危重症患者的定义与特点急危重症患者是指突然发生严重疾病或遭受严重创伤,导致生命垂危或可能对身体重要器官产生不可逆损害的患者。
这类患者的病情通常较为复杂,变化迅速,需要立即采取积极的治疗和干预措施,以避免病情恶化并维持生命。
二、急危重症患者处置流程1.院前急救院前急救是急危重症患者处置的第一步,是指在医院外对患者进行初步的急救处理和转运。
院前急救应遵循以下原则:(1)生命支持:在患者呼吸、心跳等基本生命体征不稳定时,应立即给予心肺复苏、气管插管、氧气吸入等措施,以维持患者生命功能。
(2)创伤处理:对于遭受严重创伤的患者,应立即止血、固定、包扎等措施,以控制出血和减轻疼痛。
(3)快速转运:在初步处理后,应将患者迅速转运至附近医院或等待进一步救治。
2.急诊室接诊急危重症患者到达急诊室后,应立即接受接诊和评估。
接诊过程中应了解患者的病史、临床表现、检查结果等信息,以便快速判断病情并制定相应的治疗方案。
同时,应根据患者的具体情况,邀请相关科室的专家进行会诊,制定更为完善的治疗方案。
3.住院治疗经过急诊室的初步处理和评估后,急危重症患者通常需要接受住院治疗。
住院治疗期间,应根据患者的病情和个体差异,制定个性化的治疗方案。
同时,应加强护理和监测,密切观察病情变化并及时调整治疗方案。
4.康复与随访在患者病情稳定并得到控制后,应及时进行康复治疗和生活指导。
康复治疗包括身体锻炼、心理疏导、营养支持等方面,以促进患者的全面康复。
同时,应定期对患者进行随访,了解康复情况,及时调整治疗方案和生活指导。
三、急危重症患者处置的挑战与对策1.医疗资源不足由于急危重症患者的病情复杂多变,需要消耗大量的医疗资源。
但目前全球范围内普遍存在医疗资源不足的问题,导致一些患者无法得到及时有效的治疗。
创伤急救流程创伤急救流程是一套用于处理各种创伤伤害的标准操作流程,旨在提供快速、有效的急救措施,以最大限度地减少伤害并拯救生命。
以下是一份详细的创伤急救流程,包括急救前的准备、伤势评估、止血处理、伤口清洁和包扎等步骤。
1. 急救前准备:- 确保自身安全,评估现场的危(wei)险性,采取必要的措施保护自己和伤者。
- 如果可能,呼叫急救人员并告知他们现场情况,以便他们提前准备。
2. 伤势评估:- 快速评估伤者的意识状态,检查呼吸是否正常。
- 检查伤者的脉搏,判断是否存在严重的出血或者休克迹象。
- 注意观察伤者的皮肤颜色、体温和湿度,以判断伤者的病情。
3. 止血处理:- 如果伤者有明显的出血,即将进行止血处理。
- 使用干净的纱布或者绷带直接压迫伤口,以减少出血。
- 如果出血无法止住,可以尝试使用止血带进行加压止血。
4. 伤口清洁:- 在处理伤口之前,务必先清洁双手,戴上一次性手套。
- 使用生理盐水或者清水冲洗伤口,以去除污物和细菌。
- 用无菌纱布轻轻擦拭伤口周围的血液和污物。
5. 伤口包扎:- 使用无菌纱布或者绷带覆盖伤口,保持伤口清洁和湿润。
- 如果伤口较大或者深,可以使用敷料垫或者压力敷料来减少出血。
- 注意包扎时要适当松紧,不要过紧或者过松,以免影响血液循环。
6. 伤者安抚:- 在急救过程中,要与伤者保持沟通,赋予他们安全感和支持。
- 尽量减轻伤者的疼痛和不适,提供适当的疼痛缓解措施。
- 监测伤者的生命体征,随时调整急救措施。
7. 急救结束:- 在伤者的情况稳定后,可以结束急救过程。
- 将伤者交接给专业医护人员,并向他们提供详细的伤情报告。
- 记录急救过程和所采取的措施,以备后续参考和复查。
请注意,以上的创伤急救流程仅供参考,实际应用时应根据具体情况和专业知识进行判断和操作。
在急救过程中,保持镇静和镇定非常重要,以便有效地应对各种创伤伤害并保护伤者的生命安全。
急诊科创伤急救流程图一、背景介绍急诊科是医院中负责接收和处理各种急性疾病和创伤的科室。
创伤急救是急诊科的重要工作之一,涉及到对各种创伤患者的快速、准确的诊断和治疗。
为了提高创伤急救的效率和质量,制定一个标准化的流程图对急诊科的工作至关重要。
二、创伤急救流程图1. 患者到达急诊科- 当患者到达急诊科时,接待护士应立即进行初步评估,了解患者的主诉和病情。
- 接待护士应按照急诊科的流程,将患者安排到急诊留观区域等待进一步的处理。
2. 快速初步评估- 医生应尽快对患者进行初步评估,包括意识状态、呼吸、循环、伤口情况等。
- 医生应根据初步评估结果,判断患者是否为创伤患者,并决定是否需要进行创伤急救。
3. 创伤急救决策- 如果患者被判断为创伤患者,医生应立即召集急诊科的创伤急救团队。
- 创伤急救团队成员包括急诊医生、外科医生、麻醉医生、护士等,他们应迅速到达急诊留观区域。
4. 创伤急救团队到达- 创伤急救团队到达后,应立即对患者进行全面评估,并根据评估结果制定创伤急救方案。
- 创伤急救方案应包括创伤患者的处理优先级、治疗方法和药物使用等。
5. 快速治疗和处理- 创伤急救团队应按照制定的方案,对患者进行快速治疗和处理。
- 快速治疗和处理包括控制出血、固定骨折、缝合伤口等,以及给予必要的止痛和抗感染药物。
6. 监护和观察- 治疗和处理完成后,患者应被转移到急诊留观区域进行监护和观察。
- 护士应密切观察患者的生命体征、疼痛程度和伤口情况等,并及时记录。
7. 会诊和转诊- 如果患者的病情需要进一步的治疗或手术,急诊科应及时召集相应的专科医生进行会诊。
- 如果患者需要转诊到其他科室进行进一步治疗,急诊科应协助安排转诊事宜。
8. 患者离开急诊科- 当患者病情稳定后,医生应对患者进行出院评估,并根据评估结果决定患者是否可以离开急诊科。
- 如果患者可以离开急诊科,医生应向患者提供必要的医嘱,并安排相应的随访和康复计划。
三、总结创伤急救是急诊科的重要工作之一,制定一个标准化的流程图可以提高创伤急救的效率和质量。
重症创伤患者治疗流程时间表本文档旨在提供重症创伤患者治疗流程的时间表。
以下是一个简单的治疗流程,用于指导医务人员在处理重症创伤患者时的工作安排和时间安排。
1. 院前急救阶段(0-1小时)- 评估患者病情并确定是否需要转送至重症监护室(ICU)。
- 确保患者的呼吸道通畅,进行必要的气道管理。
- 建立静脉通路并开始输液以维持血容量。
- 监测患者的生命体征,包括心率、血压和呼吸频率。
- 进行初步的快速体格检查和初步辅助检查,如X射线片或超声波检查。
2. 急诊治疗阶段(1-2小时)- 根据患者的伤情严重程度,进行进一步的治疗决策,如手术或其他介入性治疗。
- 实施止血措施,包括直接压迫、填塞和使用止血药物。
- 给予适当的镇痛药物以缓解患者的疼痛。
- 进行必要的影像学检查,如CT扫描或MRI。
3. 重症监护阶段(2-48小时)- 将患者转送至重症监护室(ICU)进行进一步的治疗和监测。
- 对患者进行全面的体格检查,并监测生命体征的变化。
- 继续输液以维持血容量和电解质平衡。
- 给予抗生素以预防感染。
- 实施机械通气治疗,如果需要的话。
- 进行必要的手术,如创伤修复或器官修复。
4. 后续治疗阶段(48小时后)- 根据患者的康复情况,逐步减少对重症监护的依赖。
- 进行必要的康复治疗,如物理治疗和心理支持。
- 监测和管理患者的疼痛和不适症状。
- 定期进行随访和复查,以评估患者的康复进展。
总结以上是重症创伤患者治疗流程的时间表。
根据患者的具体情况,治疗流程可能会有所不同。
医务人员应根据患者的病情和治疗需要,灵活调整时间表,并始终以患者的安全和康复为优先考虑。
请注意,本文档提供的信息仅供参考,具体治疗流程应根据医生的专业判断和临床实践进行制定。
---。
急诊科创伤急救流程图一、背景介绍急诊科是医院的重要部门之一,负责处理各种急诊病例,其中包括创伤急救。
创伤急救是指对因意外事故、外伤等导致的急性损伤进行紧急救治的过程。
为了高效、迅速地处理创伤急救病例,急诊科应建立一套科学、规范的流程图,以确保患者能够及时获得救治。
二、创伤急救流程图1. 患者到达急诊科- 患者到达急诊科后,由接诊护士进行初步的快速评估。
- 接诊护士根据患者的病情,判断是否为创伤急救病例。
- 若判断为创伤急救病例,患者将被迅速转至创伤急救区域。
2. 创伤急救区域- 创伤急救区域是专门用于处理创伤急救病例的区域。
- 患者到达创伤急救区域后,将由专门的创伤急救团队进行进一步的评估和处理。
3. 评估和处理- 创伤急救团队包括急诊医生、护士、麻醉师等专业人员。
- 创伤急救团队将对患者进行全面的评估,包括体格检查、病史询问、辅助检查等。
- 根据评估结果,创伤急救团队将制定相应的急救方案。
4. 急救方案执行- 急救方案根据患者的具体情况而定,可能包括止血、固定骨折、清创缝合等措施。
- 急救方案的执行由创伤急救团队成员协同完成。
- 创伤急救团队应密切观察患者的生命体征变化,及时调整急救措施。
5. 通知相关科室- 若患者的伤情较重,需要进一步的治疗或手术,创伤急救团队将及时通知相关科室。
- 相关科室接到通知后,应迅速做好准备工作,确保患者能够及时转入相应科室进行进一步治疗。
6. 监护和观察- 创伤急救团队应对患者进行持续的监护和观察,包括生命体征、疼痛程度、意识状态等方面。
- 如有需要,创伤急救团队将采取相应的措施,确保患者的生命体征稳定。
7. 患者转出- 当患者的伤情得到有效控制和处理后,创伤急救团队将决定是否将患者转至其他科室继续治疗。
- 若患者需要转出,创伤急救团队将与相关科室进行沟通,并做好转院准备工作。
8. 记录和报告- 创伤急救团队应及时、准确地记录患者的病情、处理过程和治疗效果。
- 创伤急救团队还需向医院相关部门提交相应的报告,以便于医院对创伤急救工作进行评估和改进。
创伤急救服务流程一、引言创伤急救服务流程是指在意外事故或突发疾病导致人体出现创伤时,医疗机构或急救人员按照一定的流程和标准进行救治和护理的过程。
本文将详细介绍创伤急救服务流程的各个环节和步骤。
二、前期准备1. 设立创伤急救中心:医疗机构应设立专门的创伤急救中心,配备先进的设备和专业的医护人员,确保能够及时、有效地处理各类创伤急救情况。
2. 制定创伤急救服务标准:医疗机构应制定创伤急救服务标准,明确各项服务的要求和流程,并进行定期培训和演练,提高医护人员的应急处置能力。
三、创伤急救服务流程1. 接警与调度a. 接到创伤急救电话后,急救中心应迅速记录报警人提供的基本信息,如事发地点、伤者情况等。
b. 根据伤者情况的严重程度,急救中心应快速判断是否需要派遣救护车或直升机前往现场。
c. 急救中心应与现场人员保持通讯联系,提供远程指导和支持。
2. 现场急救a. 救护车或直升机到达现场后,急救人员应迅速评估伤者的生命体征,判断是否有生命危险。
b. 如果伤者有生命危险,急救人员应立即进行基本生命支持,包括心肺复苏、止血等。
c. 急救人员应对伤者进行初步检查,并将检查结果记录下来,以便后续救治。
3. 运送与转运a. 如果伤者情况稳定,急救人员应将其转移到救护车或直升机上,并进行必要的固定和保护。
b. 急救人员应根据伤者情况选择合适的医疗机构,并与目的地医疗机构进行联系,做好转运准备。
c. 在转运过程中,急救人员应随时观察伤者的生命体征,并做好必要的急救处理。
4. 到达医疗机构a. 到达医疗机构后,急救人员应迅速将伤者转交给接诊医生,并提供详细的现场急救记录和伤者情况说明。
b. 接诊医生应根据伤者情况进行进一步的检查和治疗,必要时进行手术或其他特殊处理。
5. 后续护理与康复a. 医疗机构应为伤者提供全面的护理和康复服务,包括疼痛管理、伤口护理、功能康复等。
b. 医疗机构应与家属保持良好的沟通,提供必要的心理支持和指导。
创伤急救流程创伤急救是指在突发的创伤事件中,为了最大限度地减少伤害和救治伤者,需要迅速采取的急救措施。
以下是一份标准格式的创伤急救流程,详细介绍了在不同情况下应该采取的急救步骤和注意事项。
一、1. 安全评估- 在任何急救行动之前,首先要确保自己和伤者的安全。
评估现场是否存在危险因素,如火灾、电流等,必要时采取措施确保安全。
2. 呼叫急救- 如果伤者情况严重,需要专业医疗救援,请立即拨打当地急救电话号码,向急救中心提供准确的信息,包括伤者的状况、现场地址等。
3. 创伤评估- 对伤者进行初步评估,确定伤势的严重程度。
观察呼吸、心跳、出血等情况,判断是否需要立即进行急救措施。
4. 停止出血- 对于大量出血的创伤,应迅速采取控制出血的措施。
可以使用压迫止血法,用干净的纱布或衣物直接压迫伤口,并保持压力直到出血停止。
5. 保持通畅呼吸道- 如果伤者呼吸困难或停止呼吸,应立即进行人工呼吸或心肺复苏。
在进行急救前,确保伤者的口腔内没有异物,头部要保持稳定的位置。
6. 确保伤者保持体温- 在急救过程中,要确保伤者保持体温。
可以使用毯子或衣物覆盖伤者,避免过度散热。
7. 保护伤者的颈椎- 如果伤者可能有颈椎损伤,应该小心将其固定在原位,避免进一步损伤。
可以使用固定颈椎的器械或者手法。
8. 伤者转运- 根据伤者的情况,选择合适的转运方式。
对于严重的创伤,应尽快将伤者送往最近的医院,确保伤者得到进一步的治疗。
二、创伤急救注意事项1. 心理安抚- 在急救过程中,要给予伤者适当的心理安抚,保持沉着冷静,并告知伤者正在接受专业的急救救治。
2. 避免二次伤害- 在急救过程中,要注意避免对伤者造成二次伤害。
例如,避免过度移动伤者、过度用力等。
3. 紧急联系人- 如果伤者有家属或紧急联系人,应及时通知他们发生的情况,并告知伤者被送往哪家医院。
4. 急救培训- 为了更好地应对创伤急救情况,建议参加相关的急救培训课程,提高自己的急救技能和知识。
严重创伤患者的急救流程
严重创伤患者的急救流程是一个紧急且具有挑战性的过程。
以下是严重创伤患者急救流程的步骤:
1.确认场所安全:在救援患者之前,一定要确认周围环境是否安全。
如果场所存在危险,立即告知相关人员并等待安全批准后再行动。
2.初步评估:快速进行初步评估,包括意识状态、呼吸、脉搏、出血情况和其他急性伤害状况。
通过这些评估,确定患者所需的急救措施。
3.拨打急救电话:在确认患者所需的急救措施后,立即拨打当地急救电话并获取相应的指导和建议。
保持沉着冷静,提供详细的信息并跟随指示行动。
4.进行心肺复苏:如果患者没有意识或呼吸,需要立即进行心肺复苏。
紧急抢救过程中应用电除颤器可以有效恢复心跳。
5.减轻出血:对于严重出血的患者,应立即进行止血处理。
可以使用止血带、纱布或其他急救用品进行第一时间的止血处理。
6.给予氧气:对于氧气吸入不足的患者,应给予氧气。
这有助于提高其呼吸和血氧水平,保持其生命体征的稳定。
7.进行复杂救治:如果患者需要进行手术或其他复杂的治疗措施,应在到达医院前进行紧急救治,以提高其生命体征的稳定和减轻其痛苦。
在处理严重创伤患者时,需要紧急、快速和有效的急救措施。
这需要具备丰富的知识和经验,以及针对特定情况的应对能力。
穿戴好防护装备、遵循正确的急救程序可以更有效的帮助受伤者。
创伤急救流程图创伤急救是一项重要而紧急的医疗救治措施,用于处理各种创伤导致的急性伤害。
以下是一个标准格式的创伤急救流程图,以指导医务人员在紧急情况下进行创伤急救。
1. 评估现场安全性- 确保自身安全,穿戴个人防护装备(如手套、口罩、护目镜等)。
- 评估现场是否存在危险因素(如火灾、化学物质泄漏等),确保自身和伤者的安全。
2. 呼叫急救服务- 拨打当地的急救电话号码,向急救中心报告事故的发生,并提供准确的位置信息。
- 向急救中心提供详细的伤情描述,以便他们提前做好准备。
3. 创伤初步评估- 迅速接近伤者,检查其意识状况(意识清醒、昏迷等)。
- 检查伤者的呼吸和脉搏,判断是否需要进行心肺复苏。
- 检查伤者的颈部、背部和腰部是否有明显的外伤。
4. 控制出血- 对于明显的外伤出血,立即进行止血处理。
- 使用干净的纱布或绷带直接压迫伤口,以减少出血。
- 如果伤者有骨折,应先固定骨折部位,再进行止血处理。
5. 保持呼吸道通畅- 对于意识清醒的伤者,让其保持舒适的仰卧位。
- 对于昏迷或有颈椎损伤的伤者,应采取侧卧位,以保持呼吸道通畅。
- 如有呼吸困难,可进行人工呼吸或使用呼吸道辅助装置。
6. 保护伤者的脊柱- 对于怀疑有脊柱损伤的伤者,应尽量保持其头、颈和背部的稳定。
- 不要移动伤者的头部,以免加重脊柱损伤。
- 使用脊柱板、颈托等装置固定伤者的脊柱。
7. 处理其他创伤- 对于骨折,应固定骨折部位,并尽量保持伤者的舒适。
- 对于刺伤或撕裂伤,应使用干净的纱布或绷带覆盖伤口,以减少感染风险。
- 对于烧伤或化学灼伤,应立即用冷水冲洗伤口,并用干净的纱布覆盖。
8. 监测伤者的生命体征- 持续监测伤者的呼吸、脉搏和血压等生命体征。
- 如有需要,及时进行心肺复苏或其他紧急救治措施。
9. 等待急救人员到达- 在等待急救人员到达的过程中,持续进行急救处理,并与急救中心保持联系。
- 尽量提供详细的伤情信息,以便急救人员能够做出更准确的救治方案。
创伤急救流程创伤急救是指在意外事故、灾难事件或其他突发情况下对受伤者进行紧急救治的过程。
它是一项关键的医疗技术,可以挽救生命并减少伤残。
下面将详细介绍创伤急救的标准流程,以便在紧急情况下能够快速、有效地进行救治。
1. 保护现场在进行创伤急救之前,首先要确保现场的安全。
如果有可能,将受伤者转移到安全的地方,远离火源、毒气、坍塌物等危险因素。
如果现场存在危险,应当及时报警并等待专业救援人员到达。
2. 评估意识和呼吸接下来,要迅速评估受伤者的意识和呼吸情况。
首先,轻轻摇动受伤者的肩膀,并大声呼唤其名字,观察其是否有反应。
如果受伤者没有反应,应当立即向他人寻求帮助,并开始进行心肺复苏术。
3. 停止出血创伤可能导致大量出血,因此在进行其他急救措施之前,必须先停止出血。
可以通过直接压迫伤口、提高伤肢、使用止血带等方法来控制出血。
如果出血较为严重,应当尽快就近寻找医疗设施。
4. 保护脊柱在移动受伤者之前,要注意保护其脊柱,以防止进一步损伤。
可以使用固定夹板或其他固定装置固定头部和颈部,确保受伤者的头、颈部和背部保持在一条直线上。
5. 检查伤情在进行创伤急救时,要全面检查受伤者的身体,确定其是否存在其他伤害。
可以通过触摸、询问和观察的方式来评估受伤者的状况,并尽可能获取详细的信息。
6. 给予急救措施根据受伤者的具体情况,给予相应的急救措施。
例如,如果受伤者呼吸困难,可以进行人工呼吸;如果受伤者心跳停止,可以进行心肺复苏术;如果受伤者骨折,可以使用夹板进行固定等。
7. 尽快送往医院创伤急救只是在紧急情况下的临时救治,受伤者仍然需要在医院接受进一步的治疗。
因此,在救治过程中,要尽快安排专业救援人员将受伤者送往医院,并提前通知医院做好接诊准备。
8. 继续观察和护理在送往医院的过程中,要继续观察受伤者的状况,并根据需要进行进一步的护理。
例如,可以给予止痛药、保持体温稳定、保持呼吸道通畅等。
总结:创伤急救是一项关键的医疗技术,它可以挽救生命并减少伤残。
创伤急救流程图创伤急救是指在乎外事故或者其他突发事件中受伤的人所需的急救措施。
创伤急救流程图是一种图形化的表示方法,用于指导急救人员在紧急情况下正确、高效地进行创伤急救。
下面是一份详细的创伤急救流程图,包括各个步骤和相应的急救措施。
1. 评估现场安全- 判断现场是否安全,确保急救人员和受伤者的安全。
- 如有必要,采取措施确保现场安全,如关闭电源、疏散人群等。
2. 拨打急救电话- 拨打当地急救电话,向急救中心提供准确的信息,包括受伤者的位置、伤势的严重程度等。
3. 初步评估受伤者- 快速评估受伤者的意识、呼吸和循环状况。
- 如有必要,进行人工呼吸和心肺复苏。
4. 住手出血- 如有大量出血,迅速采取控制出血的措施,如直接按压伤口、使用止血带等。
5. 确定伤势严重程度- 根据受伤者的症状和体征,判断伤势的严重程度。
- 如有必要,进行X光检查或者其他辅助检查,以确定内部伤害。
6. 保持通气道通畅- 确保受伤者的气道通畅,如清除口腔内异物、采取头后仰姿式等。
7. 固定骨折和关节脱位- 如发现骨折或者关节脱位,采取适当的固定措施,如使用石膏夹板、绷带等。
8. 治疗伤口- 清洁伤口,并采取适当的措施,如缝合、贴合剂等,以减少感染风险。
9. 赋予止痛药和抗生素- 根据受伤者的疼痛程度和感染风险,赋予适当的止痛药和抗生素。
10. 监测受伤者的生命体征- 定期监测受伤者的心率、呼吸、血压等生命体征。
- 如有必要,采取相应的措施,如赋予液体、氧气等。
11. 送往医院- 根据伤势的严重程度和医疗资源的可用性,决定将受伤者送往哪家医院。
- 如有必要,安排专业救护车或者其他交通工具,确保受伤者安全送达医院。
12. 与医院保持联系- 在送往医院的过程中,与医院保持联系,提供受伤者的详细信息和病情变化。
以上是一份创伤急救流程图的详细内容。
请注意,这只是一个示例,实际的创伤急救流程可能因具体情况而有所不同。
在进行创伤急救时,请确保具备相关的急救知识和技能,或者寻求专业医护人员的匡助。
创伤急救流程图创伤急救是指在发生创伤性伤害时,采取一系列的急救措施以保护伤者生命和健康的过程。
下面是一份详细的创伤急救流程图,以指导急救人员在创伤事件中的应对步骤。
1. 事故现场安全评估- 判断现场是否安全,确保急救人员和伤者的安全。
- 确认是否有危(wei)险物质或者火灾等附加风险。
2. 呼叫急救电话- 拨打当地急救电话(如120)报告事故情况。
- 提供准确的事故地点和伤者数量。
3. 创伤评估- 对伤者进行初步评估,判断伤势的严重程度。
- 观察呼吸、心跳、出血情况等关键指标。
4. 住手出血- 对于大量出血的创伤,即将采取止血措施。
- 使用压迫、提升伤肢、包扎等方法来控制出血。
5. 呼吸道管理- 检查伤者的呼吸道是否通畅。
- 如果有异物阻塞,进行清除操作,如头后仰、侧身拍击等。
6. 呼吸支持- 如果伤者呼吸难点或者住手呼吸,进行人工呼吸。
- 可以通过口对口或者使用呼吸囊等设备进行急救。
7. 心肺复苏- 如果伤者心跳住手,进行心肺复苏。
- 进行心脏按压和人工呼吸的组合急救措施。
8. 骨折和关节损伤处理- 对于明显的骨折或者关节损伤,进行固定和支撑。
- 使用夹板、绷带等物品来稳定伤肢。
9. 休克管理- 对于休克的伤者,进行休克管理。
- 赋予输液、提高下肢高度、保暖等措施来维持血压稳定。
10. 伤口处理- 清洁伤口,用消毒药水冲洗。
- 用无菌敷料覆盖伤口,防止感染。
11. 疼痛管理- 对于伤者的疼痛,赋予适当的止痛药物。
- 根据伤者情况,选择口服或者注射给药方式。
12. 伤者转运- 在伤者状况稳定后,进行转运。
- 选择合适的转运方式,如救护车、直升机等。
13. 伤者监护- 在转运过程中,持续监护伤者的生命体征。
- 随时调整急救措施,确保伤者的稳定。
以上是一份创伤急救的流程图,用于指导急救人员在创伤事件中的应对步骤。
请注意,这只是一个示例,实际急救操作应根据具体情况进行调整。
在进行任何急救操作之前,确保自己具备相关的急救知识和技能,并尽量避免任何可能的风险。
严重创伤患者的急救流程
严重创伤是指身体遭受外伤性打击或力量作用,导致重要组织器官、功能受损的一种临床病理过程。
如不及时救治,可能造成不可逆的后果。
因此,对于严重创伤患者,我们需要进行急救处理,以确保他们尽快得到救助。
一、现场评估和保护
在发现严重创伤患者时,第一步是进行现场评估和保护。
应先判断现场是否安全,是否有其他危险,例如火灾、爆炸等,同时着手呼叫急救人员。
当等待救援的时间会比较长时,可以自己尽量提供急救。
二、短暂性保命措施
对于严重创伤患者,应第一时间采取短暂性保命措施。
包括以下内容:
1、止血:对于外伤引起的出血,要及时采取止血措施。
可以采用压迫止血、包扎止血、固定止血、冰敷等方法。
2、呼吸支持:如果患者的呼吸停止,应立即进行心肺复苏。
需要经过专业训练的医务人员在现场进行。
3、维持体温平衡:在低温环境中,应保持体温,以免受到冻伤。
4、保护颈椎:对于脊柱创伤的病人,应保持颈椎稳定,以免受到二次伤害。
三、进行全面评估
在对患者进行短暂性保命措施之后,要对患者进行全面评估,确定患者的病情和伤情程度。
首先要判断患者有没有生命危险或失去救治机会。
其次,要评估患者的伤情,包括外伤、创伤的范围和程度。
最后,要评估患者的生命体征,包括呼吸、循环、神志等。
四、进行急救措施
在对患者进行全面评估之后,应针对患者病情采取相应的急救措施。
具体措施包括:
1、气管插管:对于呼吸困难或停止呼吸的患者,应及时进行气管插管救治。
2、静脉注射液体:对于失血过多的患者,应进行静脉注射液体,以维持其循环功能。
3、疼痛缓解:对于疼痛患者,应给予适当的止痛药物,以缓解其疼痛。
4、处理感染:对于组织损伤严重患者,应注意感染防治。
五、病情转运
在进行急救措施之后,需要对患者进行病情转运。
病情严重的患者应尽快转运至指定
医疗机构,以接受进一步治疗。
转运过程中,要保持患者的身体稳定,注意防止二次伤害。
在转运前,还要通知指定医疗机构,以做好接诊准备工作。
六、继续治疗和观察
在病情转运后,患者需要继续接受治疗和观察。
医务人员会根据患者的病情,继续进
行治疗和护理。
同时,还要对患者进行定期观察和检查,以及进行必要的康复训练。
总之,对于严重创伤患者,我们应第一时间进行现场评估和保护,采取短暂性保命措施,进行全面评估,针对患者的病情进行急救措施,并进行病情转运和继续治疗和观察。
通过正确的急救流程,可以最大限度地保护患者的生命安全,减少伤害。