贫困户建档立卡工作流程图
- 格式:doc
- 大小:38.00 KB
- 文档页数:2
附件2:
贫困村建档立卡工作示意图及参考文本
贫困村申请书
乡(镇)人民政府:
本村辖自然村个,共有农户户人,其中贫困户户人,贫困发生率为%,2013年农民人均纯收入元,村集体经济收入万元。
(各村可根据本村自然条件、基础设施建设、经济发展现状、文教卫生和社会保障情况进行简单说明)
特申请为贫困村。
村委会(盖章)
年月日
县(市、区)乡(镇)贫困村拟定名单
公示
根据各行政村申请,我办于年月日,根据省分解到县贫困村规模,按照全县(市、区)行政村贫困程度排序,拟定村等个行政村为贫困村。
现进行公示(名单附后)。
如有异议,请从即日起7日内向县(市、区)扶贫办提出意见。
监督电话:
县(市、区)扶贫办(盖章)
年月日
附件:
县(市、区)贫困村拟定名单
参考文本10
县(市、区)扶贫办
关于审核确认贫困村的报告
县(市、区)扶贫开发领导小组:
根据《扶贫开发建档立卡工作方案》要求,县扶贫办通过行政村申请,根据省分解到县贫困村规模,按照全县行政村贫困程度排序,初步拟定村等个村为贫困村。
现将贫困村拟定名单上报(名单附后),请予审核。
县(市、区)扶贫办(盖章)
年月日
附件:
县(市、区)贫困村拟定名单
参考文本11
县(市、区)贫困村
公告
根据《扶贫开发建档立卡工作方案》要求,经村委会申请和县(市、区)扶贫办审核等程序,经县(市、区)扶贫开发领导小组研究,确定村等个村为贫困村,现予以公示(名单附后)。
县(市、区)扶贫开发领导小组(盖
章)
年月日
附件:
县(市、区)贫困村名单。
城乡低保工作流程图个人申请
入户调查
民主评议
公示提报材料
将评议结果在村(居)或单位村务、政务公开栏及人员居住比较集中的地方张榜公示,公示期不少于7天。
组织村(居)两委成员、村(居)民代表、党员或单位职工代表进行民主评议。
乡镇政府或主管部门在村(居)民委员会或单位协助下,应当对申请人经济状况和实际生活情况逐一入户调查核实。
乡镇政府或主管部门将申请材料和家庭经济状况调查结果、民主评议情况等相关材料报送县民政局审批。
由户主本人向户籍所在地乡镇政府或主管部门提出书面申请(家庭生活确有困难,已丧失劳动能力的成年重度残疾人和重病患者,可单独申请低保)。
入户复核县民政局全面审查提报的申请材料、调查材料和审核意见。
对农村低保按照不低于30%的比例入户抽查复核;对城市低保全部入户复核。
相关部门对县民政局提供的低保对象相关信息进行核查。
对通过审核的低保人员在乡镇政府或主管部门及村(居)、单位的政务、村务公开栏和人员居住比较集中的地方进行张榜公示,公示期不少于7天。
公示无异议后,予以批准,上报信息。
复核公示
信息比对
审核审批
发放资金委托相关金融部门发放低保金。
新增建档立卡:
1、先填写学籍信息
填写过程中,如果学生已在其他学校存在学籍,可以直接选择调入,点击“确定”
点击确定后,学生信息会显示完成。
点击“下一步”
若系统中不存在学生的学籍数据,请按照要求填写新增学籍数据。
完成点击“下一步”
2、填写扶贫数据
系统中如果已存在扶贫信息,会自动显示。
核实信息。
若没有扶贫数据,请自己填写。
核实无误或者填写完成,点击“数据确认”
3、核实学生信息,无误点击“信息提交”。
点击“上一步”可以退回修改
4、新增完成,提示成功。
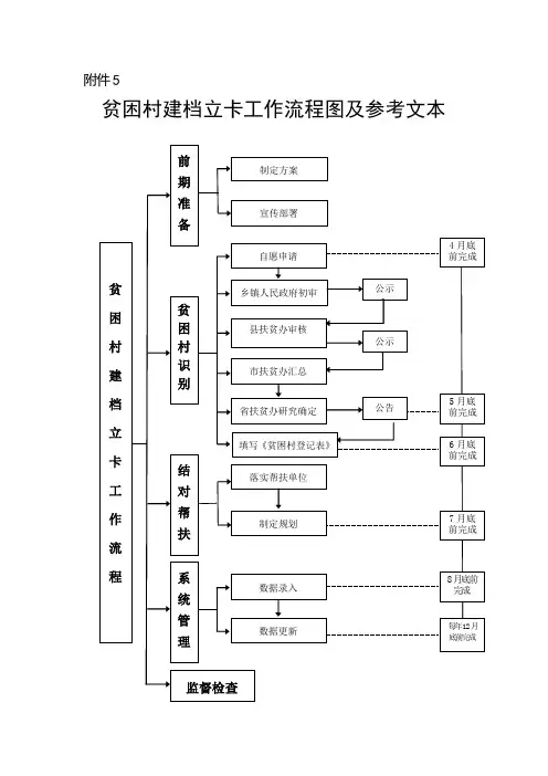
附件5贫困村建档立卡工作流程图及参考文本贫困村申请书(填写)乡(镇)人民政府:本村辖自然村个,共有农户户人,其中贫困户户人,贫困发生率为 %。
年,农民年人均纯收入元,村集体经济年收入万元。
(此处各村根据本村自然条件、基础设施建设、经济发展现状、文教卫生和社会保障情况进行简单说明)特申请为贫困村。
村委会(盖章)年月日县乡(镇)贫困村初选名单公示根据各行政村申请,于年月日召开乡(镇)党政领导班子会议,按照贫困村识别标准,结合各村贫困状况,拟定村等个行政村为贫困村。
现进行公示(名单附后)。
如有异议,请于即日起7日内向乡(镇)政府提出意见。
举报电话:附件:县乡(镇)贫困村初选名单乡(镇)人民政府(盖章)年月日附件:县乡(镇)贫困村初选名单乡(镇)人民政府关于审核确认贫困村的报告县(市、区)扶贫办:根据《全国农村扶贫对象建档立卡工作方案》要求,本乡(镇)通过行政村申请、乡(镇)党政班子会议研究,初步认定村等个村为贫困村。
现将贫困村初选名单上报(附后),请予审核。
专此报告附件:乡(镇)贫困村初选名单乡(镇)人民政府(盖章)年月日附件:乡(镇)贫困村初选名单县(市、区)贫困村审核确认情况公示根据《全国农村扶贫对象建档立卡工作方案》要求,经村委会申请和乡镇政府审核等程序,经县扶贫办研究,拟定全县(市、区)个村为贫困村(名单附后),现予以公示。
附件:县(市、区)贫困村拟定名单县(市、区)扶贫办(盖章)年月日附件:县(市、区)贫困村拟定名单。
扶贫贫困户建档立卡管理系统简称:建档立卡系统用户手册新疆虹联软件有限责任公司2006年11月目录第1章基础概念错误!未定义书签。
下拉条错误!未定义书签。
系统提示栏错误!未定义书签。
滚动条错误!未定义书签。
分窗口显示错误!未定义书签。
窗口记录排序错误!未定义书签。
默认设置错误!未定义书签。
功能限制错误!未定义书签。
第2章系统安装和卸载错误!未定义书签。
系统使用前的准备工作错误!未定义书签。
系统的安装运行环境错误!未定义书签。
硬件环境错误!未定义书签。
软件环境错误!未定义书签。
安装步骤说明错误!未定义书签。
欢迎页面错误!未定义书签。
软件许可协议书错误!未定义书签。
选择程序文件夹错误!未定义书签。
选择安装路径错误!未定义书签。
程序的安装错误!未定义书签。
安装完成错误!未定义书签。
卸载步骤说明错误!未定义书签。
第3章功能介绍错误!未定义书签。
启动系统错误!未定义书签。
系统注册错误!未定义书签。
系统登录错误!未定义书签。
菜单功能介绍错误!未定义书签。
数据维护错误!未定义书签。
贫困户管理错误!未定义书签。
情况表查询错误!未定义书签。
统计报表错误!未定义书签。
数据维护错误!未定义书签。
数据传输错误!未定义书签。
系统管理错误!未定义书签。
更改口令错误!未定义书签。
关于错误!未定义书签。
退出系统错误!未定义书签。
第4章建档立卡网络版错误!未定义书签。
系统登录错误!未定义书签。
报表查询页面错误!未定义书签。
报表查询错误!未定义书签。
报表打印错误!未定义书签。
修改用户信息错误!未定义书签。
权限管理(仅管理员有此权限)错误!未定义书签。
新增用户错误!未定义书签。
编辑用户错误!未定义书签。
角色维护错误!未定义书签。
权限维护错误!未定义书签。
取回密码错误!未定义书签。
第5章技术支持与服务错误!未定义书签。
热线咨询服务错误!未定义书签。
技术支持错误!未定义书签。
网站服务错误!未定义书签。
5天* 12小时工作制错误!未定义书签。
资助工作流程图大学学生资助管理中心工作职责及工作流程大学学生资助管理中心设2个科室:资助服务科、国家助学贷款管理中心。
各科室又设若干岗位,具体科室、岗位职责和部分事项工作流程如下:资助服务科一、资助服务科工作职责1. 宣传、解读、落实国家资助政策,服务全校家庭经济困难本专科学生;2. 组织本专科学生国家奖助学金评审工作;3. 管理职能部门设置的本专科学生勤工助学岗位,发放上岗学生的补助;4. 指导学院设置本专科学生勤工助学岗位,监督学院勤工助学专项资金的使用;5. 管理本专科学生励志奖学金、社会资助的评审、发放;6. 受理家庭经济困难本专科学生的临时困难补助申请、审核和发放;7. 办理老区贫困学生减免学费手续;8. 管理籍少数民族贫困学生资助经费;9. 开展全校家庭经济困难本专科学生诚信教育、感恩教育和励志教育;10. 完成上级有关部门安排的其它工作。
二、资助服务科工作流程(一)家庭经济困难学生建档工作流程①学生处及学生资助管理中心发布通知,向学院传达、解读资助政策;②学院向本专科学生宣传政策、讲解要求;③学生提交书面申请和相关证明材料;④学院成立评议小组,按照相关规定审查认定资格;⑤学院资助工作领导小组审查;⑥在全院围进行公示;⑦学院将认定资格的家庭经济困难学生信息按要求录入资助系统;⑧学院建立家庭经济困难学生信息档案,并由专人保管;⑨资助服务科汇总信息档案,建立全校家庭经济困难学生数据库。
(二)国家奖助学金评定、发放、管理与监督工作流程①省学生资助管理中心发布通知;②学生处及学生资助管理中心发布通知提出具体要求;③学院向学生宣传各级文件精神和评选办法;④学生提交书面申请;⑤班级学生评议小组进行评议;⑥学院评审小组初审,在全院公示初选学生三天;⑦学院将国家奖助学金学生信息按要求录入资助管理系统,纸质材料送资助服务科;⑧资助服务科审核,学生处及学生资助管理中心审批;⑨国家奖助学金评定结果在校园网上公示七天;⑩省学生资助管理中心网上审批,学生处及学生资助管理中心向省学生资助管理中心上报纸质材料;省学生资助管理中心向学校反馈获奖助学生信息;资助服务科按照财务规定办理相关手续;学校财务处直接将奖助学金划入学生个人银行;(三)管理职能部门设置勤工助学岗位工作流程①职能部门报送勤工助学岗位设置情况说明至资助服务科;②学生处及学生资助管理中心进行审核;③职能部门公开招聘;④职能部门向学生处送交《勤工助学岗位登记表》;⑤资助服务科按照学生实际上岗时间办理发放补助的相关手续;⑥学校财务处直接将勤工助学补助划入学生个人银行。
大学学生资助管理中心工作职责及工作流程大学学生资助管理中心设2个科室:资助服务科、国家助学贷款管理中心。
各科室又设若干岗位,具体科室、岗位职责和部分事项工作流程如下:资助服务科一、资助服务科工作职责1. 宣传、解读、落实国家资助政策,服务全校家庭经济困难本专科学生;2. 组织本专科学生国家奖助学金评审工作;3. 管理职能部门设置的本专科学生勤工助学岗位,发放上岗学生的补助;4. 指导学院设置本专科学生勤工助学岗位,监督学院勤工助学专项资金的使用;5. 管理本专科学生励志奖学金、社会资助的评审、发放;6. 受理家庭经济困难本专科学生的临时困难补助申请、审核和发放;7. 办理老区贫困学生减免学费手续;8. 管理籍少数民族贫困学生资助经费;9. 开展全校家庭经济困难本专科学生诚信教育、感恩教育和励志教育;10. 完成上级有关部门安排的其它工作。
二、资助服务科工作流程(一)家庭经济困难学生建档工作流程①学生处及学生资助管理中心发布通知,向学院传达、解读资助政策;②学院向本专科学生宣传政策、讲解要求;③学生提交书面申请和相关证明材料;④学院成立评议小组,按照相关规定审查认定资格;⑤学院资助工作领导小组审查;⑥在全院围进行公示;⑦学院将认定资格的家庭经济困难学生信息按要求录入资助系统;⑧学院建立家庭经济困难学生信息档案,并由专人保管;⑨资助服务科汇总信息档案,建立全校家庭经济困难学生数据库。
(二)国家奖助学金评定、发放、管理与监督工作流程①省学生资助管理中心发布通知;②学生处及学生资助管理中心发布通知提出具体要求;③学院向学生宣传各级文件精神和评选办法;④学生提交书面申请;⑤班级学生评议小组进行评议;⑥学院评审小组初审,在全院公示初选学生三天;⑦学院将国家奖助学金学生信息按要求录入资助管理系统,纸质材料送资助服务科;⑧资助服务科审核,学生处及学生资助管理中心审批;⑨国家奖助学金评定结果在校园网上公示七天;⑩省学生资助管理中心网上审批,学生处及学生资助管理中心向省学生资助管理中心上报纸质材料;⑪省学生资助管理中心向学校反馈获奖助学生信息;⑫资助服务科按照财务规定办理相关手续;⑬学校财务处直接将奖助学金划入学生个人银行;(三)管理职能部门设置勤工助学岗位工作流程①职能部门报送勤工助学岗位设置情况说明至资助服务科;②学生处及学生资助管理中心进行审核;③职能部门公开招聘;④职能部门向学生处送交《勤工助学岗位登记表》;⑤资助服务科按照学生实际上岗时间办理发放补助的相关手续;⑥学校财务处直接将勤工助学补助划入学生个人银行。
贫困户建档立卡工作示意图贫困户申请书村委会:我家住组,家庭人口人,其中有劳动能力人。
2013年家庭人均纯收入元。
特申请为贫困户。
申请人(签字):年月日村村民代表大会民主评议会议记录时间:地点:参会人数:主持人:记录人:内容:村村民代表大会民主评议统计表参考文本3村贫困户初选名单公示根据农户自愿申请,我村于年月日召开村民代表大会(参会人数人,占全村人口比例 %),民主评议评选出贫困户户人。
经村委会和驻村工作队核实汇总,初选贫困户户人,现进行公示(名单附后)。
如有异议,请从即日起7日内向村委会提出意见。
监督电话:驻村工作队代表签字:村委会(盖章)年月日村贫困户初选名单参考文本4关于审核确认贫困户的报告镇(办)人民政府:根据《扶贫开发建档立卡工作方案》要求,我村通过农户申请、村民代表大会民主评议,经村委会和驻村工作队核实,初步认定等户(人)为贫困户。
现将我村初选名单汇总上报(名单附后),请予审核。
村委会(盖章)年月日村贫困户初选名单参考文本5镇(办)贫困户审核确认情况公示根据《扶贫开发建档立卡工作方案》要求,我镇(办)对各村上报的初选贫困户户人进行了审核,同意将等户(人)拟定为贫困户,现予以公示(名单附后)。
如有异议,请从即日起7日内向本镇(办)人民政府提出意见。
监督电话:镇(办)人民政府(盖章)年月日镇(办)贫困户拟定名单参考文本6关于复审贫困户的报告区扶贫局:根据《扶贫开发建档立卡工作方案》要求,我镇(办)通过农户申请、村民代表大会民主评议、村委会和驻村工作队核实、镇(办)人民政府审核,拟定等户(人)为贫困户。
现将名单上报(名单附后),请予审核。
区镇(办)人民政府(盖章)年月日镇(办)贫困户拟定名单参考文本7区贫困户名单公告根据《扶贫开发建档立卡工作方案》要求,我区对全区拟定的贫困户户人进行了审核,同意将等户(人)确定为贫困户,现予以公告(名单附后)。
区扶贫局(盖章)年月日区贫困户名单贫困村建档立卡工作示意图及参考文本参考文本8贫困村申请书镇(办)人民政府:本村辖自然村个,共有农户户人,其中贫困户户人,贫困发生率为 %,2013年农民人均纯收入元,村集体经济收入万元。
贫困户事务操作指南一、贫困对象进入程序资料及顺序第一步:贫困户申请书;第二步:入户核查,填写入户调查表、贫困户基本情况调查表;第三步:村民代表大会民主评议(会议记录要详实,包括每一户的家庭基本信息,家庭成员生产生活情况,贫困原因等,所有拟新进入贫困户信息记录完以后,参会村民代表要对所有拟新增贫困户发表意见,至少要有五人左右);与第三步同时间:①会议签到册②会议照片③公示及名单,公示时间不少于10天④公示照片;第四步:关于审核确认贫困户的报告(应在10天公示期满后再向镇政府报告,注意时间);第五步:①新识别贫困户台账②贫困户信息登记表。
二、贫困对象退出程序资料及顺序第一步:小组提名,形成贫困户初选名单。
第二步:村民代表大会民主评议,确定拟脱贫人口名单(会议记录要详实,包括每一户的家庭基本信息、家庭成员生产生活情况、贫困原因、“两不愁三保障”解决情况、生活好转现状等,所有拟新退出贫困户信息记录完以后,参会村民代表要对所有拟退出贫困户发表意见,至少要有五人左右);与第二步同时间:①会议签到册②会议照片第三步:入户核实,填写脱贫评估验收表及可支配收入测算表。
(时间在召开民主评议会后3-5天内,且必须由驻村工作队和村委会不少于2人签字和贫困户本人签字,若本人不能签字的注明某某代签,对象本人按指纹确认。
)第四步:①公示及名单②公示照片,公示时间不少于10天第五步:贫困户退出花名册。
三、“硬伤户”剔除程序资料及顺序第一步:村民代表大会民主评议,确定剔除户名单(会议记录要详实,包括每一户的家庭基本信息、家庭成员生产生活情况、“硬伤”原因,所有拟剔除“硬伤户”信息记录完以后,参会村民代表要对所有拟剔除“硬伤户”发表意见,至少要有五人左右);与第一步同时间:①会议签到册②会议照片③公示及名单,公示时间不少于10天④公示照片;第二步:“硬伤户”剔除花名册;第三步:相关佐证资料(能够说明其“硬伤”的佐证材料如房子车子照片、家庭收入稳定、户口簿复印件等,必须要有佐证材料)。