海湾消防模块接线大全
- 格式:doc
- 大小:380.00 KB
- 文档页数:14
海湾常用83系列消防模块接线图整理汇总海湾有11个左右的消防模块,对外接线端子图相对存在差异性,不用搞不清思绪,本文将海湾常用消防模块接线图(包括:输入模块、输出模块、输入输出模块、切换模块等)进行统一整理,让你一次看个够。
一、GST-LD-8319输入模块点击图片进入GST-LD-8319输入模块产品详细页对外接线端子图如图1:图1 GST-LD-8319对外接线端子图图中端子说明如下:Z1、Z2:接控制器二总线,无极性D1、D2:接直流24V,无极性O-、O+:输出,有极性GST-LD-8319输入模块与非编码探测器串联连接时,探测器的底座上应接二极管1N5819,且输出回路终端必须接GST-LD-8320或GST-LD-8320A终端器,终端器可当探测器底座使用,即在此终端器上可安装非编码探测器,其系统构成图如图2:图2 系统构成图当终端器不作为探测器底座使用时,应加装上盖,系统构成图如图3:图3 系统构成图二、GST-LD-8300输入模块点击图片进入GST-LD-8300输入模块产品详情页本模块的外形及结构与GST-LD-8319输入模块相同,安装方法也相同,其对外端子示意如图4图4 GST-LD-8300输入模块对外端子示意图其中:Z1、Z2:与控制器信号二总线连接的端子I、G:与设备的无源常开触点(设备动作闭合报警型)连接;也可通过电子编码器设置为常闭输入模块与具有常开无源触点的现场设备连接方法如图5所示。
模块输入设定参数设为常开检线。
图5 模块与具有常开无源触点的现场设备连接方法模块与具有常闭无源触点的现场设备连接方法如图6所示,模块输入设定参数设为常闭检线。
图6 模块与具有常闭无源触点的现场设备连接方法三、GST-LD-8301输入输出模块GST-LD-8301模块的外形尺寸及结构与GST-LD-8319输入模块相同,安装方法也相同,其对外端子示意图如图7:图7 GST-LD-8319输入模块对外端子示意图其中:Z1、Z2:接火灾报警控制器信号二总线,无极性D1、D2:DC24V电源输入端子,无极性G、NG、V+、NO:DC24V有源输出辅助端子,出厂默认为有源输出:G和NG短接、V+和NO短接当需无源常开输出:应将G、NG、V+、NO之间的短路片断开。
常用海湾消防模块接线图一、GST-LD-8319输入模块对外接线端子图如图1-33:图中端子说明如下:Z1、Z2:接控制器二总线,无极性D1、D2:接直流24V,无极性O-、O+:输出,有极性GST-LD-8319输入模块与非编码探测器串联连接时,探测器的底座上应接二极管1N5819,且输出回路终端必须接GST-LD-8320或GST-LD-8320A终端器,终端器可当探测器底座使用,即在此终端器上可安装非编码探测器,其系统构成图如图1-34:当终端器不作为探测器底座使用时,应加装上盖,系统构成图如图1-35:二、GST-LD-8300输入模块本模块的外形及结构与输入模块相同,安装方法也相同,其对外端子示意如图2-29其中:Z1、Z2:与控制器信号二总线连接的端子I、G:与设备的无源常开触点(设备动作闭合报警型)连接;也可通过电子编码器设置为常闭输入模块与具有常开无源触点的现场设备连接方法如图2-30所示。
模块输入设定参数设为常开检线。
模块与具有常闭无源触点的现场设备连接方法如图2-31所示,模块输入设定参数设为常闭检线。
三、GST-LD-8301输入输出模块GST-LD-8301模块的外形尺寸及结构与GST-LD-8319输入模块相同,安装方法也相同,其对外端子示意图如图2-32:其中:Z1、Z2:接火灾报警控制器信号二总线,无极性D1、D2:DC24V电源输入端子,无极性G、NG、V+、NO:DC24V有源输出辅助端子,出厂默认为有源输出:G和NG短接、V+和NO短接当需无源常开输出:应将G、NG、V+、NO之间的短路片断开。
I、G:与被控制设备无源常开触点连接,用于实现设备动作回答确认(也可通过电子编码器设为常闭输入或自回答)COM、S-:有源输出端子,启动后输出DC24V,COM为正极、S-为负极COM、NO:无源常开输出端子模块输入端如果设置为“常开检线”状态输入,模块输入线末端(远离模块端)必须并联一个4.7kΩ的终端电阻;模块输入端如果设置为“常闭检线”状态输入模块输入线末端(远离模块端)必须串联一个4.7kΩ的终端电阻。
常用海湾消防模块接线图一、GST-LD-8319输入模块对外接线端子图如图1-33:图中端子说明如下:Z1、Z2:接控制器二总线,无极性D1、D2:接直流24V,无极性O-、O+:输出,有极性GST-LD-8319输入模块与非编码探测器串联连接时,探测器的底座上应接二极管1N5819,且输出回路终端必须接GST-LD-8320或GST-LD-8320A终端器,终端器可当探测器底座使用,即在此终端器上可安装非编码探测器,其系统构成图如图1-34:当终端器不作为探测器底座使用时,应加装上盖,系统构成图如图1-35:二、GST-LD-8300输入模块本模块的外形及结构与GST-LD-8319输入模块相同,安装方法也相同,其对外端子示意如图2-29其中:Z1、Z2:与控制器信号二总线连接的端子I、G:与设备的无源常开触点(设备动作闭合报警型)连接;也可通过电子编码器设置为常闭输入模块与具有常开无源触点的现场设备连接方法如图2-30所示。
模块输入设定参数设为常开检线。
模块与具有常闭无源触点的现场设备连接方法如图2-31所示,模块输入设定参数设为常闭检线。
三、GST-LD-8301输入输出模块GST-LD-8301模块的外形尺寸及结构与GST-LD-8319输入模块相同,安装方法也相同,其对外端子示意图如图2-32:其中:Z1、Z2:接火灾报警控制器信号二总线,无极性D1、D2:DC24V电源输入端子,无极性G、NG、V+、NO:DC24V有源输出辅助端子,出厂默认为有源输出:G和NG短接、V+和NO短接当需无源常开输出:应将G、NG、V+、NO之间的短路片断开。
I、G:与被控制设备无源常开触点连接,用于实现设备动作回答确认(也可通过电子编码器设为常闭输入或自回答)COM、S-:有源输出端子,启动后输出DC24V,COM为正极、S-为负极COM、NO:无源常开输出端子模块输入端如果设置为“常开检线”状态输入,模块输入线末端(远离模块端)必须并联一个4.7kΩ的终端电阻;模块输入端如果设置为“常闭检线”状态输入模块输入线末端(远离模块端)必须串联一个4.7kΩ的终端电阻。
海湾经常使用83系列消防模块接线图整理汇总有11个左右的,对外接线端子图相对存在不同性,不用弄不清思绪,本文将海湾经常使用消防模块接线图(包括:输入模块、输出模块、输入输出模块、切换模块等)进行统一整理,让你一次看个够。
一、点击图片进入输入模块产品详细页对外接线端子图如图1:图1 GST-LD-8319对外接线端子图图中端子说明如下:Z一、Z2:接操纵器二总线,无极性D一、D2:接直流24V,无极性O-、O+:输出,有极性GST-LD-8319输入模块与非编码探测器串联连接时,探测器的底座上应接二极管1N5819,且输出回路终端必需接GST-LD-8320或GST-LD-8320A终端器,终端器可当探测器底座利用,即在此终端器上可安装非编码探测器,其系统组成图如图2:图2 系统组成图当终端器不作为探测器底座利历时,应加装上盖,系统组成图如图3:图3 系统组成图二、点击图片进入GST-LD-8300输入模块产品详情页本模块的外形及结构与GST-LD-8319输入模块相同,安装方式也相同,其对外端子示意如图4图4 GST-LD-8300输入模块对外端子示用意其中:Z一、Z2:与操纵器信号二总线连接的端子I、G:与设备的无源常开触点(设备动作闭合报警型)连接;也可通过电子编码器设置为常闭输入模块与具有常开无源触点的现场设备连接方式如图5所示。
模块输入设定参数设为常开检线。
图5 模块与具有常开无源触点的现场设备连接方式模块与具有常闭无源触点的现场设备连接方式如图6所示,模块输入设定参数设为常闭检线。
图6 模块与具有常闭无源触点的现场设备连接方式三、GST-LD-8301模块的外形尺寸及结构与GST-LD-8319输入模块相同,安装方式也相同,其对外端子示用意如图7:图7 GST-LD-8319输入模块对外端子示用意其中:Z一、Z2:接火灾报警操纵器信号二总线,无极性D一、D2:DC24V电源输入端子,无极性G、NG、V+、NO:DC24V有源输出辅助端子,出厂默以为有源输出:G和NG短接、V+和NO短接当需无源常开输出:应将G、NG、V+、NO之间的短路片断开。
海湾消防模块接线大全海湾报警之家 / 2012-09-29本文将重点介绍海湾品牌的常用消防模块接线图,包括:输入输出模块、输入模块、输出模块等。
一、GST-LD-8319输入模块对外接线端子图如图1-33:图中端子说明如下:Z1、Z2:接控制器二总线,无极性D1、D2:接直流24V,无极性O-、O+:输出,有极性GST-LD-8319输入模块与非编码探测器串联连接时,探测器的底座上应接二极管1N5819,且输出回路终端必须接GST-LD-8320或GST-LD-8320A终端器,终端器可当探测器底座使用,即在此终端器上可安装非编码探测器,其系统构成图如图1-34:当终端器不作为探测器底座使用时,应加装上盖,系统构成图如图1-35:二、GST-LD-8300输入模块本模块的外形及结构与GST-LD-8319输入模块相同,安装方法也相同,其对外端子示意如图2-29其中:Z1、Z2:与控制器信号二总线连接的端子I、G:与设备的无源常开触点(设备动作闭合报警型)连接;也可通过电子编码器设置为常闭输入模块与具有常开无源触点的现场设备连接方法如图2-30所示。
模块输入设定参数设为常开检线。
模块与具有常闭无源触点的现场设备连接方法如图2-31所示,模块输入设定参数设为常闭检线。
三、GST-LD-8301输入输出模块GST-LD-8301模块的外形尺寸及结构与GST-LD-8319输入模块相同,安装方法也相同,其对外端子示意图如图2-32:其中:Z1、Z2:接火灾报警控制器信号二总线,无极性D1、D2:DC24V电源输入端子,无极性G、NG、V+、NO:DC24V有源输出辅助端子,出厂默认为有源输出:G和NG短接、V+和NO短接当需无源常开输出:应将G、NG、V+、NO之间的短路片断开。
I、G:与被控制设备无源常开触点连接,用于实现设备动作回答确认(也可通过电子编码器设为常闭输入或自回答)COM、S-:有源输出端子,启动后输出DC24V,COM为正极、S-为负极COM、NO:无源常开输出端子模块输入端如果设置为“常开检线”状态输入,模块输入线末端(远离模块端)必须并联一个4.7kΩ的终端电阻;模块输入端如果设置为“常闭检线”状态输入模块输入线末端(远离模块端)必须串联一个4.7kΩ的终端电阻。
常用海湾消防模块接线图、GST-LD-8319 输入模块对外接线端子图如图1-33 :蔓1-33图中端子说明如下:Z1、Z2 :接控制器二总线,无极性D1、D2 :接直流24V,无极性O-、O+ :输出,有极性GST-LD-8319输入模块与非编码探测器串联连接时,探测器的底座上应接二极管1N5819,且输岀回路终端必须接GST-LD-8320 或GST-LD-8320A 终端器,终端器可当探测器底座使用,即在此终端器上可安装非编码探测器,其系统构成图如图1-34 :二极昔二极管Dt D2 Zt Z2 0- 0--O输入模块非編码融1器非蝙码探测器I 1-34当终端器不作为探测器底座使用时,应加装上盖,系统构成图如图1-35 :非編码探测器 非編码探测器 终端黠Z 1-35、GST-LD-8300 输入模块本模块的外形及结构与 GST-LD-8319 输入模块相同,安装方法也相同,其对外端子示意如图2-29Z1 22 I G圏 2-29其中:Z1、Z2 :与控制器信号二总线连接的端子I 、G :与设备的无源常开触点(设备动作闭合报警型)连接;也可通过电子编码器设置为常闭输入 模块与具有常开无源触点的现场设备连接方法如图2-30所示。
模块输入设定参数设为常开检线。
二扱管 二极营0 O输入模块2-31G3T*LD-S30tI E常闭融点现场设备匡2-31GST-LD-8301GST-LD-8301 GST-LD-83192-32Z1 Z2 D1 D2 G NG W NO J G COM S-图2*32Z1 Z2D1 D2 DC24VG NG V+ NO DC24VG NG V+ NOI GG NG V+ NOCOM S-COM NODC24V COM S-,G NG V+ NOIN4007a.)2-34)COM S-4.7k4.7k4.7k2-33(图2-33GND ------------ 'Z! ---------------Z2 --------------图2-34b.模块无源输出触点控制设备的接线示意图如图2-35(无源常开检线输入)、图2-36所示(无源常闭检线输入):^2- 36四、GST-LD-8303 输入输出模块模块的安装方法与GST-LD-8319输入模块相同,其对外端子示意图如图2-45 :21 1201 D2 II G 12 G S1+ S1- S2+ S2-S 2- 45其中:Z1、Z2 :接火灾报警控制器信号二总线,无极性D1、D2 : DC24V电源输入端子,无极性I1、G I2、GS1+ 、S1- :第一路有源输出端子S2+、S2- :第二路有源输出端子4.7k)必须串联一个 4.7kJ 4.7k串联一个IN4007 二极管。
现场设备接线简图
1、GST-LD-8300型输入模块:
2、GST-LD-8301型输入/输出模块:
3、GST-LD-8303型输入/输出模块:
4、GST-LD-8313型隔离器:
5、电话系统(GST-LD-8304)接线示意图:
注意:电话分机与电话插孔的电话线要分开走。
6、J-SAM-GST9122型手动火灾报警按钮:
G Z1Z2
L2
7、HX-100B 型火灾声光报警器: 8、ZF-101型火灾显示盘:
注意:A ,B 线有极性要求,A “+”;B “-”。
ZF-500型火灾显示盘接线方式同ZF-101型。
9、J-SAM-GST9123型消火栓按钮: 10、J-SAM-GST9124型消火栓按钮: 11、直控盘接线方法:
注意:当现场的被控多线制设备控制箱没有自锁时,从控制室到现场设备3根线,
当现场的被控多线制设备控制箱有自锁时,从控制室到现场设备5根线(停止无回答)。
12、广播系统(GST-LD-8305)接线示意图:
13、气体灭火系统:
此接线指导只是就常用设备常用接法所作简图,具体全面的接法请参阅应用设计说明书。
布线说明:
信号二总线:采用ZRRVS截面积≥1.0mm2
DC24V电源线:竖井及室外采用ZRBV截面积≥4.0mm2
平面采用ZRBV截面积≥2.5mm2
RS-485通讯二总线(层显通讯线及控制器联网通讯线):
采用ZRRVSP屏蔽双绞线截面积≥1.0mm2
消防广播二总线:采用ZRBV线截面积≥1.5mm2
消防电话二总线:采用ZRRVVP2*1.0mm2
多线制控制线:采用NH-KVV7*1.5mm2。
经常使用海湾消防模块接线图一、GST-LD-8319输入模块对外接线端子图如图1-33:图中端子说明如下:Z一、Z2:接操纵器二总线,无极性D一、D2:接直流24V,无极性O-、O+:输出,有极性GST-LD-8319输入模块与非编码探测器串联连接时,探测器的底座上应接二极管1N5819,且输出回路终端必需接GST-LD-8320或GST-LD-8320A终端器,终端器可当探测器底座利用,即在此终端器上可安装非编码探测器,其系统组成图如图1-34:当终端器不作为探测器底座利历时,应加装上盖,系统组成图如图1-35:二、GST-LD-8300输入模块本模块的外形及构造与输入模块一样,安装方式也一样,其对外端子示意如图2-29其中:Z一、Z2:与操纵器信号二总线连接的端子I、G:与设备的无源常开触点〔设备动作闭合报警型〕连接;也可通过电子编码器设置为常闭输入模块与具有常开无源触点的现场设备连接方式如图2-30所示。
模块输入设定参数设为常开检线。
模块与具有常闭无源触点的现场设备连接方式如图2-31所示,模块输入设定参数设为常闭检线。
三、GST-LD-8301输入输出模块GST-LD-8301模块的外形尺寸及构造与GST-LD-8319输入模块一样,安装方式也一样,其对外端子示用意如图2-32:其中:Z一、Z2:接火灾报警操纵器信号二总线,无极性D一、D2:DC24V电源输入端子,无极性G、NG、V+、NO:DC24V有源输出辅助端子,出厂默以为有源输出:G和NG短接、V+和NO短接当需无源常开输出:应将G、NG、V+、NO之间的短路片断开。
I、G:与被操纵设备无源常开触点连接,用于实现设备动作回答确认〔也可通过电子编码器设为常闭输入或自回答〕COM、S-:有源输出端子,启动后输出DC24V,COM为正极、S-为负极COM、NO:无源常开输出端子模块输入端若是设置为“常开检线〞状态输入,模块输入线结尾〔远离模块端〕必需并联一个Ω的终端电阻;模块输入端若是设置为“常闭检线〞状态输入模块输入线结尾〔远离模块端〕必需串联一个Ω的终端电阻。
常用海湾消防模块接线图沃特消防网 / 2012-09-27本文将重点介绍海湾品牌的常用消防模块接线图,包括: 输入输岀模块、输入模块、输岀模块等。
一、GST-LD-8319 输入模块 对外接线端子图如图1-33 :图 1-33图中端子说明如下:Z1、Z2 :接控制器二总线,无极性 D1、D2 :接直流24V ,无极性 O-、O+ :输出,有极性GST-LD-8319输入模块与非编码探测器串联连接时,探测器的底座上应接二极管1N5819,且输岀回路终端必须接GST-LD-8320 或GST-LD-8320A 终端器,终端器可当探测器底座使用,即在此终端器上可安装 非编码探测器,其系统构成图如图1-34 :菲编码搁W 蛊菲編码探测器 谿靖器当终端器不作为探测器底座使用时,应加装上盖,系统构成图如图二概管 二根管X0-辅入模块1-35 :、GST-LD-8300 输入模块本模块的外形及结构与 GST-LD-8319 输入模块相同,安装方法也相同,其对外端子示意如图2-2921 Z2 I G图 2- 29其中:Z1、Z2 :与控制器信号二总线连接的端子I 、G :与设备的无源常开触点(设备动作闭合报警型)连接;也可通过电子编码器设置为常闭输入 模块与具有常开无源触点的现场设备连接方法如图2-30所示。
模块输入设定参数设为常开检线。
二极管二根管O 0輸入模块非扁码探测器S 1-35GST-LD-S315S 2- 30模块与具有常闭无源触点的现场设备连接方法如图2-31所示,模块输入设定参数设为常闭检线。
三、GST-LD-8301 输入输出模块GST-LD-8301模块的外形尺寸及结构与 GST-LD-8319输入模块相同,安装方法也相同,其对外端子示意 图如图2-32 :----------------------- 1-----------------------Z1 Z2IG1丰苫暫忑k常闭触授 现场设备Z1 22 DI D2 G FJG V+ NO I G COM S-® 2-32其中:Z1、Z2 :接火灾报警控制器信号二总线,无极性D1、D2 : DC24V电源输入端子,无极性G、NG、V+、NO : DC24V有源输出辅助端子,出厂默认为有源输出:G和NG短接、V+和NO短接当需无源常开输出:应将G、NG、V+、NO之间的短路片断开。
8305输出模块接线示意图(用于广播)
8300输入模块接线示意图
(用于信号阀、水流指示器、70。
防火阀、压力开关)
8301输入/输出模块接线示意图
(用于电梯、强电控制箱、卷帘门、送风口、280。
防火阀)
常开触点
反馈线
8301输入/输出模块有源启动接线示意图
(用于电梯、强电控制箱、卷帘门、送风口、280。
防火阀)
接设备箱控制点
接设备箱反馈点
8301输入/输出模块无源启动接线示意图
(用于电梯、强电控制箱、卷帘门、送风口、280。
防火
阀)
接设备箱控制点
8304消防电话接口
(用于电梯机房、水泵房、风机房、报警阀间)
接主机电话线
8304消防电话接口
(用于手动报警按钮插孔电话前端,手报应少于100只)
风机终端器接线图。
常用海湾消防模块接线图汇总海湾消防是指对石油化工及危险品等行业中海湾装置内发生的火灾进行消灭、控制及阻隔火势蔓延的一种消防方式。
为了实现海湾消防的目标,需要采用具备可靠性、稳定性、安全性及灵活性的海湾消防模块。
本文档旨在为消防从业人员提供常用的海湾消防模块接线图汇总,以帮助消防从业人员正确、快速地安装和使用海湾消防模块。
海湾消防模块接线图模块1:气溶胶消防模块接线图接线图如下:┌───人员呼叫控制器─┐ ┌───气溶胶控制器─┐ │ └──────────连接线────┤ └───连接线────消防气瓶│ │ │ ┌───火灾报警控制器───连接线────┤ │ │ │ │ │ │ │ │ │ │ │ │ └───────连接线──┤ │ 楼层备件区│ ││ │└───────连接线───火灾探测器─┘模块2:消防水霧消防模块接线图接线图如下:消防水泵水泵起点│ ││ │┌─┘ ┌─┘│ ┌───────连接器───────┐│ │ ││ │ ┌───消防水雾室内监控器─┐└───────┤ │ └──连接线────火灾探测器│ │ │└─┤ ┌───消防水雾室内喷头──┤──连接线───火灾探测器│ │ ││ └───消防水雾室外喷头───┘│ │└──连接线───连接器─────┘消防水源模块3:干粉消防模块接线图接线图如下:┌──────火灾探测器连接线──┐│ ││ │┌──┴───连接线─干粉控制柜─连接线───干粉容器───消防喷头│ │ │ ││ │ └───────连接线─火灾探测器────┘│ ││ ││ └───超声波或光纤极限水位开关│││ │└──连接线────消防水源模块4:泡沫消防模块接线图接线图如下:变频器││消防水泵启停器││ ││ ││ ┌──┴──┐│ │箱式泡沫灭火器││ │ └───连接线───消防喷头│ │消防水泵│ └──连接线───泡沫喷头│ ││ │└─────┼────────────────────连接线────消防供水管阀门│冷却水源以上是消防模块常用的接线图汇总,希望能对消防从业人员在日常工作中提供便利,为海湾安全保驾护航。
常用海湾消防模块接线图一、GST-LD-8319输入模块对外接线端子图如图1-33:图中端子说明如下:Z1、Z2:接控制器二总线,无极性D1、D2:接直流24V,无极性O-、O+:输出,有极性GST-LD-8319输入模块与非编码探测器串联连接时,探测器的底座上应接二极管1N5819,且输出回路终端必须接GST-LD-8320或GST-LD-8320A终端器,终端器可当探测器底座使用,即在此终端器上可安装非编码探测器,其系统构成图如图1-34:当终端器不作为探测器底座使用时,应加装上盖,系统构成图如图1-35:二、GST-LD-8300输入模块本模块的外形及结构与GST-LD-8319输入模块相同,安装方法也相同,其对外端子示意如图2-29其中:Z1、Z2:与控制器信号二总线连接的端子I、G:与设备的无源常开触点(设备动作闭合报警型)连接;也可通过电子编码器设置为常闭输入模块与具有常开无源触点的现场设备连接方法如图2-30所示。
模块输入设定参数设为常开检线。
模块与具有常闭无源触点的现场设备连接方法如图2-31所示,模块输入设定参数设为常闭检线。
三、GST-LD-8301输入输出模块GST-LD-8301模块的外形尺寸及结构与GST-LD-8319输入模块相同,安装方法也相同,其对外端子示意图如图2-32:其中:Z1、Z2:接火灾报警控制器信号二总线,无极性D1、D2:DC24V电源输入端子,无极性G、NG、V+、NO:DC24V有源输出辅助端子,出厂默认为有源输出:G和NG短接、V+和NO短接当需无源常开输出:应将G、NG、V+、NO之间的短路片断开。
I、G:与被控制设备无源常开触点连接,用于实现设备动作回答确认(也可通过电子编码器设为常闭输入或自回答)COM、S-:有源输出端子,启动后输出DC24V,COM为正极、S-为负极COM、NO:无源常开输出端子模块输入端如果设置为“常开检线”状态输入,模块输入线末端(远离模块端)必须并联一个4.7kΩ的终端电阻;模块输入端如果设置为“常闭检线”状态输入模块输入线末端(远离模块端)必须串联一个4.7kΩ的终端电阻。
消防模块作为火灾自动报警及消防联动控制系统中不可或缺的组成部分,是消防联动控制器与其所连接的受控设备或部件之间信号传输的重要媒介,也是系统正常发挥作用的桥梁和保证。
本文中,将详细介绍下列模块的接线方法:
GST-LD-8300型输入模块
GST-LD-8301型输入/输出模块
GST-LD-8303型输入/输出模块
GST-LD-8304型消防电话接口模块
GST-LD-8305型扬声器监视模块
HX-200B型火灾声光警报器
1、8300模块与具有无源常开触点的现场设备接线方法:
2、8300模块与具有无源常闭触点的现场设备接线方法:
9、8303型消防电话接口接线方法:
10、8305扬声器监视模块(两线制广播模块,可检测扬声器丢失)接线方法:
11、HX-200B声光警报器接线方法:
注意事项:
1、8301、8303模块的输出触点容量是DC24V/2A,适用于12V~48V的直流或交流;
2、部分防火卷帘控制器、电梯控制箱等设备因其启动电流微小,容易受到线路干扰,建议830
3、8301模块和被控设备间加中间继电器;
3、接线图中的电阻均作为检线使用,需配接于设备端。
海湾消防模块接线大全
海湾报警之家/ 2012-09-29
本文将重点介绍海湾品牌的常用消防模块接线图,包括:输入输出模块、输入模块、输出模块等。
一、GST-LD-8319输入模块
对外接线端子图如图1-33:
图中端子说明如下:
Z1、Z2:接控制器二总线,无极性
D1、D2:接直流24V,无极性
O-、O+:输出,有极性
GST-LD-8319输入模块与非编码探测器串联连接时,探测器的底座上应接二极管1N5819,且输出回路终端必须接GST-LD-8320或GST-LD-8320A终端器,终端器可当探测器底座使用,即在此终端器上可安装非编码探测器,其系统构成图如图1-34:
当终端器不作为探测器底座使用时,应加装上盖,系统构成图如图1-35:
二、GST-LD-8300输入模块
本模块的外形及结构与GST-LD-8319输入模块相同,安装方法也相同,其对外端子示意如图2-29
其中:
Z1、Z2:与控制器信号二总线连接的端子
I、G:与设备的无源常开触点(设备动作闭合报警型)连接;也可通过电子编码器设置为常闭输入
模块与具有常开无源触点的现场设备连接方法如图2-30所示。
模块输入设定参数设为常开检线。
模块与具有常闭无源触点的现场设备连接方法如图2-31所示,模块输入设定参数设为常闭检线。
三、GST-LD-8301输入输出模块
GST-LD-8301模块的外形尺寸及结构与GST-LD-8319输入模块相同,安装方法也相同,其对外端子示意图如图2-32:
其中:
Z1、Z2:接火灾报警控制器信号二总线,无极性
D1、D2:DC24V电源输入端子,无极性
G、NG、V+、NO:DC24V有源输出辅助端子,出厂默认为有源输出:G和NG 短接、V+和NO短接当需无源常开输出:应将G、NG、V+、NO之间的短路片断开。
I、G:与被控制设备无源常开触点连接,用于实现设备动作回答确认(也可通过
电子编码器设为常闭输入或自回答)
COM、S-:有源输出端子,启动后输出DC24V,COM为正极、S-为负极COM、NO:无源常开输出端子
模块输入端如果设置为“常开检线”状态输入,模块输入线末端(远离模块端)必须并联一个4.7kΩ的终端电阻;模块输入端如果设置为“常闭检线”状态输入模块输入线末端(远离模块端)必须串联一个4.7kΩ的终端电阻。
模块为有源输出时,G 和NG、V+、NO应该短接,COM、S-有源输出端应并联一个4.7kΩ的终端电阻,并串联一个IN4007二极管。
a.模块通过有源输出直接驱动一台排烟口或防火阀等(电动脱扣式)设备的接线示意图如图2-33(无源常开检线输入)、图2-34所示(无源常闭检线输入):
b.模块无源输出触点控制设备的接线示意图如图2-35(无源常开检线输入)、图2-36所示(无源常闭检线输入):
四、GST-LD-8303输入输出模块
模块的安装方法与GST-LD-8319输入模块相同,其对外端子示意图如图2-45:
其中:
Z1、Z2:接火灾报警控制器信号二总线,无极性
D1、D2:DC24V电源输入端子,无极性
I1、G:第一路无源输入端(可通过电子编码器设为常开检线、常闭检线、自回答方式)
I2、G:第二路无源输入端(可通过电子编码器设为常开检线、常闭检线、自回答方式)
S1+、S1-:第一路有源输出端子
S2+、S2-:第二路有源输出端子
模块输入端如果设置为“常开检线”状态输入,模块输入线末端(远离模块端)必须并联一个4.7kΩ的终端电阻;模块输入端如果设置为“常闭检线”状态输入模块输入线末端(远离模块端)必须串联一个4.7kΩ的终端电阻。
模块为有源输出时,有源输出端应并联一个4.7kΩ的终端电阻,并串联一个IN4007二极管。
a.模块与防火卷帘门电气控制箱(标准型)接线示意图如图2-46(无源常开检线输入)、图2-47所示(无源常闭检线输入):
b.GST-LD-8303型模块与GST-LD-8302A型模块组合连接的方法如图2-48所示:
五、GST-LD-8302切换模块
切换对外端子示意图如图2-40:
其中:
NC、COM、NO:常闭、常开控制触点输出端子
O、G:有源DC24V控制信号输入端子,输入无极性
驱动交流型设备的方法如图2-41所示:
六、GST-LD-8313隔离器
隔离器的外形尺寸及结构与GST-LD-8319输入模块相同,安装方法也相同,一般安装在总线的分支处,可直接串联在总线上,其端子示意图如图2-54:
其中:
Z1、Z2:无极性信号二总线输入端子
ZO1、ZO2:无极性信号二总线输出端子,动作电流为100mA
七、GST-LD-8321中继模块
对外接线端子图如图2-56:
其中:
24VIN:DC24V电源无极性输入端子,电源与中继器的输出总线共地。
Z1IN、Z2IN:无极性信号二总线输入端子,与控制器无极性信号二总线输出连接,距离应小于1000m。
Z1O、Z2O:隔离无极性两总线输出端子,总线最大长度应小于1000m。
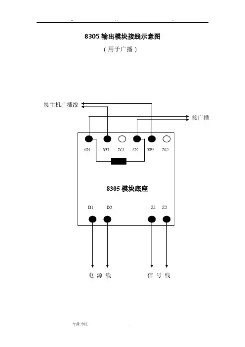
八、GST-LD-8305输出模块
GST-LD-8305型模块的外形尺寸及结构与GST-LD-8319输入模块相同,安装方法也相同,其对外端子示意图如图7-13:
其中:
Z1、Z2:接火灾报警控制器信号二总线,无极性D1、D2:DC24V电源输入端子,无极性
ZC1、ZC2:正常广播线输入端子
XF1、XF2:消防广播线输入端子
SP1、SP2:与放音设备连接的输出端子
系统接线图如图7-14所示。
下一篇:海湾消火栓按钮接线图。