公司劳动合同管理制度及流程图
- 格式:doc
- 大小:70.00 KB
- 文档页数:8
节选公司《人力资源管理制度》第九章员工关系管理第一节劳动合同管理1.依据《劳动法》有关规定,员工与企业在平等自愿、协商一致的基础上签订劳动合同,明确双方的责任、权利和义务,以法律形式确定双方的劳动关系。
2.为确立公司与员工的劳动关系,明确双方的权利与义务,公司实施全员劳动合同制管理。
公司不与尚未与原单位解除劳动关系的人员签订劳动合同。
3.劳动合同的签订3.1新聘员工,公司将根据岗位性质与员工劳动关系,予以用工。
3.2 公司根据岗位实际情况,与员工签订有固定期及无固定期限劳动合同,具体如下:一年期劳动合同:适用于一般员工;二年期劳动合同:适用于公司急需人才、在校园特殊招聘的人员;三年期劳动合同:适用于公司中层以上管理人员;无固定期限劳动合同:适用于在合资公司连续工作十年以上的员工,双方同意续延劳动合同时,如员工提出订立无固定期限的劳动合同,经公司同意,可签订无固定期劳动合同。
4.劳动合同的变更4.1劳动合同履行过程中,公司调整员工的岗位,则劳动合同约定的工作内容相应变更,公司将不再另行与员工变更劳动合同,以《岗位变动通知书》为准。
4.2岗位变更,公司与员工双方达不成一致的,公司可以与员工协商解除劳动合同。
5.劳动合同的续签5.1劳动合同期满,双方均可决定续签或不续签劳动合同。
5.2续签劳动合同,公司将根据生产经营运作的实际需要,合同到期员工本人意愿及是否符合岗位条件等,提出是否续签的意见,并以书面形式告知员工。
6.辞职6.1在合同期内,员工申请辞职,需提前30天向公司提出书面申请,经批准,并按公司有关规定办理离职手续。
6.2员工如未按规定提前通知公司,给公司造成经济损失的,应根据合同的约定及国家有关法规承担违约责任。
7.劳动合同终止7.1劳动合同期满或者当事人约定的劳动合同终止条件出现,劳动合同即行终止。
7.2与员工终止劳动合同,公司提前30天以书面形式告知员工,并按劳动法相关规定办理。
7.3 劳动合同终止,员工应按公司有关规定办理离职手续。
xhminxhmin岗位设置管理流程流程岗位设置管理编码受控状态名称流程履行中心部门行政人力资控制部门总经办源部行为实行环节各职能部门行政人力资源部总经办总经理依据公司发展战略进行职能分解和机构设置依据人力工作资源规划剖析确立编制否审察是否管理行为职责区分与建议岗位设置是制作职务说明书否建议是薪酬设计薪酬估算实行有关说明编制人员审察人员编制日期审察日期否否审察审批是是赞同人员赞同日期流程名称行为实行环节人员编制管理流程各用人部门xhminxhmin· 人员编制管理流程编码受控状态履行中心部门行政人力资控制部门总经办源部行政人力资源部总经理办公会议总经理进行各部门工作量剖析否对本部门编制提出建议提出编制草案拟订详细的人员编制,并编制职位说明审议是管理行为有关说明编制人员编制日期否是审察签批否是履行编制审察人员赞同人员审察日期赞同日期·流程增添编制申请名称流程行为实行环节各用人部门提出增添编制的申请提出增编岗位人员素质要求管理行为有关说明编制人员编制日期编码受控状态履行中心部门各用人部门控制部门总经办行政人力资源部总经理办公会议总经理否否是是审察审议审批否是内部招聘流程内聘决议外聘外部招聘流程审察人员赞同人员审察日期赞同日期·用人申请流程流程名称行为实行环节管理行为用人申请编码流程履行中心部门用人部门部门负责人保持现状不影因调换、流响失等原由出工现职位空缺作报告部门负责人判断影响工作填写用人申请表受控状态用人部门控制部门分管经理分管部门行政人力资源部否是审察核实否是实行招聘流程有关说明编制人员审察人员赞同人员编制日期审察日期赞同日期· 公司内部招聘流程xhminxhmin流程公司内部招聘编码受控状态名称流程履行中心部门行政人力资控制部门源部行为实行用人部门行政人力资源部公司职工环节公司外面招聘用工申请程序流程决定外聘判断决定内聘对内公布招聘报名,填写应启事聘登记表管理行为用人部门面试,人力资源部供给有关支持面试人员挑选通知职员,并办理调换手续有关说明编制人员审察人员赞同人员编制日期审察日期赞同日期总经办职工原到任部门与职工沟通,必需时请人力资源部协调关键人员不能调离判断非关键人员名称流程履行中心部门行政人力资控制部门总经办源部行为实行用人部门行政人力资源部应聘人员分管经理环节总经办公司内部招聘程序用工申请流程决定内聘判断决定外聘对外公布招聘报名,填写应启事聘登记表管理行为用人部门面试,人力资源部供给有关支持面试否人员挑选审察是通知报到报到入职流程有关说明编制人员审察人员赞同人员编制日期审察日期赞同日期·流程新职工入职编码受控状态名称流程履行中心部门行政人力资源控制部门总经办部行为实行行政人力资源部用人部门环节新职工建档工作证办理发放职工手册配合行政部办理后勤工作管理制度培训行为人力资源部和用人部门配合进行岗前培训签署试用合同工作关系介绍工作交接存档试用试用职工转正流程有关说明编制人员审察人员赞同人员编制日期审察日期赞同日期· 劳动合同管理流程名称流程行为实行有关职工环节新职工报到入职试用期满管理合同期满行为能否续签合同否有关说明编制人员编制日期xhminxhmin履行中心部门行政人力资源部部门负责人分管领导不合格查核合格是审察人员审察日期·新职工试用期满转正流程控制部门总经办行政人力资源部签署试用合同解雇流程签校正式合同劳动仲裁机构署名存案存档办理离职手续赞同人员赞同日期行为实行用人部门试用期满新职工行政人力资源部分管经理厂长环节总经办填写转正申请转正查核评估否是是是管理能否审审察行为合格批否是否能否延伸试用期留用否签校正式合同员工解雇流程劳动仲裁机构署名存案存档有关说明编制人员审察人员赞同人员编制日期审察日期赞同日期·部行为实行职工原工作部门公司职工行政人力资源部接收部门环节负责人负责人依据职工职业生涯规对轮换提出划,编制轮对轮换提出建议建议换计划否否能否能否赞同赞同是否是管理征采职工意能否见行为赞同是填写轮换表办理手续做好工作安排,准备接收工作安排向原部门、接收和交接接收部门下达通知报到流程档案记录有关说明编制人员审察人员赞同人员编制日期审察日期赞同日期·名称行为实行环节管理行为流程被调换职工调换申请工作交接xhminxhmin履行中心部门人力资资部控制部门总经办调出部门调入部门行政人力资总经理源部否否否否审批审批审批审批超越是是权限是是下发调动通知职工关系职工接竣工移交作安排薪资关系调整档案记录有关说明编制人员审察人员赞同人员编制日期审察日期赞同日期·职务委任流程流程职务委任编码受控状态名称行为实行环节管理行为流程履行中心部门各职能部门行政人力资源部制定荣膺制度及各级人员任职资格提出任命名单(部门负责人以下职观察位)是否xhminxhmin行政人力资源控制部门部总经理办总经理公会议否否审议审批是是否审议是提请任命主管、财务负责人总经办董事会否签发是委任公司经理下发委任通知否审议否下发任是委任除财务命通知负责人以外审议的部门级管理人员存档存案是有关说明委任权限依据《公司法》而定。
8.6合同管理内部控制流程图合同业务管控一、合同业务管控范围、目标与职责合同管控是指对本局及下属单位有关经济合同的草拟、会签、审批、签订、执行以及持续监督的工作流程做出规范,明确了合同管理方面的各项具体工作,旨在降低和避免合同中存在的风险。
(一)控制目标1.经济合同订立、履行、变更以及纠纷处理等合法合规。
2.拟定相关的控制措施,规避合同风险的产生。
3.为经济活动合法合规提供合理保障。
(二)相关制度1.《中华人民共和国合同法》2.《合同管理制度》(三)职责分工1.局主管领导。
负责对合同签订的审核,出具审核意见。
确定项目合同及其修改的签署、合同纠纷的处理审批等。
2.合同业务经办部门。
负责合同会签及提出相关意见;所经办合同的资信调查、谈判、起草和签订,并对合同的可行性负责;合同变更或解除的经济性评价;所经办合同的履行、变更、解除、验收及结算业务;搜集整理所经办合同在签订、履行、变更、终止和解除中的有关资料;及时记录合同的基本内容及合同的订立、履行、变更、解除等情况,建立合同台账;负责保管合同的订立、履行、变更、解除和纠纷处理等执行过程中所形成的全部资料,建立合同档案;履行合同约定义务,定期检查合同的履行情况,真实、准确填写合同签订、履行情况表,并及时向计财科和办公室报送合同及报表;发生合同争议时及时向办公室法务专员和分管领导等汇报;负责或参与争议及诉讼处理,并及时提供处理争议的有关证据。
3.法制科。
负责完善合同管理制度修订;合同合规性和合法性审查;负责提交合同示范文本,履行合同审批程序;合同法律纠纷处理,提交合同纠纷处理报告;经济活动涉及法律事务的办理等。
4.办公室。
合同文本归档、合同信息的统计分析;合同的编号、台账工作及档案管理;合同专用章使用与保管。
5.财务科/室。
参与重大经济项目合同会签及合同修改签署;负责与合同管理部门进行沟通;根据合同进度结算相关资金等。
6.监审科。
负责对合同的订立、履行、修订、转让、终止和解除等流程及职责的履行情况进行监督检查,发现缺陷向有关领导报告,促进合同目标实现。
劳动合同管理工作流程图单位名称行政及人力资源部流程名称劳动合同管理工作流程层次 2 任务概要员工劳动合同管理工作单位总经理分管领导行政及人力资源部用人部门员工节点 A B C D E劳动合同管理工作标准 任务名称 节点 任务程序、重点及标准时限 相关资料 劳动程序《劳动合同123456存档审批 7人事通知单 89亲笔签名盖章 审核开始管理人员普通人员 兼职人员制 作 合 同劳动合同书租用劳务协议书一式两份个人留存劳动合同变更制作变更议劳动合同续订劳动合同 续订书 劳动合同解除劳动合同解除决定审批 审核签名确认审批 审核确定签署合同类别租用劳动合同书10合同签订C3行政及人力资源部根据当地有关规定和企业的实际情况编制劳动合同15个工作日书》行政及人力资源部根据劳动合同制定企业劳动合同中具体的实施条款,明确公司及员工各自的权利和义务7个工作日A3行政及人力资源部制定的劳动合同报公司领导审批1个工作日行政及人力资源部组织员工与企业签订劳动合同书3个工作日重点劳动合同的签订标准严格、合法劳动合同调整管理程序《合同续签申请》D8合同的续订:经双方同意,应在合同期满前一个月办理续签即时D7 合同变更需依据法定条款和协议条款1个工作日D9合同解除如出现争议,需经过调解、仲裁、诉讼等进行裁决根据实际情况合同终止,双方不再保持劳动关系1个工作日重点合同的续订、变更、解除、终止标准合法劳动合同文档管理程序《劳动合同》劳动合同统一由行政及人力资源部管理即时行政及人力资源部对员工劳动合同进行标识、存档1个工作日重点文档管理妥善保管、防止丢失、涂改及损坏标准公平、准确劳动合同管理制度节选公司《人力资源管理制度》第九章员工关系管理第一节劳动合同管理1.依据《劳动法》有关规定,员工与企业在平等自愿、协商一致的基础上签订劳动合同,明确双方的责任、权利和义务,以法律形式确定双方的劳动关系。
2.为确立公司与员工的劳动关系,明确双方的权利与义务,公司实施全员劳动合同制管理。
合同管理制度及流程图合同管理制度及流程图一、前言1.1 目的的目的是为了规范公司内部合同管理的流程和制度,确保合同签订和履行的合法性、合规性和安全性,以保障公司和合作伙伴的合法权益。
1.2 适用范围本制度适用于公司内部所有合同的签订、审批、执行和归档等全过程管理。
二、合同管理制度2.1 合同管理职责公司内部合同管理职责如下:- 签订合同的责任人必须具备法律、商务等方面的知识,熟悉本制度和相关法律法规;- 合同签订前必须做好充分的尽职调查和风险评估等工作;- 合同的审核、审批和签字必须严格按照流程进行,保证合同的合规性和法律效力;- 合同执行人必须熟知合同的内容和执行要求,保证按合同约定履行义务;- 合同归档人必须做好合同归档工作,确保合同资料的完整性和可追溯性。
2.2 合同签署流程图下图为公司内部合同签署流程图:合同起草人 -> 部门负责人审批 -> 合同审核人审核 -> 版本起草人修改 -> 合同审核人再次审核 -> 法务部审批 -> 合同签订-> 合同发送注:合同签订前必须签署《保密协议》。
2.3 合同签订注意事项- 合同必须经过公司法务部门审核和审批后,方可签订;- 合同上所有条款都必须明确、清晰、无需另行解释;- 合同上必须明确双方的权利义务、违约责任、解除条件等;- 合同上必须标注有效期限、履行地点、付款方式、争议解决方式等;- 合同签订前必须做好完整的尽职调查和风险评估,确保对方的资质和信誉等情况;- 合同可采用电子签名、邮件确认等方式签订,但须保证安全性和有效性。
2.4 合同执行流程下图为公司内部合同执行流程图:合同执行人 -> 合同履约 -> 问题解决 -> 合同评估 -> 合同归档注:合同执行过程中如遇重要事项必须及时与相关部门和人员沟通,确保合同的执行效果。
2.5 合同归档要求- 合同归档人必须将合同及相关材料按照流程归档,归档材料必须清晰、完整、可追溯;- 归档材料要按照一定的时间顺序进行存档,按月、季度、年度进行备份;- 归档材料要放在封闭的柜子里存放,存放安全。
20XX 专业合同封面COUNTRACT COVER甲方:XXX乙方:XXX2024年劳动协议法实践:用工单位操作手册一本合同目录一览1. 合同概述1.1 合同目的1.2 合同主体1.3 合同期限2. 劳动条件2.1 工作内容2.2 工作时间2.3 工作地点2.4 劳动保护3. 工资待遇3.1 工资标准3.2 工资支付时间3.3 奖金与补贴3.4 扣除与罚款4. 劳动权益4.1 休息休假4.2 社会保险4.3 劳动争议解决4.4 保密与知识产权5. 合同变更与解除5.1 变更条件5.2 解除条件5.3 经济补偿6. 违约责任6.1 双方违约6.2 赔偿责任6.3 免责条款7. 争议解决7.1 协商解决7.2 调解解决7.3 仲裁解决7.4 法律途径8. 合同的生效、变更与终止8.1 生效条件8.2 变更条件8.3 终止条件9. 其他约定9.1 通知与送达9.2 合同的副本9.3 附件10. 双方签字盖章10.1 甲方签字10.2 乙方签字10.3 日期11. 附件内容11.1 附件一:岗位职责描述11.2 附件二:工资结构表11.3 附件三:社会保险缴纳明细11.4 附件四:保密协议12. 补充条款12.1 补充一12.2 补充二12.3 补充三13. 修订历史13.1 修订日期13.2 修订内容14. 法律适用与争议解决14.1 适用法律14.2 争议解决方式第一部分:合同如下:第一条合同概述1.1 合同目的甲乙双方本着平等、自愿、公平、诚信的原则,确立劳动关系,明确双方权利义务,保障劳动者合法权益,促进劳动关系和谐稳定,依据《中华人民共和国劳动法》、《中华人民共和国劳动合同法》等法律法规,签订本合同。
1.2 合同主体甲方(用人单位):____________乙方(劳动者):____________1.3 合同期限本合同期限为____年,自____年__月__日起至____年__月__日止。
第二条劳动条件2.1 工作内容乙方同意在甲方从事____________工作,具体职责和要求如下:(1)____________(2)____________(3)____________2.2 工作时间乙方每周工作时间不得超过____小时,实行____制度,具体工作时间安排如下:(1)工作日:____________(2)休息日:____________(3)法定节假日:____________2.3 工作地点乙方的工作地点为____________。
劳动合同管理制度样本劳动合同管理制度样本制定劳动合同管理制度有什么内容?下面是小编给大家整理收集的劳动合同管理制度样本,供大家阅读参考。
劳动合同管理制度样本1第一条、目的为了规范公司的劳动合同管理,指导劳动合同的签订工作,根据《中华人民共和国劳动法》、《北京市劳动合同规定》和国家及北京市有关法律法规,并结合公司的实际情况,制定本管理办法。
第二条、适用范围公司实行全员劳动合同制,员工均需与公司签订劳动合同,以明确双方的权利和义务,建立起合法的劳动关系。
第三条、合同签署权限一、董事会负责与其直接任命人员签订劳动合同。
二、由公司法定代表人,或由公司法定代表人授权公司总裁代表公司与除上条之外的人员签订劳动合同。
三、劳动合同统一由人力资源部组织签订及存档。
第四条、劳动合同采用书面形式,分为主件与附件两部分。
主件为《劳动合同书》,附件为因参加培训学习等原因签订的有关协议书等。
第五条、签订时间一、在新进员工办理完入职手续之后的5个工作日内,公司与其签订《试用协议》(附件一)。
试用期通常为3至6个月,根据试用期间工作表现,试用期可提前结束。
二、根据岗位性质差异,试用采用在岗试用和项目试用两种形式。
其中,项目试用是指由拟被聘用人员直接参与到公司的项目中去,在项目中对其能力等进行直接的先期考察,尽量避免公司的雇佣风险。
三、在员工被批准转为正式员工后,双方签订正式《劳动合同书》(附件二)。
四、新招聘的员工必须在出具能证明其与上一家用人单位解除劳动关系(若确实无法提供,至少应提交本人与其他单位不存在劳动关系的个人声明)后,公司方与之签订试用协议或劳动合同。
第六条、签订劳动合同的期限一、对于一般员工,原则上签订1年期合同;对于技术、市场等高级技术管理岗位员工,可签订2-3年期合同期;对于董事会直接任命人员的劳动合同期限由董事会确定。
二、续订劳动合同时,原则上与原合同期限相同。
第七条、订立劳动合同应约定生效时间。
没有约定的,以当事人签字或者盖章的时间为生效时间。
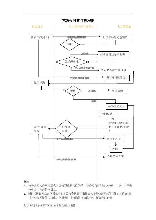
劳动合同签订流程图备注1、特殊合同为公司高层或其它特别重要岗位的员工与公司有特别协议的员工。
如:特殊岗位员工、涉密岗位员工。
2、附件《新订劳动合同通知书》、《劳动合同签订报批表》、《劳动合同续签(终止)通知书》、《劳动合同续签(终止)审批表》、《特殊岗位协议书》、《保密协议书》一、签订劳动合同通知书(存根)第()号员工姓名:所在单位:通知发出时间:年月日续订劳动合同类型:有期限年()无固定期()(选择其中一项)通知送达方式:直接送达公司经办人:本人已收到单位于_______年_____月_____日发出的《签订劳动合同通知书》。
已完全阅读并理解其内容。
(一)身份证、计划生育证明、学历证书、技术资格证书复印件(交验原件);(二)公司认可的医疗机构出具的体检合格证明;(三)最后工作单位离职证明材料(如岗位需要);三、劳动合同续签(终止)通知书劳动合同续签(终止)通知书中心:贵部员工与公司签订的劳动合同将于年月日届满,公司拟与其续签(终止)劳动合同,请部门经理签署意见。
人力资源部年月日管理中心总经理意见:□同意续签,固定期劳动合同,期限年。
□同意续签无固定期劳动合同。
□终止合同签字:日期:直接上级意见:□同意续签,固定期劳动合同,期限年。
□同意续签无固定期劳动合同。
□终止合同签字:日期:(若同意续签请将此单交员工签字,不同意请于3日内返回人力资源部)劳动合同续签意向通知书人力资源部:贵部发出的《续签(终止)劳动合同意向通知书》,本人已于__ __年___月__ _日收阅,本人□同意□不同意与公司续签劳动合同,并于合同届满日期前到人事部续签(终止)合同手续。
(请员工注明是否同意续签,若不注明公司将视为员工同意续签)员工签名:日期:四、劳动合同续签(终止)审批表:针对基层员工批量审批五、特殊岗位协议书特殊岗位工作人员协议书甲方:****有限公司乙方:一、此协议作为《劳动合同》的补充, 在于对本企业关键性岗位的企业员工在工作上提供广阔的平台,鼓励员工在公司长期稳定健康地发展。
节选公司《人力资源管理制度》第九章员工关系管理第一节劳动合同管理1.依据《劳动法》有关规定,员工与企业在平等自愿、协商一致的基础上签订劳动合同,明确双方的责任、权利和义务,以法律形式确定双方的劳动关系。
2.为确立公司与员工的劳动关系,明确双方的权利与义务,公司实施全员劳动合同制管理。
公司不与尚未与原单位解除劳动关系的人员签订劳动合同。
3.劳动合同的签订3.1新聘员工,公司将根据岗位性质与员工劳动关系,予以用工。
3.2 公司根据岗位实际情况,与员工签订有固定期及无固定期限劳动合同,具体如下:一年期劳动合同:适用于一般员工;二年期劳动合同:适用于公司急需人才、在校园特殊招聘的人员;三年期劳动合同:适用于公司中层以上管理人员;无固定期限劳动合同:适用于在合资公司连续工作十年以上的员工,双方同意续延劳动合同时,如员工提出订立无固定期限的劳动合同,经公司同意,可签订无固定期劳动合同。
4.劳动合同的变更4.1劳动合同履行过程中,公司调整员工的岗位,则劳动合同约定的工作内容相应变更,公司将不再另行与员工变更劳动合同,以《岗位变动通知书》为准。
4.2岗位变更,公司与员工双方达不成一致的,公司可以与员工协商解除劳动合同。
5.劳动合同的续签5.1劳动合同期满,双方均可决定续签或不续签劳动合同。
5.2续签劳动合同,公司将根据生产经营运作的实际需要,合同到期员工本人意愿及是否符合岗位条件等,提出是否续签的意见,并以书面形式告知员工。
6.辞职6.1在合同期内,员工申请辞职,需提前30天向公司提出书面申请,经批准,并按公司有关规定办理离职手续。
6.2员工如未按规定提前通知公司,给公司造成经济损失的,应根据合同的约定及国家有关法规承担违约责任。
7.劳动合同终止7.1劳动合同期满或者当事人约定的劳动合同终止条件出现,劳动合同即行终止。
7.2与员工终止劳动合同,公司提前30天以书面形式告知员工,并按劳动法相关规定办理。
7.3 劳动合同终止,员工应按公司有关规定办理离职手续。
合同管理规章制度一、总则1.1为加强公司合同管理,规范合同行为,防范合同风险,根据《合同法》、《公司法》等法律法规,结合公司实际情况,特制定本制度。
1.2本制度适用于公司及其子公司、分公司、各部门及全体员工。
1.3合同管理应当遵循合法、公平、诚信、自愿的原则,确保合同的真实性、合法性和有效性。
二、合同管理机构及职责2.1合同管理部门公司设立合同管理部门,负责公司合同的统一管理、指导和监督。
合同管理部门的主要职责如下:(1)制定和完善公司合同管理制度;(2)负责合同签订、履行、变更、解除、终止等环节的审查和管理;(3)组织合同纠纷的处理和协调;(4)对合同签订和履行情况进行统计分析;(5)组织合同管理培训,提高员工合同意识。
2.2合同承办部门各部门为合同承办部门,负责本部门合同的签订、履行、变更、解除、终止等具体工作。
合同承办部门的主要职责如下:(1)负责本部门合同的起草、审核、签订、履行、变更、解除、终止等具体工作;(2)负责本部门合同纠纷的处理和协调;(3)对本部门合同签订和履行情况进行统计分析;(4)配合合同管理部门开展合同管理培训和宣传活动。
三、合同签订管理3.1合同起草合同承办部门根据业务需求起草合同,合同内容应当明确、具体、完整,符合法律法规和公司利益。
3.2合同审核合同承办部门将起草的合同提交给合同管理部门进行审核。
合同管理部门应当对合同的真实性、合法性和有效性进行审查,并提出修改意见。
3.3合同签订经合同管理部门审核同意的合同,由法定代表人或者授权代表签订。
签订合同应当采用书面形式,并由双方签字或者盖章。
四、合同履行管理4.1合同履行合同承办部门应当按照合同约定全面履行合同义务,确保合同目的的实现。
4.2合同变更、解除、终止合同承办部门根据合同履行情况,提出合同变更、解除、终止的申请,经合同管理部门审核同意后,由法定代表人或者授权代表办理。
4.3合同纠纷处理合同承办部门应当及时处理合同纠纷,防止纠纷扩大。
行政事业单位内部控制合同管理业务流程图一、合同释义合同是指以本单位为一方当事人,在行政管理、公共服务和民商事经济活动中订立的各类合同、协议、备忘录、意向书等法律文书的统称。
合同的订立、履行应当遵循合法、公平、自愿和诚实守信的原则,规范合同管理中的各项具体工作,促进单位加强合同管理,以规避法律风险的发生,确保经济活动合法合规地开展。
二、合同管理权限表三、合同管理部门及岗位职责(一)业务部门1.负责按照单位的规定对合同对方的资质、资信等情况进行调查,并对调查资料妥善保管;2.负责收集合同谈判相关资料,并组织进行合同谈判,对合同谈判中的关键信息进行记录;3.负责根据国家及单位相关规定、合同谈判的内容,拟定合同文本并递交至相关部门审核审批;4.负责对合同履行情况进行跟踪,发现问题及时向相关部门及领导汇报;5.负责合同纠纷的协商、调解、仲裁、诉讼的准备及善后工作;6.负责对本部门合同资料收集、整理和归档。
(二)财务部门1.负责组织做好拟签约对象的资信调查,由拟签约对象提供资信证明,由相关职能部门负责核实后报财务审核;2.负责对合同中的结算条款进行审核;3.负责按照合同条款的规定组织做好协议款项的收付工作。
(三)办公室1.负责做好所签署合同协议的规范性、合法性审查;2.负责监督、指导各业务部门起草及修订合同协议文本,负责参与重大合同协议的谈判;3.协助单位业务部门处理合同协议中的纠纷;4.协助业务部门依法签订、变更和解除合同协议。
(四)法律顾问法律顾问负责对合同文本违约责任、纠纷处理等实质性条款的合法性、完整性进行审核;负责合同纠纷案件的指导、协调和处理,参与处理合同争议等相关工作。
四、合同管理不相容岗位设置五、合同管理流程流程图及说明。
20XX 标准合同模板范本PERSONAL RESUME甲方:XXX乙方:XXX2024年版企业劳动合同管理细则本合同目录一览1. 合同主体及合同标的1.1 甲方(用人单位)1.2 乙方(劳动者)1.3 合同标的2. 合同期限2.1 固定期限2.2 无固定期限2.3 试用期3. 工作内容3.1 岗位职责3.2 工作时间3.3 工作地点4. 劳动报酬4.1 基本工资4.2 绩效奖金4.3 福利待遇4.4 工资支付时间及方式5. 社会保险5.1 养老保险5.2 医疗保险5.3 失业保险5.4 工伤保险5.5 生育保险6. 劳动保护6.1 劳动安全6.2 劳动卫生6.3 劳动保护设施7. 培训与发展7.1 培训机会7.2 培训费用7.3 职业发展规划8. 保密协议8.1 保密内容8.2 保密期限8.3 违约责任9. 竞业限制9.1 限制范围9.2 限制期限9.3 违约责任10. 合同解除与终止10.1 双方协商解除10.2 甲方单方面解除10.3 乙方单方面解除10.4 合同终止情形11. 争议解决11.1 协商解决11.2 调解解决11.3 仲裁解决11.4 诉讼解决12. 违约责任12.1 甲方违约责任12.2 乙方违约责任13. 其他约定13.1 通知与送达13.2 合同的修改与补充13.3 合同的效力13.4 合同的解除14. 附则14.1 合同的生效14.2 合同的终止14.3 合同的解释权第一部分:合同如下:第一条合同主体及合同标的1.1 甲方(用人单位)1.2 乙方(劳动者)1.3 合同标的本合同标的为乙方在甲方的指导下,按照甲方的要求,从事________工作,工作地点为________,职务为________,劳动合同期限为________年。
第二条合同期限2.1 固定期限本合同期限为________年,自________之日起至________日止。
2.2 无固定期限本合同期限为无固定期限,自________之日起至双方协商解除、甲方单方面解除、乙方单方面解除或合同终止情形发生之日止。
收藏!公司规章制度的制定和生效全流程操作指引导读:公司的规章制度是其依照法律和民主程序制定的,在内部实行的,组织劳动过程和进行劳动管理的规则和制度的总和,也称为内部的劳动规则,是公司内部的“法律”。
每个公司都有自己的规章制度,不管是成文的或是不成为文的,均用于明确本公司的各项管理制度,这既是公司规范管理及经营自主权的需要,也是保障劳动者合法权益的一项法定义务。
那什么样的规章制度才能产生法律约束力?本文就是要解决公司规章制度有效性的问题。
一、公司规章制度的内容公司规章制度的内容非常广泛,包括公司经营管理的各个方面。
公司规章制度具体包含哪些内容,由公司在合法的前提下,根据自身经营需要自主决定。
公司规章制度的内容具体可分为以下两类。
1.1 直接涉及劳动者切身利益的规章制度这类规章制度主要指公司的人力资源管理制度或称为劳动人事管理制度。
在劳动法律法规范畴中,规章制度通常指的就是直接涉及劳动者切身利益的制度。
《劳动合同法》第四条规定的直接涉及劳动者切身利益的规章制度包括:劳动报酬、工作时间、休息休假、劳动安全卫生、保险福利、职工培训、劳动纪律以及劳动定额管理等(俗称“八大项”)。
1.2 不直接涉及劳动者切身利益的规章制度这类规章制度主要指公司的会计财务制度、市场销售制度、车辆使用管理制度、报销制度、安全生产等方面的经营管理制度。
不涉及劳动者切身利益规章制度的制定,属于公司经营自主权的范围,其制定程序没有那么严格,可以不遵守《劳动合同法》第四条规定的民主程序。
为了讨论方便,除非特别指出,下文中的提到的规章制度仅指直接涉及劳动者切身利益的规章制度。
二、公司规章制度的功能无论是从有利于公司人力资源管理来看,还是从保障劳动者享有劳动权利,督促劳动者履行劳动义务而言,建立和完善公司规章制度都有其必要性。
一个运作良好、管理规范的公司应当量身打造适合本公司的规章制度。
规章制度的功能主要体现在以下三个方面。
2.1 帮助公司实现规范化管理公司规章制度是公司管理措施的具体表现形式,规章制度除了界定各种违纪情形外,各项具体管理制度的设定(如考勤制度、绩效考核制度、劳动合同管理制度等)亦有赖于规章制度。
20XX 专业合同封面COUNTRACT COVER甲方:XXX乙方:XXX劳动协议签收流程及台账规范(2024年版)版本合同目录一览1. 劳动协议签收流程1.1 签收准备1.1.1 劳动协议文本准备1.1.2 签收流程图准备1.2 签收步骤1.2.1 员工阅读劳动协议1.2.2 员工确认无异议1.2.3 员工在协议上签字1.2.4 管理层签字确认1.2.5 协议盖章生效1.3 签收记录1.3.1 签收日期记录1.3.2 员工信息记录1.3.3 管理层签字记录1.4 签收问题处理1.4.1 员工提出异议处理1.4.2 协议破损或遗失处理1.4.3 协议修改和补充处理2. 劳动协议台账规范2.1 台账建立2.1.1 台账格式规定 2.1.2 台账内容要求 2.2 台账管理2.2.1 台账归档规定 2.2.2 台账查阅规定 2.3 台账更新2.3.1 协议变更更新 2.3.2 员工异动更新 2.4 台账审查2.4.1 定期审查2.4.2 临时审查3. 劳动协议保管与保密3.1 劳动协议保管3.1.1 保管人员职责 3.1.2 保管场所要求 3.2 劳动协议保密3.2.1 保密内容规定3.2.2 保密措施要求4. 劳动协议的终止与解除 4.1 协议终止条件4.2 协议解除条件4.3 终止与解除流程4.4 终止与解除后事宜5. 违约责任与争议解决5.1 违约责任规定5.2 争议解决方式6. 劳动协议变更6.1 变更条件6.2 变更程序6.3 变更生效7. 劳动协议的解除7.1 解除条件7.2 解除程序7.3 解除后事宜8. 劳动协议的终止8.1 终止条件8.2 终止程序8.3 终止后事宜9. 特殊情况的处理9.1 员工离职特殊情况处理 9.2 合同到期特殊情况处理9.3 其他特殊情况处理10. 劳动协议的废止10.1 废止条件10.2 废止程序11. 劳动协议的重新签订11.1 重新签订条件11.2 重新签订程序12. 劳动协议的续签12.1 续签条件12.2 续签程序13. 劳动协议的补充协议13.1 补充协议条件13.2 补充协议程序14. 劳动协议的退出机制14.1 退出条件14.2 退出程序第一部分:合同如下:第一条劳动协议签收流程1.1 签收准备1.1.1 劳动协议文本准备甲方应按照法律法规的规定和双方协商一致的内容,拟定劳动协议文本,确保协议内容的合法性、合规性和完整性。
企业合同管理制度及流程第一节目的第一条为规公司合同管理、防与控制合同风险、有效维护公司的合法权益,特制定本规。
第二节适用围第二条本规适用于集团所属公司对外签订、履行的建立民事权利义务关系的各类合同、协议等;包括买卖合同、供用电、水、气、热力合同、赠与合同、借款合同、租赁合同、融资租赁合同、担保合同、劳动合同、聘用合同、承揽合同、建设工程合同、运输合同、技术合同、保管合同、仓储合同、委托合同、行纪合同和居间合同等。
第三节合同管理部门及职责第三条董事长负责法定代表人授权委托书的签署,资产转让合同、借款合同、房产租赁合同、对外担保合同;以及涉及资产、大额借贷经营合同、财产处理等合同的审批。
各公司总经理负责本公司劳动合同、干部聘用合同以及销售、采购等经济合同的审批。
第四条集团办公室和各公司行政办公室负责公司各类合同的管理工作,具体职责是:(一)集团办公室负责各司合同文本的审查、归档和备案。
(二)各公司行政办公室负责对合同专用章、合同文本、法人授权委托书等合同文本的发放和管理。
(三)参与各部门提交的各类合同的合法性、可行性、有利性审查,并向法定代表人提交审查意见;(四)监督检查合同履行情况,对履行中出现的重要问题进行分析,提出意见;(五)协助处理合同纠纷,参与争议仲裁、法律诉讼。
(六)负责的监督执行。
第五条合同具体承办部门的主要职责:(一)负责合同相对方资信情况、履约能力等情况的调查,并提供相应资料;(二)具体负责所承办合同的招标、谈判和文本的起草;(三)严格按照规定的程序完成合同的审批手续;(四)负责合同的履行,及时解决履行中出现的问题。
遇有合同变更、解除等重大事项,须报集团办公室审核同意;(五)负责向集团办公室报送合同统计报表及有关资料;(六)负责所承办合同的归档。
第四节合同的授权委托第六条签订合同实行授权委托制度。
合同由法定代表人或主要负责人签订,也可以由企业法定代表人或总经理书面授权的公司有关人员代理签订。
合同授权审批制度第1章总则一、为明确企业合同审批权限,规范企业合同订立行为,加强对合同使用的监督,防范和降低因合同的签订给企业带来的风险,特制定本制度。
二、规范企业合同的拟定、审批及签章工作,以符合《中华人民共和国公司法》和《中华人民共和国合同法》等法律法规及规范性文件有关规定,确保合同的顺利履行,维护企业的合法权益。
第2章适用范围一、本制度所称合同指企业与自然人、法人及其他组织设立、变更、终止民事权利义务的合同或协议。
二、本制度适用于企业所有的书面合同审批,包括冠以合同、合约、协议、契约、意向书等名称的规范性文件的审批。
三、本制度中所称部门指代表企业洽谈、签订合同的各业务、职能部门。
四、本制度中所称业务经办人是合同谈判、签订及履行的第一责任人,并有责任保证合同最终文本与经各级审批后的合同文本在条款内容上的一致性。
第3章授权审批职责一、合同分类1.一般性合同:合同标的在xx元资金支出或xx元资金收入以下的合同。
2.重大合同:合同标的超出xx元资金支出或xx元资金收入的合同。
二、企业对外签订合同均由总经理代表企业行使职权。
三、总经理职责。
1.审批企业所有格式合同和各部门的合同文本。
2.负责企业对外重大合同的签章,并审核超出各部门负责人审核权限的合同。
3.授权业务经办人员代表企业签订合同。
四、法律顾问职责1.草拟企业主营业务格式合同或企业重大、特殊合同。
2.监督、指导各部门起草及修订合同文本。
第4章授权审批流程一、原则上,在业务谈判、双方达成一致意见后,各部门应尽可能使用企业制定的格式合同或部门合同文本。
二、法律顾问草拟的格式合同应经法务部经理、总经理审核批准后形成正式书面,变更程序亦同。
三、各部门草拟的合同文本应经法律顾问审查、法务部经理审核、总经理审批,然后形成正式书面,变更程序亦同。
四、业务经办人员与合同对方拟定的一般性合同,须经所属部门负责人初审、法律顾问审查后正式订立合同,变更程序亦同。
五、业务经办人员与合同对方拟定的重大合同,须经所属部门负责人初审、法律顾问审查、总经理审批后方能订立正式合同,变更程序亦同。
劳动合同管理制度(精选8篇)劳动合同管理制度管理制度的含义管理制度是组织、机构、单位管理的工具,对一定的管理机制、管理原则、管理方法以及管理机构设置的规范。
它是实施一定的管理行为的依据,是社会再生产过程顺利进行的保证。
合理的管理制度可以简化管理过程,提高管理效率。
管理制度的重要性没有规矩不成方圆,没有制度管理就没有约束。
在实际的管理当中我们发现,当团队在十个人左右的时候,靠的是管理者的人格魅力,只要有一个有能力、有魅力的领导者就可以玩的风生水起。
但是当团队到几十个人、上百人的时候,靠的就是制度管理,只有制度完善才能更好的约束人的行为,规范人的行为,才能管理规范。
劳动合同管理制度(精选8篇)随着广大人民群众法律意识的普遍提高,合同出现的次数越来越多,签订合同是减少和防止发生争议的重要措施。
那么合同书的格式,你掌握了吗?以下是小编整理的劳动合同管理制度(精选8篇),仅供参考,欢迎大家阅读。
劳动合同管理制度11、目的为进一步规范集团劳动合同签订及管理,促进劳动合同依法履行,保障集团及员工双方的合法权益,根据《中华人民共和国劳动法》及《中华人民共和国劳动合同法》的相关规定、当地劳动法规并结合集团公司相关制度,特制定本制度。
2、适用范围本制度适用于集团各单位(公司)的劳动合同管理。
3、文件换版说明本制度为第一版。
4、相关部门/人员职责4.1人力资源部职责4.1.1负责集团劳动合同及相关制度的起草、修订、完善、监督执行及解释工作。
4.1.2负责集团各单位(公司)劳动合同的管理,包括但不限于劳动合同的签订、续订、变更、终止和解除。
4.1.3负责集团总监级以上及协议工资人员劳动合同的组织签订。
4.1.4对集团各单位劳动合同管理提供指导与培训。
4.2各用人单位第一负责人职责4.2.1全面负责本单位劳动合同的管理工作。
4.2.2全面负责本单位劳动合同签订及管理工作运行的规范性与有效性。
4.2.3负责本单位劳动合同续签审批工作。
公司劳动合同管理制度及流程图
一.政策
1《中华人民共和国劳动法》
2地方政府主管部门法规及企业现行规章制度。
3合同期限:经理级以上人员签署3~5年期限合同;其他人员可根据情况签署1~3年期限合同,无特殊情况的合同期前3~6六个月为试用期。
二.程序
1合同签订
A公司在聘用员工时,应要求被聘用者出示终止、解除劳动合同证明或与任何用人单位不存在劳动关系的其它凭证,经证实确与其他用人单位没有劳动关
系后,方可订立劳动合同,或另行签订“试工协议”
B员工进入公司报到之日接受岗前培训,了解和认可公司的劳动合同条款及岗位职务说明书确定的职责,确定合同期限,甲乙双方可签定劳动合同。
C公司出资培训、招(接)收的人员,已经按有关规定与公司签订了专项协议书,在与公司订立劳动合同时,合同期不得短于服务合同或协议尚未履行的
期限。
D在合同履行过程中,公司对出资培训的员工应按规定计算培训服务期;
若培训服务期超过劳动合同期限,应延长劳动合同期限至培训服务期满。
2合同变更
由于签定合同时所依据的客观情况发生重大变化或机构调整等原因,致使原合同无法履行的,经双方协商同意,可以变更原合同的相关条款。
3合同续签
合同期限届满,劳动关系即告终止。
甲乙双方经协商同意可以续订合同。
双方当事人在原合同期满前三十天向对方表示续订意向。
4合同解除
A有下列情形之一,甲方公司可以即时解除合同,而无须向乙方支付赔偿:*试用期内,乙方被证明不符合录用条件的;
*乙方严重违反劳动纪律或甲方规定的各项规章制度的;
*乙方严重失职、营私舞弊,对甲方利益造成重大损失的;
*乙方泄露甲方商业秘密,给甲方造成严重损失的;
*乙方被司法机关追究刑事责任的;
B有下列情形之一,乙方可以即时解除合同,而无须向甲方支付赔偿:*在试用期内;
*甲方以侵害乙方合法人身权利手段强迫劳动的;
*甲方不能按照合同规定支付劳动报酬或者提供劳动条件的;
C有下列情形之一,甲方可以解除合同,但应提前三十日以书面形式通知乙方并支付补偿金:
*乙方患病或非因工负伤,医疗期满后,不能从事原工作也不能从事甲方另行安排的工作的;
*劳动合同订立时依据的客观情况发生重大变化,致使劳动合同无法履行,经当事人协商不能就变更劳动合同达成协议的;
*甲方频临破产进行法定整顿期间,或者生产经营发生严重困难,征求过工会和职工意见的;
D员工提出解除劳动合同:
*提出辞职的员工,应提前30天向所在部门递交“辞职申请表”。
部门总经理签署意见后,交人力资源本部,人力资源部安排与辞职员工进行面
谈,并作出回复。
*部门经理以下的辞职员工由人力资源部人力资源经理或其指定的专门人员,负责与员工进行面谈,并填写" 面谈记录表";部门经理以上职级的
辞职者,由人力资源部总监或直接主管领导面谈,并填写"面谈记录表",报
公司总经理。
*由辞职者持"员工离职手续清单",到各有关部门办理交接手续,并经各有关部门负责人签字证明完成交接清理手续,人力资源部核实批准(部门总监以上辞职者需经公司总经理批准)。
*辞职者持经签批的“辞职申请表”和劳动合同,到人力资源部办理解除合同、人事档案关系和社会保险关系转移手续。
并由人力资源部开具" 解除聘用关系通知书",由人
力资源部和辞职者各执一份。
三.违约的经济补偿与赔偿
1符合2.4.3情况的,公司应根据员工在公司工作年限,每满一年发给相当于员工解除劳动合同前十二个月平均工资一个月的经济补偿金,最多不超过十二个月;
2员工提出解除劳动合同,员工应给予公司一定经济补偿,经济补偿金为:距合同期满每差一年(不满一年的按一年计算)按相当于员工解除劳动合同前十二个月的月平均工资进行补偿,最多不超过十二个月;
3凡公司支付学费及培训费的员工必须按规定与公司签定培训服务协议,作为劳动合同的附件,员工培训服务期未满与公司解除劳动关系,除按劳动合同实施细则规定向公司赔偿违约金外,还需向公司赔偿培训费用。
其计算方法是以员工培训服务期按月等分全部培训费用金额,以员工已履行的培训服务期月数递减。
流程图
员工进入公司
致
劳动部门仲裁。
同到期违约金、补偿金后解除合同。
综合管理部量化考核方案模板
部门负责人所属部门综合管理部评估时间段____年____月____日~____年____月____日
考核项目量化指标
绩效目标值
权
重
考
核
频
率
得
分
绩
优
目
标
考
核
目
标
实
际
达
成
人力资源管理人员需求达成率
10
0%
100
%
___
_%
1
0%
季/
年度关键人才流失率
≤
5%
8%
___
_%
1
0%
季/
年度
行政后勤管理
文件处理及时率
10
0%
100
%
___
_%
1
0%
季/
年度办公设备完好率
10
0%
95
%
___
_%
1
0%
季/
年度安全事故发生次数00次
___
_次
1
5%
月/
季/年
公关、法律管理
公关计划完成率
10
0%
95
%
___
_%
1
0%
季/
年度法律纠纷处理及时率1095___1季/
综合管理部行政秘书量化考核方案模板。