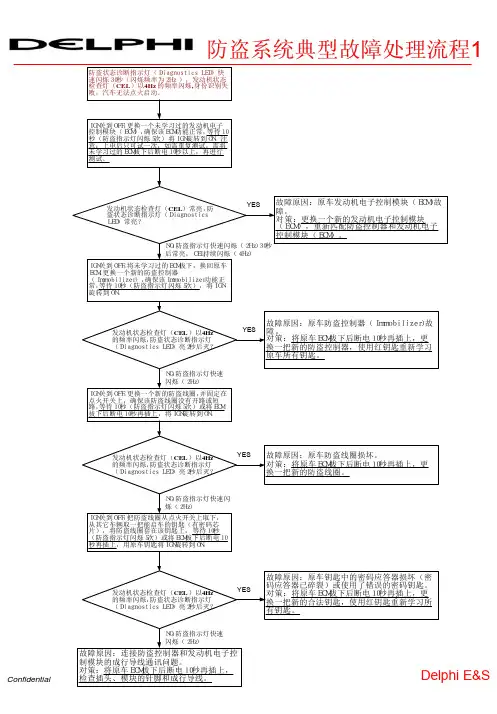
故障码和数据流分析-防盗系统
- 格式:doc
- 大小:48.50 KB
- 文档页数:5
编码与匹配目前汇总状态01发动机1巡航启动:01-11-11463,汽车启动2巡航关闭:01-11-161673.节气门匹配:01-10-00 04-060或098 PQ35车型需要再点击启动。
4二次空气泵基本设定:01-04-0775废气再循基本环设定:01-04-0746凸轮轴基本设定:01-04-094将发动机转速提升到2000-4000RPM,保持直到显示3区变为TEST ON7 柴油废气再循环基本设定:01-04-038编码:01-07-31(06A 906 033 KL宝两)(06A 906 032 EQ)(1GD906033A捷)/71(06G 906 033 C速)(06G 906 033 L) /33(06A 906 033 KN速)(06A 906 032 JB)/04500(06A 906 032 LE)(06A 906 032 EN ) /04530(06A 906 032 LF)(06A 906 032 LD ) /TDI、 SDI控制单元的编码均为000028.冠军版速腾加装定速巡航:需要将发动机编码倒数第3位加1.冠军巡航编码进入发动机控制单元将原编码0403000018070060倒数第三位改为1,即160进入16控制单元,07编码将0002001改为00020219.1.4发动机编码:0无意,0可调风扇,0无意义,x:1ABS,2气囊,4自动空调,x:1五档手动,2六档手动,7:0AM.10 01-08-50 第三区外界温度传感器第四区是压缩机工作状态 01-08-137 第二区空调开关状态,第三区制冷剂压力,11、01-08-131 1区上水管温度 3区下水管温度12、自变箱强制低档设置:01-04-063(BJG)13BJG发动机编码规则:个位:1为手动档,3为自动档,十位:+1多ABS,+2多安全气囊,+8欧二多14 检查生成就绪代码:01-08-086第一区应为00000000,其含义如下表,应都为0,有1说明需要重4开/关到ABS通讯:44-10-03(0带DSR动态转向弥补的ESP,1取消,2带DSG2的ESP,不对有01319故障)5第二代更换第三代转向机有G85故障44-10-9-1(1代表在转向机上取得G85信号,不对有00778故障)6左右转向限位器基本设定:在前车轮直线时,方向盘在转向角零度且左右转动到极限位置相差角度不多时,将方向盘向左打到头用力坚持直到仪表有‘叮’的提示音,松开方向盘2秒后,再向右打到头用力坚持直到仪表有‘叮’的提示音,松开方向盘2秒。
69汽车防盗系统一般包括安全防盗系统和车辆防盗系统。
安全防盗系统用于防止车内物品被盗,该系统不影响车辆的正常起动,而车辆防盗系统则是通过禁止车辆起动来实现车辆防盗的目的[1]。
不同车型防盗系统的组成部件、位置及工作原理可能会存在差异。
1 安全防盗系统安全防盗系统的组成部件主要包括防盗控制单元、遥控钥匙、防盗指示灯、报警系统、检测各车门及舱盖状态的传感器等。
在安全防盗系统启用时,如果防盗控制单元监测到车辆遭遇非法入侵,就会触发防盗报警系统,引发喇叭鸣响、灯光闪烁等现象,安全防盗系统如图1所示。
2 车辆防盗系统起动车辆时,遥控钥匙通过高频信号把信息发送给车内天线,车内天线把接收到的信息发送给防盗控制单元,防盗控制单元验证遥控钥匙的合法性,并通过车载网络与其他参与防盗识别的控制单元进行防盗匹配,从而决定是否允许车辆起动。
车辆防盗系统的组成部件主要包括识读线圈、防盗控制单元、发动机控制单元、变速箱控制单元、电子转向柱锁控制单元等。
识读线圈的作用是当遥控钥匙电量不足时,由它来读取遥控钥匙的防盗信息,在操作时需要将遥控钥匙紧贴识读线圈。
大众汽车第4代车辆防盗系统与之前的防盗系统相比,最大的变化是将本地化防盗数据上传至网络,防盗数据存放在FAZIT (车辆信息和核心识别工具)中央数据库。
大众汽车第4代车辆防盗系统主要组成部件包括仪表控制单元、发动机控制单元、遥控钥匙、电子转向柱锁控制单元等,大众汽车第4代车辆防盗系统如图2所示。
其中仪表控制单元中集成了防盗控制单元,是整个防盗系统的主控单元。
发动机汽车防盗系统原理及故障分析王 培,张晓玉(河南交通职业技术学院,河南 郑州 450000)摘要:汽车防盗系统分为安全防盗系统和车辆防盗系统,安全防盗系统用于防止车内物品被盗,车辆防盗系统防止车辆被盗且其控制过程更加复杂。
文章通过对大众汽车第4代车辆防盗系统的结构、工作原理及特点进行解析,再引入实车故障案例分析车辆防盗系统的故障诊断方法。
车辆防盗系统的使用方法与故障排查随着汽车的普及,车辆安全问题引起了人们广泛的关注。
为了有效防止车辆被盗,现代汽车普遍配备了车辆防盗系统。
正确使用车辆防盗系统可以保护车辆安全,但在日常使用中,我们也可能会遇到一些故障问题。
本文将介绍车辆防盗系统的使用方法,并提供一些故障排查的建议。
了解车辆防盗系统的基本原理对于正确使用非常重要。
汽车防盗系统通常由转速传感器、中控锁、无线遥控器、报警器等组成。
其工作原理是通过感应车辆的转速和信号变化,防止非法破解和启动车辆。
在日常使用中,我们可以利用无线遥控器对防盗系统进行操作。
使用车辆防盗系统的第一步是正确设定防盗系统。
将车辆完成停妥并熄火,确保所有车门、行李箱和后备箱都已经完全关闭。
使用无线遥控器锁定车辆。
如果防盗系统被正确设置,系统将会进行自动检测,并通过发出声音或灯光的方式进行确认。
在确认之后,确保无线遥控器妥善保管,以免被盗或者丢失。
当需要解锁车辆时,我们可以利用无线遥控器执行以下步骤:确认自己拥有有效的无线遥控器,并且远离车辆。
按下无线遥控器的解锁按钮,观察车辆是否解锁。
如果解锁成功,车辆的灯光会闪烁或者鸣笛。
此时,你可以靠近车辆并进入车辆内部。
如果解锁失败,检查无线遥控器的电池是否耗尽,或者是否存在其他干扰信号。
若没有发现电池问题,可以尝试更换电池,并重新进行解锁操作。
除了正常使用车辆防盗系统的方法,我们也需要了解一些常见故障排查的方法。
如果车辆防盗系统出现故障,会出现无法解锁、误报警等问题。
检查无线遥控器的电池是否耗尽,如果需要更换电池,请务必使用与原电池相同规格的新电池。
检查车辆电路连接是否良好,特别是中控锁和报警器的接线是否松动或受损。
如果发现问题,可以寻求专业技师的帮助。
如果以上方法都没有解决问题,建议前往汽车维修中心进行专业检修。
总的来说,正确使用车辆防盗系统可以保护车辆的安全。
设定防盗系统和解锁车辆都需要进行一定的操作和验证步骤,以确保系统正常工作。
一汽宝来(Bora)轿车防盗系统数据流分析一汽宝来(Bora)乘用车电子防盗器主要由防盗系统控制单元(位于组合仪表内)、防盗警报灯K117(位于组合仪表的车速表上)、已进行完自适应的发动机控制单元、点火锁上的一个读出线圈D2和已适配完毕的点火钥匙等(带脉冲转发器)组成。
电子防盗器正常的情况下,打开点火开关后,组合仪表上的防盗警报灯K117将点亮3 s后熄灭;如果点火钥匙适配有误、点火钥匙内无脉冲转发器、使用了未授权的点火钥匙、发动机控制单元未授权、读出线圈D2有故障或数据线有故障,打开点火开关后,组合仪表上的防盗警报灯K117将闪亮或一直亮着。
1、故障阅读仪的连接和选择功能a.确认所有熔丝和供电均正常。
b.连接故障阅读仪V AG 1551、V AG 1552或V AS 5051,打开点火开关,按1键选择“快速数据传递”,故障阅读仪显示屏显示“输入地址码××”。
故障阅读仪显示屏显示如下。
e. 按→键,故障阅读仪显示屏显示“选择功能××”。
如果故障阅读仪显示屏显示“控制单元无应答!”,按HELP键可以打印出可能的故障原因,排除故障后再重复步骤c和d,直到故障阅读仪显示屏显示“选择功能××”。
可以选择的功能有:02—查询故障存储器;05—清除故障存储器;06—结束输出;08—读取测量数据块;10—自适应;11—登录。
2、查询和清除故障存储器a.在故障阅读仪显示屏显示“选择功能××”的状态下,按0键和2键选择“查询故障存储器”,故障阅读仪显示屏显示“02—查询故障存储器”。
b.按Q键确认输入,故障阅读仪显示屏显示存储的故障数量,存储的故障将依此显示并打印出来,一汽宝来乘用车防盗系统故障代码及含义见表1所列;当故障阅读仪显示屏显示“无故障”时,按→键回到初始状态,故障阅读仪显示屏显示“选择功能××”。
c.按0键和5键选择“清除故障存储器”,故障阅读仪显示屏显示“05—清除故障存储器”。
汽车诊所.AUTOMOBILE MAINTENANCE马自达车身防盗系统故障分析方法张庆文车身防盗系统由车门锁控制以 及防盗警报2个基本功能构成,一旦车门被非法开启就会触发防盗警报, 属于主动防盗系统。
为实现对门锁的安全可靠控制,准确识别门锁操作 的合法性,系统设置了若干身份认证 环节以及防盗触发判别条件。
以下以Atenza 和CX —4车型为例,从系统控制原理、常见故障类型、故障分析 要点等几个方面对马自达车身防盗 系统的故障分析方法做一简要介绍。
一、系统控制原理马自达车身防盗系统主要由SSU(起停单元)和RBCM (后车身模块)控 制。
RBCM 在收到来自SSU 或者操作 开关的门锁操作请求后,检测车门和'门闩',机盖、行李箱1门联动1开关J :开关J<开关,〔开关丿遥控器请求开关行李箱按钮锁芯开关中控开关图1控制流程行李箱锁 电机门锁电机指示灯警报灯蜂鸣器操作请求▲k输出控制箱盖的关闭状况,确认满足操作条件 后控制锁电机动作,执行锁定指令。
全部车门、箱盖闭锁后,危险警报灯 闪亮1次,表示系统已进入防盗预警模式,20s 后即进入防盗状态。
控制 流程见图loRBCM 在收到驾驶员的合法解 锁请求(钥匙通过合法性验证)后,输出解锁指令打开车门,同时,危险 警报灯闪亮2次表示车身防盗已经 解除。
如果未收到合法的操作请求, 但却检测到车门、箱盖状态的变化,防盗警报进入触发状态,发出声光 警报。
1.电动门锁控制方式(1)用钥匙转动锁芯开关锁定/解锁。
(2) 按车内中控锁按钮锁定/ 解锁。
(3) 按遥控器按键锁定/解锁(车门与行李箱单独控制,行李箱仅解 锁)。
(4) 按门把手上请求开关锁定/ 解锁。
(5) 按行李箱按钮,仅解锁行李箱。
其中,中控锁按钮、锁芯开关、行李箱解锁按钮的操作指令直接送到RBCM,而遥控器、请求开关的操作指令需要通过SSU 的钥匙合法性认证 后再送达RBCMo 以上5种操作方式 信号输入途径不同、涉及部件范围不同,但最终都是通过RBCM 控制4个门锁或行李箱电机的动作。
汽车维修中常见的防盗系统故障及解决方案随着汽车行业的发展,防盗系统已经成为现代汽车中不可或缺的一部分。
然而,防盗系统也会遇到各种故障,给车主带来困扰。
在本文中,我们将讨论汽车维修中常见的防盗系统故障,并提供一些解决方案。
首先,让我们来了解一下汽车防盗系统的工作原理。
现代汽车的防盗系统通常包括车辆锁定、警报器和防盗芯片等组成部分。
当车主锁定车辆后,防盗系统会自动激活。
如果有人试图非法进入车辆,防盗系统将发出警报,并通过防盗芯片禁止发动机启动。
然而,防盗系统也会出现故障。
其中一个常见的问题是车辆无法启动。
这可能是由于防盗系统误判车主的身份,禁止了发动机启动。
解决这个问题的方法是使用备用钥匙,或者将车辆拖到专业的汽车维修店进行检修。
在维修过程中,技师会使用专业的诊断工具来排除故障,并重新编程防盗系统。
另一个常见的问题是警报器无法停止响起。
这可能是由于车辆传感器敏感度设置过高,导致误报。
解决这个问题的方法是通过车辆的中控系统或钥匙遥控器来停止警报器。
如果这种方法无效,车主可以尝试断开车辆电池的负极,等待一段时间后重新连接,以重置防盗系统。
此外,防盗芯片也可能出现问题。
有时候,车主会发现他们的车辆无法启动,即使使用了正确的钥匙。
这可能是由于防盗芯片的损坏或失效导致的。
解决这个问题的方法是将车辆拖到经销商或专业的汽车维修店进行检修。
技师将会使用专业的设备来读取防盗芯片的信息,并进行修复或更换。
除了这些常见的故障,防盗系统还可能受到外部干扰的影响。
例如,电磁波干扰或电池电量不足都可能导致防盗系统无法正常工作。
解决这个问题的方法是确保车辆电池电量充足,并避免将车辆停放在电磁波较强的地方,如高压电线附近。
总结起来,汽车维修中常见的防盗系统故障有车辆无法启动、警报器无法停止响起以及防盗芯片失效等。
解决这些问题的方法包括使用备用钥匙、重新编程防盗系统、调整传感器敏感度、重置防盗系统、修复或更换防盗芯片,以及确保车辆电池电量充足。
汽车防盗系统的常见故障
故障现象:不报警。
排除方法:
1、将系统主机卡座旁的开关断开,10秒后合上。
2、检测卡座是不是没接触好。
3、查看设号是否正确。
4、查看卡上是否有余额。
故障现象:遥控距离近。
排除方法:
1、先检测接收天线是否正常,遥控12V电池是否电压太低,观察周围磁场干扰。
2、将防盗主机天线拉出来,远离系统主机。
故障现象:遥控器失控。
排除方法:
1、检测主机是否通电。
2、中控锁是否正常。
3、检测遥控器12V电池。
4、是否正在报警(报警时遥控不好解除,待报警结束后方可解除)。
故障现象:烧保险。
排除方法:
1、检测线路是否正确。
2、检测排线转接是否正确。
3、正负极是否接反。
4、供电电压是否正常(12V供电)。
故障现象:误报。
排除方法:
1、检测振动灵敏度是否过于灵敏。
2、车门开关损坏。
3、电瓶接触不良。
4、防盗主机应远离天线及系统主机。
故障现象:解除不掉。
排除方法:
1、检测接收天线是否脱焊。
2、遥控器电池是否松动。
3、是否正在报警。
故障现象:行车时中控锁不自动上锁。
排除方法:
1、车门是否全关上。
2、汽车电瓶是否足电或电极接触是否良好。
汽车防盗系统故障诊断与排除汽车防盗系统是现代汽车中不可缺少的一个系统,其作用是在车辆被盗时及时发出警报,并且通过一系列措施防止车辆被盗。
然而,在使用过程中,汽车防盗系统可能会发生故障,导致系统失效或频繁误报。
因此,进行汽车防盗系统故障诊断与排除变得非常重要。
本文将介绍汽车防盗系统的常见故障及其诊断和排除方法。
一、汽车防盗系统常见故障1. 系统失效:当汽车防盗系统无法正常工作时,它将失去保护车辆的能力。
这种情况可能是由于系统的控制单元或传感器损坏或失效引起的。
2. 误报:汽车防盗系统可能会频繁发出警报,导致车主和邻居的困扰。
这种情况可能是由于传感器故障或感应器过于敏感引起的。
3. 故障指示灯:当汽车防盗系统出现故障时,该系统的指示灯通常会亮起。
这种情况可能是由于传感器连接不良或传感器本身故障引起的。
4. 遥控器失效:车主无法通过遥控器启动或解锁车辆,这可能是由于遥控器电池电量不足或遥控器本身故障引起的。
二、汽车防盗系统故障诊断方法1. 扫描仪检测:使用汽车诊断扫描仪对整个系统进行诊断。
该扫描仪可以提供系统代码,通常可以确定故障的具体原因,例如故障传感器或控制单元。
2. 观察系统指示灯:当汽车防盗系统的指示灯点亮时,通常是该系统出现了故障。
观察指示灯的闪烁模式,可以确定故障的类型,从而进行更进一步的诊断和排除。
3. 检查电池电量:如果遥控器失效,最有可能的原因是遥控器电池电量不足。
检查并更换电池即可解决这一问题。
4. 检查线路连接:某些故障可能是由于线路连接不良或松动引起的。
检查所有线路连接并确保它们正确接触可以解决此类问题。
三、汽车防盗系统故障排除方法1. 更换传感器:如果汽车防盗系统的故障代码指示传感器故障,就需要更换故障传感器。
2. 重置系统:有时,汽车防盗系统可能会因为一些未知的原因而错误地发出警报。
在这种情况下,重置系统可能是解决问题的最简单方法。
3. 更换控制单元:如果扫描仪检测显示控制单元故障,则需要更换整个控制单元。
论文资料:汽车防盗系统的典型故障分析及排除【原创】一辆通用凯迪拉克无法启动故障排除的体会故障处理:某单位一辆凯迪拉克弗里伍德(CADILLAC Fleetwood)车在定点维修厂作常规保养后,待交车时,怎么转动点火钥匙,起动机都无反应。
经查,钥匙处于STA档时起动机电磁阀无控制电源到,人为给一控制电源让起动机正常运转,但发动机仍然无法着车,同时仪表出现“PASS KEY,FLAULT”灯亮,并闪烁,由于“PASS KEY”指示灯在系统正常时,打开车匙到ON位,灯亮2S后应熄灭。
据此,该故障基本锁定为该车防盗系统触发所致。
故障分析与诊断(一)、故障分析大家知道,通过故障现象,确定故障范围后,要准确地分析、诊断洗故障,就必须全面深入了解出现此故障的系统结构及控制原理。
既然此车故障现象表明由防盗系统触发所致,那么此车防盗系统结构由那些组成?工作原理如何?电路图如何?这些都是我们在爱诊断此故障之前必须搞清楚的。
于是我调阅了凯迪拉克—弗里伍德维修技术手册,及相关维修资料。
通过资料系统学习,我了解到:1、凯迪拉克弗里伍德(CADILLAC Fleetwood)防盗系统PASS KEY主要由带阻值晶片的钥匙,点火锁芯,起动机继动器,发动机模块,系统指示灯及中央控制电脑组成。
2、CADILLAC Fieetwood防盗系统工作原理当打开点灯开关时,防盗模块(中央控制电脑)通过点火锁芯识读点火钥匙中的电阻晶片,进行钥匙检测。
如插入点火锁芯点火钥匙的阻值(B2 C2之间电阻)与防盗模块(中央控制电脑)的设置值相对应,则自检通过,中央控制电脑控制熄灭防盗指示灯。
对点火钥匙的判定系统,实际上防盗系统控制模块并不直接测点火钥匙的电阻(B2 C2之间)之间而先由防盗模块提供一个基准5V电源线,再根据串接在信号线上点火钥匙的电阻而产生电压信号(不同的电阻会产生不同的电压信号),然后此电压信号(B2处电压)与标准的电压相比较,(该电压可以不是一个固定值)而能在一个较小的范围变动,即允许电阻因磨损有一定的误差)通过比较之后防盗控制模块判断出该点火钥匙是否为合法的钥匙,并且作出不同的反应。
迈腾轿车第4代防盗系统的故障检修迈腾轿车配置了大众第4代防盗系统。
当更换防盗系统的某些部件后,第4代防盗系统需要与远程的中央数据库进行在线连接匹配,否则与防盗系统有关的控制单元和该数据库的匹配不可能实现。
中央数据库记录了相关控制单元的重要防盗数据。
下面以迈腾为例介绍第四代防盗系统的检修。
一、 防盗系统的主要部件(图1)图1(1)点火钥匙(送码器)。
(2)进入和起动授权开关E415,更换后无需调整匹配。
(3)舒适系统中央控制单元J393:防盗控制单元集成在舒适系统控制单元中,更换后需要在线匹配。
(4)转向柱锁止控制单元J764:转向柱锁止或解锁必须得到位于舒适系统控制单元中的防盗控制单元的认可,J764必须和舒适系统控制单元J393同时更换和在线匹配。
(5)发动机控制单元J623:更换后需要在线匹配。
(6)进入和起动授权开关E415:集成了防盗钥匙读写线圈,该件更换后无需调整,可重复使用。
二、 防盗系统的工作过程分析(图2)图21. 解锁过程中信号的走向(1)钥匙插入进入和起动授权开关E415,E415内部的工作触点由15脚(P点)切换到16脚(S点)。
电源由熔丝SC16→E415的T16f/16脚→转向柱控制单元J527的T20d/12脚,就是说J527识别到11脚断电和12脚来电的变化,并激活CAN总线。
(2)当舒适系统中央控制单元J393激活后,通过串行数据线与转向柱锁止控制单元J764进行通信,同时J764进行读取钥匙信息,并通过串行数据线回传钥匙信息。
J393的T6an/5脚与J764的T10k/2脚通过串行数据线交换数据,J764的T10k/4和T10k/5脚与E415的T16f/9和T16f/1脚交换数据,读取钥匙信息(识读线圈)。
(3)J393读取的钥匙信息通过CAN总线由J533和J623确认无误后,J393的T6an/3脚提供给J764的T10k/10脚一个解锁信号,J764解锁的同时通过J764的T10k/6脚为E415的T16f/8脚提供15号和50号电源。
江西制造职业技术学院学生毕业设计(论文)任务书编号机械工程系毕业论文课题名称: 汽车防盗系统常见故障分析**: ***学号:专业: 汽车运用技术班级: 08 汽车( 3) 班指导老师: ()老师二0 一 0年十一月目录摘要 (2)关键词 (2)1.汽车防盗系统系统概述及发展历程 (2)1.1 汽车防盗系统系统概述 (2)1.2汽车防盗系统发展历程 (3)2.汽车防盗系统的结构和工作原理 (3)2.1汽车防盗系统的结构 (5)2.2汽车防盗系统工作原理 (5)3.汽车防盗系统常见故障 (8)4.总结 (12)5. 致谢 (12)参考文献 (12)汽车防盗系统常见故障分析(江西制造职业技术学院 08汽车( 3)班邓晓芳 2008203046 )摘要:文章从几个方面详细分析了汽车防盗系统的结构、工作原理及常见故障的诊断与检修。
关键词:汽车防盗系统的结构汽车防盗系统的工作原理常见故障故障原因故障排除方法第一章汽车防盗系统系统概述及发展历程1.1汽车防盗系统系统概述1.汽车防盗系统的类型汽车防盗装置主要有三种类型:即使发动机已经发动也能锁定方向盘使之不能转动的机械装置(如止动杆)机械式防盗器;芯片式防盗器;电子式防盗器。
机械式防盗器结构芯片式防盗器结构电子式防盗器结构2.汽车防盗系统的功能止动杆防盗装置目前只能防止偷车兜风的青少年,而无法防职业盗车贼。
电子报警器包括扩音警报器、点火断路开关、玻璃撞击声和其他声音传感器、移动传感器和遥控装置。
一种利用电脑帮助探查失车下落的新式汽车防盗系统在美国纽约市正式推出。
这种名为“老杰克”的汽车防盗系统,关键部件是一种香烟盒大小的发射机应答器,车主可能把它藏在车上任何一个隐蔽处。
一旦汽车被偷走,车主报警,警方的电脑探查器发出无线电信号,被偷汽车上的应答器就会有反应,发出求救信号,警方巡逻车专用设备追踪这些信号,不难把失车找到。
统计数字显示,装有“老杰克”应答器的失车,寻获率高达98%。
汽车防盗系统数据流分析下面以Audi A6为例介绍汽车防盗系统数据流分析。
Audi A6车上装有电子防盗器,电子防盗器有可变编码。
对于有可变编码的新电子防盗器,其钥匙上压有一个“W”标记。
1、电子防盗器的功能电子防盗器用来打开/锁止发动机控制单元(通过W线)。
电子防盗器由电子防盗器控制单元、点火锁上的一个读出线圈和已配好的点火钥匙(带脉冲转发器)组成。
电子防盗器控制单元与组合仪表制成一体,也就是说,如果电子防盗器控制单元损坏,则必须更换组合仪表;脉冲转发器编码由一个固定码和一个可变码组合,每次起动车辆该码都变化,从而可防止他人复制脉冲转发器;每个电子防盗器还另一有套可变码的计算规则,该规则在使用寿命内保持不变,在适配车钥匙时,电子防盗器将规则写入钥匙的脉冲转发器中,同时学习相应的脉冲转发器的固定码;固定码可识别各个不同的钥匙,因此丢失的钥匙可以被锁止,每次起动点火开关时,电子防盗器读出线圈读取钥匙中的脉冲转发器固定码,紧接着又读取可变码并检查这把钥匙是否有资格来起动;在使用已适配的钥匙时,警报灯应短时亮(最长3 s),然后熄灭,如果使用未适配的钥匙或系统有故障时,打开点火开关,警报灯将一直亮着。
电子防盗器具有很强的故障自诊断功能,如果防盗系统的部件发生故障,故障代码将存入电子防盗器的故障存储器内,用V AG1551或V AG1552可读出这些故障代码。
只有使用已适配的钥匙才能起动发动机,即钥匙必须与电子防盗器进行适配。
适配车钥匙时,所有车钥匙,包括备用和应急钥匙都必须与电子防盗器进行适配。
如需使用新钥匙或附加钥匙,也必须进行所有车钥匙的适配。
如由于某种原因,适配车钥匙时并非所有钥匙都在手中,日后全套钥匙必须再适配一次。
如钥匙丢失,应将其余的钥匙再适配一次,这样丢失的钥匙便不能再起动发动机了。
2电子防盗器故障自诊断进行电子防盗器故障自诊断时应保证熔丝正常。
2.1故障阅读仪的连接a.连接V AS5051或V AG1551,打开点火开关,按1键选择“快速数据传输”,屏幕显示“输入地址码××”。