混凝土有关公司程序文件.docx
- 格式:docx
- 大小:207.60 KB
- 文档页数:30
混凝土搅拌站企业管理制度和程序文件★定义:1.本管理制度及程序文件是根据本行业运行实际、企业特点及GB/19002-1994idtISO9000:1994体系制定的。
2.本管理制度及程序文件是公司生产经营、质量方针、目标等体系正常运行,确保公司有效管理、质量保证、经济效益的基本法规,是本公司全体员工开展各项工作和活动的行为准则。
3.本管理制度及程序文件由公司制定并经董事会审核批准实行。
4.本管理制度及程序文件的修改由公司负责,并经董事会审核批准实行。
5.本管理制度及程序文件由公司综合部解释。
6.本管理制度及程序文件发放至部门主管及生产层主管。
★管理职责:1.总经理:①全面负责公司生产经营、并建立有效的管理,对董事会负全责,完成年度各项指标。
②组织实施公司的各项工作和活动,负责公司的资源配置、产品质量、生产安全、管理评审、合同评审。
2.副总经理:①负责分管公司生产经营,并在其中提出公司及董事会生产经营决策依据,完成分管指标。
②落实生产经营计划,负责组织实施监督产品的销售、评审、生产、设备运行、安全。
3.总工程师:①全面负责公司生产运行过程中的质量控制,解决生产运行过程中的有关技术问题,负责材料的选用、鉴定及进出库管理。
②主持质量技术分析评审,提出纠正和预防措施,负责新材料、新技术的研发和运用。
4.综合部:①负责各类文件的编写、建档、传递及相关XX;对公司各项制度的执行负责解释、修订,组织招集会议并记录。
②协助公司领导处理非经营类的纠纷、来访、来函,并提出处理意见。
③负责人事、劳资、后勤、生活、环境、保卫。
5.销售部:①负责收集市场信息,负责业务的承接及投标,并编公司经营生产计划(业务量、资金回款、资源配置)。
②协调与客户及经营方面的关系,解决履行合同过程中发生的各类问题。
③组织合同的评审及重大项目的技术交底,负责合同执行过程中生产、质量、服务的信息收集并及时反馈给各相关部门。
④编制月度资金回款计划并负责落实,负责客户违约、资金催讨等相关事务的办理及法律诉讼证据提供。
混凝土建材公司操作规程混凝土建材公司操作规程一、安全生产规定:1. 所有员工必须遵守公司的安全生产规定,严禁擅自改变或违反安全操作流程。
2. 在生产现场必须佩戴防护设备。
如无特殊情况,不得擅自脱下。
3. 不得在未受培训的情况下操作危险设备。
必须熟悉设备性能、使用方法和安全操作规程后方可使用。
4. 生产作业过程中产生的废弃物和危险废物必须按照公司的环境保护要求进行分类存储和处理。
5. 紧急情况下,员工须立即停止操作,并按照应急预案进行紧急处理。
不得擅自逃离现场,也不得进行任何潜在的危险行为。
二、产品质量规定:1. 进行混凝土生产前,必须对原材料进行严格的检验和质量验证,不合格的原材料不得使用。
2. 混凝土搅拌设备必须经过定期的检修和维护,保证设备的正常运行。
3. 生产过程中应严格按照技术要求进行操作,控制搅拌温度、搅拌时间和搅拌速度,确保产品质量。
4. 混凝土生产完成后,必须进行质量检测和样品留存,确保达到相关标准。
三、环境保护规定:1. 严格遵守国家和地方的环境保护法规,不得进行任何污染环境的行为。
2. 所有生产过程中产生的废气、废水、废弃物等必须按照公司的环境保护要求进行处理和排放。
3. 发现环境污染问题或存在安全隐患时,必须立即上报,并采取紧急措施进行处理。
四、防火安全规定:1. 在生产现场必须严禁吸烟和使用明火。
严禁在易燃易爆物周围堆放杂物。
2. 存放易燃易爆危险品的场所必须符合相关法规和要求,保持通道畅通,灭火器材齐全。
3. 定期进行防火设施的检查和维护,确保其正常运行和使用。
五、员工纪律规定:1. 员工必须遵守公司的工作纪律和规章制度,服从领导安排。
2. 在岗时必须保持工作场所的清洁和整齐,杜绝乱堆乱放现象。
3. 禁止私自带入非生产相关物品,严禁盗窃、贪污等违法行为。
4. 不得参与非法集会、组织和传播违法、违规言论。
六、员工培训规定:1. 公司将定期组织员工进行安全培训和操作规程培训,确保员工对操作规程的了解和掌握。
XXXX有限公司XXXX分公司质量、环境、健康安全管理体系程序文件(符合GB/T 19001-2016 \GB/T 24001-2016\ GB/T45001-2020标准)2020-12-12发布 2020-12-12实施XXXX有限公司XXXX分公司发布修改控制页修改控制页程序文件目录文件控制程序XX-2-01 1 目的为对公司管理体系有关的文件进行控制,确保文件的充分性和适宜性,以及各相关场所得到适用文件为有效版本,特制定本程序。
2 范围适用于公司管理体系文件、规范、管理制度资料以及外来文件控制。
3 职责3.1 生产部是本程序的管理部门,负责体系文件的收集、审查、发放、更改和控制管理。
3.2 各部门负责其主管业务范围内程序文件的编制和相应管理性文件、技术文件的编制、审批、发布、更改和控制;外来文件的接收、标识、传递、保存和管理。
4 工作程序4.1 文件分类与范围4.1.1 管理承诺、方针和目标及管理手册:对公司所建立的管理体系宗旨和总体描述的文件,是纲领性文件。
4.1.2 程序文件:根据三个体系管理标准要求及公司实际情况,指导相关活动或过程所规定的文件,是实施性文件。
4.1.3 支持性文件:为确保公司对过程的有效策划、实施和控制所需的文件,包括相关的作业文件、管理制度等文件,是操作性文件。
4.1.4 外来文件:与管理体系有关的国家、地方政策、上级主管部门文件和规定,各类检测报告,顾客或相关方提供的图纸、技术资料,标准规范(属顾客财产)等。
4.2文件标识4.2.1 对上级单位来文和外来文件,由生产部按收发程序办理签收、登记、标识、分发传阅、承办和归档。
4.2.2 对甲方提供的图纸、技术资料,标准规范(属顾客财产)部分应做好专项登记、标识、发放、收回、保管、移交等事项。
4.2.3体系文件的修改标识a)发行版本首版为1.0,体系文件换版为2.0、3.0、4.0,依次类推变更标识。
小数点后的数字为修改状态,文件未作修改时为0,以后修改为1、2、3,依次类推变更标识;b)文件的错字、错词或细小变动时可进行杠改,文件的修改码保持不便。
XXX混凝土有限公司文件编号:DF/QM-02-2019 程序文件汇编发送部门:总经理分发号:01受控状况:已受控2019年03月05日发布2019年03月10日实施地址:XXXXXXXXXXX电话:XXXXXXX邮编:XXXXX文件控制程序DF/QM-02-01 1.0 目的使公司管理体系能有效运行,对相关文件、资料进行管制,确保各相关场所使用之文件为有效版本;2.0 范围适用于本公司管理体系运行中和商品混凝土产品、服务及达成品质管理系统相关的文件资料;3.0定义无;4.0 权责4.1各阶文件审核权限:各阶文件制定审查核准管理手册办公室管理者代表总经理程序文件制定部门主管管理者代表总经理指导性文件规范相关单位制定部门主管管理者代表/表单4.2办公室:文件之分发、收回、销毁、管制及原件的保存;4.3各部门:相关文件之制定、修订、废止及使用保管;5.0作业内容5.1文件分类:管理手册(DF/QA-01)、程序文件(DF/QM-02)、作业标准(WI)、表单记录(JL)5.2文件编码原则:流水号(01-99)文件类别系统代码(QM品质)公司代码(DF)5.4文件之制定、修订、废止作业:5.4.1文件之制定:应办公室要求或各部门业务实际需要, 制定适当的应用文件, 连同《文件修订记录表》并加注封面(作业指导书、表单不需要), 并经权责部门审查核准后(见4.1)交于办公室发行。
文件编号由办公室依文件编码原则编定且不得重复使用见(5.1) 发行日期即为文件生效日期。
5.4.2文件之修订:文件发行后针对实际作业需要而需修订时, 由原制定单位填写《文件修订\作废申请单》,并经审查核准后交于办公室发行,发行日期即为文件生效日期。
5.4.3各阶文件新制定时版本为A/0 (“A”为版本;“0”为版次;),如有小幅修改或仅为打字错误则更改其版次, 若内容修改一半以上或版次修改超过3次(0-3)以上, 则由原制定单位作换版发行,版本相应改为B/0、B1….B3。
混凝土生产工作程序一、销售部门同工地签订混凝土供应合同,并充分与客户沟通,了解客户要求,主要包括:混凝土的品种、规格、技术质量要求、施工部位、施工方式、需求能力、交付时间、交付地点、运送路线、施工速度以及其他客户附加要求等。
二、销售部门在接到工地需求电话后,由销售内勤下达生产任务单,传递给质检部、试验室、材料部门、生产班组调度、主控室。
三、材料部门应该根据生产任务单,及时联系材料供应商,提前准备好生产所需的各种材料。
四、试验室根据生产任务单下达混凝土生产调整配合比,传递给质检部门,主控室。
五、生产班组调度确认设备设施检查无误,人员组织到位,材料供应满足生产后根据生产任务单同工地联系确定可以供货。
六、质检部门组织试验室和主控室三方参与,质量管理员对条件是否具备生产和保证质量进行确认。
包括:混凝土生产调整配合比正确,设备设施正常,原材料充足,原材料仓号清楚,原材料合格可用,人员是否齐全和能否胜任,在此基础上才能进行开盘鉴定。
七、质检部门根据生产任务单组织实验室和主控室进行开盘检定,包括:正确输入混凝土配合比,试搅,计量检查,监视计量误差,检测混凝土和易性,调整依据应充分,并有相应的实验资料或技术要求,调整至合格,确定可以正常生产。
八、质量管理员监督混凝土配合比输入微机系统,保证其正确性。
九、进行试搅,监视质量误差,并确保在允许范围内,目测和检测混凝土和易性(包括坍落度和粘聚性)是否合格,不合格时调整至合格,调整方法由技术部门实验室确定,由质量管理员确认其正确性和结果合格之后,正式生产。
十、正式生产由主控室打印混凝土供货单,交给车辆驾驶员并由生产调度签字发货后,往工地送货。
十一、其他细则:1、预拌混凝土公司应做好组织协调工作,为客户提供规定的要求和服务,以充分满足客户的期望和要求。
2、调度负责生产过程的服务,如车辆,泵的调度,工地协调,泵管,配件租借等工作。
调度对工地情况了解清楚,必要时专人到现场协助客户确定施工现场泵车位置,搅拌车停靠位置及进出通道。
混凝土公司程序文件一、前言混凝土作为建筑工程中不可或缺的重要材料,其质量直接关系到建筑物的结构安全和使用寿命。
为了确保混凝土的生产质量稳定可靠,满足客户的需求和期望,提高公司的管理水平和市场竞争力,特制定本程序文件。
二、适用范围本程序文件适用于本混凝土公司从原材料采购、生产过程控制、产品检验、运输交付到售后服务等全过程的管理。
三、职责分工1、采购部门负责原材料的采购,确保所采购的原材料符合质量要求和相关标准。
与供应商建立良好的合作关系,及时了解市场行情,保证原材料的供应稳定。
2、生产部门按照生产计划和工艺要求,组织混凝土的生产。
严格控制生产过程中的各项参数,确保混凝土的质量符合规定标准。
负责生产设备的维护和保养,保证设备的正常运行。
3、质检部门对原材料、生产过程中的中间产品和成品进行检验和试验,出具检验报告。
对检验不合格的产品进行标识、隔离和处理,防止不合格产品流入下一道工序。
4、运输部门负责混凝土的运输工作,确保混凝土在运输过程中的质量不受影响。
合理安排运输车辆和路线,保证按时将混凝土交付给客户。
5、销售部门与客户沟通,了解客户需求,签订销售合同。
负责客户的售后服务,收集客户反馈意见,处理客户投诉。
四、原材料采购程序1、供应商的选择和评价采购部门应收集供应商的信息,包括企业资质、产品质量、价格、交货期、售后服务等。
对供应商进行实地考察和评估,选择合格的供应商,并建立供应商档案。
2、采购计划的制定根据生产计划和库存情况,制定原材料采购计划。
采购计划应明确采购的品种、数量、质量要求和交货期等。
3、采购合同的签订与合格的供应商签订采购合同,合同应包括采购的产品名称、规格型号、数量、质量标准、价格、交货期、付款方式、违约责任等条款。
4、原材料的验收原材料到货后,质检部门应按照相关标准和检验规程进行检验和验收。
检验合格的原材料方可入库使用,不合格的原材料应按照规定进行处理。
五、生产过程控制程序1、生产计划的制定销售部门根据客户订单和市场需求,制定生产计划。
*****商品混凝土有限公司试验室质量体系程序文件(文件编号**EY-CX-2011)2011年04月01日发布2011年05月01实施*****商品混凝土有限公司试验室发布*****商品混凝土有限公司试验室程序文件标题:程序文件编写导则编号:**EY-CX-2011版号:第1版第1次修订页数:77生效日期:2011-09-08编制日期2011-03-01 审核日期2011-09-08 批准日期2011-09-081.目的不降低试验室检测能力保证检测的公正性和诚实性。
2.范围适用于试验室的检测工作3.职责3.1试验室主任应把“公正性和诚实性”作为试验室进行检测工作的最高行为准则3.2试验室的检测人员应以出具数据准确可靠作为测试工作的出发点和落脚点。
3.3试验室技术负责人应认真核对原始记录,并经常检查和督促检测人员出据数据的真实性和有效性。
3.4试验室质量负责人,认真检查质量手册的执行情况。
3.5试验室设备管理员应保证所有在用的检测设备符合计量检定要求。
保证数据的可测量溯源性。
4.工作程序4.1质量负责人组织学习质量手册,并认真学习贯彻质量方针4.2试验样品的标识、流转、保存符合规范,不发生损坏、变质、丢失、混淆。
4.3检测人员要及时准确试验,对出据的试验数据负责任。
如遇异常,主动将检测过程中的延误和主要偏离通知试验室主任并通知给客户。
4.4设备管理人员要对设备定期申请检定校核,保证数据的可溯源性。
4.5 保护客户机密信息和所有权,包括样品,检测结果,相关技术,资料存储,传输各环节,都不发生泄密、失密事件。
5.相关文件5.1 **EY-CX-26 样品的抽取与管理程序5.2 **EY-CX-28检测报告的编制与管理程序5.3 **EY-CX-23实现量值可溯源程序6.质量记录6.1 **EY-JL-35 各种检测原始记录1.目的对委托方的机密信息及所有权进行保护,保证委托方的机密信息及所有权不被泄露和侵犯,维护试验室的公正形象和保护委托方的合法权益,特制定本程序。
Content目录1Purpose 目的 (1)2Extent of Application 适用范围 (1)3Reference Documents 参考文件 (1)3.1 Construction Specifications施工规范 (1)3.2Site Relevant Document现场相关文件 (2)4质量控制 (2)4.1设备管理 (2)4.2原材料管理 (3)4.3混凝土生产管理 (4)4.4不合格混凝土控制措施 (6)4.5 季节变化对混凝土生产质量的影响 (7)5The attachment 附件文件/跟踪文件的提供 (7)1Purpose 目的This procedure is established to ensure that the concrete intended to be used for LNG project meet the quality requirement and the concrete quality in each production sequence is under control.为满足XX LNG 项目工程所需的混凝土质量要求,保证混凝土在搅拌站生产各环节的质量控制,特编制本程序。
2Extent of Application 适用范围The procedure is applied for the production of structural concrete to be used for LNG project.本程序适用于XX LNG项目工程的结构混凝土的生产质量控制工作。
3Reference Documents 参考文件3.1 Construction Specifications施工规范(编制参考规范时,请考虑地方标准规范、企业标准和条例的规定。
施工规范的版次按照最新版次执行,同时注意与项目文件控制清单相对应、以下为该章节通用规范。
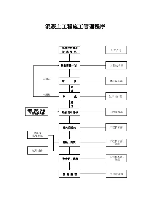
混凝土工程施工管理程序
“混凝土工程施工管理程序”节点细述
节点一:
提供砼用量及技术要求——分包方根据图纸,计算出混凝土用量提供给总包方,由总包方审核确定。
针对本工程特点,提出在混凝土施工中的技术要求。
节点二:
编制用量计划——工程技术部根据分包方提供的混凝土用量与商务部提供的用量对比,由工长编制准确的用量计划。
节点三:
审核——由材料设备部审核混凝土量。
节点四:
审批——材料设备部审核签字后,报生产经理审批签字。
节点五:
钢筋、模板、安装工程验收合格——钢筋模板安装工程的隐蔽、验收批报验合格,并需经监理工程师签字确认。
节点六:
砼浇筑申请书——工长编写混凝土浇灌申请书,报监理审批。
节点七:
通知商砼站——监理同意签字后,由工长通知商砼站具体混凝土用量、浇筑时间、技术要求。
节点八:
混凝土浇筑——控制具体部位的混凝土用量,避免造成浪费,控制混凝土罐车进场的间隔时间。
浇筑过程中要制作试块、测试坍落度、测温,并及时记录。
节点九:
砼养护、试验——混凝土浇筑完毕后,对混凝土进行养护。
试块在达到规定龄期后,送试验室试压,2~3天内取试验报告。
节点十:
资料整理——对施工中形成的所有记录及报验资料进行分类归档存放。
混凝土公司流程下载温馨提示:该文档是我店铺精心编制而成,希望大家下载以后,能够帮助大家解决实际的问题。
文档下载后可定制随意修改,请根据实际需要进行相应的调整和使用,谢谢!并且,本店铺为大家提供各种各样类型的实用资料,如教育随笔、日记赏析、句子摘抄、古诗大全、经典美文、话题作文、工作总结、词语解析、文案摘录、其他资料等等,如想了解不同资料格式和写法,敬请关注!Download tips: This document is carefully compiled by theeditor. I hope that after you download them,they can help yousolve practical problems. The document can be customized andmodified after downloading,please adjust and use it according toactual needs, thank you!In addition, our shop provides you with various types ofpractical materials,such as educational essays, diaryappreciation,sentence excerpts,ancient poems,classic articles,topic composition,work summary,word parsing,copy excerpts,other materials and so on,want to know different data formats andwriting methods,please pay attention!混凝土公司流程一、准备工作阶段。
在混凝土公司开始生产之前,有一系列的准备工作必须要完成。
受控状态分发号质量管理体系文件质量管理体系程序文件编号JD/QMB4.2.3—01~JD/ QMB8.5.2/8.5.3—05 编制办公室评审各部门批准管理者代表版本号第A/0版2006年2月15日颁布 2006年2月20日实施无锡市江达商品混凝土有限公司文件修改记录表 QR4.2.3—0107质量管理体系程序文件目录表1.目的建立并保持形成文件的程序,以控制与质量管理体系有关的所有文件和资料,使与质量管理体系运行有关的各个场所使用适用文件的有关版本,从所有发放和使用的场所及时撤出失效和作废的文件。
2.范围适用于本公司质量管理体系有效运行和产品质量有关的文件和资料的控制,包括适当范围的外来文件,如标准、法规、顾客财产的知识产权(提供的图纸)等。
3.引用标准GB/T19001—2000《质量管理体系——要求》JD/QMA—2006《质量管理手册》4.2.3《文件控制》4.职责4.1办公室负责质量管理体系管理文件的控制。
4.2总经理、总经理助理、管理者代表负责质量管理体系所要求文件的批准。
4.3管理者代表负责组织质量管理手册、程序文件的编制和程序文件的批准。
4.4总经理负责质量管理手册的批准发布。
5.工作程序5.1文件和资料的编写、批准和发布文件发放前得到批准,以确保文件是充分与适宜的。
文件发放前应经过评审,修改时评审后应得到再次批准,必要时定期评审。
5.1.1本公司质量管理手册由管理者代表组织办公室编写,经有关部门评审,总经理批准后发布。
5.1.2程序文件由管理者代表组织有关部门编写,相关部门评审,管理者代表批准后发布。
5.1.3有关技术标准、规程、规定、规范、制度、技术文件、作业指导书等质量管理体系所要求的文件由有关部门编制,相关部门评审,主管总经理、总经理助理或付总工程师批准后发布。
5.1.4外来文件,包括法规、有关标准、规范、顾客财产中知识产权如图纸等,由办公室和生产技术科收集确认为适用文件后填写《外来文件确认表》,法规由办公室主任批准、技术文件由付总工程师批准后归档和控制分发使用。
湖南日成混凝土有限公司混凝土生产工艺管理操作规程二〇一八年一月二十日一、原材料准备1.1 原材料质量控制程序1.1.1 原材料进站根据质量方针和质量目标的要求,首先从原材料的控制,选择合格的供应商,保证所有同工程质量有关的物资采购时能满足规定的要求。
做到比质比价,质量第一,品质证明与实物相符。
原材料进入搅拌站后,必须坚持先检验、后使用的原则:①材料员及称房当班人员对送货车辆车过秤计量,通过电脑程序记录台帐。
②卸车后要车车回皮,要做回皮记录。
③不合格原材料退货后做销账记录。
④原材料到达检测批量后,物检员做好材料的试验检测记录。
⑤交接班时做交接记录。
⑥材料部、生产部、试验室联合每月对地秤进行检定,材料部负责保存地秤外检证书和内部校称记录,保证地秤的计量精度。
⑦试验室负责抽查该环节运行情况。
1.1.2 水泥进场验收(1)混凝土优先选用符合GB175-2007标准的硅酸盐水泥、普通硅酸盐水泥和符合GB1344-1999标准的矿渣硅酸盐水泥以及符合GB2000-2003的中低热水泥(大体积混凝土)。
(2)所使用水泥应具有出厂质量证明书,并有复试报告。
水泥质量证明必须注明该批水泥品种、标号、厂别、生产和出厂日期以存档备查。
(3)对相同厂家的品种,同标号水泥每500t为一个取样单位进行复试。
(4)进厂水泥必须严格按国家标准规定进行取样复试,不合格水泥不得进厂或执行退货处理。
(5)进厂水泥必须按期、按批量索取本批水泥的产品合格证及试验报告,以存档备查。
(6)散装水泥进厂时,必须按品种标号分别装入指定筒仓,并挂牌标识,严禁混杂贮存,对超期水泥,经过复试后,按技术部门审定意见使用。
1.1.3 砂、石进场验收收料人员把好材料的进场关,对于不符合使用要求的砂、石料禁止入场。
合格标准:(1)砂子中无明显的泥块,无碎屑杂物。
(2)砂子级配基本符合使用要求。
(3)新进厂砂子用手攥时,以放开手后手掌上无泥的痕迹为宜。
(4)砂子中无明显泥块,石子表面不能有明显的泥土。
第一章质量手册及程序文件目录01 批准颁布令02 任命书03 质量方针和目标04 公司概况05 公司组织机构图06 质量管理体系过程和顺序图1 质量手册的适用范围、删减、引用标准和术语2 质量手册的管理3 质量管理体系机构和职能分配4 质量管理体系4.1 总要求4.2 文件要求4.2.1总责4.2.2 文件控制-《文件控制程序》4.2.3 记录控制-《记录控制程序》5 管理职责5.1管理承诺5.2以顾客为关注焦点5.3 质量方针5.4 质量目标和质量管理体系策划5.5 职责、权限与沟通5.6 质量管理体系评审6 资源管理6.1 资源提供6.2 人力资源的提供和控制6.3 基础设施的提供和维护6.4 工作环境的改善和管理7 产品实现7.1 产品实现的策划7.2 与顾客有关的过程7.3 设计和开发7.4 采购--《采购过程控制程序》7.5生产和服务提供--《生产和服务提供过程控制程序》7.6 监视和测量装置的控制8 测量、分析和改进8.1测量、分析和改进过程的策划8.2 监视和测量8.2.1 顾客满意评价8.2.2 内部审核--《内部质量管理体系审核控制程序》8.2.3 过程的监视和测量8.2.4 产品的监视和测量8.3 不合格产品控制--《不合格产品控制程序》8.4 数据收集8.5 改进8.5.1 持续改进8.5.2 纠正措施--《纠正措施控制程序》8.5.3 预防措施--《预防措施控制程序》9 附录--------程序文件编号和名称01 批准颁布令我公司依据GB/T19001:2000《质量管理体系要求》编制的《质量手册》,符合公司的生产经营实际需要。
是贯彻公司质量方针、指导质量管理体系有效运行、实现质量目标、持续改进公司整体业绩需长期遵循的文件。
全体员工必须遵照执行。
现批准颁布并实施。
即日起生效。
总经理:年月日02 任命书为了贯彻执行GB/T19001:2000《质量管理体系---要求》。
加强对质量管理体系活动的领导,特任命副经理为我公司管理者代表。
生产管理流程1. 目的通过对原材料、混凝土产品和检验状态的标识,保证只有经过检验、试验认定合格的材料和产品才能使用、转序和交付,并确保在需要时原材料或混凝土产品进行追溯。
2. 适用范围适用于本企业原材料及混凝土生产过程、设备及产品的标识。
3. 职责3.1质检部负责编制本办法,负责对相关部门标识和可追溯性工作的监督,并负责对混凝土产品形成过程和产品形成以后以取样、检查、记录的形式进行的标识管理。
3.2经营部负责签定合同,以生产任务单(订货单)的形式对产品要求进行标识。
3.3供应部负责材料采购、生产部负责贮存的标识管理。
3.4生产部负责组织、安排混凝土生产,负责混凝土产品运输及交付过程中的标识管理。
3.5试验室负责对送、取样品、产品的检验和试验结果及试验状态的标识。
3.6生产部负责各种用于生产与试验设备的标识管理。
4. 工作要求4.1标识要求各种标识要求真实、准确、完整、便于识别,有追溯要求时,标识应具有唯一性,各种原材料、生产过程和产品可追溯性的记录须填写清楚。
4.2标识的事实与管理4.2.1营销部通过与顾客签定合同、下达生产任务单(订货单)作为混凝土生产要求的标识。
4.2.2生产部a)对所有进场材料应做好进货记录,其中包括材料储存的仓位号等,并应将每日仓储情况书面通知生产调度。
现场材料的标识通过标识牌实现,标识牌应注明物品名称、产地、规格、等级及检验状态,以保证可追溯性。
b)保管员负责管理库存材料,材料的标识通过标识牌实现,标识牌应注明物品名称、产地、规格、等级。
c)对不合格原材料按照《不合格品控制程序》处理并及时做出标识。
d)生产调度(操作员)开具“预拌混凝土发货单”对产品进行标识。
e)罐车司机依据“预拌混凝土发货单”负责混凝土的输送和交付,施工方在产品交付使用后,应在“预拌混凝土发货单”上签字做出标识。
f)对各种监视和测量设备按规定进行定期检测,将检测结果做好记录并在设备、器具明显处粘贴检测状态标识。
一、目的为保障混凝土生产过程中的安全生产,预防事故发生,确保员工的生命安全和身体健康,特制定本制度及流程。
二、适用范围本制度适用于混凝土搅拌站、施工现场及所有参与混凝土生产、运输、施工的单位和个人。
三、组织机构1. 成立混凝土安全生产领导小组,负责全面领导和协调混凝土安全生产管理工作。
2. 设立安全生产办公室,负责具体实施安全生产管理工作。
3. 各部门、班组设立安全生产责任人,负责本部门、班组安全生产工作的具体实施。
四、安全生产管理制度1. 安全生产责任制度(1)明确各级人员安全生产责任,实行逐级负责制。
(2)各级人员必须遵守国家安全生产法律法规和本制度,切实履行安全生产职责。
2. 安全教育培训制度(1)对新员工进行岗前安全教育培训,确保其具备必要的安全知识和技能。
(2)定期对全体员工进行安全生产教育培训,提高安全意识和操作技能。
3. 安全操作规程制度(1)制定各岗位的安全操作规程,确保员工按规程操作。
(2)定期检查、更新安全操作规程,确保其符合实际生产需求。
4. 设备安全管理制度(1)定期对设备进行检查、维护、保养,确保设备安全运行。
(2)发现设备隐患,立即停机维修,确保设备安全。
5. 事故报告及处理制度(1)发生安全事故,立即报告安全生产办公室,并采取必要措施,防止事故扩大。
(2)对事故进行调查、分析,找出事故原因,制定整改措施,防止类似事故再次发生。
五、安全生产流程1. 生产准备阶段(1)检查设备运行状况,确保设备安全。
(2)对员工进行安全教育培训,提高安全意识。
(3)制定安全生产方案,明确安全生产责任人。
2. 生产过程阶段(1)严格执行安全操作规程,确保生产过程安全。
(2)定期检查设备运行状况,发现问题及时处理。
(3)加强现场巡查,及时发现并消除安全隐患。
3. 生产结束阶段(1)清理现场,确保无安全隐患。
(2)检查设备运行状况,做好设备维护保养。
(3)总结安全生产情况,对安全生产工作进行评价。
受控状态分发号质量管理体系文件质量管理体系程序文件编号 JD/— 01~JD/ — 05编制办公室评审各部门批准管理者代表版本号第 A/0 版2006 年 2 月 15 日颁布2006 年 2 月 20 日实施无锡市江达商品混凝土有限公司文件修改记录表—0107文件名称编号修改日期修改次数版本状态修改内容修改人批准人备注质量管理体系程序文件目录表序ISO9001: 2000文件编号文件名称号标准条款号1—01文件控制程序2—02记录控制程序3—03内部审核程序4JD/— 04不合格品控制程序5——05纠正措施和预防措施程序编号JD/—01质量管理体系程序文件第 A 版第0次修改文件控制程序第 1 页共5页1.目的建立并保持形成文件的程序,以控制与质量管理体系有关的所有文件和资料,使与质量管理体系运行有关的各个场所使用适用文件的有关版本,从所有发放和使用的场所及时撤出失效和作废的文件。
2.范围适用于本公司质量管理体系有效运行和产品质量有关的文件和资料的控制,包括适当范围的外来文件,如标准、法规、顾客财产的知识产权(提供的图纸)等。
3.引用标准GB/T19001— 2000《质量管理体系——要求》JD/QMA—2006《质量管理手册》《文件控制》4.职责4.1 办公室负责质量管理体系管理文件的控制。
4.2 总经理、总经理助理、管理者代表负责质量管理体系所要求文件的批准。
4.3 管理者代表负责组织质量管理手册、程序文件的编制和程序文件的批准。
4.4 总经理负责质量管理手册的批准发布。
5.工作程序5.1 文件和资料的编写、批准和发布文件发放前得到批准,以确保文件是充分与适宜的。
文件发放前应经过评审,修改时评审后应得到再次批准,必要时定期评审。
5.1.1 本公司质量管理手册由管理者代表组织办公室编写,经有关部门评审,总经理批准后发布。
5.1.2 程序文件由管理者代表组织有关部门编写,相关部门评审,管理者代表批准后发布。
5.1.3 有关技术标准、规程、规定、规范、制度、技术文件、作业指导书等质量管理体系所要求的文件由有关部门编制,相关部门评审,主管总经理、总经理助理或付总工程师批准后发布。
编号JD/—01质量管理体系程序文件第 A 版第 0 次修改文件控制程序第 2 页共 5 页5.1.4 外来文件,包括法规、有关标准、规范、顾客财产中知识产权如图纸等,由办公室和生产技术科收集确认为适用文件后填写《外来文件确认表》,法规由办公室主任批准、技术文件由付总工程师批准后归档和控制分发使用。
5.2 文件和资料的编号5.2.1 质量管理手册、程序文件、质量管理体系所要求的文件编号分别以A、B、C 表示。
A、质量管理手册B、程序文件C、质量管理体系所要求的文件JD/QMA—2006JD/QMB×.× .×—× .×—发布年号—程序文件号———质量管理手册代号——质量管理体系标准条款号————企业“江达”代号—————程序文件代号———————企业“江达”代号JD/QMC×.× .×—× .×—文件序号——质量管理体系标准条款号—————质量管理体系要求文件代号————————企业“江达”代号5.2.2 技术文件由办公室按图号、序号、名称等单独编号(一般情况下采用原编号)5.2.3 外来文件,包括顾客财产的知识产权提供的技术文件等采用原文件名称、版本号等,不另行编号。
5.3 文件的识别标识5.3.1 质量管理体系文件的识别标识用“受控”和“非受控”章进行标识。
凡本公司有关人员使用的质量体系文件一律加盖“受控”章,质量管理手册发放给认证编号JD/—01质量管理体系程序文件第 A 版第 0 次修改文件控制程序第 3 页共 5 页公司时加盖“受控”章,顾客要求非现场使用的质量管理手册加盖“非受控”章。
5.3.2 技术文件资料由试验室单独进行标识。
5.3.3 外来文件和顾客财产知识产权提供的技术文件应在发放时加盖“确认”章,以使外来文件得到识别。
5.3.4文件作废时加盖“作废”章。
5.3.5为任何原因文件作废保留时加盖或加注“作废保留”章。
5.3.6需存档的盖“存档”章。
5.4 文件和资料的发放、收回、处置5.4.1受控文件,包括外来文件分发控制,由办公室编制《受控文件配备清单》经办公室主任或付总工程师批准后执行。
5.4.2 文件发放时应确保在使用处可获得适用文件的有关版本,确保文件清晰,由办公室按文件和资料标识要求清单填写《文件发放登记表》,并加编持有人分发号,持有人签名发放,保存发放记录。
5.4.3 质量管理手册、程序文件、质量管理体系要求文件除认证机构外,一般不对外发放,特殊需要时,所在部门提出申请,管理者代表批准发布。
5.4.4 技术文件有保密要求时,发放部门在发放时另加以标识。
5.4.5 防止作废文件的非预期使用,由办公室负责文件的收回和处理,应登记并收回原版本文件。
5.4.6 为任何原因需保留作废文件时,应登记并按标识“作废保留”保留。
5.4.7 文件收回、作、,均在《文件置登表》中。
5.4.8 需存档文件按存档要求的范行。
5.5 文件的使用5.5.1 文件的持有人和有关所妥善保管,保持文件清晰,易于(),不得失、坏和涂改,未批准不得外借、复制。
如因保管、使用不善致使文件不清晰或不能使用申新文件,收回原文件。
5.6 文件的修改编号JD/—01质量管理体系程序文件第 A 版第0次修改文件控制程序第 4 页共5页5.6.1 文件在生下列情况可行修改:a.文件中某些条款不适量管理体系要求;b.文件中某些条款不适有关准;c.生技程和机构生化;d.其它生化。
5.6.2 文件修改由原制部行修改,并原批部和再次得到批准。
如情况生化,由其它部修改,部得原批所依据背景料。
5.6.3 受控文件属修改范,修改后不需通知非受控文件持有位或持有人。
5.6.4 外来文件,客提供的技文件本公司不得修改,外来有关准法由公室收集跟踪有关版本并及予以更,收回原文件,放新文件。
5.6.5 文件修改,修改的部填写文件修改表,并注明修改次数、内容、、修改人、批准人、生效日期等。
5.6.6 量管理手册、程序文件、量管理体系所要求的文件修改下达《文件修改通知》撤出其失效或作的部分,上新修改的部分,并由持有人在修改中按要求修改状。
5.6.7 修改的文件确保更改和行修状得到,其修改状行,本公司用 0、 1、2⋯表示修改次数;用 A、B、C⋯表示文件的版本状。
5.6.8外来文件本公司不得修改。
5.6.9量管理手册修改 5 次和每个程序文件、量管理体系要求文件修改达 5 次后或特殊情况下可直接版,收回原文件新文件。
5.7 文件可以任何媒体形式或型保存。
5.8 作的文件按《量管理手册》《控制程序》定行。
6.表式:6.1文件表—016.2受控文件配清—036.3 文件放登表—05编号JD/—01质量管理体系程序文件第 A 版第0次修改文件控制程序第 5 页共 5 页6.5 外来文件确认表—026.6文件修改审批表—066.7文件修改记录表—076.8文件处置登记表—086.9文件修改通知单—09文件评审表—01文件名称编号版本号活动执行者签名日期编制评审批准意见批准人 :日期:文件发放登记表—05序号文件编号文件名称发放号版本状态收文人/日期发放人/日期外来文件确认表—02序号文件名称原文号来源数量批准/日期备注编制:文件修改审批表— 06文件名称文件编号修改单号修改次数修改性质原文件版本号修改原因:修改部门:日期:修改前文:修改后文:修改人:日期:评审意见:评审签名:日期:批准意见:批准人:日期:文件修改记录表—07文件名称编号修改日期修改次数版本状态修改内容修改人批准人备注文件处置登记表—08序文件名称文件编号原持有处理方式处置日期批准号或保管人文件修改通知单—09部门(持有人)今因对文件进行修改,修改内容为经部门修改,批准,版本号由原改为。
请予撤出原失效文件(部分),更换新文件。
通知部门:日期:年月日编号JD/—02质量管理体系程序文件第 A 版第 0 次修改记录控制程序第 1 页共 2 页1.目的对记录进行标识、贮存、保护、检索、规定保存期和处置,以提供产品符合要求和质量管理体系有效运行的证据。
2.范围适用于本公司质量管理体系记录,包括来自供方的记录的控制。
3.引用标准GB/T19001— 2000《质量管理体系—要求》JD/QMA—2006《质量管理手册》《记录控制》4.职责4.1 办公室负责记录的控制。
4.2 各部门负责记录的使用、贮存、保护、按保存期保存和处置。
5.工作程序5.1 记录表式编号和标识5.2.1 管理体系运行记录编号,以质量管理体系条款相对应方法编号和标识。
QR×. ×. ×—××××—记录编号——————标准条款号—————————记录代号5.2.2 产品检验记录由试验室编号和标识。
5.2.3 供方记录以原记录名称列入,不再编号。
5.2.4 某些记录表式采用序方式标识。
5.2.5 某些质量管理体系记录表式现使用原记录名称,不编号,使用完后,另行编号印刷并启用。
5.2.6 某些记录表式上级部门有规定或外来顾客或其代表规定的按原记录表号列入,不另编号。
编号JD/—02质量管理体系程序文件第 A 版第0次修改记录控制程序第 2 页共2页5.3 记录收集、编目记录由办公室统一进行收集、编目,便于检索,编制《记录控制清单》,并办公室主任批准,作为受控记录表式清单。
5.4 记录表式编制记录表式编制时,由使用部门按适用性、证实性原则进行编制。
其内容应包括名称、编号、记录对象、内容、记录人、日期等。
5.5 记录表式使用和填写记录表式在使用和填写时,应做到填写清楚、准确、及时、完整、便于识别、无涂改。
若产品误写或更正时代,采用划改方式划去错误数据后,在右方写上正确数据并签名。
重要记录应有授权人签名。
5.6 记录的贮存5.6.1 记录由使用部门保管 ,应按类别、按序号进行整理,以便于检索。
5.6.2 记录应妥为贮存,不得遗失、损坏、涂改。
贮存时防火、防潮,保持通风干燥,符合贮存条件,做好保护工作。
5.6.3《记录控制清单》中规定保存期和保管部门,并发放通知有关部门按规定保存期,使用部门负责按保存期保管。
5.6.4 超过保存期的记录的处置由使用部门负责销毁。
5.6.5 记录可以以书面形式保存,也可以电子媒体保存。
5.6.6 记录有保密要求的,应按保密要求保管。
6.记录表式6.1 记录控制清单—— 012记录样册记录控制清单—— 01序标准条款号质量质量保管部门保存期备注号记录名称记录编号编制审核批准日期编号JD/—03质量管理体系程序文件第 A 版第0次修改内部审核程序第 1 页共3页1.目的进行内部审核,以确定本公司质量管理体系是否符合所确定的计划安排,是否符合质量管理体系确定的要求和 GB/I9001—2000idtISO9001:2000 标准要求,质量管理体系是否得到有效的实施和保持。