福建省质量技术监督局关于用好新版特种设备动态监管平台的通知
- 格式:doc
- 大小:24.50 KB
- 文档页数:2
福建省质量技术监督局关于开展特种设备安全生产大检查的通知文章属性•【制定机关】福建省质量技术监督局•【公布日期】2017.07.26•【字号】闽质监〔2017〕187号•【施行日期】2017.07.26•【效力等级】地方工作文件•【时效性】现行有效•【主题分类】特种设备安全监察正文福建省质量技术监督局关于开展特种设备安全生产大检查的通知闽质监〔2017〕187号各设区市质监局,福州市、平潭综合实验区市场监管局,省特检院:根据《质检总局特种设备局关于开展特种设备安全生产大检查的通知》(质检特函〔2017〕42号)和《福建省人民政府安全生产委员会转发国务院安全生产委员会关于开展全国安全生产大检查的通知》精神,结合我局上半年已部署开展的特种设备安全大排查大整治工作情况,现将《通知》转发给你们,并提出以下贯彻意见,请结合《福建省质量技术监督局关于印发<福建省特种设备安全大检查工作实施方案>的通知》(闽质监〔2017〕148号)等部署要求,认真抓好落实。
一、抓好工作衔接,认真开展政府层面自查自改。
根据质检总局和省政府安委会的《通知》部署要求,要将特种设备安全大检查与专项整治工作及厦门会晤安保工作相结合,与汛期特种设备安全工作和各地重点工作相结合,以涉及民生、人员密集场所、盛装危险化学品的高风险特种设备为重点,进一步细化工作措施,做好与全国及全省安全生产大检查工作部署、措施要求的衔接,确保各项特种设备安全工作落实到位、抓出成效,确保全省特种设备安全形势持续稳定,为厦门会晤和党的十九大胜利召开营造良好的安全生产环境。
各级特种设备安全监管部门要认真对照《通知》明确的政府层面检查重点内容,以及省局上半年部署开展的特种设备安全大排查大整治工作、系列专项整治工作和厦门会晤安保工作,组织力量深入开展细致的自查自改,实现日常检查、专项整治、大检查工作的有机结合与连贯统一,确保各项工作善始善终。
二、围绕“三落实、两有证、一检验、一预案”,检查特种设备使用单位履行法定安全管理义务情况。
福建省质量技术监督局关于加强特种设备安全宣传教育和立法调研工作的通知正文:---------------------------------------------------------------------------------------------------------------------------------------------------- 福建省质量技术监督局关于加强特种设备安全宣传教育和立法调研工作的通知(闽质监特〔2014〕83号)各设区市质监局,省特检院:《中华人民共和国特种设备安全法》(以下简称《特种设备安全法》)已于2014年1月1日起正式施行,为做好《特种设备安全法》普法宣传和地方条例立法调研工作,进一步夯实《特种设备安全法》实施基础,营造良好的法治环境。
现将有关事项通知如下:一、组织宣传资源(一)建立知识题库。
各单位按照分工与格式要求(见附件),以《特种设备安全法》、国务院《特种设备安全监察条例》和部门规章、现行安全技术规范及其引用的标准为蓝本,尽可能覆盖知识面编制知识题库,于5月16日前报送省质监局特安处,由省质监局特安处组织审核后汇编成册。
(二)征集宣传口号和警示案例。
以“责任主体自觉守法、政府部门加强监管、社会各方共同努力”为主题,面向本系统和特种设备从业单位,征集特种设备安全宣传口号、警示案例。
宣传口号的征集要求:主题突出,简明生动,易记易懂,朗朗上口。
例如:关爱生命财产,关注特种设备安全!一人把关一人安,众人把关稳如山等。
警示案例的征集要求:以特种设备事故为案例,深入分析症结原因,归纳出有警示意义的教训,促进落实主体责任。
以设区市质监局和省特检院为单位组织征集,每个单位报送的宣传口号、警示案例分别不少于10条,与题库同步上报,省质监局将从中遴选6月初在省质监网站予以公布。
(三)举办主题摄影大赛和公益海报大赛。
省质监局与省级专业协会合作举办特种设备安全主题摄影大赛和公益海报大赛,面向社会征稿,具体以大赛征稿启事为准,大赛时间拟从6~10月份。
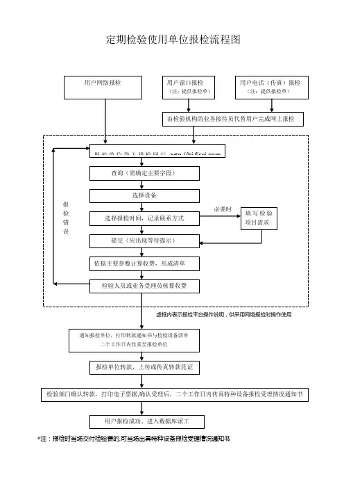
定期检验使用单位报检流程图ﻩ注:报检时当场交付检验费的,可当场出具特种设备报检受理情况通知书锅炉使用单位应在锅炉检验前做好以下准备工作:一、准备好有关技术资料,包括锅炉制造和安装的技术资料、锅炉技术登记资料,锅炉运行记录、水质化验记录、修理和改造记录、事故记录及历次检验资料等。
二、提前停炉冷却,放净锅炉内的水,打开锅炉上的人孔、头孔、检验孔和灰门等一切门孔装置,使锅炉内部得到充分冷却,并通风换气.三、采取可靠措施隔断受检锅炉与热力系统相连的蒸汽、给水、排水、排污等及烟、风道并切断电源,对于燃油、燃气的锅炉还须可靠地隔断油、气来源并通风置换。
四、清理锅炉内的垢渣、炉渣、烟灰等污物并保留水垢样品待查。
五、拆除妨碍检查的汽水挡板、分离装置及给水、排污装置等锅筒内件,并准备好用于照明的安全电源。
六、对于需要登高检验作业(离地面或固定平面3米以上)的部位,应搭建脚手架。
七、准备好司炉工操作人员和水质化验人员的资格证书,待查。
八、检验时受检单位应派锅炉管理人员或司炉工到现场,做好检验员的安全监护工作和配合工作。
压力容器年度检查前,使用单位应做好以下准备工作:一、压力容器外表面和环境的清理;二、根据现场检查的需要,做好现场照明、登高防护、局部拆除保温层等配合工作,必要时配备合格的防噪声、防尘、防有毒有害气体等防护用品;三、准备好压力容器技术档案资料、运行记录、使用介质中有害杂质记录;四、准备好压力容器安全管理规章制度和安全操作规范,操作人员的资格证;五、检查时,使用单位压力容器管理人员和相关人员到场配合,协助检查工作,及时提供检查人员需要的其他资料.检验检测须知压力容器全面检验前,使用单位做好以下准备工作:一、影响全面检验的附属部件或者其他物件,应当按检验要求进行清理或者拆除;二、为检验而搭设的脚手架、轻便梯等设施必须安全牢固(对离地面3m以上的脚手架设置安全护栏);三、需要进行检验的表面,特别是腐蚀部位和可能产生裂纹性缺陷的部位,必须彻底清理干净,母材表面应当露出金属本体,进行磁粉、渗透检测的有面应当露出金属光泽;四、被检容器内部介质必须排放、清理干净,用盲板从被检容器的第一道法兰处隔断所有液体、气体或者蒸汽的来源,同时设置明显的隔离标志。
国家质量监督检验检疫总局关于进一步加强特种设备安全监察工作的通知正文:---------------------------------------------------------------------------------------------------------------------------------------------------- 国家质量监督检验检疫总局关于进一步加强特种设备安全监察工作的通知(国质检特〔2007〕427号)各省、自治区、直辖市质量技术监督局:当前,特种设备安全形势依然严峻,起重机械、气瓶、“土锅炉”等事故频发,压力容器、压力管道、大型游乐设施、电梯等特种设备事故隐患严重。
今年1至8月一次死亡3至9人的特种设备较大事故与去年同期相比,事故起数、死亡人数、受伤人数均呈上升趋势。
最近,国务院办公厅下发了《关于进一步加强安全生产工作的通知》》(国办发明电[2007]38号),提出了全面排查事故隐患、继续深化专项整治、落实安全责任、坚决遏制重特大事故的要求。
为了认真贯彻落实国务院通知的精神,促进特种设备安全运行,确保完成国务院安委会下达的特种设备安全工作控制指标,现提出如下意见:一、进一步明确工作任务国家质检总局于今年5月和8月,先后发出了《关于开展特种设备隐患排查和起重机械专项整治行动的通知》(国质检特函[2007]355号)和《关于印发起重机械专项治理攻坚战实施方案的通知》(国质检特[2007]377号),提出了隐患排查和专项整治的工作目标和措施。
全国各级质检部门结合本地实际情况,积极贯彻,认真落实,取得了初步成效。
为了进一步落实特种设备安全监察的各项任务,促进隐患排查和专项整治的深入开展,切实遏制各类事故频发的态势,现提出以下工作任务和考核指标:(一)加大打击无证生产(设计、制造、安装、改造、维修)特种设备的力度,无证生产查处率100%。
对于执法中发现和经举报查实的无证生产特种设备的违法行为,坚决依法严厉查处,维护特种设备生产的良好法治秩序。
福建省质量技术监督局关于下放特种设备使用登记及作业人员资格许可权限的通知文章属性•【制定机关】福建省质量技术监督局•【公布日期】2014.12.29•【字号】闽质监特〔2014〕300号•【施行日期】2014.12.29•【效力等级】地方规范性文件•【时效性】失效•【主题分类】特种设备安全监察正文福建省质量技术监督局关于下放特种设备使用登记及作业人员资格许可权限的通知闽质监特〔2014〕300号各设区市质监局,平潭综合实验区市场监管局,省特检院,各特种设备作业人员考试机构:为贯彻落实省委、省政府有关行政审批制度改革的工作要求,简政放权、方便企业,提高行政办事效率,根据《中华人民共和国特种设备安全法》、《特种设备安全监察条例》及有关安全技术规范的规定,经研究,省质监局决定下放特种设备使用登记及作业人员资格许可权限。
现将有关事项通知如下:一、下放项目和时间(一)下放项目1.电站锅炉、移动式压力容器、跨设区市不跨省的长输管道使用登记。
其中电站锅炉使用登记权限已于2014年8月1日下放(见闽质监特〔2014〕193号文件)。
2.特种设备作业人员资格许可(电站锅炉、气瓶及移动式压力容器充装、港口起重机械、机械式停车设备、特种设备焊接作业人员;电梯、起重机械安装维修人员,大型游乐设施、场内专用机动车辆维修人员;大型游乐设施操作;质检总局指定考试机构的其他考试项目)。
上述下放项目,原则上不再下放或委托县(市、区)特种设备安全监督管理部门办理。
(二)下放时间自2015年2月1日起,原由省质监局实施的特种设备使用登记及作业人员资格许可项目全部下放到设区市质监局(含平潭综合实验区市场监管局,下同)办理。
二、工作要求(一)做好工作衔接。
各单位要高度重视,强化责任意识,做好内部分工。
1.电站锅炉、移动式压力容器、跨设区市不跨省的长输管道使用登记由使用单位所在地的设区市质监局负责办理。
省特检院对其安装监督检验或首次检验合格的未登记特种设备,应协助将使用登记数据导入“特种设备动态监管平台”。
国家质量监督检验检疫总局办公厅关于进一步加强特种设备安全监察工作的意见文章属性•【制定机关】国家质量监督检验检疫总局(已撤销)•【公布日期】2005.01.20•【文号】质检特[2005]18号•【施行日期】2005.01.20•【效力等级】部门规范性文件•【时效性】现行有效•【主题分类】质量管理和监督正文国家质量监督检验检疫总局办公厅关于进一步加强特种设备安全监察工作的意见(质检特[2005]18号)各省、自治区、直辖市、计划单列市及新疆生产建设兵团质量技术监督局:按照《国务院关于进一步加强安全生产工作的决定》(国发[2004]2号),总局制定了《关于进一步加强特种设备安全监察工作的意见》,经总局局长办公会议研究通过,现印发你们。
请结合本地实际认真贯彻执行,不断提高特种设备安全监察把关能力,为保障人民群众生命财产安全和经济运行安全作出更大的贡献。
二00五年一月二十日附件:关于进一步加强特种设备安全监察工作的意见为了认真贯彻落实《特种设备安全监察条例》和《国务院关于进一步加强安全生产工作的决定》(国发[2004]2号),切实做好特种设备安全工作,确保人民群众生命财产安全和经济运行安全,现就进一步加强特种设备安全监察工作,提出以下意见:一、指导思想特种设备安全监察工作要认真贯彻邓小平理论和“三个代表”重要思想,树立以人为本、全面协调可持续的科学发展观,坚持“安全第一,预防为主”的基本方针,以防止和减少事故为目标,以服务经济建设为中心,以贯彻《特种设备安全监察条例》为主线,以改革创新为动力,以队伍建设为保证,落实安全责任,强化监督管理,实施科技兴检,完善法制建设,建立长效机制,确保特种设备的安全运行。
二、奋斗目标到2007年,初步构建起适应工作需要的特种设备法规标准体系、动态监管体系和安全评价体系,建立政府统一领导、部门依法监管、企业全面负责、检验技术把关、社会广泛支持的特种设备安全工作格局,各类事故起数和伤亡人数得到进一步遏制,力争特种设备万台事故起数控制在每年0.8起以下、万台死亡人数控制在每年1.0人以下。
福建省质量技术监督局关于开展化工企业特种设备使用安全管理监督检查的通知正文:---------------------------------------------------------------------------------------------------------------------------------------------------- 福建省质量技术监督局关于开展化工企业特种设备使用安全管理监督检查的通知闽质监特〔2015〕83号各设区市质监局,福州市、平潭综合实验区市场监管局,省特检院:根据4月10日省委、省政府主要领导在漳州古雷现场会上的讲话精神,要求对全省重点行业特别是危险化学品企业、化工企业进行安全检查。
经省质监局研究,决定对全省化工企业特种设备使用安全管理情况开展专项监督检查,现将有关事项通知如下:一、督促企业开展自查自纠。
各化工企业应对照《特种设备安全法》中关于特种设备使用安全管理的各项法定安全义务,认真进行自查自纠,包括是否制定特种设备安全管理制度、岗位责任制度和应急预案,是否明确安全管理部门并配备专、兼职安全管理人员,是否定期开展安全自查并作出记录,对发现的安全隐患是否整改到位,锅炉、压力容器、压力管道等特种设备是否已办理使用登记,是否在检验有效期内,安全管理人员及操作人员是否持证上岗,是否定期开展应急演练等。
二、开展专项监督检查。
按照《特种设备现场安全监督检查规则》的规定,各设区市特种设备监督管理部门组织对辖区内的化工企业开展专项监督检查,检查使用单位落实安全管理主体责任的情况,对检查发现的违法违规行为要依法进行查处;对检查发现的严重事故隐患,要责令企业限期整改,需要政府挂牌督办或者需要有关部门支持配合的,及时报告当地政府或通报有关部门。
根据现场监督检查工作的需要,检验机构应派员配合,提供必要的技术支持。
专项监督检查要形成档案备查。
三、总结上报检查情况。
福州市人民政府办公厅关于进一步加强特种设备安全工作的通知正文:---------------------------------------------------------------------------------------------------------------------------------------------------- 福州市人民政府办公厅关于进一步加强特种设备安全工作的通知(榕政办〔2010〕190号)各县(市)区人民政府,市直各委、办、局(公司),市属各高等院校:为切实加强我市特种设备安全监管工作,预防和减少各类特种设备安全事故发生,保障人民群众的生命财产安全,根据《福建省人民政府办公厅关于进一步加强特种设备安全工作的通知》(闽政办〔2010〕209号)精神,结合我市实际,现将有关事项通知如下:一、总体要求以科学发展观为指导,坚持“安全第一、预防为主、综合治理”的方针,以防止和减少事故为目标,以服务海峡西岸经济区省会中心城市建设为中心,以贯彻《特种设备安全监察条例》为主线,以改革创新为动力,以队伍建设为保证,健全体制机制,落实安全主体责任,强化监督管理,构建“体制健全、职责分明、运行高效”的特种设备长效动态监管体系,推动全市特种设备安全监察工作迈上新台阶,确保特种设备安全运行。
二、工作目标五年内基本构建适应我市实际的特种设备安全责任体系、动态监管体系和应急处置体系,形成政府统一领导、部门依法监管、检验技术把关、企业全面负责、社会支持参与的特种设备安全工作新格局,建立较为规范完善的特种设备安全运行和长效监管体制。
力争不发生特种设备安全责任事故,完成上级对我市特种设备安全工作年度考核目标要求。
三、落实特种设备安全主体责任特种设备的生产(含设计、制造、安装、改造、维修)、使用单位是生产经营活动的主体,也是特种设备质量安全和运行安全的责任主体。
特种设备生产、使用单位法定代表人作为安全生产第一责任人,必须对本单位特种设备安全全面负责。
福建省建筑工地特种设备使用安全监督管理规定第一章总则第一条为加强建筑工地特种设备安全使用的监督管理,防止和减少特种设备使用安全事故,保障人民群众生命和财产安全,根据《特种设备安全监察条例》、《建设工程安全生产管理条例》等有关规定,制定本规定。
第二条本规定所称建筑工地特种设备是指房屋建筑和市政基础设施工地使用的塔式起重机、移动式起重机(汽车式起重机除外)、施工升降机、物料提升机(井字架、龙门架)、高处作业吊篮等各类特种设备。
第三条凡在福建省内从事建筑工地特种设备出租、安装(含拆卸,下同)、使用、检验检测、登记等活动及对建筑工地特种设备的监督管理,应当遵守本规定。
第四条省建设行政主管部门负责全省建筑工地特种设备安装、使用的监督管理。
县级以上建设行政主管部门负责本辖区内建筑工地特种设备安装、使用的监督管理。
第五条建筑工地特种设备出租、安装、使用单位应当建立健全特种设备管理制度,制定事故应急措施或应急救援预案。
第二章购置与出租第六条出租单位应当具有企业法人营业执照,出租的设备应当有注册登记证,方可从事建筑工地特种设备租赁活动。
第七条出租(使用)单位购置的建筑工地特种设备和配件,必须是经过国家有关部门许可生产的合格产品,并配备齐全有效的保险、限位等安全设施和装置。
特种设备有下列情形之一的,不得购置、出租、使用:(一)国家和省有关部门明令淘汰的产品;(二)不符合国家规定的安全技术标准的;(三)超过规定使用年限的。
第八条出租(使用)单位应当建立特种设备安全技术档案。
安全技术档案应当包括以下内容:(一)原始资料:包括购销合同、制造许可证、产品合格证、安装与使用说明书、检验检测报告等文件;(二)运行资料:定期检验和定期自行检查的记录、日常维护保养、修理和改造记录、运行故障和事故记录、运行时间记录;(三)安装验收资料;(四)其它资料。
第九条出租单位应当对出租的特种设备及配件的安全性能进行检测。
与承租单位签订合同时,应当出具检测合格证明,并明确双方安全生产职责。
福建省质量技术监督局关于成立省局质量安全风险排查整治和道德领域突出问题专项教育治理活动领导小组的通知文章属性•【制定机关】福建省质量技术监督局•【公布日期】2012.06.04•【字号】闽质监办[2012]291号•【施行日期】2012.06.04•【效力等级】地方工作文件•【时效性】现行有效•【主题分类】信访正文福建省质量技术监督局关于成立省局质量安全风险排查整治和道德领域突出问题专项教育治理活动领导小组的通知(闽质监办〔2012〕291号)各设区市质量技术监督局,省局各直属单位、机关各处室:根据国家质检总局《关于开展质量安全风险排查整治活动的通知》(国质检办〔2012〕248号)、《关于成立总局质量安全风险排查整治和道德领域突出问题专项教育治理活动领导小组的通知》(国质检办〔2012〕261号)和中央文明办《开展道德领域突出问题专项教育和治理活动的方案》要求,经研究,省局决定将质量安全风险排查整治和道德领域突出问题专项教育治理活动(简称两个专项行动)结合起来,一同组织实施,并成立质量安全风险排查整治和道德领域突出问题专项教育治理活动领导小组和专门工作组。
现就有关事项通知如下:一、领导小组组成人员组长:黄维礼、施文副组长:陈春禹、吴赳、刘绍文、赵雪萍、张飞、林洋成员:刘德忠、祝荣亮、陈登林、刘天强、曹祥禄、傅晓清、陆军、陈向东、方刚毅、孙贞坚、程建军、黄宏伟、李和贵、黄传水、陈元煊、张元榕、吴振东、谢丹。
陈春禹同志协助负责领导小组日常工作。
领导小组办公室设在办公室,负责日常协调联络工作。
领导小组主要职责:落实国家质检总局《关于开展质量安全风险排查整治活动的通知》(国质检办〔2012〕248号)和中央文明办《开展道德领域突出问题专项教育和治理活动的方案》要求,组织领导全系统风险排查整治和专项教育治理活动,研究并指导解决专项行动中的重大问题,确定行动中的重要工作部署,督促检查行动进展和成效。
二、专门工作组组成单位根据质量安全风险排查整治内容和中央文明办活动方案,省局领导小组分设食品组、工业产品组、特安组、队伍建设组,负责组织开展有关专项活动,研究工作措施,提出工作建议,开展检查指导,做好工作总结。
质量技术监督局特种设备安全监管工作的调研报告人员、旗县区质量技术监督(分)局领导班子成员和特种设备安全监察人员、市特种设备检验所领导班子成员等参加的评议动员会,市人大常委会副主任、评议调查组组长白志强作了动员讲话,市政府分管副市长安润生到会并作了讲话,市质监局局长袁宏志作了自查工作报告。
之后分别召开了特种设备监管和检验检测人员、生产和经营单位、使用单位和用户代表等参加的三个不同层面的座谈会,并进行了问卷调查;实地走访查看了北奔重卡、大青山机械、转龙酒业、中燃公司开发区母站、华鼎铜业、君诚管业、梅力更等生产经营和使用单位的特种设备安全管理情况;组织专家查阅了市质监局近两年来形成的特种设备安全监管工作档案、资料和行政执法案卷。
现将有关情况报告如下:一、基本情况评议调查组认为,近两年来市质量技术监督局以党的十八大和十八届三中全会精神为指导,认真贯彻执行国家和自治区有关特种设备安全的法律法规及规范要求,围绕自治区和我市确定的发展战略和目标任务,依法履行特种设备安全监管职责,加大监管力度,严格执法程序,创新监管方式,强化服务理念,特种设备安全监管工作扎实开展、规范有效,我市连续十多年未发生特种设备重特大安全事故;荣获国家质监总局全国特种设备普查先进单位,在自治区质监系统工作实绩考核中,连续多年获得综合业务考评第一名的成绩,也受到企业和用户等相关方面的普遍好评。
这次工作评议分质监系统内部和外部两个层面,开展了问卷调查,共发出问卷508份,收回451份。
内部的综合评价满意率为97.36%,基本满意率为2.64%;外部的综合评价满意率为87.9%,基本满意率为10.65%,不满意率为1.45%。
(一)积极宣传贯彻法律,营造良好社会氛围特种设备安全法于2013年6月29日经第十二届全国人大常委会第三次会议通过,自2014年1月1日起施行。
为做好该法的宣传贯彻,市质监局通过组织各类培训班,开展特种设备安全知识进社区、进校园、进企业、进游乐场所和法律进机关、进乡村、进社区、进学校、进企业活动,举办集中咨询活动,印制发放宣传册以及在媒体制作专题节目、专题新闻和刊发宣传稿件等多种方式,对特种设备安全法进行了广泛宣传,为特种设备依法监管营造了良好的社会氛围。
福建省质量技术监督局关于进一步规范特种设备作业人员信息化管理的通知正文:----------------------------------------------------------------------------------------------------------------------------------------------------福建省质量技术监督局关于进一步规范特种设备作业人员信息化管理的通知闽质监〔2017〕225号各设区市质监局,福州市、平潭综合实验区市场监管局,省特检院,有关单位:为了加强对特种设备生产、经营、使用单位配备持证作业人员(含特种设备安全管理人员)情况的监督,进一步完善特种设备动态监管平台(以下简称监管平台)对作业人员资格许可和聘用信息的管理,提高安全监察工作的针对性,根据《特种设备安全法》《特种设备作业人员监督管理办法》和《特种设备信息化工作管理规则》的有关规定,现就进一步规范特种设备作业人员信息化管理工作提出以下意见,请遵照执行。
一、严格作业人员资格许可信息管理(一)本省作业人员资格许可应当统一在监管平台办理。
各考试机构应在考试前将考试时间、地点、人员、项目等考试安排情况,通过监管平台向发证机关报备,接受监督。
考试合格后的领证申请、受理、审核、发证工作及证书有效期届满前的复审均应通过监管平台办理。
经审批发证(含复审)后的作业人员资格证书数据,将自动存入监管平台人员档案数据库,并同步发送省网上办事大厅和省质监局网站特种设备信息公示平台。
(二)统一授权省、市特检院(分院)考试中心(以下简称考试中心)对辖区内单位使用的外省作业人员资格证信息进行核验采集。
凡持外省作业人员资格证在我省特种设备生产、经营、使用单位从业,其资格证信息尚未采集登记到监管平台的,应配合提交《特种设备作业人员聘用(变更、注销)登记表》、特种设备作业人员证及身份证的复印件,由从业单位所在地的县级特种设备监管部门(含其下设的监管所,下同)转交考试中心进行证书信息的核验采集。
福建省质量技术监督局关于叉车安全监管有关问题的复函正文:----------------------------------------------------------------------------------------------------------------------------------------------------福建省质量技术监督局关于叉车安全监管有关问题的复函闽质监函〔2017〕46号宁德市质量技术监督局:你局《关于叉车安全监管有关问题的请示》(宁质监特〔2017〕16号)收悉。
现答复如下:一、关于叉车的监管范围依据《特种设备安全法》《特种设备安全监察条例》的规定,各级特种设备安全监管部门负责场(厂)内专用机动车辆的监督管理。
《特种设备安全监察条例》将场(厂)内专用机动车辆定义为“指除道路交通、农用车辆以外仅在工厂厂区、旅游景区、游乐场所等特定区域使用的专用机动车辆”。
依据《特种设备安全法》第二条第三款规定,国家对特种设备实施目录管理。
经国务院批准,2014年10月30日,国家质检总局公布了新修订的《特种设备目录》,叉车纳入新修订的《目录》进行管理。
同时,依据《质检总局特种设备局关于对非公路用旅游观光车辆安全监管有关情况的说明和建议的函》(质检特函〔2016〕63号)的精神,各级特种设备安全监管部门应负责对“三区”内使用的叉车实施安全监管。
二、关于场(厂)内专用机动车辆的下一步监管措施2017年1月16日,国家质检总局颁布了《场(厂)内专用机动车辆安全技术监察规程》,自2017年6月1日施行,请你局及时组织宣贯,并严格按照规程的要求,加强“三区”内场(厂)内专用机动车辆的安全监管,严格实施行政许可和定期检验工作,加大使用单位现场安全监督检查力度,依法严厉查处在“三区”内使用的场(厂)内专用机动车辆的违法行为。
福建省质量技术监督局2017年4月1日——结束——。
福建省质量技术监督局关于调整特种设备使用登记和施工告知工作的通知
正文:
---------------------------------------------------------------------------------------------------------------------------------------------------- 福建省质量技术监督局关于调整特种设备使用登记和施工告知工作的通知
(闽质监特〔2014〕193号)
各设区市质监局、省特检院,各有关单位:
根据《中华人民共和国特种设备安全法》和质检总局办公厅《关于进一步规范特种设备安装改造维修告知工作的通知》(质检办特函〔2013〕684号,以下简称《通知》),为进一步方便企业办理特种设备使用登记和施工告知等手续,经研究,决定对特种设备使用登记和施工告知工作进行调整,明确如下:
一、移动式压力容器、跨设区市不跨省的长输管道使用登记由省质监局负责;其它特种设备的使用登记由设区市质监局负责。
二、特种设备安装改造修理(含试安装改造修理)的施工告知、外省无损检测机构在我省开展无损检测业务前的告知,由施工(检测)所在地的设区市质监局特种设备安全监察机构受理。
上述调整自2014年8月1日起执行。
A级锅炉定期检验(外部检验或内部检验)时,定检机构要指导使用单位向设备所在地设区市质监局申请办理使用登记变更。
各设区市质监局要加强内部管理,规范办事程序,做好承接工作。
工作中遇到问题,请及时与省质监局特安处联系。
福建省质量技术监督局
2014年7月28日
——结束——。
福建省质量技术监督局关于用好新版特种设备动态监管平台
的通知
【法规类别】特种行业和危险品管理
【发文字号】闽质监特[2014]298号
【发布部门】福建省质量技术监督局
【发布日期】2014.12.26
【实施日期】2014.12.26
【时效性】现行有效
【效力级别】地方规范性文件
福建省质量技术监督局关于用好新版特种设备动态监管平台的通知
(闽质监特〔2014〕298号)
各设区市质监局、平潭综合实验区市场监管局,各特种设备检验、评审、考试机构:我省新版特种设备动态监管平台(以下简称“新平台”)于2014年10月1日起投入运行,为确保全省特种设备安全监察工作数据规范统一,现就新平台使用中的有关事宜和要求通知如下:
一、关于施工告知事项
(一)企业办理施工告知不是行政审批事项,属于监督检查事项,是施工单位在施工前向监督管理部门报告拟进行的特种设备施工情况,便于监督管理部门视情况有针对性地开展监督检查的一项制度安排。
除车用气瓶外,其他特种设备的安装改造修理施工告
知信息须由施工单位录入新平台,并通过新平台打印出告知单后,按照质检总局《关于进一步规范特种设备安装改造维修施工告知工作的通知》(质检办特函〔2013〕684号)规定办理。
(二)施工单位在新平台开通专用账号,是基于平台数据规范管理的需要,平台管理员无法对账号使用者的真实身份及录入的施工告知信息的真实性进行把关。
因此,受理施工告知的安全监察机构应根据其录入的告知信息及书面告知材料情况,进行必要的监督检查。
监督检查中发现施工单位存在违法违规行为,需要暂停账号使用的,应提请相应的系统管理员进行处理。
(三)施工单位、监检机构及安全监察机构从新平台上打印出具有受理编号、接收人、接收日期的施工告知单,可作为查询施工单位已经办理过施工告知的凭据。
二、关于特种设备使用登记事项
全省特种设备(气瓶除外)使用。