医疗纠纷处理流程图
- 格式:doc
- 大小:23.50 KB
- 文档页数:2
122 医疗纠纷处理程序示意图
科室当事人
科室主要负责人接待 听取患方意见、予以解释、沟通 质控科接待 科室分管院长 处置预案 县卫生局
质控科调查取证 通知保卫科,保安人员协助
当事科室积极配合 报告
提出初步意见 公安机关、维稳办、综治办
在分管当事科室院领导的主持下
组织科室主要负责人与患方见面解释
争取得到患方理解
结束纠纷,善后处理 医调中心调解、医疗事故或司法鉴定、仲裁机构仲裁等合法途径解决、司法诉讼
报告
通知科室接
报告 启动 化解 不能化解 报告。
医疗纠纷处理流程图
医疗纠纷处理流程图
概述:
医疗纠纷是指患者或其家属因诊疗过程中出现医疗质量问题,与医疗机构、医务人员等之间发生纠纷的情况。
成都市医疗纠纷处理委员会是成都市卫生和计划生育委员会指定的处理医疗纠纷工作的专门机构,主要负责处理因医疗事故引起的医疗纠纷。
流程图:
1. 投诉与受理
患者或其家属向医院投诉,医院应当及时接收并及时处理。
2. 调查与取证
医院按照规定组织尽快开展医疗纠纷的调查工作,对纠纷事实及相关证据进行查证和固定,尽可能保留现场证据。
3. 处理程序
当医院接到纠纷投诉时间后,应当按照规定设立医疗纠纷处理委员会,并依照有关规定,采取协商、调解或者仲裁等方式解决纠纷。
医院还应当告知患者有权向处理纠纷的专门机构投诉。
简要注释如下:
1. 医疗纠纷处理委员会:是成都市卫生和计划生育委员会指定的处理医疗纠纷工作的专门机构。
2. 医疗质量问题:是指医疗过程中因医务人员的行为或管理不当造成的患者伤害、病情加重或者导致死亡等不良后果。
3. 现场证据:是指现场可以固定的与案件相关的物品、物证、记录等,在取证前应当保护好现场,避免现场被污损或者破坏。
法律名词及注释如下:
1. 医疗事故:是指医务人员在诊疗、护理等服务过程中发生,导致患者损害或者有严重损害可能的意外事件。
2. 协商:是指当事人通过商谈达成一致,自愿解决纠纷的方式。
3. 调解:是指由第三方介入,在协商基础上,帮助当事人达成协议,解决纠纷的方式。
4. 仲裁:是指由具有法律效力的审判机关依法对纠纷进行处理,裁决结果具有强制执行力的方式。
医疗纠纷处理流程图-标准化文件发布号:(9456-EUATWK-MWUB-WUNN-INNUL-DDQTY-KII
2 医疗纠纷处理流程图
备注:
1、 医疗纠纷处理四条途径:医患双方协商;上级行政部门调解;第三方人民调解委调解;司法解决。
对患方索赔三万元以上的医疗纠纷,公立医疗机构不得自行与患方协商解决。
2、 患方出现以下7种行为时,可拨打110报警:在医疗机构焚烧纸钱、摆设灵堂、摆放花圈、私拉横幅、违规停尸、聚众滋事、围堵大门或重要入口影响人员正常进出的;在医疗机构内寻衅滋事的;非法携带易燃、易爆危险物品和管制器具进入医疗机构的;侮辱、威胁、恐吓、殴打、故意伤害医务人员或者非法限制医务人员人身自由的;在医疗机构内故意毁损或者盗窃、抢夺公私财物的;倒卖医疗机构挂号凭证的;。
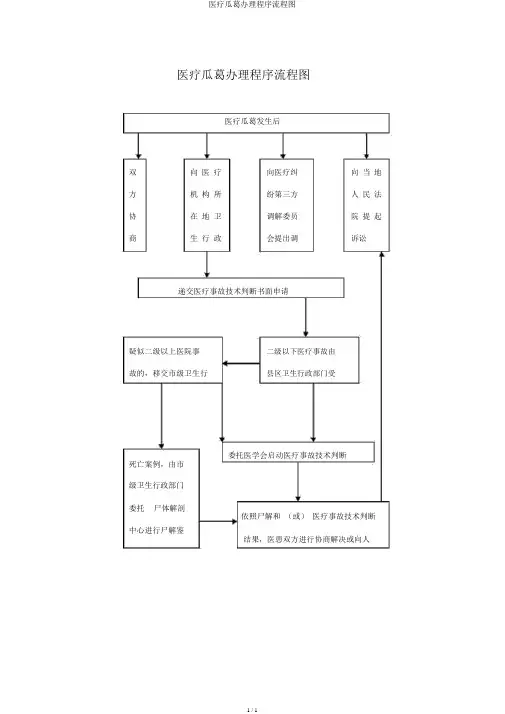
医疗瓜葛办理程序流程图
1 / 1
医疗瓜葛办理程序流程图
医疗瓜葛发生后
双 向 医 疗 向医疗纠 向 当 地 方 机 构 所 纷第三方 人 民 法 协 在 地 卫 调解委员 院 提 起 商
生 行 政
会提出调
诉讼
递交医疗事故技术判断书面申请 疑似二级以上医院事 故的,移交市级卫生行
二级以下医疗事故由 县区卫生行政部门受
委托医学会启动医疗事故技术判断
死亡案例,由市 级卫生行政部门
委托 尸体解剖
依照尸解和 (或) 医疗事故技术判断
中心进行尸解鉴
结果,医患双方进行协商解决或向人。