建设工程项目从立项到报建的具体流程说明
- 格式:docx
- 大小:11.42 KB
- 文档页数:5
建设工程从立项到报建的具体流程及所需资料建设工程从立项到开工前所有程序(包括立项审批、规划设计、建设工程报建)一、立项审批项目建议书审批(发改部门)------ 用地预审(国土部门)------ 供地(国地部门)——选址意见书(规划部门)----- 建设用地规划许可证(规划部门)----- 项目可行性研究报告 '及批复环评报一-告书及批复(环保部门)------ 水土保持方案及批复(水利部门)一――项目初步设计评审及批复(发改部门)--------- 建设工程规划许可证(规划部门)----- 施工图纸设计及审查(图审机构)------- 设计消防审核(消防部门)------ 防雷设计审核(气象部门)------ 建设工程施工许可证----- 工程开工报告审批。
项目建议书审批所需资料:1、项目立项申请书(原件一份)2、项目建议书或项目可行性研究报告(一份)3、建设用地的权属文件或建设项目用地预审意见书(一份)4、项目建设投资概算(一份)5、银信部门出示的资金证明(原件一份)6、企业法人营业执照副本(复印件一份);(房地产项目需提供资质证明一份)7、项目地形图(一份)选址意见书(规划部门)所需资料1、《建设项目选址意见书》申请表;2、建设项目拟选址位置图;3、建设项目总平面规划意向图;4、实行审批制的政府投资项目,应当提供项目建议书批复文件;实行备案制的企业投资项目,应当提供项目备案文件;5、需要编制规划选址研究报告的项目,应提供具有相应城市规划编制资质的单位编制的项目选址研究报告;6、提供《环境影响评价报告书》;7、通过出让方式取得土地的,应提供《国有土地使用权出让合同》;8与许可有关的其它材料。
用地预审所需资料:1、建设项目用地预审申请报告;2、建设项目用地预审申请表;3、建设项目建议书批准文件、相关会议纪要、城市规划选址意见等;4、建设用地项目可行性研究报告(其中,应有有关土地利用的章节内容,如项目用地规划选址情况、用地规模、占用国有土地和集体土地情况、拟占用土地的类型、占用耕地概况及补充耕地资金落实情况);5、项目用地平面布置图或现状测绘图(有地理坐标)及勘测定界报告、比例尺大于1 : 5000图纸;6、标注项目拟用土地位置的1:1万的土地利用现状图和土地利用总体规划图(只需规划图局部复印件,红笔位置标注,并签字盖章);7、地质灾害危险性评价报告和是否压覆重要矿床证明文件(指单独选址建设项目)。
完整版)建设工程从立项到报建的具体流程及所需资料建设工程从立项到报建的具体流程及所需资料一、立项阶段1.需求调研与可行性研究在这个阶段,需要进行相关需求的调研工作,了解工程项目的基本需求和背景信息,包括项目规模、功能需求、地理环境等。
同时,还需要进行可行性研究,分析项目的可行性和风险,包括市场需求、投资回报率、技术可行性等方面。
2.初步设计与预算编制在初步设计阶段,根据需求调研的结果,进行建筑平面布局、结构设计、设备布置等方面的初步设计工作。
同时,需要编制项目的预算,包括工程施工的费用、设备采购费用、设计费用等。
3.立项报告编制根据需求调研和可行性研究的结果,编制项目的立项报告。
立项报告需包括项目的背景、主要内容、项目目标、实施计划、市场分析、技术可行性分析、投资估算、风险评估等内容。
二、审批阶段1.相关部门审批将项目的立项报告提交给相关部门进行审批,包括建设主管部门、环境保护部门、城乡规划部门等。
需要提供的材料包括立项报告、预算报告、项目设计图纸等。
2.政府批准在获得相关部门的审批后,需要向政府部门提交申请,获得政府的批准。
需要提供的材料包括项目的立项报告、相关部门审批文件、预算报告等。
三、设计阶段1.施工图设计根据初步设计的结果,进行施工图设计工作,包括建筑结构图、设备布置图、管路布置图等。
施工图设计需要符合相关的法律法规和标准规范。
2.相关审批将施工图设计文件提交给相关部门进行审批,包括建设主管部门、消防部门、环保部门等。
需要提供的材料包括施工图设计文件、相关部门审批文件等。
四、报建阶段1.相关报建申请将设计文件提交给相关部门进行报建申请,需要提供的材料包括施工图设计文件、相关部门审批文件等。
同时,还需要提供施工方案、安全生产计划、环保方案等。
2.报建审批相关部门对报建申请进行审批,包括建设主管部门、规划部门、环保部门等。
需要提供的材料包括报建申请文件、设计文件等。
3.批准及备案在通过报建审批后,需要将相关文件提交给建设主管部门进行审批和备案。
完整版)建设工程从立项到报建的具体流程及所需资料建设工程是指依法在一定范围内用于建筑、水利、交通、市政、园林绿化等公共或私人的工程建设项目。
从立项到报建的具体流程及所需资料主要包括以下几个步骤:1.项目立项阶段:项目立项是指确定一个工程项目的必要性、可行性以及实施计划的过程。
在这个阶段,需要进行项目可行性研究,包括市场调研、技术评估、用地评估等,以确定项目的可行性。
同时还需要确定项目实施计划,包括工程规模、工期、预算等。
-项目可行性研究报告:包括市场调研报告、技术评估报告、用地评估报告等。
-项目实施计划:包括工程规模、工期、预算等明细。
2.设计阶段:在项目立项完成后,需要进行设计阶段的工作。
这个阶段主要包括编制工程设计方案、施工图纸等。
设计方案需要考虑工程规模、结构、材料、设备等。
-工程设计方案:包括工程规模、结构、材料、设备等明细。
-施工图纸:包括平面图、剖面图、立面图等。
3.审批阶段:设计阶段完成后,需要进行审批阶段的工作。
这个阶段主要包括进行相关部门的审批手续,如环保部门的环评、规划部门的规划审批等。
审批流程可能因项目性质和地区而有所不同。
-环境影响评价报告:由环境影响评价机构编制,包括项目对环境的影响评估和防治措施。
-规划审批文件:包括土地用途规划、建设规模等。
4.建设备案阶段:在审批完成后,需要进行建设备案阶段的工作。
这个阶段主要包括编制建设备案和相关手续,如土地出让手续、招投标等。
-建设备案:包括工程概述、施工组织设计、专业施工方案等。
-土地出让合同:由出让方和投标方签订,明确土地出让的条件和约定。
5.建设筹备阶段:建设备案阶段完成后,需要进行建设筹备阶段的工作。
这个阶段主要包括组织施工、采购设备、办理施工许可证等。
-施工许可证:由建设主管部门颁发,核准施工工艺和流程。
-采购合同:由建设单位和供应商签订,明确采购设备的价格、数量和交付时间等。
6.报建阶段:建设筹备阶段完成后,需要进行报建阶段的工作。
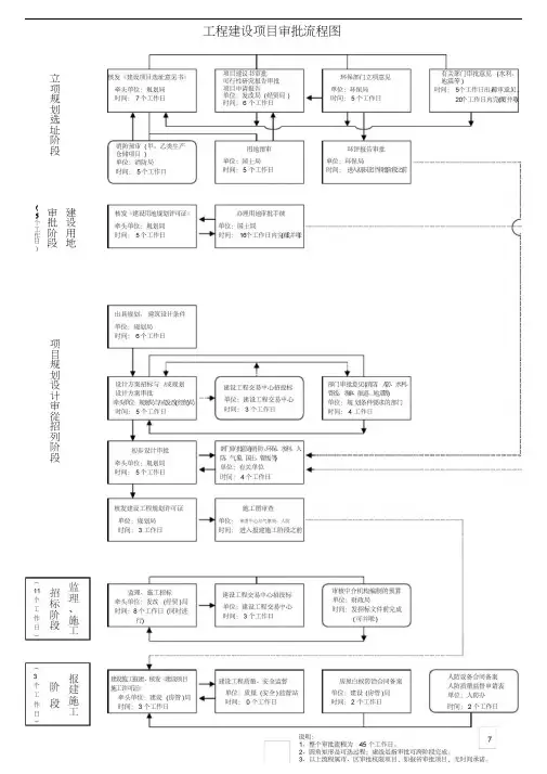
工程建设项目审批流程图工程建设项目审批流程操作说明工程建设项目审批流程分为立项规划选址、建设用地审批、项目建设招标(审批)、监理施工招标和报建施工五个阶段。
每个阶段,都由牵头部门先受理审批业务,并指引申办人到其他联办部门办理相关的审批手续。
办理结果最后由牵头部门集中答复申办人(立项规划选址阶段除外)。
申办人办理报建的具体操作步骤如下:第一阶段:立项规划选址阶段一、到规划局(牵头部门)窗口办理《建设项目选址意见书》的审批:(一)提交办理《建设项目选址意见书》所需材料,并领取签收《审批跟踪监督卡》(以下简称《监督卡》)。
(二)凭《监督卡》分别到发改局、环保局、消防局、国土局等联办部门窗口提交相关审批材料,并在《监督卡》上签名确认。
(三)将全部联办部门窗口已签收确认的《监督卡》送回规划局窗口。
(四)到规划局窗口领取和签收《建设项目选址意见书》以及《监督卡》等有关材料,办理承诺时限为7个工作日。
二、到发改局(牵头部门)窗口办理建设项目立项审批(项目不需要办理《建设项目选址意见书》的,由发改局牵头)。
(一)以登记备案方式立项的项目1.提交办理《企业投资项目登记备案》所需材料,并领取《监督卡》。
2.到发改局窗口领取审批结果,并在《监督卡》上签名确认,办理承诺时限为5个工作日。
(二)以其他方式立项的项目1.提交办理《项目建议书》或《可行性研究报告》所需材料,并领取签收《监督卡》。
2.凭《监督卡》分别到环保、国土、规划等联办部门窗口提交相关审批资料,并在《监督卡》上签名确认。
3.将全部联办部门窗口已经签收确认的《监督卡》送回发改局窗口。
4.到发改窗口领取和签收立项意见,办理承诺时限为6个工作日。
第二阶段:建设用地审批阶段到规划局窗口(牵头部门)办理用地审批:(一)提交办理《建设用地规划许可证》的所需材料,并领取签收《监督卡》。
(二)到规划局窗口领取审批结果,在《监督卡》上签名确认,办理承诺时限为5个工作日。
(三)凭《监督卡》到国土局窗口提交相关审批材料,并在《监督卡》上签名确认。
工程建设项目审批流程工程建设项目审批流程操作说明工程建设项目审批流程分为立项规划选址、建设用地审批、项目建设招标(审批)、监理施工招标和报建施工五个阶段。
每个阶段都由牵头部门先受理审批业务,并指引申办人到其他联办部门办理相关的审批手续。
办理结果最后由牵头部门集中答复申办人(立项规划选址阶段除外)。
申办人办理报建的具体操作步骤如下:第一阶段:立项规划选址阶段一、到规划局(牵头部门)窗口办理《建设项目选址意见书》的审批:1.提交办理《建设项目选址意见书》所需材料,并领取签收《审批跟踪监督卡》(以下简称《监督卡》)。
2.凭《监督卡》分别到___、___、消防局、国土局等联办部门窗口提交相关审批材料,并在《监督卡》上签名确认。
3.将全部联办部门窗口已签收确认的《监督卡》送回规划局窗口。
4.到规划局窗口领取和签收《建设项目选址意见书》以及《监督卡》等有关材料,办理承诺时限为7个工作日。
二、到发改局(牵头部门)窗口办理建设项目立项审批(项目不需要办理《建设项目选址意见书》的,由发改局牵头)。
1.以登记备案方式立项的项目:提交办理《企业投资项目登记备案》所需材料,并领取《监督卡》。
到发改局窗口领取审批结果,并在《监督卡》上签名确认,办理承诺时限为5个工作日。
2.以其他方式立项的项目:提交办理《项目建议书》或《可行性研究报告》所需材料,并领取签收《监督卡》。
凭《监督卡》分别到环保、国土、规划等联办部门窗口提交相关审批资料,并在《监督卡》上签名确认。
将全部联办部门窗口已经签收确认的《监督卡》送回发改局窗口。
到发改窗口领取和签收立项意见,办理承诺时限为6个工作日。
第二阶段:建设用地审批阶段到规划局窗口(牵头部门)办理用地审批:1.提交办理《建设用地规划许可证》的所需材料,并领取签收《监督卡》。
2.到规划局窗口领取审批结果,在《监督卡》上签名确认,办理承诺时限为5个工作日。
3.凭《监督卡》到国土局窗口提交相关审批材料,并在《监督卡》上签名确认。
建筑工程报批报建流程一般流程1.可行性研究报告;2.立项;3.申请《建设用地规划许可证》;4.总体规划平面图审查;5.单体审查;6.建设工程规划许可证;7、建设工程施工许可证;8、新建建筑物防雷设计报建审核;9、人防施工图报建审核;10、消防设计审核;11.房屋预售许可证一、项目前期立项1.可行性研究报告2.项目建议书二、办理规划选址意见书建设单位向规划部门提出申请, 经规划审查会研究, 按规定程序报批后, 颁发规划选址意见书, 同时提出规划设计条件。
三、办理《建设用地规划许可证》建设单位根据规划设计条件, 利用招标、委托等方式, 委托有资质的规划设计单位做出修建性详细规划, 报规划审批会研究, 按规定程序报批后颁发《建设用地规划许可证》四、办理土地使用证建设单位依据《建设用地规划许可证》, 到土地部门办理用地手续, 同时规划部门提出建筑设计要求。
五、审批建筑设计方案建设单位依据建筑设计要求委托有资质的建设设计单位做建筑设计方案, 大型工程、沿主要干道、国道的工程需提报二个以上建筑工程方案, 经规划审批会研究, 按规定程序报批后实施。
六、办理《建设工程规划许可证》建设单位依据经批准的建筑设计方案做建筑工程施工图, 施工图经建设部门审图中心审查后, 报规划部门申请办理建设工程规划许可证, 办证时, 土地手续尚未办理完毕但已同意使用的, 应由土地部门出具证明。
七、办理《建设工程施工许可证》建设单位依据建设工程规划许可证, 到建设部门办理建设工程施工招投标手续和施工许可证。
八、批后管理开工前, 建设单位须到规划部门申请放线、验线, 开工后, 应申请验槽, 否则视为违规建设。
九、工程规划验收工程竣工后, 经五方竣工验收(建设、勘察、设计、施工、监理), 建设单位应到规划部门申报竣工验收, 验收合格的办理建设工程竣工规划验收合格证。
5.。
工程建设项目报建流程一、立项阶段1.组织项目立项研究:确定项目的可行性,包括项目的技术、经济、社会、环境等方面的可行性研究。
2.提交项目立项申请:编写项目申请报告,包括项目的背景、目标、规模、投资、效益等内容,并提交相关部门进行审核。
3.项目立项审批:相关部门对项目立项申请进行审批,根据审批结果决定是否批准项目立项。
4.项目立项批复:批准项目立项后,由政府主管部门签发项目立项批复文件。
二、前期准备阶段1.编制招投标文件:根据项目需求,确定工程建设项目的招投标方式,编制相关招投标文件。
2.招标公告发布:将招标公告发布在指定媒体上,通知合格的潜在投标人参与投标。
3.招标文件发放:将招标文件发放给符合条件的投标人。
4.投标人报名:投标人按照招标文件的要求,提供相应资料报名参与投标。
5.投标文件递交:投标人将投标文件按规定时间和地点递交给招标人。
6.开标:由招标人在规定的时间和地点公开开标,记录并披露投标人的报价和其他相关信息。
7.评标:评审委员会对投标文件进行评审,确定中标人。
8.中标公示和中标通知书发放:将中标结果公示在指定媒体上,向中标人发放中标通知书。
9.签订合同:中标人与招标人签订合同,确定工程建设的具体要求和约束条件。
三、建设施工阶段1.开工备案:中标人在开工前必须向主管部门进行开工备案,提交相关资料,获得开工许可。
2.施工过程监督:相关监管部门对施工过程进行监督,确保施工按合同要求进行。
3.工程竣工验收:工程竣工后,进行验收工作,确认工程的质量、安全、环保等要求符合规定。
四、竣工阶段1.验收合格:经过验收确认工程符合规定的要求后,颁发工程竣工验收合格证书。
2.领取竣工备案证书:施工单位按照规定向主管部门领取竣工备案证书。
3.竣工报告编制:编制工程竣工报告,提交给主管部门备案。
以上是工程建设项目报建的一般流程,具体的流程和要求还需要根据当地的法律法规和相关部门的要求来确定。
在报建的过程中,需要遵守各项法规和规定,并按照规定的流程和程序进行操作。
建设工程从立项到竣工所有程序(包括立项审批、规划设计、建设工程报建、建设工程竣工验收)一、立项审批1 、项目立项申请报告书(原件一份)2 、项目建议书或项目可行性研究报告(一份)3 、建设用地的权属文件或建设项目用地预审意见书(一份)4 、项目建设投资概算(一份)5 、银信部门出示的资金证明(原件一份)6 、企业法人营业执照副本(复印件一份);(房地产项目需提供资质证明一份)7 、项目地形图(一份)8 、有关职能部门的意见。
二、规划设计1 、由市规划局根据城市总体规划和立项文件核发勘察设计红线,提供规划设计条件。
2 、建筑设计分为三个阶段,即方案设计、初步设计和施工设计。
3 、市城建局负责联系市有关部门对初步设计进行会审批复。
三、建设工程报建(一)建设工程报建,首先要提供如下资料到建委办理登记手续。
1 、计划部门核发的《固定资产投资许可证》或主管部门批准的计划任务书;2 、规划部门核发的《建设用地规划许可证》和《建设工程规划许可证》;3 、国土部门核发的《国有土地使用证》;4 、符合项目设计资格设计单位设计的施工图纸和施工图设计文件审查批准书;5 、人防办核发的《人民防空工程建设许可证》;6 、消防部门核发的《建筑工程消防设计审核意见书》;7 、防雷设施检测所核发的《防雷设施设计审核书》;8 、地震办公室核发的《抗震设防审核意见书》;9 、建设资金证明;10 、工程预算书和造价部门核发的《建设工程类别核定书》;11 、法律、法规规定的其他资料。
(二)公开招标的建设工程,要补充如下资料到招标办办理手续。
1 、建设单位法定代表人证明或法定代表人委托证明;2 、建设工程施工公开招标申请表;3 、建设工程监理公开招标申请表。
(三)邀请招标的建设工程,要补充如下资料到招标办办理手续。
1 、建设单位法定代表人证明或法定代表人委托证明;2 、建设工程施工邀请招标审批表;3 、建设工程监理邀请招标审批表;4 、工商部门签发的私营企业证明;5 、法人营业执照;6 、其他申请邀请招标理由证明。
工程建设项目审批流程分为立项规划选址、建设用地审批、项目建设招标(审批)、监理施工招标和报建施工五个阶段。
每个阶段,都由牵头部门先受理审批业务,并指引申办人到其他联办部门办理相关的审批手续。
办理结果最后由牵头部门集中答复申办人(立项规划选址阶段除外)。
申办人办理报建的具体操作步骤如下:第一阶段:立项规划选址阶段一、到规划局(牵头部门)窗口办理《建设项目选址意见书》的审批:(一)提交办理《建设项目选址意见书》所需材料,并领取签收《审批跟踪监督卡》(以下简称《监督卡》)。
(二)凭《监督卡》分别到发改局、环保局、消防局、国土局等联办部门窗口提交相关审批材料,并在《监督卡》上签名确认。
(三)将全部联办部门窗口已签收确认的《监督卡》送回规划局窗口。
(四)到规划局窗口领取和签收《建设项目选址意见书》以及《监督卡》等有关材料,办理承诺时限为7个工作日。
二、到发改局(牵头部门)窗口办理建设项目立项审批(项目不需要办理《建设项目选址意见书》的,由发改局牵头)。
(一)以登记备案方式立项的项目1.提交办理《企业投资项目登记备案》所需材料,并领取《监督卡》。
2.到发改局窗口领取审批结果,并在《监督卡》上签名确认,办理承诺时限为5个工作日。
(二)以其他方式立项的项目1.提交办理《项目建议书》或《可行性研究报告》所需材料,并领取签收《监督卡》。
2.凭《监督卡》分别到环保、国土、规划等联办部门窗口提交相关审批资料,并在《监督卡》上签名确认。
3.将全部联办部门窗口已经签收确认的《监督卡》送回发改局窗口。
4.到发改窗口领取和签收立项意见,办理承诺时限为6个工作日。
第二阶段:建设用地审批阶段到规划局窗口(牵头部门)办理用地审批:(一)提交办理《建设用地规划许可证》的所需材料,并领取签收《监督卡》。
(二)到规划局窗口领取审批结果,在《监督卡》上签名确认,办理承诺时限为5个工作日。
(三)凭《监督卡》到国土局窗口提交相关审批材料,并在《监督卡》上签名确认。
工程建设项目审批流程图立项规划选址阶段个工作建设用地审批阶段(5个工作日)项目规划设计审從招列阶段(1个工作日)工程建设项目审批流程操作说明工程建设项目审批流程分为立项规划选址、建设用地审批、项目建设招标(审批)、监理施工招标和报建施工五个阶段。
每个阶段,都由牵头部门先受理审批业务,并指引申办人到其他联办部门办理相关的审批手续。
办理结果最后由牵头部门集中答复申办人(立项规划选址阶段除外)。
申办人办理报建的具体操作步骤如下:第一阶段:立项规划选址阶段一、到规划局(牵头部门)窗口办理《建设项目选址意见书》的审批:(一)提交办理《建设项目选址意见书》所需材料,并领取签收《审批跟踪监督卡》(以下简称《监督卡》)。
(二)凭《监督卡》分别到发改局、环保局、消防局、国土局等联办部门窗口提交相关审批材料,并在《监督卡》上签名确认。
(三)将全部联办部门窗口已签收确认的《监督卡》送回规划局窗口。
(四)到规划局窗口领取和签收《建设项目选址意见书》以及《监督卡》等有关材料,办理承诺时限为7个工作日。
二、到发改局(牵头部门)窗口办理建设项目立项审批(项目不需要办理《建设项目选址意见书》的,由发改局牵头)。
(一)以登记备案方式立项的项目1.提交办理《企业投资项目登记备案》所需材料,并领取《监督卡》。
2.到发改局窗口领取审批结果,并在《监督卡》上签名确认,办理承诺时限为5个工作日。
(二)以其他方式立项的项目1.提交办理《项目建议书》或《可行性研究报告》所需材料,并领取签收《监督卡》2.凭《监督卡》分别到环保、国土、规划等联办部门窗口提交相关审批资料, 并在《监督卡》上签名确认。
3.将全部联办部门窗口已经签收确认的《监督卡》送回发改局窗口。
4.到发改窗口领取和签收立项意见,办理承诺时限为6个工作日。
第二阶段:建设用地审批阶段到规划局窗口(牵头部门)办理用地审批:(一)提交办理《建设用地规划许可证》的所需材料,并领取签收《监督卡》。
建设工程从立项到报建的具体流程及所需资料建设工程从立项到开工前所有程序(包括立项审批、规划设计、建设工程报建)一、立项审批项目建议书审批(发改部门)———用地预审(国土部门)———供地(国地部门)———选址意见书(规划部门)———建设用地规划许可证(规划部门)———项目可行性研究报告及批复———环评报告书及批复(环保部门)———水土保持方案及批复(水利部门)———项目初步设计评审及批复(发改部门)———建设工程规划许可证(规划部门)———施工图纸设计及审查(图审机构)———设计消防审核(消防部门)———防雷设计审核(气象部门)———建设工程施工许可证———工程开工报告审批。
项目建议书审批所需资料:1 、项目立项申请书(原件一份)2 、项目建议书或项目可行性研究报告(一份)3 、建设用地的权属文件或建设项目用地预审意见书(一份)4 、项目建设投资概算(一份)5 、银信部门出示的资金证明(原件一份)6 、企业法人营业执照副本(复印件一份);(房地产项目需提供资质证明一份)7 、项目地形图(一份)选址意见书(规划部门)所需资料1、《建设项目选址意见书》申请表;2、建设项目拟选址位置图;3、建设项目总平面规划意向图;4、实行审批制的政府投资项目,应当提供项目建议书批复文件;实行备案制的企业投资项目,应当提供项目备案文件;5、需要编制规划选址研究报告的项目,应提供具有相应城市规划编制资质的单位编制的项目选址研究报告;6、提供《环境影响评价报告书》;7、通过出让方式取得土地的,应提供《国有土地使用权出让合同》;8、与许可有关的其它材料。
用地预审所需资料:1、建设项目用地预审申请报告;2、建设项目用地预审申请表;3、建设项目建议书批准文件、相关会议纪要、城市规划选址意见等;4、建设用地项目可行性研究报告(其中,应有有关土地利用的章节内容,如项目用地规划选址情况、用地规模、占用国有土地和集体土地情况、拟占用土地的类型、占用耕地概况及补充耕地资金落实情况);5、项目用地平面布置图或现状测绘图(有地理坐标)及勘测定界报告、比例尺大于 1:5000 图纸;6、标注项目拟用土地位置的 1:1 万的土地利用现状图和土地利用总体规划图(只需规划图局部复印件,红笔位置标注,并签字盖章);7、地质灾害危险性评价报告和是否压覆重要矿床证明文件(指单独选址建设项目)。
工程建设项目审批流程操作说明工程建设项目审批流程分为立项规划选址、建设用地审批、项目建设招标审批、监理施工招标和报建施工五个阶段..每个阶段;都由牵头部门先受理审批业务;并指引申办人到其他联办部门办理相关的审批手续..办理结果最后由牵头部门集中答复申办人立项规划选址阶段除外..申办人办理报建的具体操作步骤如下:第一阶段:立项规划选址阶段一、到规划局牵头部门窗口办理建设项目选址意见书的审批:一提交办理建设项目选址意见书所需材料;并领取签收审批跟踪监督卡以下简称监督卡..二凭监督卡分别到发改局、环保局、消防局、国土局等联办部门窗口提交相关审批材料;并在监督卡上签名确认..三将全部联办部门窗口已签收确认的监督卡送回规划局窗口..四到规划局窗口领取和签收建设项目选址意见书以及监督卡等有关材料;办理承诺时限为7个工作日..二、到发改局牵头部门窗口办理建设项目立项审批项目不需要办理建设项目选址意见书的;由发改局牵头..一以登记备案方式立项的项目1.提交办理企业投资项目登记备案所需材料;并领取监督卡..2.到发改局窗口领取审批结果;并在监督卡上签名确认;办理承诺时限为5个工作日..二以其他方式立项的项目1.提交办理项目建议书或可行性研究报告所需材料;并领取签收监督卡..2.凭监督卡分别到环保、国土、规划等联办部门窗口提交相关审批资料;并在监督卡上签名确认..3.将全部联办部门窗口已经签收确认的监督卡送回发改局窗口..4.到发改窗口领取和签收立项意见;办理承诺时限为6个工作日..第二阶段:建设用地审批阶段到规划局窗口牵头部门办理用地审批:一提交办理建设用地规划许可证的所需材料;并领取签收监督卡..二到规划局窗口领取审批结果;在监督卡上签名确认;办理承诺时限为5个工作日..三凭监督卡到国土局窗口提交相关审批材料;并在监督卡上签名确认..四到国土局窗口领取审批结果;在监督卡上签名确认;办理承诺时限为16个工作日..第三阶段:项目规划设计审批招标阶段一、办理规划、建筑设计条件一到规划局窗口提交办理规划、建筑设计条件所需材料;并在监督卡上签名确认..二到规划局窗口领取审批结果;在监督卡上签名确认;办理承诺时限为6个工作日..二、办理设计方案招标一需要进行设计方案招标的项目:到发改局或经贸局牵头部门窗口办理设计方案招标审批:1.到发改局或经贸局牵头部门窗口办理招标核准意见..2.到发改局或经贸局窗口领取和签收招标核准意见以及监督卡等有关材料;办理承诺时限为3个工作日..3.凭监督卡到建设工程交易中心办理委托招标手续;并在监督卡上签名确认建设工程交易中心自受理委托之日起2个工作日内将招标信息上网公告..4.到建设工程交易中心领取中标通知书建设工程交易中心在中标结果公示完成后1个工作日内发出中标通知书..二不需要进行设计方案招标的项目:到规划局牵头部门窗口办理规划设计方案和审批:1.提交办理规划设计方案和审批的所需材料;并领取签收监督卡..2.凭监督卡分别到环保局、人防办等联办部门窗口提交相关审批材料;并在监督卡上签名确认..3.将全部联办部门窗口已经签收确认的监督卡送回规划局窗口..4.到规划局窗口领取审批结果;并在监督卡上签名确认;办理承诺时限为5个工作日..三、到规划局牵头部门窗口办理初步设计审批:一提交办理初步设计审批的所需材料;并领取签收监督卡..二凭监督卡分别到环保局、人防办、气象局等联办部门窗口提交相关审批材料;并在监督卡上签名确认..三将全部联办部门窗口已经签收确认的监督卡送回规划局窗口..四到规划局窗口领取审批结果;并在监督卡上签名确认;办理承诺时限为5个工作日..四、到规划局牵头部门窗口办理核发建设工程规划许可证的审批:一提交办理核发建设工程规划许可证的所需材料;并领取签收监督卡..二凭监督卡分别到气象局、人防办等联办部门窗口提交相关审批材料;并在监督卡上签名确认;气象局办理承诺时限为5个工作日;凭监督卡领取和签收办理结果..三到规划局窗口领取审批结果;并在监督卡上签名确认;办理承诺时限为3个工作日..第四阶段:监理、施工招标阶段到发改局或经贸局牵头部门窗口办理监理、施工招标的审批:一提交办理监理、施工招标审批的所需材料;并领取签收监督卡..二凭监督卡分别向财政局等联办部门窗口提交相关的审批材料;并在监督卡上签名确认..三将已经联办部门窗口签收确认的监督卡送回发改局或经贸局窗口..四到发改局或经贸局窗口领取和签收招标核准意见以及领取监督卡等有关材料;办理承诺时限为3个工作日..五凭监督卡到审图中心领取和签收办理结果;办理承诺时限为5个工作日..六凭监督卡到财政局窗口签收办理结果;办理承诺时限为8个工作日..七凭监督卡到建设工程交易中心办理委托招标手续建设工程交易中心自受理委托之日起2个工作日内将招标信息上网公告..八将监督卡送回发改局或经贸局窗口..九到建设工程交易中心领取中标通知书建设工程交易中心在中标结果公示后1个工作日内发出中标通知书..第五阶段:报建、施工阶段到建设局牵头部门窗口办理工程报建、施工的审批:一提交办理建设施工报建、核发建设项目施工许可证审批的所需材料;并领取签收监督卡..二凭监督卡分别到质监站、安监站、人防办等联办部门窗口提交相关材料;并在监督卡上签名确认..三将已经质监站、安监站、人防办等联办部门窗口签收确认的监督卡送回建设局窗口..四到建设局窗口领取审批结果;并在监督卡上签名确认;办理承诺时限为3个工作日..注意事项:报建每一阶段都设有一张监督卡;审批部门窗口和申办人须按要求填写交接监督卡;作为监督各审批部门窗口工作时效和受理申办者投诉的依据..每一报建阶段结束后;监督卡交由该阶段的牵头部门窗口保存..建设项目主要审批环节申报材料参照青岛一、土地审批一土地农转用内部业务二土地征用内部业务三土地储备1、填写完整的用地储备申请表两份;2、土地权属证明材料政府批文、土地证、房产证等;3、现状地形图一份或定界地形图四土地预审内部业务五土地招拍挂内部业务在招拍挂公告规定的时间内;竞买投人持竞买投申请书、营业执照副本、法定代表人身份证复印件或授权委托书、委托代理人身份证复印件等办理竞买投申请;并缴纳竞买保证金..六签订土地成交确认书或中标通知书七签订土地出让合同八办土地登记;领土地证1、书面申请及土地登记申请书;2、政府用地批文;3、土地出让合同;4、核定用地图;5、地籍调查表;6、建设用地规划许可证复印件提供原件审查;7、土地出让金及相关费用缴付凭证复印件提供原件审查;8、契税完税证明;9、本宗地及相邻宗地单位法人、委托人身份证明及身份证复印件;10、营业执照复印件;11、门牌号证明;12、特殊情况须提供其它有关资料..二、规划审批一申领选址意见书1、申请书及项目基本情况说明;2、项目立项文件需要发改部门前置批复的项目;3、土地证明材料附图;4、相关部门审查意见如果有规划要求的;5、青岛市统一坐标和高程系统的1:500现状地形图2份地形图原则不小于用地界线外50米范围;大型管线工程可用1:1000或1:2000现状地形图;6、重新申领选址意见书;须提交原审查意见..注:①申请预选址的只需提交第1、3、5项;②市政管线选址只需提交第1、5项二申请建设用地规划设计条件1、申请书及项目基本情况说明;2、选址意见书及附图未经选址的项目不需提交;3、土地证明材料申请成片区域控制性详细规划条件的可不提交及附图;4、相关部门审查意见;5、已经规划选址划定用地范围的项目;提交规划选址实测成果图2张拟纳入土地储备的提供3张;未经规划选址的项目;提交青岛市统一坐标和高程系统的1:500现状地形图2张地形图原则不小于用地界线外50米范围;6、重新申请建设用地规划设计条件;须提交原审查意见及附图..三划定规划控制线1、申请书及项目基本情况说明;2、青岛市统一坐标和高程系统的1:500现状地形图2份地形图原则不小于用地界线外50米范围;3、土地证明材料新征用地不需提交;4、已经规划选址或下达规划设计条件的项目提交相关审查意见及附图..四报审规划方案设计设计说明书、总平面、竖向和管线综合图、申领建设用地规划许可证1、申请书及项目基本情况说明;2、选址意见书含规划设计条件及附图含控制线;3、相关部门审查意见;4、进行专家评审、社会公示的项目;出具相应的专家评审、社会公示意见及全部参审方案参审方案提交文本各一套;推荐方案按第5条提交蓝图;5、规划设计方案设计说明书、规划总平面、竖向设计各2份;管线综合6份;6、重新修改送审的方案设计;须附原审查意见及附图;7、与送审文本及图纸相符的电子文件三图一书;8、申领建设用地规划许可证的项目提供规划选址实测成果图2份地形图原则不小于用地界线外50米范围;9、土地证明材料和项目核准或备案文件..注:①不需审查规划方案的项目;申领用地规划许可证只提交第1、2、8项;无选址意见书项目还需提交第9项;②单独报审管线综合的;只需提交第1项及批准的规划方案审查意见与附图规划总平面、竖向五报审建筑方案设计1、申请书及项目基本情况说明;2、选址意见书含规划设计条件及附图含控制线;3、批准的规划方案审查意见书及附图需审查规划方案的项目;4、进行专家评审、社会公示的项目;出具相应的专家评审意见、社会公示意见及全部参审方案参审方案提交文本各一套;推荐方案按第5条提交蓝图;5、建筑方案设计文件2套建筑、环境、外装饰;6、改建、扩建、恢复性建设工程还需提供房地产证明材料、房屋结构安全鉴定书、原批准的建筑施工图、现状照片;未经规划验收领取房产证的项目提交建设工程规划许可证;7、建筑效果图;重点地段的大型建筑同时报亮化方案效果图;8、与送审文本及图纸相符的电子文件;9、高层建筑提交日照分析图及报告书;10、重新修改送审的方案设计;须提交前一次审查意见及附图..六申请基础提前开挖1、申请书及项目基本情况说明;2、批准的建筑方案初步设计审查意见及附图..七报审施工图及申领建设工程规划许可证、许可证过期重新核发1、申请书及项目基本情况说明;2、核准或备案文件;3、选址意见书含规划设计条件及附图含控制线;4、土地权属证明材料及确界图;5、批准的建筑方案审查意见及附图;6、工程勘察、设计合同鉴审通知书建委设计管理处;7、相关部门审查意见;8、施工图设计文件及图纸建筑2套;外加总平面一张;9、环境设计图二套可另行单独申报;重要建筑含建筑亮化设计;10、外装饰设计图纸、材料样品、色标及效果图可另行单独申报;11、与报审文本及图纸相符的电子文件;12、重新修改送审的施工图设计;须提交前一次审查意见..八申请查验灰线1、申请书及规划报建申请表;2、测绘放线资料一套;3、建设工程规划许可证及附图;4、施工许可证..三、建设审批一防空地下室易地建设审批1、防空地下室易地建设申请表原件2份;2、项目核准或备案文件复印件1份;3、规划部门批准的加盖规划审批章的总平面图、单体方案含方案审查意见、首层平面图、地下室各层平面图、剖面图等;并提供电子版图..复印件1套;4、符合易地建设条件的证明材料原件1份;5、其他材料属于政策减免的;如经济适用房和廉租房等相关批准文件;复印件1套..二结建防空地下室报建1、结建防空地下室报建表原件2份;2、项目核准或备案文件复印件1份;3、规划部门批准的加盖规划审批章的总平面图、单体方案含方案审查意见、首层平面图、地下室各层平面图、剖面图等;并提供电子版图..复印件1套;4、其他材料属于政策减免的;如经济适用房和廉租房等相关批准文件;复印件1套..三结合防空地下室设计方案审核1、防空地下室设计方案审查申请表原件2份;2、已取得的结建防空地下室设计意见书复印件1份;3、防空地下室设计方案图纸原件2套;4、设计单位人防工程设计资质证明复印件1份.. 四结建防空地下室施工图审核1、防空地下室施工图审核申请表原件2份;2、已取得的结建防空地下室设计意见书和结建防空地下室设计方案审核意见通知书复印件1份;3、防空地下室施工图原件2套;4、设计单位人防工程设计资质证明复印件1份;5、由市人防工程施工图设计文件审查办公室下发的人防工程施工图设计文件审查意见书原件1份..五招标申请核准1、崂山区建设工程招标申请表公开招标一式三份;邀请招标一式四份;委托招标代理机构者提供招标代理机构资质证书原件、复印件;检验后原件返回;复印件留存;招标代理合同一份;2、建设工程项目施工招标需提供工程项目招标方案和专业工程及货物明细表原件各二份;3、建设工程规划许可证原件、复印件加盖单位公章;核验后原件退回;4、建设工程施工图设计审查报告书原件、复印件加盖单位公章;核验后原件退回;5、建设单位自行招标需提供青岛市建设工程招标人资格备案表原件二份..邀请招标者增加下列内容:1、招标单位营业执照副本及复印件一式两份;加盖工商行政管理部门章;核验后原件退回;2、企业章程复印件明确表明非国有资金控股一式两份;加盖工商行政管理部门章;3、投标单位营业执照副本及复印件、资质证书副本及复印件;复印件加盖单位公章;原件核验后退回;4、法规、规章规定必须提供的其他文件..六工程中标通知书备案1、工程中标备案通知书一式五份;2、招标单位与中标方签订的合同视招标内容签订的施工、监理、绿化工程、材料供应等合同;3、定标报告复印件加盖单位公章;4、法规、规章规定必须提供的其他文件..七建筑工程施工许可证1、建筑工程施工许可申请表一式两份;2、建设工程质量监督登记表一份/单体包含表1-2中要求的复印件;3、建设工程竣工档案移交合同书原件一式两份;4、建筑工程墙体材料使用表一式两份及建筑节能设计技术指标登记表一、建筑节能采暖设计登记表二一式一份设计单位提供;5、由区国土资源局出具的国有土地使用权证复印件验核原件;复印件加盖公章;6、建设工程规划许可证复印件二份验核原件;复印件加盖单位公章;7、非财政投资项目提供工程款支付担保、财政投资项目提供银行资金担保证明工程中标价的10%;8、房地产项目提供开发经营许可证复印件加盖单位公章; 9、施工、监理工程中标备案通知书原件和复印件各一份; 10、工程地质勘察报告原件;11、施工图设计文件、审查意见和审查意见回复复印件及建设工程施工图设计审查报告书原件两份;12、施工组织设计和施工方案原件; 13、监理大纲原件;14、建设工程施工现场勘验通知书一式一份;15、结建防空地下室施工图审核通知书或易地建设证明; 16、散装水泥审批单原件一份;17、法规、规章规定必须提供的其他文件..四、立项审批一项目核准XX市政府核准的投资项目目录中规定的项目1、项目核准申请报告需核准项目的申请报告需由乙级以上工程咨询资格的机构编制;2、土地预审意见书;3、规划选址意见书;4、环境影响评价批复文件;5、企业营业执照副本;6、海域使用意见建设项目涉及到使用海域的;7、房地产开发资质建设项目为房地产项目的;8、其他相关资料..外资项目需增加:1、中外投资各方的营业执照、商务登记证及经审计的最新企业财务报表、开户银行出具的资金信用证明;2、投资意向书;增资、购并项目的公司董事会决议;3、银行出具的融资意向书建设项目涉及到银行贷款的..二项目备案1、项目备案申请报告;2、企业营业执照副本;3、不需要新征建设用地的项目;提交原有土地证明土地使用权证或政府用地批文等;需新征建设用地的项目;经营性用地和工业用地需提交土地“招标、拍卖、挂牌”的成交确认书或中标通知书或土地使用权出让合同;4、房地产开发资质建设项目为房地产项目的;5、对按照规定需要进行合理用能评估、审核的项目;需出具合理用能评估、审核意见书;6、根据有关法律法规应提交的其他文件.. 六、卫生审批1、建设项目的批准文件复印件;2、可行性论证报告书;3、建设项目设计卫生审查及验收申请书;4、设计说明书及卫生专篇;5、设计图纸平、立、剖、工艺流程及设备布局图、采暖通风、给排水、职业病危害防护设施等图纸;6、相关卫生预评价报告书职业病危害预评价报告书、卫生学评价报告书及专家审查意见;7、相关卫生防护措施效果控制评价报告书职业病危害控制效果评价报告书及专家意见;8、卫生行政部门要求提供的其它资料..六、消防审批1、建筑消防设计防火审核申报表;2、具有相应设计资格的设计单位设计的建筑工程全套图纸及设计说明..3、国家、省重点工程、高层建筑、地下工程及其它设置自动消防设施的建筑工程;同时提交消防设计专篇..七、环保审批1、企业名称证明;2、场地使用证明;3、项目地理位置示意图;4、项目平面布置示意图;5、符合建设项目分类审批要求的环境影响评价报告书、报告表或登记表一式四份;6、项目立项文件需要发改部门前置批复的项目、规划选址意见和土地权属证明材料等;7、项目涉及水土保持或海域使用的;需相关主管部门出具审批、审核意见;8、代理人的授权书或委托书..八、其它一工程勘察成果的政策性审查1、崂山区建设工程勘察成果审查申请表一式两份;2、勘察单位资质证书副本复印件提供原件审查;二施工图设计文件政策性审查1、崂山区施工图设计文件审查申请表一式两份;2、全套施工图设计图纸一套;3、建设工程规划许可证复印件提供原件审查;4、建设工程勘察成果审查报告;5、设计单位资质证书副本复印件提供原件审查..三施工图纸设计文件审查批准书1、建设工程施工图设计审查批准书..。
项目建设手续流程项目建设手续流程是指在进行任何项目建设之前,需要按照一定的程序和规定,完成一系列的手续和审批工作。
这些手续和审批工作的完成,对于项目的顺利进行和成功实施起着至关重要的作用。
下面将详细介绍项目建设手续流程的具体内容。
首先,项目建设手续流程的第一步是项目立项阶段。
在这个阶段,需要明确项目的建设内容、投资规模、建设地点、建设期限等基本信息。
同时,还需要进行项目的可行性研究和论证,包括项目的市场分析、技术可行性、经济合理性等内容。
完成这些工作后,需要向相关部门提交项目建议书,并经过相关部门的审批和批复,才能正式启动项目建设。
第二步是土地使用手续的办理。
在确定了项目的建设地点后,需要向国土资源部门申请土地使用手续。
这包括土地规划许可证、土地出让合同、土地证等相关手续的办理。
只有完成了这些手续的办理,项目才能在规定的土地上进行建设。
第三步是环境影响评价的审批。
在进行项目建设之前,需要对项目的环境影响进行评价,并提交环境影响评价报告。
这个报告需要经过环境保护部门的审批和批复,只有得到批复后,项目才能进行下一步的建设工作。
第四步是项目建设工程规划许可的办理。
在确定了项目的建设内容和规模后,需要向规划部门提交项目建设工程规划许可申请。
只有得到规划部门的批复,项目才能按照规划进行建设。
第五步是施工许可证的办理。
在完成了项目的规划许可后,需要向建设行政主管部门提交施工许可证申请。
只有得到施工许可证,项目才能进行实际的建设工作。
第六步是竣工验收和投产。
在项目建设完成后,需要进行竣工验收,获得有关部门的验收合格证书。
只有通过了竣工验收,项目才能正式投入使用。
以上就是项目建设手续流程的具体内容。
完成了这些手续和审批工作后,项目才能顺利进行建设和实施。
因此,项目建设手续流程的严格执行,对于项目的成功实施起着至关重要的作用。
建设项目报建流程一、项目选址立项与土地获取阶段获取国有土地使用权是建设单位进行项目建设的第一步,其获取的方式一般包括划拨、出让(招拍挂、协议出让)、转让、租赁等。
以划拨方式取得国有土地使用权的,在申请建设用地规划许可之前,需要进行项目选址,涉及集体土地的,还需要办理征地补偿安置手续,之后再由国土局划拨土地。
以出让方式取得国有土地使用权的,则无需经过规划选址,规划部门在土地出让前已提出出让地块的规划条件,并作为出让合同的组成部分,建设单位在签订合同并完成项目的立项之后,便可申领《建设用地规划许可证》。
二、建设项目规划设计阶段规划设计是项目建设的重要环节。
在项目取得《选址意见书》(或规划设计条件,或签订《国有土地使用权出让合同》)后,建设单位即可组织进行项目的规划设计工作。
建设项目的设计工作主要包括设计工作的发包、规划方案设计、建筑方案设计、初步设计与施工图设计等。
为取得《建设工程规划许可证》,建设单位需要完成建设工程设计招标核准与备案、建设工程设计方案审查、建设工程初步设计审查与概算审批、建设项目日照分析审查与地名命名的办理等。
三、建设项目施工准备阶段施工准备是指在工程开始施工之前,为了工程及时开工和顺利施工创造必要的条件而进行的工作。
施工单位只有在监理单位和建设单位出具开工通知后,方可开工。
在施工准备阶段,建设单位需要完成建设工程施工图审查与备案、建设工程施工与监理招标、建设工程施工组织设计与监理规划的编制与审批、建设工程质量安全监督登记与施工安全措施备案、建设工程相关费用的缴纳、建设工程施工现场的准备、建设工程放线与验线、建筑工程施工许可证的办理等。
四、建设项目施工阶段建设项目施工阶段的管理是指建设单位在完成工程施工的各项准备工作并签发开工通知单后,工程开始施工直至工程竣工的整个过程的管理。
在工程的施工阶段,建设单位的主要管理工作包括建设工程施工进度管理、质量管理、安全文明施工管理、工程变更与签证管理、停工与复工管理、工程结算与工程款支付管理等工程管理工作与建设工程永久设施的报批等。
项目报批报建流程一、项目报批报建的背景和目的二、项目报批报建的流程步骤1.项目规划与立项阶段(1)前期调研:项目发起人或者项目管理机构进行市场调研、技术研究等工作,明确项目的可行性和发展前景。
(2)编制项目可行性研究报告:项目发起人根据前期调研的结果,编制项目可行性研究报告,包括项目的市场分析、技术实施方案、经济效益分析等内容。
(3)决策和立项:经过专项评审和决策,确定项目可行性研究报告及项目立项报告,由相关部门批准立项。
2.制定项目建设方案阶段(1)资金筹备:项目建设方案确定后,项目发起人进行资金筹备,包括自筹资金、融资渠道等。
(2)编制项目建设方案:项目发起人根据项目可行性研究报告,编制项目建设方案,包括项目的总体设想、工程量及工期、施工组织方案等。
(3)项目评审和批准:项目建设方案完成后,由相关部门进行评审和批准。
需要提供项目建设方案、可行性研究报告、环境影响评价报告等。
3.环评审批和土地手续阶段(1)进行环境影响评价:项目发起人根据相关法规和要求,进行环境影响评价工作,编制环境影响评价报告。
(2)环评审批:环境影响评价报告提交给环保部门进行审批,审批通过后,颁发环评批复文件。
(3)土地手续办理:项目发起人根据项目建设方案和土地政策,完成土地手续,包括土地使用权出让、土地开发、土地使用许可等。
4.前期工程准备和设计阶段(1)前期工程准备:项目发起人根据项目建设方案,组织前期工程准备工作,包括招标采购、施工组织、人员配备等。
(2)工程设计:由资质合格的设计机构进行工程设计,包括施工图纸、工程报价、技术说明书等。
(3)设计审查和批准:工程设计提交给相关部门进行审查和批准。
需要提供工程设计文件、施工图纸审查意见等。
5.施工和监管阶段(1)施工准备:项目发起人根据设计文件,组织施工队伍、采购原材料、建立施工现场等。
(2)施工监管:相关部门对施工进行监管,包括施工进度、质量检查、安全保障等。
(3)工程竣工验收:项目完成后,进行工程竣工验收,包括环保验收、质量验收、安全验收等。
建设工程基本建设程序(最完整)建设工程基本建设程序我国工程基本建设主要程序主要有以下几个阶段:项目建议书阶段,可行性研究报告阶段,初步设计文件阶段,施工图设计阶段,建设准备阶段,建设实施阶段,竣工验收阶段,后评价阶段。
这几个大的阶段中每一阶段都包含着许多环节。
一、项目建议书(立项)阶段项目建议书是项目建设筹建单位,根据国民经济和社会发展的长远规划、行业规划、产业政策、生产力布局、市场、所在地的内外部条件等要求,经过调查、预测分析后,提出的某一具体项目的建议文件,是基本建设程序中最初阶段的工作,是对拟建项目的框架性设想,也是政府选择项目和可行研究的依据。
项目建议书的主要作用是为了推荐一个拟进行建设的项目的初步说明,论述它建设的必要性、重要性、条件的可行性和获得的可能性,供政府选择确定是否进行下一步工作。
该阶段分为以下几个环节:(一)编制项目建议书项目发起书的内容一般应包括以下几个方面:①建设项目提出的必要性和依据;②拟建规模、建设方案;③建设的主要内容;④建设地点的初步设想情况、资源情况、建设条件、协作关系等的初步分析;⑤投资估算和资金筹措及还贷方案;⑥项目进度安排。
⑦经济效益和社会效益的估计。
⑧环境影响的初步评价。
有些部门在提出项目发起书之前还增加了初步可行性研讨工作,对拟举行建设的项目初步论证后,再行编制项目发起书。
1项目发起书按要求编制完成后,按照建设总规模和限额的划分审批权限报批。
属中央投资、中央和地方合资的大中型和限额以上项目的项目建议书需报送国家投资主管部门(XXX)审批。
属省政府投资为主的设项目需报省投资主管部门(XXX)审批;属地市政府投资为主的建设项目需报地市投资主管部门(XXX)审批;属区县政府投资为主的建设项目需报区县投资主管部门(发改局)审批。
(二)办理项目选址规划意见书项目发起书编制完成后,项目筹建单位应到规划部门办理建设项目选址规划意见书。
(三)办理建设用地规划许可证和工程规划许可证在规划部门办理。
建设工程从立项到报建的具体流程建设工程从立项到竣工所有程序(包括立项审批、规划设计、建设工程报建、建设工程竣工验收)一、立项审批1 、项目立项申请报告书(原件一份)2 、项目建议书或项目可行性研究报告(一份)3 、建设用地的权属文件或建设项目用地预审意见书(一份)4 、项目建设投资概算(一份)5 、银信部门出示的资金证明(原件一份)6 、企业法人营业执照副本(复印件一份);(房地产项目需提供资质证明一份)7 、项目地形图(一份)8 、有关职能部门的意见。
二、规划设计1 、由市规划局根据城市总体规划和立项文件核发勘察设计红线,提供规划设计条件。
2 、建筑设计分为三个阶段,即方案设计、初步设计和施工设计。
3 、市城建局负责联系市有关部门对初步设计进行会审批复.三、建设工程报建(一)建设工程报建,首先要提供如下资料到建委办理登记手续。
1 、计划部门核发的《固定资产投资许可证》或主管部门批准的计划任务书;2 、规划部门核发的《建设用地规划许可证》和《建设工程规划许可证》;3 、国土部门核发的《国有土地使用证》;4 、符合项目设计资格设计单位设计的施工图纸和施工图设计文件审查批准书;5 、人防办核发的《人民防空工程建设许可证》;6 、消防部门核发的《建筑工程消防设计审核意见书》;7 、防雷设施检测所核发的《防雷设施设计审核书》;8 、地震办公室核发的《抗震设防审核意见书》;9 、建设资金证明;10 、工程预算书和造价部门核发的《建设工程类别核定书》;11 、法律、法规规定的其他资料。
(二)公开招标的建设工程,要补充如下资料到招标办办理手续。
1 、建设单位法定代表人证明或法定代表人委托证明;2 、建设工程施工公开招标申请表;3 、建设工程监理公开招标申请表.(三)邀请招标的建设工程,要补充如下资料到招标办办理手续.1 、建设单位法定代表人证明或法定代表人委托证明;2 、建设工程施工邀请招标审批表;3 、建设工程监理邀请招标审批表;4 、工商部门签发的私营企业证明;5 、法人营业执照;6 、其他申请邀请招标理由证明。
建设工程从立项到报建的具体流程
建设工程从立项到竣工所有程序(包括立项审批、规划设计、建设工程报建、建设工程竣工验收)
一、立项审批
1 、项目立项申请报告书(原件一份)
2 、项目建议书或项目可行性研究报告(一份)
3 、建设用地的权属文件或建设项目用地预审意见书(一份)
4 、项目建设投资概算(一份)
5 、银信部门出示的资金证明(原件一份)
6 、企业法人营业执照副本(复印件一份);(房地产项目需提供资质证明一份)
7 、项目地形图(一份)
8 、有关职能部门的意见。
二、规划设计
1 、由市规划局根据城市总体规划和立项文件核发勘察设计红线,提供规划设计条件。
2 、建筑设计分为三个阶段,即方案设计、初步设计和施工设计。
3 、市城建局负责联系市有关部门对初步设计进行会审批复。
三、建设工程报建
(一)建设工程报建,首先要提供如下资料到建委办理登记手续。
1 、计划部门核发的《固定资产投资许可证》或主管部门批准的计划任务书;
2 、规划部门核发的《建设用地规划许可证》和《建设工程规划许可证》;
3 、国土部门核发的《国有土地使用证》;
4 、符合项目设计资格设计单位设计的施工图纸和施工图设计文件审查批准书;
5 、人防办核发的《人民防空工程建设许可证》;
6 、消防部门核发的《建筑工程消防设计审核意见书》;
7 、防雷设施检测所核发的《防雷设施设计审核书》;
8 、地震办公室核发的《抗震设防审核意见书》;
9 、建设资金证明;
10 、工程预算书和造价部门核发的《建设工程类别核定书》;
11 、法律、法规规定的其他资料。
(二)公开招标的建设工程,要补充如下资料到招标办办理手续。
1 、建设单位法定代表人证明或法定代表人委托证明;
2 、建设工程施工公开招标申请表;
3 、建设工程监理公开招标申请表。
(三)邀请招标的建设工程,要补充如下资料到招标办办理手续。
1 、建设单位法定代表人证明或法定代表人委托证明;
2 、建设工程施工邀请招标审批表;
3 、建设工程监理邀请招标审批表;
4 、工商部门签发的私营企业证明;
5 、法人营业执照;
6 、其他申请邀请招标理由证明。
(四)直接发包的建设工程,要补充如下资料到招标办办理手续。
1 、建设单位法定代表人证明或法定代表人委托证明;
2 、建设单位申请安排建设工程施工单位报告;
3 、建设单位申请安排建设工程监理单位报告;
4 、工商部门签发的私营企业证明;
5 、法人营业执照;
6 、建设工程直接发包审批表。
(五)办理建设工程质量监督,要提供如下资料到质监站办理手续。
1 、《规划许可证》;
2 、工程施工中标通知书或工程施工发包审批表;
3 、工程监理中标通知书或工程监理发包审批表;
4 、施工合同及其单位资质证书复印件;
5 、监理合同及其单位资质证书复印件;
6 、施工图设计文件审查批准书;
7 、建设工程质量监督申请表;
8 、法律、法规规定的其他资料。
(六)办理建设工程施工安全监督,要提供如下资料到安监站办理手续。
1 、建设单位提供的资料:
(1)工程施工安全监督报告;
(2)工程施工中标通知书或工程施工发包审批表;
(3)工程监理中标通知书或工程监理发包审批表;
(4)工程项目地质勘察报告(结论部分);
(5)施工图纸(含地下室平、立、剖);
(6)工程预算书(总建筑面积、层数、总高度、造价);
2 、施工单位提供的资料:
(1)安全生产、文明施工责任制;
(2)安全生产、文明施工管理目标;
(3)施工组织设计方案和专项技术方案;
(4)安全生产、文明施工检查制度;
(5)安全生产、文明施工教育制度;
(6)项目经理资质证书复印件,安全员、特种作业人员上岗证原件和复印件;
(7)现场设施、安全标志等总平面布置图;
(8)购买安全网的合格证、准用证发票原件和复印件;
(9)建设工程施工安全生产责任书;
( 10 )建设工程施工安全受监申请表;
( 11 )法律、法规规定的其他资料。
(七)领取《施工许可证》,除第(一)条规定提供的资料外,要补充如下资料到建委办理手续。
1 、工程施工中标通知书或工程施工发包审批表;
2 、工程监理中标通知书和工程监理合同;
3 、施工单位项目经理资质证书(桩基础工程要提供建设行政主管部门核发的桩机管理手册);
4 、使用商品混凝土《购销合同》或经建设行政主管部门批准现场搅拌的批文;
5 、质量监督申请安排表;
6 、安全监督申请安排表;
7 、建设工程质量监督书;
8 、建设工程施工安全受监证;
9 、施工许可申请表;
四、建设工程竣工验收
(一)建设工程竣工验收,要提供如下资料到质监站审核,质监站在 7 个工作日内审核完毕;建设单位组织有关单位验收时,质监站派员现场监督。
1 、已完成工程设计和合同约定的各项内容;
2 、工程竣工验收申请表;
3 、工程质量评估报告;
4 、勘察、设计文件质量检查报告;
5 、完整的技术档案和施工管理资料(包括设备资料);
6 、工程使用的主要建筑材料、建筑构配件和设备的进场试验报告;
7 、地基与基础、主体砼结构及重要部位检验报告;
8 、建设单位已按合同约定支付工程款;
9 、施工单位签署的《工程质量保修书》;
10 、市政基础设施的有关质量检测和功能性试验资料;
11 、规划部门出具的规划验收合格证;
12 、公安、消防、环保、防雷、电梯等部门出具的验收意见书或验收合格证;
13 、质监站责令整改的问题已全部整改好;
14 、造价站出具的工程竣工结算书。
(二)建设工程竣工验收前,施工单位要向建委提供安监站出具的工程施工安全评价书。
(三)建设工程竣工验收备案,自工程竣工验收之日起 15 个工作日内,要提供如下资料到质监站办理手续。
1 、工程竣工验收报告;
2 、《施工许可证》;
3 、竣工验收备案表;
4 、工程质量监督报告;
5 、工程竣工验收申请表;
6 、工程质量评估报告;
7 、工程施工安全评价书;
8 、工程质量保修书;
9 、工程竣工结算书;
10 、商品住宅要提供《住宅质量保证书》和《住宅使用说明书》;
11 、法律、法规规定的其他资料。
(四)建设工程竣工结算审核,要提供如下资料到造价站办理手续。
1 、工程按实际结算的,要提供如下资料:
( 1 )建设单位和施工单位的委托书;
( 2 )工程类别核定书;
( 3 )工程施工中标通知书或工程施工发包审批表;
( 4 )工程施工承发包合同;
( 5 )施工组织设计方案;
( 6 )图纸会审记录;
( 7 )工程施工开工报告;
( 8 )隐蔽工程验收记录;
( 9 )工程施工进度表;
( 10 )工程子目换算和抽料(筋)表;
( 11 )工程设计变更资料;
( 12 )施工现场签证资料;
( 13 )竣工图。
2 、工程按甲乙双方约定的固定价格(或总造价)结算的,要提供如下资料:( 1 )建设单位和施工单位的委托书;
( 2 )工程承包合同原件;
( 3 )竣工图。