改进工艺流程提高细泥尾矿中铋、钨的综合回收率
- 格式:pdf
- 大小:175.47 KB
- 文档页数:3
尾矿综合利用生产方案尾矿是矿山生产中产生的废弃物,因其含有金银等有价值的资源以及对环境的污染问题,对其进行综合利用已成为矿山可持续发展的重要方向之一。
本文将针对某铜矿尾矿进行综合利用的生产方案进行详细阐述。
一、尾矿资源调查与评价1.资源调查与储量评价通过对矿区尾矿堆场进行现场勘探和样品分析,发现其主要成分为铜、铅、锌、金、银、钒、硫等。
根据前期资源储量评估,尾矿总下限储量约为80万吨,选矿回收率为70%左右,可获得不少于2000吨的铜精矿、150吨的铅精矿、100吨的锌精矿、50公斤的金、20公斤的银和5万吨的尾矿渣。
2.环境评价采用三维电阻率成像技术对尾矿堆进行地质勘测,分析了其地质构造、岩性、水文地质条件及尾矿渣分布情况,发现存在一些地质风险和环境问题,包括尾矿堆的平均坡度大于30°,易发生滑坡、崩塌等地质灾害;尾矿堆的排水情况较差,存在渗漏、浸润等环境风险。
二、尾矿综合利用生产方案设计1.生产流程设计通过对尾矿的成分分析和选矿回收率评估,我们设计了如下生产流程:尾矿堆场→破碎筛分→螺旋浮选→铜、铅、锌三级浮选→回收金、银→精矿→兑炼→产品销售。
2.生产设备选择(1). 破碎设备:选用颚式破碎机和锤式破碎机,将尾矿渣破碎成小颗粒,大小为10-50毫米。
(2). 筛分设备:采用圆振动筛,将渣料筛选成4-10毫米的颗粒,减少废渣量。
(3). 浮选设备:采用XJK-0.23型浮选机、XFD型实验浮选机、JY97型浮选机、SMX型螺旋浮选机等设备,实现铜、铅、锌的分离和浮选回收。
(4). 提金提银设备:采用CIP工艺,选用搅拌槽、离心机、蒸馏塔、电积槽等设备,将含金、银液提取出来。
(5). 精炼设备:采用转炉、电炉和阴极铜板机等设备,将铜精矿进行兑炼成阴极铜。
三、生产安全措施针对尾矿综合利用生产中可能出现的风险和安全问题,采取如下措施:1. 采用封闭式生产流程,确保渣料在操作过程中的安全性。
钨渣回收利用技术研究现状XIE Jianqing【摘要】我国是钨生产大国,在钨冶炼过程中产生大量的钨渣,任其堆放,不仅对环境造成污染,而且浪费其中大量的有价金属.通过基于文献溯源,结合行业实际运用,对比分析了新中国成立以来我国钨渣回收利用技术的研究情况,结果表明:钨渣中钪、钨、钽、铌、铁、锰等有价金属回收利用一直是研究热点,回收技术从单一提取向多金属综合提取转变,钨渣还可以作为微晶玻璃等建筑材料,但对钨渣及处理过程中新产生的固废及其特性研究较少.在新时期,国家环保政策日趋完善,发展提高环境效益,增加经济效益,简化工艺流程,提高处理效率和收率,符合危废处理要求的清洁高效绿色环保工艺,成为钨渣处理的必然趋势.【期刊名称】《中国钨业》【年(卷),期】2019(034)001【总页数】8页(P50-57)【关键词】钨渣;钨冶炼;综合回收;有价金属;回收利用【作者】XIE Jianqing【作者单位】【正文语种】中文【中图分类】X753;TF09我国钨矿资源丰富,已探明的钨矿储量占世界总储量的60%[1]。
钨矿自1907年在江西大余西华山发现,1915—1916年开采以来,我国钨精矿产量几乎一直位居世界第一[2]。
由于钨行业的盲目扩张和乱采滥挖,钨矿资源的掠夺式开采造成我国钨矿资源优势正在逐步消失,资源危机凸显[3]。
在钨矿生产仲钨酸铵(APT)的过程中会产生大量的固体废物(主要为钨渣),由于我国的钨矿具有多金属共生的特点,加上钨冶炼的工艺繁杂,钨渣中除含有钨外还有钼、铁、锰、钪、钽、铌、汞、铅、砷、锡等元素[4-5],成为重要的有色金属二次资源。
根据《危险废物鉴别标准浸出毒性鉴别》(GB5085.3—2007),钨渣于近年列入了危险废物名录。
面对环保新要求,结合现行钨渣的特点,开发钨渣综合回收新工艺技术,在回收有价资源的同时,符合危废处理要求,促进有色金属资源可持续发展,达到综合治理的目的,具有十分重要的社会意义和经济意义。
本文旨在为同学们供应实习报告的格式和写法,数据均有变动,非正确数据,剽窃结果自负!实习报告实习单位:湖南省郴州市柿竹园有色金属有限公司序言:认识实习是矿物加工专业的必修专业实践课程,也是我们对本专业的特色和学科性质形成初步印象的重要实践课。
经过认识实习,对矿物加工工程专业在生产实践中的作用、选矿工艺方法、工艺设施产生基本感性认识,形成对选矿厂的整体观点认识。
本次实习的任务是初步认识选矿厂的工艺过程、主要设施和协助设施的构造、性能和工作原理;认识这些设施的使用及操作状况。
时间:第四学期周,指导老师:卢毅屏、何平波、欧乐明地址:校本部,湖南郴州柿竹园多金属矿实习目的:(1)联合《选矿概论》教课,增强对矿物加工工程专业及其生产过程的感性认识。
(2)经过专题报告、生产现场观光,认识矿山生产组织管理系统。
(3)认识选矿工艺流程构造、工艺设施、选矿药剂的种类和使用。
(4)认识矿山技术经济指标、产质量量要求等,形成对矿山建设和选矿厂配制的整体认识。
(5)进行现场安全教育,培育安全意识。
(6)编写认识实习报告,对实习结果有一个完好性的认识与理解。
实习任务:1、认识实习所在的选矿厂概略(1)认识选矿厂的地里地点、交通状况;(2)认识矿山发展沿革,目前生产规模,公司员工人数、员工构成、管理模式。
(2)认识矿山的地质水文资料、气象条件、矿石种类、矿产的化学构成及矿物构成、嵌布特征,原矿物理性质(粒度、湿度、真密度、堆密度、硬度、安眠角等)。
(3)认识选矿厂选别工艺改革历史,要点认识目前选场原则流程,回收金属种类、主要技术经济指标。
(4)认识精矿用户、用户对精矿质量的要求。
(5)认识选矿尾矿办理方式,环保问题;2、进行入厂实习1)学习破裂筛分(1)认识粗碎、中碎、细碎各破裂段的主要设施的规格和型号、主要操作参数,初步认识各段破裂设施的构造特色和工作原理。
(2)认识各主要破裂设施之间的连结方式,筛分设施的的规格和型号、主要操作参数。
中国黑白钨混合矿选矿工艺研究进展左珍新;高玉德【摘要】This paper introduces the current situation of complex refractory wolframite -scheelite mixed ore processing technology by investigatingthe processing technology and directions of mixed tungsten. The separation of wolframite-scheelite ore is relatively difficult because of its complex associated component, low grade and fine particle distribution.On the basis of new high efficiency flotation reagent and mineral processing equipment, the combined processing technology of flotation process, gravity concentration,magnetic separation and other processing methods has been operated on processing the mixed tungsten. The combined dressing and smelting technology is put forward to be an economic and reasonable processing technology for complex refractory tungsten.%系统地介绍了复杂难选的黑白钨混合矿的选矿工艺进展及发展方向。
柿竹园复杂钨多金属矿选矿工艺的进展主要内容简介1矿石性质2钨多金属矿选矿工艺流程历史沿革3存在的问题4• 湖南柿竹园有色金属有限责任公司是湖南有色金属控股集团的核心企业,是集采、选、冶于一体的大型矿山企业。
公司目前现已形成采掘能力现已形成采掘能力300300300万吨万吨万吨//年,选矿处理能力年,选矿处理能力150150150万吨万吨万吨//年,冶炼能力能力320032003200吨吨/年的生产规模。
主要产品有钨、钼、铋、萤石等精矿和高纯铋、氧化钼等冶炼产品。
矿和高纯铋、氧化钼等冶炼产品。
201120112011年资产总值年资产总值年资产总值19.6719.6719.67亿元,亿元,销售收入销售收入20.9220.9220.92亿元,利润亿元,利润亿元,利润2.592.592.59亿元。
柿竹园有色金属有限责任亿元。
柿竹园有色金属有限责任公司与全国多家科研院所和高等院校在“八五”、“九五”、“十五”和“十一五”国家重点科技攻关中,对柿竹园复杂钨钼铋萤石多金属矿选矿工艺进行了一系列的详细研究,取得了丰硕的成果,多项研究成果分别获国家和省部级科技奖,其中钨钼铋复杂多金属矿综合选矿新技术—“柿竹园法”获国家科技进步二等奖、复杂难选黑白钨混合矿石选矿新技术获中国有色金属工业科学技术奖一等奖。
• 柿竹园公司共有五个多金属选厂和一个萤石选厂,柿竹园公司共有五个多金属选厂和一个萤石选厂,它们分别是它们分别是380380380选厂、野鸡尾选厂、柴山选厂、千吨选选厂、野鸡尾选厂、柴山选厂、千吨选厂、二千吨选厂和萤石选厂,五个多金属选厂日处理量共计为共计为4750t/d,4750t/d,4750t/d,主要产品有钨、钼、铋、萤石等精矿,主要产品有钨、钼、铋、萤石等精矿,20112011年产钨精矿折合量年产钨精矿折合量年产钨精矿折合量530853085308吨、钼精矿折合量吨、钼精矿折合量吨、钼精矿折合量138313831383吨、吨、铋金属量铋金属量128212821282吨、萤石精矿量吨、萤石精矿量吨、萤石精矿量99万吨。
黄金尾矿综合利用分析摘要:近年来,矿山金品位逐渐降低,尾矿的价值也越来越低,人们开始将金尾矿处理重心放在功能化建材制备上,取得了一定的成果。
与无害化处理后的黄金尾矿回填或回收相比,以黄金尾矿为主要原料制备建筑材料不仅可以消耗大量工业固体废弃物,减轻环境承载压力,而且具有可观的经济价值和良好的发展前景,全量化建材利用刻不容缓。
黄金尾矿的综合利用对于黄金行业的健康发展和自然资源保护具有重要意义。
关键词:黄金尾矿;精矿氰化尾渣;堆浸氰化尾渣引言随着人类对黄金资源的不断开发利用,黄金尾矿排放量日益增加,传统的处理方法主要是堆存法,此方法不仅占用大量土地,而且容易产生粉尘和渗漏,对大气、水体和土壤等造成严重污染。
为解决金尾矿堆积所带来的环境问题,人们一直在寻求各种解决方案,进行金尾矿综合利用研究,包括金尾矿中有价元素的提取、金尾矿矿山回填、金尾矿复垦等。
1黄金尾矿危害黄金尾矿的主要危害有如下:(1)污染环境黄金矿山尾矿对环境的污染破坏主要是尾矿中残留的化学药剂和金属元素造成的。
硫化矿型金矿石一般经过9个阶段的处理(通常包括破碎、磨矿、分级、重力浓缩、浮选、再磨、氰化、电积和熔铸),其中浮选和氰化作用最为突出。
金矿在提取目的金属和矿物后,来自选矿厂经过各种药剂处理的尾矿被排出,如在浮选和氰化过程中经常使用的黄药类捕收剂和氰化物本身就是有毒有害物质,直接破坏污染环境。
有的化学药剂本身无毒,但其含有丰富的氮和磷等元素会造成水体富营养化;或者含有大量的悬浮物,长时间不能沉降下来,排出后会破坏土壤结构,并使土壤中的微生物活动受到影响。
此外,选别过程中酸、碱类药剂与尾矿一起排出,会改变土壤、空气和水的正常pH值,对环境造成影响。
(2)危害人类健康当黄金尾矿以直接或间接的方式排放到环境中,其中含有的重金属容易释放和迁移,且在生物体内积累,被称为有毒或致癌物质。
这些重金属离子主要通过在植物中富集,如小麦等,进入人体内;或通过动物循环进入人体内,以食物链的形式在人体内进行生物积累和放大,达到一定程度后便会严重危害人类健康。
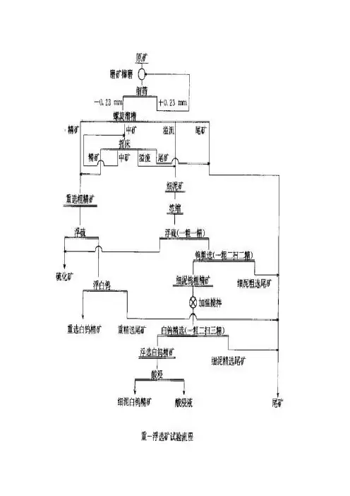
1、棒磨一细筛闭路磨矿白钨矿性脆,易过粉碎,而石榴子石硬度大、难磨,磨矿过程中应及时将已单体解离的白钨矿排出。
为此采用捧磨一细筛闭路磨矿,使最终磨矿细度控制在-0.23mm,为重选创造适宜条件。
2、重选粗选和粗精矿精选通过试验,确定原矿可不分级不脱泥直接用螺旋选矿机粗选,得粗精矿、中矿、尾矿和溢流矿。
粗选中矿用摇床选别,也产出四种产品。
其中摇床中矿返回摇床再选,其余产品与螺旋溜槽粗选相应产品合并。
闭路试验指标见下表。
由表中可以看出,重选可丢弃产率达74.16%的尾矿,大大减少了浮选的矿石量。
重选粗精矿含w03为30.5%。
主要为白钨矿、硫化矿、石榴石等,而萤石、方解石、磷灰石等含钙脉石矿物很少,可采用普通常温浮选药剂。
选出硫化矿后,再用Na2CO3或NaOH调浆,改性水玻璃抑制脉石,改性脂肪酸浮选白钨矿。
作业回收率达97%以上。
3、细泥(溢流)矿的浮选重选溢流(细泥)矿,均为—20μm细泥,用重选难以回收,采用浮选法先浮硫化矿,再用Na2CO3、改性水玻璃和改性脂肪酸选白钨矿,可获品位(WO3)10.34%的白钨粗精矿,作业回收率83.46%。
该粗精矿除含白钨矿外,还有大量方解石、萤石及少量石榴石、磷灰石、硫化矿等,采用常规白钨加温精选工艺,即加水玻璃,加温搅拌,然后脱药,为强化抑制作用,可添加少量LN药剂,浮选白钨精矿品位(WO3)54.30%,作业回收率90.12%。
重-浮联合选别结果如下表:总结1、用棒磨~细筛闭路将矿石磨至-0.23mm是防止白钨矿过粉碎,保证钨回收率的重要措施。
2、用螺旋溜槽全粒级入选,可丢弃74.1%的尾矿,产出含方解石、萤石和磷灰石极少的重选粗精矿,用简单的浮选法就可直接得到合格商品白钨精矿,流程简单,可提高选厂处理能力,与全浮流程比,选矿成本低,经济效益好。
3、少量(占原矿22.23%)细泥矿用浮选法回收白钨矿是确保钨回收率的重要手段。
4、采用重一浮联合选矿流程,对品位(WO3)1.47%的白钨矿矿石进行选别,可获品位66.58%的白钨精矿,钨回收率82.15%。
钨矿生产工艺流程钨矿生产工艺流程分为粗选、重选、精选、细泥处理等四大步骤,具体如下:1、粗选:包括洗矿、破碎、脱泥、手选作业。
我国黑钨矿大多存在我国赣南、湘东、粤北一带多呈薄矿脉赋存,分支、复合、尖灭变化较多,贫化率高,大量废石在重选前需预先选出。
对于一些黑钨矿选矿厂将动筛跳汰机应用到粗选段细粒级首段。
然后直接进入精选作业。
2、重选:黑钨矿重选通常采用多级跳汰、多级摇床、中矿再磨的重选流程。
细碎后合格矿经过振动筛分级后进行多级跳汰,产出跳汰重选毛砂,粗粒级跳汰尾矿进入磨机再磨,细粒级跳汰尾砂经过分级机后进入多级摇床选别,产出摇床重选毛砂,摇床尾矿排入尾矿库,摇床中矿返回再磨再选,跳汰和摇床的重选毛砂进入精选作业。
黑钨矿石具有采矿品位低、贫化率高、矿物嵌布粒度粗、硬度小、密度大、颜色深、易泥化等特点,选矿方法以重选为主。
用到的选矿设备包括棒磨,跳汰和粗选台洗。
多采用三级跳汰、多级床选、跳尾再磨,摇床中矿扫选的贫富分选或合选的工艺流程。
该流程适应钨矿石的特点,避免了过粉碎,强化了粗选段。
3、精选:主要选矿设备包括台浮、台洗、磨矿、磁选、电选、浮选、冶金等联合作业。
该流程适应钨矿石的特点,避免了过粉碎,强化了粗选段。
黑钨矿毛砂精选作业一般采用浮-重联合或浮-重-磁联合的多种选别工艺,并在精选段对伴生元素进行回收。
在精选作业中,一般通过粗粒枱浮(浮选和摇床结合的选矿方法)和细粒浮选脱除硫化矿,枱浮和浮选硫化矿合并进入硫化矿浮选分离作业,枱浮和浮选黑钨矿进一步通过重选生产出黑钨精矿,如果黑钨精矿中含有白钨矿和锡石,则通过重选-浮选或重选-浮选-磁选/电选等联合流程选出黑钨精矿、白钨精矿和锡精矿。
4、细泥处理:首先进行脱硫,然后根据细泥物料性质通过重选、浮选、磁选、电选等选别工艺或几种工艺的联合选别工艺,对钨矿物进行回收,同时对伴生金属矿物进行综合利用。
钨细泥选矿工艺现状黄万抚;肖礼菁【摘要】近年来由于离心选矿机、螺旋溜槽、高梯度磁选机等应用于钨细泥回收的高效设备的不断改进与合理利用,钨细泥回收技术已逐渐趋于成熟.根据钨细泥自身特征的不同,钨细泥回收主要选择采用重、磁、浮等单一或几种工艺联合流程,文中对其进行了综述比较,概述了各自的适用范围和特点.【期刊名称】《有色金属科学与工程》【年(卷),期】2012(003)001【总页数】4页(P53-56)【关键词】钨细泥;离心机;螺旋溜槽;高梯度磁选机【作者】黄万抚;肖礼菁【作者单位】江西理工大学资源与环境工程学院,江西赣州341000;江西理工大学资源与环境工程学院,江西赣州341000【正文语种】中文【中图分类】TD954钨矿作为一种重要的战略资源,已被大量开采利用,钨资源正趋向于“贫、细、杂”状态,所以对于钨矿资源的高效节约型利用显得尤为重要.由于黑钨矿性脆,易过粉碎,破碎、磨矿过程中产生大量原次生细泥.据统计,钨细泥中的钨金属量一般占原矿中钨金属量的11%~14%,而传统的重选工艺对该钨细泥的回收率低于45%[1].为了更好地回收这部分宝贵的钨资源,近年来选矿工作者着眼于设备和工艺的研制和改进,在此领域已取得了不错的成果,大量实验证明,离心机、螺旋溜槽、高梯度磁选机是钨细泥回收的高效分选设备,根据钨细泥自身性质,合理采用重、磁、浮等单一或联合工艺流程能取得理想的技术指标.离心机是由我国云锡公司20世纪60年代成功研制的新型细粒分选设备,曾在钨、锡、铁等细泥选别领域得到了广泛应用,离心机的分选原理是矿浆通过给矿嘴给入离心机转鼓中,形成流膜,它同时存在转鼓旋转引起的圆周切线运动和沿鼓壁斜面的轴向运动,综合产生螺旋运动.由于矿粒受到比自身重力大很多的离心力作用,使得其因比重差异加速分层,重颗粒在鼓壁上沉积获得精矿.最终因流膜上层的轻矿物运动速度明显大于下层而较快被液流带出,从而达到矿物分选的目的.离心选矿机能够强化钨、锡含量高的细泥的粗选作业,具有流程简单,相对生产能力大,回收指标高等特点.离心机是否能取得最佳分选效果主要取决于给矿浓度、给矿时间、漂洗水量、离心机转速等参数的影响.陈亮亮、熊大和[2]采用SLon离心机对某钨矿细泥浮选精矿进行分选实验,研究了漂洗水压、给矿时间、转速等工艺参数对选矿指标的影响,选择最佳条件,在给矿品位WO35.087%~15.01%的条件下,最终获得WO3品位12.94%~20.33%、回收率79.58%~95.2%的钨精矿.铁山垅[3]钨矿成功运用离心选矿工艺及自动控制技术,将离心机用于细泥粗选作业,富集比达3~6倍,回收率达75%~80%;用于精选作业,富集比可达3~5倍,回收率达85%~90%,钨细泥综合回收率达66%以上.福建某钨矿钨细泥中黑、白钨共生,原生矿与风化矿比例变化波动大,周晓文等[4]对该钨矿钨细泥以离心机一粗一扫精选工艺代替原有浮选精选工艺,最终获得给矿品位WO30.28%,钨精矿品位WO322.29%,回收率65.32%的良好指标.螺旋溜槽是利用不同比重矿物颗粒所受重力、惯性离心力、水流作用力和槽面摩擦力的差异来进行分选的一类重选设备.它的分选原理是矿浆在螺旋槽中作两个方向的运动,其一是沿槽面绕螺旋流槽垂直轴线作斜向下运动,另一则是内、外缘流体的径向交换运动,也称二次环流运动.综合两者,矿浆在溜槽中作螺旋线状运动,按照流膜分选原理,重颗粒沉降进入流膜底层,受到槽底的摩擦阻力大,而受液流作用和离心惯性小,易趋向槽的内缘运动;而密度小的轻颗粒受力则刚好相反,易悬浮在流膜表面随液流甩向外缘运动,从而最终实现不同比重矿物颗粒的分选[5]. 螺旋溜槽具有结构简单,操作维修方便,单位面积处理量大,能耗低,指标稳定可靠等优点.它在粗、中、细矿物的分选中应用比较广泛,是最为原始的选矿设备.实验表明[6],螺旋溜槽的回收下限粒度能低至0.03 mm.因此,它不仅普遍应用于钨细泥的回收,亦适宜于钨细泥的粗选.由于不同来源的钨细泥的性质差异,考虑合理选择螺旋流槽的类型和工艺参数是最终获得最佳技术经济指标的重要因素.卢继美、曾义根[7]对取自某钨矿钨细泥采用旋转螺旋溜槽和固定螺旋溜槽进行选别试验对比,结果表明选择固定螺旋溜槽更好,在给矿品位WO30.3%,给矿浓度为25%~35%,处理量120~180 kg/t时,最终能获得钨精矿WO3品位1.3%,回收率66.10%的较好粗选指标.单国霞[8]采用两种BL型玻璃钢螺旋溜槽对钨细泥粗选尾矿进行扫选试验对比,最终确定在螺距405 mm,给矿浓度23%~25%,给矿体积0.2 m3/h左右的条件下,当给矿品位WO30.078%~0.088%时,能获得钨精矿WO3品位0.27%~0.28%、回收率60.04%~69.44%的较好粗选指标.高梯度磁选机适应矿物回收粒级下限低,回收率高,处理能力大、操作管理简单.由于黑钨矿呈现弱磁性,所以在钨细泥选别中特别适宜于白钨、锡石含量少的黑钨细泥的分选,一般也应用于粗选段.其分选原理是钢板网、钢毛等聚磁性材质在包铁螺线管所产生的均匀磁场中被磁化后,径向表面产生高梯度的磁化磁场.矿浆就是在这种不高的背景均匀场强中却能产生强磁场的环境下,最终能有效选别普通磁选机难以分选的磁性极弱的微细粒物料,并大大降低分选粒度下限,改善分选指标.影响高梯度磁选的因素包括磁介质棒的直径和长度、脉动冲次、磁场强度等.周晓彤、邓丽红等[9]对某低品位白钨浮选尾矿采用梯度强磁选预富集黑钨矿进行了实验,经一粗一扫,在给矿品位0.235%WO3时,获得黑钨精矿品位0.47%WO3,回收率90.64%;工业试验中在给矿品位为0.20%WO3时,获得黑钨精矿品位0.43%WO3,回收率73.26%.结果证明,高梯度磁选工艺是用于预处理黑钨矿的有效方法.某低硫钨细泥中主要含黑钨矿,白钨矿和钨华含量甚少,其中-37 μm粒级占有率达62.64%.骆任、魏堂生等[10]采用高梯度磁选机粗选,摇床精选,最终获得给矿品位0.75%,黑钨精矿产率为2.34%、品位WO3为26.27%,回收率为79.99%的较好指标.钨细泥中一般含黑钨矿、白钨矿、钨华3种钨矿物,通常以黑钨矿为主,黑、白钨矿共生,钨华微量.除此之外,还普遍分布黄铜矿、方铅矿、辉钼矿、辉铋矿、黄铁矿等金属硫化矿,时而含有少量锡矿.这些伴生金属矿也常根据情况考虑综合回收利用.黑钨细泥浮选常用捕收剂主要分为磷酸类、胂酸类和羟(氧)肟酸类.实践表明,羟肟酸类是黑钨矿的良好捕收剂,应用最为广泛.它们能与黑钨矿表面的定位离子Mn2+、Fe2+通过螯合作用产生化学吸附,生成比直线型捕收剂作用更为牢固稳定的疏水膜.朱一民,周菁[11]对取自柿竹园矿的浮选尾矿采用萘羟肟酸进行黑钨细泥浮选试验,在给矿黑钨品位WO3为1.34%,-10 μm粒级占30%时,最终能获得钨精矿品位WO319.91%、回收率87.19%的分选指标.戴子林等[12]对柿竹园矿进行了黑钨细泥浮选工业试验,原矿中含WO31.94%,CaF260.35%,CaCO39.77%,-45 μm粒级占99.12%,-10 μm粒级占39.25%,在以苯甲羟肟酸为主的混合捕收剂BH,组合抑制剂AD和硝酸铅为活化剂的药剂制度下,获得品位52.77%WO3,作业回收率达68.32%的钨精矿.钨细泥浮选最终是否能获得高质量的钨精矿,对于调整剂的合理选择和应用尤为关键.近年来,以改性水玻璃和以水玻璃为主作为脉石混合抑制剂的研制取得了可喜进展.改性水玻璃[13]相比普通水玻璃,不仅对石英与方解石、萤石等含钙脉石矿物的选择抑制效果方面更强,而且能有效分散矿泥、尽量避免矿泥罩盖矿物表面,改善浮选效果.水玻璃与Pb2+、Al3+等金属离子配合作用能增强其对脉石的选择抑制作用.高玉德[14]进行了黑钨细泥与萤石、方解石、石英等矿物的浮选分离试验,在pH 6.5~7.0中,以硝酸铅为活化剂,水玻璃、硫酸铝等组合抑制剂,苯甲羟肟酸与塔尔皂等组合捕收剂,当给矿品位WO31.62%,钙矿物含量大于70%,-40 μm达90%时,经过一粗三精三扫闭路实验,获得WO366.04%、回收率90.36%的浮选精矿,技术指标优异.白钨浮选目前主要采用加温浮选工艺和731浮选工艺[15].彼得罗芙[16]加温浮选工艺常用于粗精矿精选,粗精矿在经浓缩后浓度控制为60%~70%,然后添加大量水玻璃,加热至高温再经长时间强力搅拌,利用吸附在不同矿物表面的捕收剂解析速度的差异,来增强选择抑制性,最终稀释后常温精选.该法对矿石的适用范围广,对选矿设备的要求高,工作环境较差,能耗高.为了克服“彼得罗夫法”中脱药次数多、金属流失严重的缺点,采用添加调整剂进行浮选成为改进的加温法,过建光等[17]改进了传统“彼得罗夫法”,通过加入选择性强的组合抑制剂,取消了原脱药工序,减少了钨金属的流失,钨精矿WO3品位能够稳定在58%以上,回收率也明显提高.徐晓萍等[18]对某大型白钨矿的粗精矿进行加温搅拌时采用组合调整剂及加温后矿浆直接浮选工艺,对于含WO30.75%的给矿,获得了钨精矿产率为1.03%,品位WO365.37%、回收率86.31%的选矿指标.731常温法相比加温法,操作方便、成本低,更加注重粗选作业.它通过添加碳酸钠调控矿浆pH值,使HSiO3-始终保持在能够强化抑制作用的浓度范围,强调两者的协同作用,再配以选择性较强的731捕收白钨矿来提高粗选效率,得到的粗精矿再加入大量的水玻璃经长时间(>30 min)强力搅拌后稀释精选[15].此法广泛应用于以石英为主的矽卡岩型白钨矿山.叶雪均[19]采用731常温浮选法对两种不同类型的白钨矿石进行了工艺试验对比,对于白钨-萤石、方解石型矿,采用石灰+碳酸钠法作为脉石抑制剂进行粗选,抑制选择性强,选矿富集比大,使用水玻璃+偏磷酸盐组合抑制剂精选,获得与矿浆高温法同样的选矿指标,钨精矿品位WO3大于65%.对于白钨-石英型,粗选更适宜采用碳酸钠法,浮选效果明显优于石灰+碳酸钠法,主要可能是 Ca2+、Ca(OH)+对硅酸盐脉石矿物起到了活化效果,降低了抑制选择性,同样,采用水玻璃+偏磷酸盐组合抑制剂精选得到较好的指标.黑白钨混合浮选的适宜pH值在7~8范围内,一般采用改性水玻璃或以水玻璃为主的组合药剂作为脉石抑制剂,以硝酸铅为活化剂,以螯合剂与油酸类为组合捕收剂的药剂制度,能取得较好的选矿指标.高玉德等[20]以苯甲羟肟酸与辅助捕收剂WT组合粗选黑白钨,YTFC微细摇床精选和浮选脱硫工艺,工业试验在给矿品位WO30.199%,-30 μm占90%以上时,获得品位WO347.30%、回收率52.34%的钨精矿.方夕辉等[21]在pH值为7~8的弱碱性条件下,采用苯甲羟肟酸与731组合捕收剂,对于-0.074 mm粒级中钨金属量占有率达73.02%,品位WO30.49%的给矿,获得了品位21.39%,回收率86.01%的钨精矿.钨细泥一般矿物性质比较复杂,单一工艺往往难于获得很好选别效果,必须采用重选、浮选、磁选等多种工艺的联合.周晓文等[22]对某钨矿的重选尾矿中的微细粒级钨细泥采用高梯度磁选、浮选、离心机重选及“浮选-离心机重选”联合流程对比试验,最终确定“浮选-离心机重选”工艺流程,原矿细度均在0.040 mm以下,在给矿品位WO30.28%,浮选捕收剂采用GYB+GYR时,最终获得了黑白钨混合精矿品位WO332.14%,回收率73.51%的较好指标.某矿钨细泥中含有大量可浮性较好的云母、方解石、萤石和高岭土,而且小于30μm的钨细粒金属占有率超过70%,若采用全浮流程选别时会造成黑白钨混合浮选闭路循环中矿量大.周晓彤等[23]根据这一特征,先用离心选矿机脱除部分可浮性较好微细粒级的轻矿物,再进行黑白钨混合粗选,采用加温精选获得白钨精矿,再用摇床重选获得黑钨精矿,获得了钨细泥给矿品位WO30.33%,白钨精矿品位55.38%WO3、回收率 29.82%,黑钨精矿品位 38.76%WO3、回收率32.55%的较好指标.邓丽红等[24]对某钨细泥进行回收试验,采用重浮联合工艺,即钨细泥首先采用离心机一粗一精,粗选尾矿经摇床扫选,摇床精矿与离心机精矿合并用浮选工艺脱硫,脱硫后的尾矿用NF和改性水玻璃作调整剂,螯合剂FB与TA3作捕收剂,经一粗二精三扫进行黑白钨混合浮选,加温精选工艺获得白钨精矿,精选尾矿经重选得黑钨精矿,最终获得了较好指标.钨细泥的回收利用越来越受到人们的重视,近年来,国内选矿工作者对于该领域的研究已卓有成效,并取得了可喜的进展.离心选矿机、螺旋溜槽、高梯度磁选机具有处理量大,回收指标较高,处理粒度下限低等优点,是钨细泥回收的高效设备,常用于钨细泥富集的粗选段.根据钨细泥矿石特征的差异,采用重、磁、浮单一或几种工艺联合进行回收,能获得较好指标.国外对于钨细泥的回收广泛采用振动流膜选矿设备-巴特莱-莫兹利翻床 (简称巴-莫或B-M翻床)和巴特莱-莫兹利横流皮带溜槽,前者多用于粗选,后者常用于精选,两者常配合使用,值得我国借鉴.【相关文献】[1]安占涛,罗小娟.钨选矿工艺及其进展[J].矿业工程,2005,3(5):29-31.[2]陈亮亮,熊大和.SLonФ1600 mm离心机分选细泥浮选粗精矿的试验研究[J].中国钨业,2010,25(6):46-48.[3]林培基.离心选矿机在钨细泥选矿中的应用[J].金属矿山,2009(2):17-19.[4]周晓文,陈江安,袁宪强,等.离心机用于钨细泥精选的工业应用[J].有色金属科学与工程,2011,2(3):62-66.[5]杨才顺.试论旋转螺旋溜槽的选别机理[J].有色矿山,1990(6):37~39.[6]熊新兴,熊上.螺旋溜槽在钨选矿中应用的进展 [J].中国钨业,1999,14(5-6):118-122.[7]卢继美,曾义根.用螺旋溜槽选别钨细泥的研究[J].矿冶工程,1984,4(4):39-42.[8]单国霞.螺旋溜槽选别钨细泥试验[J].中国钨业,1982(3):34-35.[9]周晓彤,邓丽红,廖锦.白钨浮选尾矿回收黑钨矿的强磁选试验研究[J].中国矿业,2010,19(4):64-67.[10]骆任,魏党生,叶从新.采用磁-重流程回收某原生钨细泥中的钨试验研究[J].湖南有色金属,2011,27(3):5-6.[11]朱一民,周菁.萘羟肟酸浮选黑钨细泥的试验研究[J].矿冶工程,1998,18(4):33-35.[12]戴子林,张秀玲,高玉德.苯甲羟肟酸浮选细粒黑钨矿的研究[J].矿冶工程,1995,15(2):24-27.[13]王成行,童雄,孙吉鹏.水玻璃在选矿中的应用与前景的分析[J].国外金属矿选矿,2008(4):6-10.[14]高玉德.黑钨细泥浮选中高效浮选剂的联合使用[J].有色金属:选矿部分,2000(6):41-43.[15]安占涛,罗小娟.钨选矿工艺及其进展[J].矿业工程,2005,3(5):29-32.[16]胡为柏.浮选[M].北京:冶金工业出版社,1990:350-353.[17]过建光,吕清纯,李晓东,等.柿竹园钨加温浮选工艺改造实践[J].有色金属:选矿部分,2002(6):13-14.[18]徐晓萍,梁冬云,喻连香,等.江西某大型白钨矿钨的选矿试验研究[J].中国钨业,2007(4):23-26.[19]叶雪均.白钨常温浮选工艺研究[J].中国钨业,1999,14(5-6):113-117.[20]高玉德,邹霓,刘进.微细粒钨矿的选矿工艺[J].材料研究与应用,2007,4(1):307-308.[21]方夕辉,钟常明.组合捕收剂提高钨细泥浮选回收率的试验研究[J].中国钨业,2007,22(4):26-28.[22]周晓文,陈江安,袁宪强,等.微细粒级钨细泥选矿试验研究[J].有色金属科学与工程,2010,1(2):64-68.[23]周晓彤,邓丽红.钨细泥重-浮-重选矿新工艺的研究[J].材料研究与应用,2008,2(3):231-233.[24]邓丽红,周晓彤,罗传胜,等.江西某钨矿钨细泥选矿新工艺应用研究[J].矿产综合利用,2010(1):8-10.。
提高赤泥铁精矿回收率的生产实践摘要:我公司自2013年6月开始对氧化铝生产出来赤泥进行提取铁精矿粉。
采用“赤泥—隔渣筛—中磁机—粗选—精选—压滤—铁精矿”的工艺流程,全部处理三洗沉降槽送来底流料浆,产率和回收率都比较低,精选后的尾矿送至赤泥堆场进行堆存。
由于产率和回收率较低,给赤泥堆场造成了一定的压力,还浪费铁资源,经对生产流程改造优化后,产能及铁精矿得到提升。
关键词:铁精矿;优化改造;回收率;综合效益;目前国内一水硬铝石型铝土矿全部采用拜耳法处理,现行高温溶出过程主要目的在于实现一水硬铝石与其他杂质矿物的分离,工艺参数与设备设计均基于铝矿物的充分溶出,而对于铁、硅、钛等非铝矿物的反应行为未进行合理控制和资源化利用。
氧化铝生产的赤泥进行铁精矿回收利用,既可实现废物资源化,能形成新的产业点,取得较好的经济效益,可有效解决氧化铝生产数量巨大固体废弃物堆存问题及其造成的环保压力。
符合“变废为宝、变害为利、综合利用、可持续发展”的基本国策。
国内高铁铝土矿资源主要集中在广西、云南两省,近期在山西北部也勘察到了部分高铁铝资源,其中又以广西省资源储量最为丰富。
据测算和估计这一区域内高铁三水铝石矿总储量约10亿吨,其中已探知资源约2.67亿吨。
但这一部分因其矿石组分复杂、且其所含铝、铁成份均与单一铝土矿或铁矿相比含量较低,虽近年来针对铝土矿的相关研究较多,但能高效利用回收矿石中含铁矿物的技术尚不成熟。
随着资源开发的深入,高铁铝土矿将以更低品位和复杂难选矿石为主,会对目前采用的直接选铁模式带来更大的挑战。
一、赤泥选铁目前回收概况我公司生产用铝土矿为高铁铝土矿,但目前采用的湿式立环强磁选铁工艺铁回收率仅为20%-30%,存在较大的资源浪费,且近年,随着氧化铝生产的延长,采用的高铁铝土矿中铝矿物的品位越来越低,单传依赖于提取氧化铝的生产模式,其经济性逐年下降,同时也是对高铁铝土矿的资源浪费。
近年随着国内铝土矿资源供应越来越紧张,氧化铝生产用的铝土矿品位逐年下降,使用的铝土矿类型更加复杂。