建设工程规划审批流程
- 格式:doc
- 大小:30.13 KB
- 文档页数:5
工程建设项目审批流程讲解首先,工程建设项目审批流程可以分为前期准备、项目初步审批、项目可研报告审批、项目实施批复及项目环评批准等阶段。
前期准备阶段主要包括项目规划和可行性研究。
在这个阶段,项目申请方需要编制项目可行性研究报告,并提交给相关审批部门。
可行性研究报告需要包括项目的基本信息、预算和资金保障等内容。
项目初步审批阶段是指审批部门初步审核申请材料,对项目的可行性和合规性进行初步评估。
在这个阶段,审批部门会核实项目的申请材料,并进行初步评估。
如果项目符合相关法律法规和政策要求,审批部门会发出初步审批意见。
项目可研报告审批阶段是指审批部门对项目的可研报告进行审批。
可研报告是项目申请方在前期准备阶段编制的,包含项目的技术方案、经济效益分析和社会效益评估等内容。
审批部门会对可研报告进行详细审核,评估项目的可行性和可行性,并进行投资利益评估。
项目实施批复阶段是指审批部门对项目实施方案进行批复。
在这个阶段,审批部门会对项目的实施方案进行审核,包括施工图纸、技术标准和工期计划等。
审批部门会评估项目的工程质量、安全性和环保性,并根据评估结果进行批复。
项目环评批准阶段是指审批部门对项目的环境影响评价报告进行审批。
环境影响评价报告是项目申请方在前期准备阶段编制的,包含项目对环境的影响和相应的环保措施。
审批部门会对环评报告进行审核,评估项目对环境的影响是否符合相关法律法规和政策要求,并根据评估结果进行批准。
总之,工程建设项目审批流程是一个相对复杂和繁琐的过程,需要经过多个阶段和环节的审核和审批。
只有在通过所有审批环节,并获得相关批复和批准后,项目才能正式启动和实施。
这样的审批流程可以确保项目的可行性和合规性,保障项目的质量和安全,同时也保护了环境和社会的利益。
工程建设项目详细审批流程一、前期准备1.项目可行性研究报告的编制和评审:项目建设单位组织专业人员编制项目可行性研究报告,并由相关部门进行评审。
2.用地预审和土地出让:项目建设单位向国土资源管理部门提出用地申请,经过用地预审后,进行土地出让。
3.工程规划的编制和评审:项目建设单位组织专业人员编制工程规划,并经相关部门进行评审。
4.建设工程规划条件的审查:项目建设单位向规划主管部门提交建设工程规划申请,经审查合格后发放建设工程规划条件。
二、设计阶段1.设计文件编制:项目建设单位委托设计单位进行工程设计,设计单位根据建设工程规划条件编制设计文件。
2.设计文件的审查:设计单位将设计文件提交给建设单位,建设单位组织相关专业人员对设计文件进行审查。
3.设计文件的报审:建设单位将审查通过的设计文件报送规划主管部门进行审查。
4.设计文件的审批:规划主管部门对设计文件进行审批。
三、施工准备阶段1.施工图纸的编制和审查:设计单位根据审批通过的设计文件编制施工图纸,并提交给建设单位进行审查。
2.施工图纸的报审:建设单位将审查通过的施工图纸报送规划主管部门进行审查。
3.建设用地规划许可证的申领:建设单位向规划主管部门申请建设用地规划许可证。
四、施工阶段1.施工单位的选择和招投标:建设单位组织施工单位的选择和招投标工作。
2.合同签订和备案:建设单位与中标单位签订施工合同,并向监督部门备案。
3.施工许可证的申领:建设单位向住建部门申请施工许可证。
4.施工图纸的备案和施工许可证的发放:规划主管部门对施工图纸进行备案,并向建设单位发放施工许可证。
五、竣工验收阶段1.施工图的备案:建设单位将竣工图提交给规划主管部门备案。
2.竣工验收申请和验收方案:建设单位向住建部门提交竣工验收申请和验收方案。
3.竣工验收的审查:住建部门对竣工验收申请和验收方案进行审查。
4.竣工验收决定的审批:住建部门对竣工验收申请进行审批,并发放竣工验收决定书。
如何办理建设工程规划许可证办理建设工程规划许可证是建设工程项目实施前的重要步骤,是确保建设工程项目合法合规的准入证明。
下面我将详细介绍办理建设工程规划许可证的步骤和流程。
第一步:准备材料在办理建设工程规划许可证之前,需要准备一系列的材料。
一般来说,需要提供以下材料:1.申请书:包括项目名称、单位名称、详细地址、建设内容等;2.建设项目总平面布局图:包括规划范围、道路等设施设置、绿化带等;3.基础资料:包括建设项目总平面图、地形及地貌图、现状土地利用现状图等;5.安全生产设施布置图:包括配电房、消防设施、紧急避难、路灯等;6.环境影响评价报告;7.其他相关材料,如用地预审意见、建设条件等。
第二步:申报材料将准备好的材料提交到所在地规划主管部门进行申报,申报时需要提供纸质材料和电子版材料,确保材料的真实性和完整性。
同时,还需要缴纳相应的申报费用。
第三步:审批和审核规划主管部门对提交的申请材料进行审查和审核。
主要包括对项目的可行性进行评估,对规划图纸的合理性进行检查,对建设项目的安全性和环境影响进行评估等。
审批和审核的过程通常需要一定的时间,时间的长短会根据项目的规模、性质和复杂程度而有所不同。
第四步:核发许可证经过审批和审核,如果符合要求,规划主管部门将核发建设工程规划许可证。
一般来说,核发许可证会在一定的时间内办理完成。
需要注意的是,在办理建设工程规划许可证的过程中,可能会遇到一些问题和难题,如材料不全、审批流程复杂等。
在这种情况下,可以请专业的代理机构协助办理,他们通常对流程熟悉,能够提供专业的建议和指导。
综上所述,办理建设工程规划许可证是建设工程前必要的步骤,只有获得许可证才能进行后续的建设工作。
办理许可证需要准备相关的材料,提交给规划主管部门进行审批和审核,最后由规划主管部门核发许可证。
这个过程需要耐心和一定的时间,但只有确保工程合法合规,才能顺利进行建设工作。
建设项目审批流程建设项目审批流程是指在国家或者地方政府的指导下,对建设项目进行审批和批准的一系列程序。
该流程旨在确保建设项目的合法性、合规性和可行性,以保护环境、保障公共利益和维护社会稳定。
普通而言,建设项目审批流程包括以下几个主要阶段:1. 项目准备阶段:在这个阶段,项目申请人需要进行项目的初步策划和准备工作。
这包括确定项目的规模、目标、预算、时间表等,并编制项目可行性研究报告。
申请人还需要与相关部门进行沟通,了解建设项目的法律、法规和政策要求。
2. 立项申请阶段:项目申请人需要向相关政府部门提交项目立项申请。
这通常包括填写申请表格,提供项目可行性研究报告、环境影响评价报告等相关文件。
政府部门会对申请材料进行审查,并根据相关法规和政策要求进行评估。
3. 环评审批阶段:在这个阶段,项目申请人需要进行环境影响评价,并提交环境影响评价报告。
政府部门会对报告进行审查,并进行公众参预,听取公众的意见和建议。
如果评价结果符合要求,政府部门会发放环境影响评价批复文件。
4. 规划审批阶段:在这个阶段,项目申请人需要向规划部门提交项目规划申请。
规划部门会对申请进行审查,并根据国家和地方规划要求进行评估。
如果评估结果符合要求,规划部门会发放项目规划许可证。
5. 土地审批阶段:在这个阶段,项目申请人需要向土地管理部门提交土地使用申请。
土地管理部门会对申请进行审查,并根据土地管理法规和政策要求进行评估。
如果评估结果符合要求,土地管理部门会发放土地使用证。
6. 建设工程规划许可阶段:在这个阶段,项目申请人需要向建设工程规划管理部门提交建设工程规划申请。
建设工程规划管理部门会对申请进行审查,并根据相关规定和标准进行评估。
如果评估结果符合要求,建设工程规划管理部门会发放建设工程规划许可证。
7. 施工许可阶段:在这个阶段,项目申请人需要向建设工程管理部门提交施工许可申请。
建设工程管理部门会对申请进行审查,并根据相关法规和标准进行评估。
工程审批流程解析工程审批是指在开始建设工程前,进行必要的合规和合法性审查的过程。
在工程审批中,各项审批流程和程序需要严格遵循,以确保工程项目的顺利进行,并满足相关法律法规的要求。
本文将对工程审批流程进行解析,并介绍其中的主要环节。
一、前期准备阶段工程项目的前期准备是整个审批流程中的关键步骤,包括项目的可行性研究、初步设计和环境影响评价等。
在这个阶段,需完成以下几个步骤:1. 项目可行性研究项目可行性研究是对工程项目进行前期调研和评估,以确定项目的可行性和经济性。
该研究需包括项目的技术可行性、市场需求分析、投资回报分析等内容。
经过评估,如果项目具备可行性和经济性,才能继续后续审批流程。
2. 初步设计初步设计是在项目可行性确定后,根据项目需求进行的初步规划和设计。
该设计需要综合考虑项目的功能、技术要求、土地要求等因素,制定初步蓝图和设计方案。
3. 环境影响评价环境影响评价是对工程项目对自然环境、生态环境和社会环境的影响进行评估和预测。
根据评估结果,制定相应的环境保护方案和措施,以减少对环境的影响。
二、规划许可阶段规划许可是工程审批流程的重要环节,该环节需满足国家规划法规定的要求,包括以下步骤:1. 征地拆迁在工程建设前,如果需要用地,必须先进行征地拆迁工作。
该环节需按照土地管理法规定的手续进行,包括土地的审批、征地补偿和合法用地手续等。
2. 规划许可证申请规划许可证申请是在工程项目的规划设计完成后,向相关主管部门申请的一种手续。
申请需提交规划用地的规划设计方案、地块的基本情况和用地要求等材料。
3. 规划许可证核发主管部门在收到规划许可证申请后,会对申请材料进行核查和评审。
如果符合规划要求和相关法规,就会核发规划许可证,否则会要求补充和修改相关材料。
三、建设许可阶段建设许可是工程审批流程中的核心环节,主要包括以下步骤:1. 建设证书申请建设证书申请是工程项目开工前的一项重要手续。
申请需提交项目的施工图纸、施工组织设计、项目经费计划等材料,并需支付相关的审批费。
工程建设项目详细审批流程一、工程建设项目筹备阶段审批流程:1.项目可行性研究报告编制和审批:包括项目背景、需求分析、技术方案、投资估算和预测收益等内容。
报告经项目业主审批后,提交相关行政部门进行审批。
2.环境影响评价报告编制和审批:根据国家和地方环境保护政策和法规要求,编制影响评价报告,并提交环保部门进行审批。
3.土地使用规划和土地评估:根据项目需求,编制项目用地规划方案和评估土地价值,并提交相关土地行政主管部门进行审批。
4.工程项目初步设计:依据项目技术要求和功能需求,进行项目初步设计,并提交审批部门审核和批准。
二、工程建设项目立项阶段审批流程:1.项目立项申报:项目业主将项目可行性研究报告、环境影响评价报告、土地使用规划等相关文件提交主管行政部门,并填写项目立项申请表。
2.立项审批:主管行政部门对项目立项申请进行评审,并根据相关法规和政策进行批准或驳回。
3.项目核准文件:经立项审批通过后,主管行政部门出具项目核准文件,包括核准文件编号、项目名称、业主单位、项目所在地等详细信息。
三、工程建设项目设计阶段审批流程:1.施工图设计:根据项目要求,设计单位进行详细设计,包括工程结构设计、设备选型、工程量清单等,并提交给主管设计审核部门进行审批。
2.设计文件审查:设计审核部门对施工图设计进行审核和审批,并提出修改意见和要求。
3.设计文件审批:审查部门审核通过后,出具设计文件审批意见,并将审查结果告知设计单位。
四、工程建设项目招标阶段审批流程:1.招标文件编制:根据工程设计要求和项目招标规则,编制招标文件包括招标投标邀请函、招标公告、章程等,并提交给招标主管部门进行审批。
2.招标文件审批:招标主管部门对招标文件进行审查和审批,并提出修改意见和要求。
3.中标结果批准:经招标过程,招标主管部门批准中标结果,并签发批准文件,确认中标单位。
五、工程建设项目施工阶段审批流程:1.施工方案编制:施工单位根据设计要求和招标文件,编制详细的施工方案,并提交主管施工监测部门进行审批。
建设项目审批流程建设项目审批流程是指在建设项目的规划、设计、施工和竣工阶段,经过一系列的审批程序和环节,确保项目能够合法、安全、有序地进行的一套流程。
下面是建设项目审批流程的详细介绍:一、项目可行性研究阶段:1. 项目前期准备:包括项目选址、项目概念设计、初步可行性研究等工作。
2. 可行性研究报告编制:根据项目前期准备工作,编制可行性研究报告,包括项目背景、项目目标、项目规模、投资估算、经济效益分析等内容。
3. 可行性研究报告审批:将可行性研究报告提交给相关部门进行审批,审批内容包括项目的合法性、技术可行性、经济可行性等。
4. 审批结果:审批通过后,颁发可行性研究报告批复文件。
二、项目初步设计阶段:1. 初步设计编制:根据可行性研究报告,进行项目初步设计,包括项目布局、建造结构、设备选型等。
2. 初步设计审查:将初步设计文件提交给相关部门进行审查,审查内容包括建造规划、消防安全、环境保护等。
3. 审查结果:审查通过后,颁发初步设计审查意见书。
三、项目施工图设计阶段:1. 施工图设计编制:根据初步设计审查意见书,进行项目施工图设计,包括建造结构详图、设备布置图等。
2. 施工图设计审查:将施工图设计文件提交给相关部门进行审查,审查内容包括施工工艺、质量控制、安全防护等。
3. 审查结果:审查通过后,颁发施工图设计审查意见书。
四、项目施工阶段:1. 施工许可申请:根据施工图设计审查意见书,向相关部门申请施工许可证。
2. 施工许可审批:相关部门对施工许可申请进行审批,审批内容包括施工方案、施工组织、施工材料等。
3. 施工许可证颁发:审批通过后,颁发施工许可证,允许项目进行施工。
4. 施工监督:相关部门对项目施工进行监督,确保施工过程符合相关法规和标准。
五、项目竣工验收阶段:1. 竣工验收申请:项目施工完成后,向相关部门提交竣工验收申请。
2. 竣工验收审批:相关部门对竣工验收申请进行审批,审批内容包括工程质量、安全使用等。
工程建设项目审批流程工程建设项目审批流程操作说明工程建设项目审批流程分为立项规划选址、建设用地审批、项目建设招标(审批)、监理施工招标和报建施工五个阶段。
每个阶段都由牵头部门先受理审批业务,并指引申办人到其他联办部门办理相关的审批手续。
办理结果最后由牵头部门集中答复申办人(立项规划选址阶段除外)。
申办人办理报建的具体操作步骤如下:第一阶段:立项规划选址阶段一、到规划局(牵头部门)窗口办理《建设项目选址意见书》的审批:1.提交办理《建设项目选址意见书》所需材料,并领取签收《审批跟踪监督卡》(以下简称《监督卡》)。
2.凭《监督卡》分别到___、___、消防局、国土局等联办部门窗口提交相关审批材料,并在《监督卡》上签名确认。
3.将全部联办部门窗口已签收确认的《监督卡》送回规划局窗口。
4.到规划局窗口领取和签收《建设项目选址意见书》以及《监督卡》等有关材料,办理承诺时限为7个工作日。
二、到发改局(牵头部门)窗口办理建设项目立项审批(项目不需要办理《建设项目选址意见书》的,由发改局牵头)。
1.以登记备案方式立项的项目:提交办理《企业投资项目登记备案》所需材料,并领取《监督卡》。
到发改局窗口领取审批结果,并在《监督卡》上签名确认,办理承诺时限为5个工作日。
2.以其他方式立项的项目:提交办理《项目建议书》或《可行性研究报告》所需材料,并领取签收《监督卡》。
凭《监督卡》分别到环保、国土、规划等联办部门窗口提交相关审批资料,并在《监督卡》上签名确认。
将全部联办部门窗口已经签收确认的《监督卡》送回发改局窗口。
到发改窗口领取和签收立项意见,办理承诺时限为6个工作日。
第二阶段:建设用地审批阶段到规划局窗口(牵头部门)办理用地审批:1.提交办理《建设用地规划许可证》的所需材料,并领取签收《监督卡》。
2.到规划局窗口领取审批结果,在《监督卡》上签名确认,办理承诺时限为5个工作日。
3.凭《监督卡》到国土局窗口提交相关审批材料,并在《监督卡》上签名确认。
建设工程规划许可证办理流程建设工程规划许可证是建设工程施工前必须获得的一项重要许可证,它是国家对建设工程进行规划审查和审批的重要手续。
办理建设工程规划许可证需要经过一系列的程序和步骤,下面将详细介绍建设工程规划许可证的办理流程。
首先,申请人需要准备好相关的申请材料,包括建设工程规划许可证申请表、建设工程规划图纸、土地证、规划许可证等相关证明文件。
申请人需要确保所提交的材料齐全、准确,并符合相关规定要求。
接下来,申请人需要将准备好的申请材料提交至当地规划部门或者建设工程管理部门。
在提交申请材料时,申请人需要按照规定的程序进行递交,并确保所提交的材料得到相关部门的确认和签收。
然后,相关部门将对申请材料进行审核和评估。
审核和评估的内容包括建设工程规划图纸的合理性、符合性,以及相关证明文件的真实性和完整性等。
申请人需要配合相关部门的工作,如实提供所需的补充材料和信息。
审核通过后,相关部门将依法对建设工程规划许可证进行审批。
审批程序包括对建设工程规划许可证申请表的审核、对规划图纸的审查、对土地证和规划许可证的核实等。
在审批过程中,申请人需要积极配合,如实提供相关信息,并按要求进行调整和补充。
最后,经过相关部门的审批,申请人将获得建设工程规划许可证。
获得建设工程规划许可证后,申请人可以按照规定的程序进行建设工程的施工,确保施工过程符合法律法规的要求,保障建设工程的质量和安全。
综上所述,建设工程规划许可证的办理流程包括准备申请材料、提交申请材料、审核评估、审批和获证等一系列程序和步骤。
在办理建设工程规划许可证的过程中,申请人需要严格按照相关规定要求办理,积极配合相关部门的工作,确保办理流程顺利进行,最终获得建设工程规划许可证,为建设工程的顺利实施提供保障。
建设工程规划审批流程工程建设项目审批流程建设工程规划审批流程一、核发建设项目选址意见书申请核发建设项目选址意见书,申请人应当提供下列材料:(一)以下有关项目立项文件之一:1、投资主管部门实行审批制的项目,需出具投资主管部门批准的项目建议书或可行性研究报告;2、投资主管部门实行核准制和备案制的项目,需出具项目投资方批准的可行性研究报告。
(二)《建设项目选址申请书》;(三)依法规定的建设项目用地协议书或者用地证明文件或者用地说明;(四)符合规划审批要求且能够反映拟建项目用地位置以及周围相互关系的城市现状地形图;(五)其他建设还应当提供以下相关材料;1、房地产开发经营项目还应当提供开发企业资质证书和工商营业执照原件和复印件;2、军队用地转为民用或者开发用地的,还应当有法定的军用土地管理部门的意见;3、市政管线工程还应当提供拟建示意图。
核发《建设项目选址意见书》程序1二、核发建设用地规划许可证申请核发建设用地规划许可证,申请人应当提供下列材料:(一)以下有关项目立项文件之一;1、投资主管部门实行审批制的项目,需出具投资主管部门批准的投资立项文件;2、投资主管部门实行核准制的项目,需出具投资主管部门的项目核准意见;3、投资主管部门实行备案制的项目,需出具项目投资方批准的可行性研究报告;(二)《建设用地规划申请书》;(三)依法规定的建设项目用地协议书或者用地证明文件或者用地说明;(四)符合规划审批要求的规划设计方案(绘制在相应比例尺的城市现状地形图上);(五)其他建设还应当提供以下相关材料:1、个人自用建设项目还应当提供申请人的户口薄和身份证原件及复印件;2、规划审批要求的《建设项目选址意见书》复印件;3、市政管线工程还应当提供符合规划审批要求的管线设计方案图及相关部门审查意见;4、需联合建设的建设项目,还应当提供联建协议书;5、改建、扩建工程还应当提供原房产屋产权证明、原施工图或者原规划批准文件;6、原址改建、且改变用地性质的建设项目,还应当提供土地权属证明文件;7、市场化运营的土地,还应当提供《国有土地使用权有偿出让合同》。
山东建设工程审批详细流程
在山东省,建设工程审批是一项重要的程序,以确保建筑项目的合法性和质量。
下面将详细介绍山东省建设工程审批的流程。
首先,项目申请人需要准备相关文件和资料,包括项目建议书、土地使用证、
规划许可证等。
这些文件和资料要求根据不同的项目类型可能有所不同,需要申请人仔细核对要求。
接下来,申请人需要将准备好的文件和资料提交给所在地的建设工程管理部门。
这个部门通常是建设工程局或建设工程管理处。
提交时需填写申请表格并缴纳一定的申请费用。
建设工程管理部门将对提交的文件和资料进行审查。
他们会检查是否齐全并符
合相关法规和规定。
如果发现不完整或有问题的文件,申请人会被要求补充或修正。
审查通过后,建设工程管理部门会组织专业人员对项目进行现场实地勘察。
勘
察的目的是确认项目的可行性和符合规划要求。
在勘察完成后,建设工程管理部门将组织专家对项目进行评审。
他们会对项目
的技术性、经济性和环境影响进行评估,并提交评审意见。
最后,建设工程管理部门将根据专家评审意见和相关法规对项目进行审批决定。
如果审批通过,申请人将获得建设工程许可证。
如果审批不通过,申请人可以根据决定进行修改和重新申请。
总结一下,山东省建设工程审批的流程包括申请准备、提交申请、审查、勘察、评审和审批决定。
这些步骤确保了建设工程的合法性和质量,并为项目申请人提供了一个明确的审批流程。
建设项目审批流程建设项目审批流程是指在建设项目的前期准备阶段,经过一系列的审批程序和环节,确保项目的合法性、可行性和安全性,最终获得相关部门的批准和许可,从而正式启动和实施项目。
下面将详细介绍建设项目审批流程的各个环节和相关要求。
一、项目前期准备1.项目立项:申请人根据项目需求和市场调研,编制项目建议书,包括项目背景、目标、可行性分析等内容,并提交给相关部门进行审批。
2.土地使用规划:申请人向国土资源部门提出土地使用申请,包括土地用途、规模、位置等信息,并提供相关证明材料。
3.环境影响评价:申请人委托第三方机构进行环境影响评价,评估项目对环境的影响程度,并编制环境影响评价报告,提交给环保部门进行审批。
二、项目审批阶段1.初步审批:相关部门对项目的可行性、合规性进行初步审查,包括项目的技术、经济、环境等方面的评估,以及项目的社会效益和风险评估。
2.详细设计审查:申请人提交项目的详细设计文件,包括工程图纸、施工方案、材料清单等,相关部门对设计文件进行审查,确保其符合相关标准和规范。
3.安全审查:申请人提交项目的安全生产方案和应急预案,相关部门对其进行审查,确保项目在施工和运营过程中的安全性。
4.用地审批:国土资源部门对项目的土地使用申请进行审批,包括土地出让、租赁、划拨等手续。
5.环境审批:环保部门对项目的环境影响评价报告进行审批,确保项目符合环境保护要求。
6.资金审批:申请人向相关部门提交项目的资金计划和融资方案,相关部门对其进行审查,并决定是否给予资金支持。
7.施工许可:相关部门对项目的施工方案进行审查,并颁发施工许可证,允许项目进入施工阶段。
三、项目实施阶段1.施工过程监管:相关部门对项目的施工过程进行监督和检查,确保施工符合相关规范和标准。
2.质量验收:项目竣工后,相关部门对项目进行质量验收,包括工程结构、设备安装、工艺流程等方面的检查。
3.环境监测:相关部门对项目的环境影响进行监测和评估,确保项目的环境影响符合相关要求。
建设工程方案审批流程一、前言建设工程是社会发展的重要组成部分,对于一个国家或地区的发展起着至关重要的作用。
因此,建设工程的规划、设计、施工等环节必须严格执行相关法律法规和标准,确保工程质量和安全。
建设工程方案审批是整个建设工程环节中的重要一环,它关乎到工程的质量、安全和合法性。
因此,建设工程方案审批流程必须严格执行,以确保建设工程的合法性和安全性。
二、建设工程方案审批的重要性建设工程方案审批是建设工程的重要环节,它关乎到整个建设工程的质量和安全。
建设工程方案审批主要包括项目核准、规划审批、土地审批、环境影响评价、安全评估等环节,每一个环节都是必不可少的。
只有经过严格的审批流程,确保项目的合法和安全,才能够在后续的规划、设计、施工等环节中得到充分的保障。
因此,建设工程方案审批的重要性不言而喻。
三、建设工程方案审批的流程1. 项目核准项目核准是建设工程方案审批的第一步,也是最为重要的一步。
项目核准是指建设单位向相关主管部门提出项目立项申请,经过主管部门的立项审查,获得项目立项证书。
项目立项证书是建设工程的准入资格,没有项目立项证书的建设工程是不得立项的。
项目核准的流程主要包括项目申请、主管部门审查、立项结果公示等环节。
2. 规划审批规划审批是指建设单位按照国家和地方规划要求,制定项目总体规划和专项规划,报经主管部门审批。
规划审批的流程主要包括规划编制、规划报批、规划审核等环节。
3. 土地审批土地审批是指建设单位按照国家和地方土地政策和法规,向土地管理部门申请用地,并取得土地使用证或土地权证。
土地审批的流程主要包括用地申请、土地审批、土地出让等环节。
4. 环境影响评价环境影响评价是指建设单位按照国家和地方环境保护法规,对项目的环境影响进行评价,申请环境影响评价报告并获得审批。
环境影响评价的流程主要包括环境影响评价报告编制、环境影响评价报告审批等环节。
5. 安全评估安全评估是指建设单位对工程的施工、使用、维护等环节进行安全评估,确保工程的施工和使用安全可靠。
工程建设项目审批流程
一、引言
工程建设项目是指为达到特定目的,经过科学可行性研究,并具有明确的技术经济指标和实施计划的工程活动。
在实施工程建设项目前,需要经过一系列审批流程,以确保项目的合法性和可行性。
二、审批流程概述
工程建设项目的审批流程是指项目申请方向有关部门提交相关申请,按照一定的程序经批准机构或专业委员会逐级审批核准的过程。
审批流程涵盖了从项目立项、规划设计、环评审批、施工批准到竣工验收等各个阶段。
三、审批流程详述
1. 项目立项阶段
•提交《工程建设项目立项申请书》•组织相关专家评审
•审查合规性,确定项目可行性
2. 规划设计阶段
•编制项目前期可行性研究报告•设计方案编制
•审查设计方案,确定合理性
3. 环境影响评价审批
•编制《环境影响报告书》
•环境影响评价机构审核
•环保部门审批
4. 施工批准阶段
•提交施工图设计文件
•相关行政部门审批
•签发施工许可证
5. 竣工验收阶段
•施工完成后提交竣工验收材料•验收单位组织验收
•签发竣工验收证明
四、相关法规规定
工程建设项目审批流程受《建设工程管理法》、《建设工程施工
规范》等法规的约束,审批单位必须严格按照相关规定办理审批手续。
五、审批流程优化建议
•建立信息化管理系统,加快审批流程
•简化审批手续,提高审批效率
•强化监督和督促,确保审批公正
六、结论
工程建设项目审批流程是保障工程建设项目合法性和经济性的重
要环节,各相关单位应依法依规进行审批,并通过不断优化流程,提
高审批效率,促进工程建设事业的可持续发展。
地块控制规划意见(按照总体规划和详细规划) 核发《建设项目选址意见书》 核发《建设用地规划许可证》 核发《建设工程规划许可证》 放、验收及
竣工验收
土地提交确认书 计委可行性研究报告批复 消防、人防、环保、建工、安全等部门 城管大队、墙改办、档案馆、村委会社区镇政府、供热、给排水、国土局等部门审查意见 履行报建
手 续
建设局
建工处
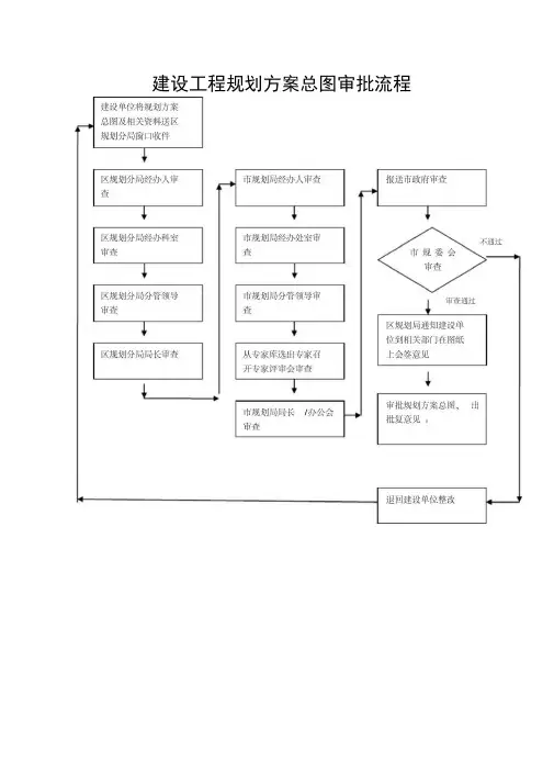
建设工程规划审批流程
1
申请人持以上规定的材料向规划部门提出选址申请 规划部门受理申请,并由两名以上工作人员进行建设项目现场踏查 规划部门对建设项目选
址符合法定要求的,核发《建
设项目选址意见书》,同时发
出《规划设计条件通知书》
一、核发建设项目选址意见书
申请核发建设项目选址意见书,申请人应当提供下列材料:
(一)以下有关项目立项文件之一:
1、投资主管部门实行审批制的项目,需出具投资主管部门批准的项目建议书或可行性研究报告;
2、投资主管部门实行核准制和备案制的项目,需出具项目投资方批准的可行性研究报告。
(二)《建设项目选址申请书》;
(三)依法规定的建设项目用地协议书或者用地证明文件或者用地说明;
(四)符合规划审批要求且能够反映拟建项目用地位置以及周围相互关系的城市现状地形图;
(五)其他建设还应当提供以下相关材料;
1、房地产开发经营项目还应当提供开发企业资质证书和工商营业执照原件和复印件;
2、军队用地转为民用或者开发用地的,还应当有法定的军用土地管理部门的意见;
3、市政管线工程还应当提供拟建示意图。
核发《建设项目选址意见书》程序
2
申请人持以
上规定的材料向
规划部门提出建
设用地规划申请
规划部门现场踏查,初步核定建设项目用地的具体界限 规划部门对用地的具体
界限进行审查。审查同意后,
按国家和省有关规定应当向
社会进行公示的建设项目,
还要进行7日以上的公示
规划部门对用地审查合格而不需要进
行社会公示的,或者经社会公示已通过的
建设项目,核发《建设用地规划许可证》
及附图(附图应标注:用地规划界线、规
划建筑红线、拆迁范围控制线。以下简称
三线图)
申请人根据《建
设用地规划许可证》
及附图进行建筑(市
政)方案设计。
二、核发建设用地规划许可证
申请核发建设用地规划许可证,申请人应当提供下列材料:
(一) 以下有关项目立项文件之一;
1、 投资主管部门实行审批制的项目,需出具投资主管部门批准的投资立项文件;
2、 投资主管部门实行核准制的项目,需出具投资主管部门的项目核准意见;
3、 投资主管部门实行备案制的项目,需出具项目投资方批准的可行性研究报告;
(二)《建设用地规划申请书》;
(三)依法规定的建设项目用地协议书或者用地证明文件或者用地说明;
(四)符合规划审批要求的规划设计方案(绘制在相应比例尺的城市现状地形图上);
(五)其他建设还应当提供以下相关材料:
1、个人自用建设项目还应当提供申请人的户口薄和身份证原件及复印件;
2、规划审批要求的《建设项目选址意见书》复印件;
3、市政管线工程还应当提供符合规划审批要求的管线设计方案图及相关部门审查意见;
4、需联合建设的建设项目,还应当提供联建协议书;
5、改建、扩建工程还应当提供原房产屋产权证明、原施工图或者原规划批准文件;
6、原址改建、且改变用地性质的建设项目,还应当提供土地权属证明文件;
7、市场化运营的土地,还应当提供《国有土地使用权有偿出让合同》。
(六)法律、法规和规章规定的其他相关材料。
核发建设用地规划许可证程序:
3
申请人持规定的相
关材料向规划部门提出
核发建设工程规划许可
证申请
经审查需要修改的建筑(市政)设计方
案,规划部门应当向申请人发出《建筑(市
政)设计方案规划审查修改意见书》,修改
并经审查合格后核发《建设工程规划许可
证》、《建设项目定位放线通知单》
规划部门对建筑(市政)设计方案进行
规划审查,审查合格后向申请人核发《建
设工程规划许可证》、《建设项目定位放线
通知单》
三、核发建设工程规划许可证
申请核发建设工程规划许可证,申请人应当提供下列材料:
(一)《建设工程规划申请书》;
(二)已核发的《建设用地规划许可证》及附图复印件;
(三)国土主管部门出具的《土地使用权证》或者土地使用意见;
(四)符合规划审批要求的地质勘测报告、建筑(市政)测量图、建筑(市政)设计方案(建筑平面、立面、剖
面及效果图)及设计单位的资质证书复印件;
(五)其他建设项目还应当提供一下材料;
1、个人自用建设项目还应当提供申请人的户口薄、身份证原件和复印件及其他有关证明;
2、市政管线工程还应当提供符合规划审批要求的管线施工图。
(六)法律、法规和规章规定的其他有关材料。
核发建设工程规划许可证程序:
4
四、放线、验线及竣工验收
一、已取得《建设工程规划许可证》的建设项目,在工程开工前和竣工后均应由规划部门进行规划放线、验
线和竣工规划验收。
建设项目用地范围内原有建筑物、构筑物和其他设施需要进行拆迁的、规划部门还应当对拆迁情况进行规划
核查。
二、建设项目工程开工前和开工时,申请人应分别向规划部门申请放线和验线,规划部门应在接到相应申请
之日起3个法定工作日内到达现场,根据《建设工程规划许可证》及附件和三线图对建筑(市政)工程进行放线和验
线。
规划部门对检验合格的,应向申请人发放《建设项目工程开工验线合格通知单》
三、建设项目工程竣工时,申请人应当持《建设项目竣工验收申请书》和城建档案管理机构核发的《工程项
目竣工档案合格证》向规划部门提出竣工规划验收申请。规划部门应当在接到申请材料之日起3个法定工作日内
进行工程竣工规划验收。
四、经规划部门验收合格的建设项目,由规划部门核发《建设项目竣工规划验收合格证》。
《建设项目竣工规划验收合格证》是《建设工程规划许可证》许可建设内容的规划检验证明。