最新合同流程-索赔处理监理工作程序
- 格式:doc
- 大小:19.00 KB
- 文档页数:2
监理细则中的索赔和处理程序近年来,随着建筑工程规模的扩大和工程质量的要求不断提高,监理工作的重要性日益凸显。
作为建设项目的第三方管理机构,监理人员既要贯彻落实国家法律法规,又要履行合同约定,确保工程的安全、质量和工期的达到预期目标。
在监理工作中,索赔和处理程序是一个重要的环节,本文将从不同的角度对此进行探讨。
一、索赔的定义和依据索赔是施工单位向监理单位提出的因不可归责于自身原因导致工程进度延误和质量问题而要求赔偿的一种合法权益行使。
索赔的依据主要有以下几点:1. 合同条款:建设项目施工合同中通常会明确规定索赔的相关条款,例如关于工程进度、质量要求以及索赔金额的计算方法等。
监理人员在处理索赔时,应当根据合同的约定进行判断和处理。
2. 法律法规:在我国《建设工程质量管理条例》等相关法律法规中,也有明确关于索赔的规定。
监理人员应当熟悉法规,按照法规的要求进行处理。
二、索赔的程序和要求索赔的处理程序是一个复杂而繁琐的过程,需要严格按照相关规定进行,以确保整个索赔过程的公正和合法。
1. 报告和证据收集:施工单位首先需要向监理单位提交索赔报告,详细说明索赔的事实、原因和索赔金额的计算方法。
同时,还需要提供相关的证据材料,例如施工记录、现场照片和相关文书等。
2. 监理单位的评估和调查:监理单位在接到索赔报告后,应当进行评估和调查,对索赔请求的真实性和合理性进行审查。
监理人员可以到施工现场进行实地勘察,查看相关的文件和资料,以便更好地了解索赔的情况。
3. 索赔协商和协议签订:如果监理单位认为索赔请求是合理的,双方可以进行协商,就索赔事宜达成一致意见,并签订索赔协议。
协议中应当明确索赔金额、支付方式以及后续的工程调整和修改等内容。
4. 争议解决:如果双方在索赔事宜上存在分歧,可以通过仲裁、诉讼等方式进行争议解决。
在争议解决的过程中,监理人员应当履行中立公正的职责,协助有关部门进行调查和取证。
三、监理人员在索赔处理中的职责和挑战作为建设项目的监管者,监理人员在索赔处理中承担着重要的职责和使命。
监理工作中的索赔与仲裁处理流程随着建筑项目规模不断扩大和复杂性增加,监理工作在建设行业中的重要性日益凸显。
作为建设工程质量和进展的监督者,监理机构承担着相当重要的责任。
然而,在实际工作中,不可避免地会遇到各种问题和纠纷。
本文将介绍监理工作中的索赔与仲裁处理流程,并探讨其中的职责与挑战。
1. 索赔处理流程索赔是指在建设工程中,由于合同约定、工程设计、施工方案等方面的原因,导致一方或多方遭受经济损失,并要求对方承担相应责任的行为。
在监理工作中,索赔处理是一项重要职责,它旨在保障合同各方的权益和建设工程的正常进行。
首先,索赔方向监理机构提交索赔申请,并提供相关证据和材料。
监理机构需要仔细审查索赔事实和依据,评估索赔的合理性。
如果认为索赔具有合理性,监理机构将与各方进行沟通,并要求相关方提供说明和解决方案。
其次,监理机构需要进行现场勘察和技术分析,判断索赔的原因和影响。
在此过程中,监理机构会与设计单位和施工单位进行协商,开展技术交流,并寻求解决问题的最佳方法。
监理机构还可以组织专家论证、技术鉴定等活动,以确保索赔的公正和客观。
最后,监理机构需要在法律和合同约定的框架下,向合同各方提出索赔意见,并协助各方进行谈判与协商。
如果索赔不能合理解决,监理机构还可以建议各方采取法律程序解决争议,并提供技术支持和证据调查。
2. 仲裁处理流程仲裁是指通过第三方仲裁机构对建设工程中的争议进行裁决的一种方式。
在监理工作中,仲裁是一种常见的争议解决手段,能够提高效率、降低成本,并在较短的时间内做出裁决。
首先,发生争议的一方向仲裁机构提出仲裁申请,并提交相关证据和陈述。
仲裁机构根据双方的申请和合同约定,组织仲裁庭,并通知各方参加听证会。
其次,仲裁庭会听取双方的陈述和证词,并进行相应的质询和调查。
双方有权提供证据和辩论,争取自己的权益。
仲裁庭还可以邀请专门的技术人员进行鉴定和评估,以明确争议的事实和责任。
最后,仲裁庭根据合同约定、法律规定和实际情况,作出仲裁裁决。
监理工作中的施工变更与索赔处理流程要求施工变更和索赔是在建筑工程监理工作中经常遇到的问题,如何在施工变更和索赔的过程中合理、公正地处理,是保障工程质量与双方合作关系的重要环节。
本文将从监理工作的角度探讨施工变更和索赔的处理流程要求。
一、施工变更的定义及流程要求施工变更是指在建筑工程施工过程中,因设计变更、发现错误或不完善之处以及其他客观原因导致需要对原始设计进行修改、调整的情况。
在监理工作中,处理施工变更需要遵守以下流程要求:1. 变更申请:施工单位在发现需要变更的情况下,应向监理单位提交变更申请。
变更申请应包含变更内容、原因以及对工程造价、工期等影响的评估。
2. 变更审核:监理单位对施工单位提交的变更申请进行审核,并与设计单位进行确认。
变更审核应充分考虑工程质量、工期安排以及合同约定等因素,确保变更符合工程需要且合理可行。
3. 变更协议:在变更审核通过后,监理单位与施工单位签订变更协议,明确变更内容、工期调整以及工程造价的变化等细节。
变更协议应经双方合法代表签字,具备合同效力。
4. 变更实施:根据变更协议的约定,施工单位进行变更的具体实施。
监理单位应对变更的实施情况进行监督和检查,确保施工质量和安全。
二、索赔的定义及流程要求索赔是指施工单位因为合同履行出现问题,引起经济或其他损失,需要向另一方主张赔偿权利的行为。
在监理工作中,处理索赔需要遵守以下流程要求:1. 提出索赔:施工单位在发现索赔事由的情况下,应向监理单位提出索赔请求。
索赔请求应包括索赔的事实依据、索赔金额计算方法以及索赔的要求等。
2. 索赔审核:监理单位对施工单位提出的索赔进行审核,并收集相关证据和资料。
监理单位应严格按照合同约定和相关法律法规进行评估,判断索赔是否具备合理性和依据。
3. 索赔谈判:在索赔审核通过后,监理单位将索赔请求提交给建设单位,双方进行索赔谈判。
谈判应以协商解决为原则,充分听取双方的意见和理由,争取达成双方都能接受的赔偿协议。
监理工作的合同管理和索赔处理指南一、引言在建筑工程领域,监理工作起着不可或缺的作用。
监理工作的有效管理和合同履行对于保证工程质量、避免纠纷以及实现建设目标至关重要。
本文将围绕监理工作的合同管理和索赔处理展开探讨,为相关从业人员提供一些指导性的建议和实用的技巧。
二、合同管理1.合同条款的明确性监理合同的起草应当明确规定双方的权利与义务,确保监理工作有据可依。
特别是在工程范围、工程质量等关键内容上,应该做到明确无歧义。
2.合同的签订和变更监理合同的签订要经过仔细的商议和详细的梳理,确保各项条款合法合规。
变更时应根据合同规定的程序进行,避免随意改动导致纠纷的发生。
3.履行监理职责监理人员应严格按照合同中规定的职责履行监理工作,包括但不限于对施工进度、质量和成本等方面的监管工作。
同时,监理人员还应具备较高的专业水平和独立性,确保能够有效履行其监理职责。
三、索赔处理1.索赔的合法性判断在索赔之前,必须先对索赔要求的合法性进行评估。
索赔要求必须基于相关合同条款的约定和法律法规的规定,否则可能会被认定为无效请求。
2.索赔要求的合理性在提出索赔要求时,监理人员应该确保索赔要求具备合理性。
要证明索赔要求与施工方违约或其他合同约定相符,并提供相关的证据和资料支持。
3.索赔的程序与时限监理人员应熟悉索赔的相关程序与时限,并确保在指定的时间内完成索赔申请的提交和跟进工作。
过期的索赔请求可能会被认定为无效或不予受理。
四、总结监理工作的合同管理和索赔处理对于建筑工程的成功实施至关重要。
合同管理需要明确合同条款、签订和变更程序的合规性以及履行监理职责的严谨性。
索赔处理则需要判断合法性和合理性,并在规定的程序和时限内提出索赔申请。
只有做到合同明确、合法和合规,才能有效管理监理工作,并妥善处理索赔纠纷,从而确保工程质量和双方合作关系的良好发展。
总之,监理工作的合同管理和索赔处理需要监理人员具备相关的知识和技巧。
只有严格按照合同约定履行监理职责,并根据合法合理的原则进行索赔处理,才能保证建设项目的顺利进展和各方的权益得到有效保护。
费用索赔管理基本程序
费用索赔事件发生
承包单位向项目监理部提交书面费用索赔意向
索赔事件结束,承包单位提交
《费用索赔申请表》
不一致
不
同
意项目监理部审核与评估
与承包单位、建设单位协商
总监理工程师签发《费用索赔审批表》
祝语 :其实我们每个人都可以发掘更好的自己,做最好的自己,只是我们失去了自我探索的能力。
那些朝九晚五的安稳让我们迷离,那些灯红酒绿的诱惑让我们沉沦,那些纷繁复杂的人情让我们疲惫,那些狐朋狗友的“情谊”让我们纷乱,我们只是一个被欲望驱使的奴隶,而不是主宰欲望的主人,当一个人能够正确处理自己的欲望和生活琐事,那么,这才是一个最好的自己。
工程索赔处理监理工作程序流程图: 同意
施工承包单位提出索赔意向申请
不
成
立 口头向总监理工程师汇报
总监理工程师与施工承包方协商谈判 监理与施工承包方不能取得一致 调解不成
仲 裁
监理工程师审查 附索赔依据和计算方法等资料
施工承包正式提出书面“索赔申报表” 有关监理人员参加研究.审查 总监理工程师组织审查 总监理工程师向业主提出同意索赔建议书
三方不能取得一致
总监理工程师局面批准“索赔审批
表”,并三方签字 索赔生效
业主审定索赔建议书并签认。
监理工作中的施工变更与索赔处理流程监理工作在建筑工程中起着非常重要的作用。
其职责之一是负责监督工程施工的合规性和质量。
然而,在施工过程中,由于各种原因,有时会出现施工变更的情况,从而引发索赔问题。
本文将探讨监理工作中的施工变更与索赔处理流程。
1. 施工变更的定义和来源施工变更是指在工程建设过程中,由于设计缺陷、施工技术问题、施工环境变化或其他原因,需要对原有的施工方案或施工过程进行调整或改变的情况。
常见的施工变更包括设计变更、工程量变更和施工方法变更等。
设计变更是指对原有设计方案进行修改或调整,以满足实际施工需要。
工程量变更是指施工过程中发现原有工程量计算存在不合理或不准确的情况,需要进行调整。
施工方法变更是指施工过程中发现原有施工方案无法有效实施的情况,需要进行调整。
2. 施工变更的处理流程施工变更的处理流程在由监理工程师和施工单位共同参与的情况下进行。
该流程包括以下几个步骤:a) 变更申请:施工单位向监理工程师提出变更申请,明确变更的内容、原因和预期效果。
同时,需提供相关的技术依据和证明文件。
b) 变更审查:监理工程师对施工单位提出的变更申请进行审查。
审查内容包括变更的合理性、技术可行性、安全性和经济性等方面的考虑。
c) 变更协商:在变更审查通过后,监理工程师与施工单位进行协商,就变更后的工作量和费用进行谈判,并达成一致意见。
d) 变更审核:变更协商的结果由监理工程师进行审核,并编制变更通知书。
变更通知书中应包括具体的变更内容、工作量和费用等信息。
e) 变更执行:施工单位按照变更通知书的要求进行施工变更,并及时向监理工程师报告变更执行情况。
监理工程师对变更施工进行监督和检查,确保变更符合设计要求和合同规定。
3. 索赔处理流程索赔是指在建筑工程施工过程中,由于施工单位认为受到不可抗力、设计缺陷、监理工作不当或其他原因造成了额外的损失,向建设单位提出赔偿要求的情况。
索赔处理流程包括以下几个步骤:a) 索赔申请:施工单位向监理工程师提出索赔申请,并附上相关的证明材料和计算依据。
监理工作中的合同管理及索赔处理要点一、引言监理工作在工程建设过程中起着至关重要的作用。
而在监理工作中,合同的管理以及索赔的处理是两个重要的方面。
本文旨在探讨监理工作中合同管理及索赔处理的要点,为监理工作人员提供一些参考。
二、合同管理1. 确定合同目标和要求:监理工作人员需要详细阅读合同文件,了解合同的目标和要求,确保在工程建设过程中能够按照合同的要求开展工作。
2. 监督合同履行:监理工作人员应当对合同中规定的工作进行监督,确保施工单位按照合同规定进行工程建设,同时对施工质量、进度等进行监督,及时发现问题并采取措施解决。
3. 合同变更管理:在实际工程建设中,可能会发生一些变化,如设计变更、施工方案的修改等。
监理工作人员需按照合同的规定和程序,对这些变更进行评估、审核和协调。
4. 合同支付管理:监理工作人员需确保施工单位按照合同约定的支付规定及时支付相关款项,同时审查施工单位提交的支付申请,以确保支付金额的合理性和准确性。
5. 合同管理记录:监理工作人员应当详细记录下工程中与合同相关的事项,包括监督情况、问题及处理过程等,以备将来参考和争议解决。
三、索赔处理要点1. 索赔要求准备:施工单位在发起索赔之前,应当准备充分的证据和资料支持其索赔要求。
监理工作人员应当仔细审核这些证据和资料的合法性和可信度。
2. 索赔要求分析:监理工作人员需对施工单位提出的索赔要求进行全面、客观的分析,判断其索赔是否合理。
在分析过程中,应当考虑合同约定、施工单位的责任、工程实际情况等因素。
3. 索赔协商谈判:在索赔处理过程中,监理工作人员可发挥调解和协调的作用,促使双方进行合理的谈判,达成互利共赢的解决方案。
4. 索赔纠纷解决:若索赔处理在协商谈判中无法达成一致,监理工作人员应当依据合同中的争议解决机制,推进索赔纠纷的解决,确保公正、公平的结果。
四、总结监理工作中合同管理及索赔处理是重要的工作内容。
良好的合同管理能够规范工程建设过程,减少不必要的纠纷;合理处理索赔请求,能够维护双方的利益,并促进工程建设的顺利进行。
监理工作中的合同变更管理与索赔处理一、合同变更管理在监理工作中,合同变更是十分常见的情况。
当工程建设发生了一些意外情况,或者业主提出了额外需求时,原先的合同可能需要进行变更。
在进行合同变更时,监理工程师起到了至关重要的作用。
1. 仔细研究合同条款在进行合同变更前,监理工程师首先需要仔细研究合同条款。
了解合同规定的变更流程和要求,确保按照合同的规定进行操作。
合同条款通常会规定变更的申请程序、审批流程、变更后的工期和造价计算等,并且会要求双方形成书面变更协议。
2. 及时与业主、承包商进行沟通在发生合同变更的情况下,及时与业主和承包商进行沟通是非常关键的。
监理工程师应与业主一同研究可能的解决方案,并与承包商商讨变更后的施工计划和造价调整。
只有通过充分的沟通,在双方的共同努力下,才能实现合同的变更。
3. 记录所有变更过程合同变更是非常复杂的过程,因此监理工程师应该始终保持详细的记录。
包括变更申请的时间、理由、业主和承包商的意见和回应等等。
这些记录不仅可以作为沟通的依据,还可以在后期处理索赔时发挥重要的作用。
二、索赔处理在工程建设过程中,承包商可能因为各种原因提出索赔申请。
监理工程师需要负责处理这些索赔,并确保公正、合理地解决纠纷。
1. 调查和核实索赔理由当收到索赔申请时,监理工程师需要进行全面的调查和核实。
了解索赔的理由、索赔金额的计算方法以及与业主和承包商之间的沟通记录等。
只有通过全面的了解,才能做出公正的判断。
2. 寻求第三方专家意见在处理索赔时,监理工程师有时需要寻求第三方专家的意见。
专家可以对索赔的合理性进行评估,并提供专业的建议。
通过借助专家意见,监理工程师可以更好地处理索赔纠纷。
3. 协调业主和承包商之间的利益在处理索赔时,监理工程师要始终站在公正的立场上,协调好业主和承包商之间的利益关系。
在处理索赔时,监理工程师需要充分听取双方的意见,寻求双赢的解决方案。
只有通过平衡双方的利益,才能实现索赔的公正处理。
工程合同索赔程序
一、索赔意向通知
当一方认为由于对方的原因或不可抗力因素导致自身遭受损失时,应立即书面通知对方,
表达索赔的意向。
通知中应包括索赔原因、预计损失和影响范围等初步信息。
二、详细索赔报告提交
在索赔事件发生后的合理时间内(通常为合同约定的时间,若无明确约定,则按照相关法
律法规执行),索赔方应提交详细的索赔报告。
该报告应包含事件的详细描述、索赔依据、计算的损失金额、相关证据材料等。
三、索赔资料审核
被索赔方收到详细索赔报告后,应在规定时间内进行审核,并提出自己的意见。
若同意索赔,双方可协商确定赔偿金额和方式;若不同意,应明确提出反驳理由和证据。
四、第三方调解或仲裁
如果双方无法就索赔问题达成一致,可以选择将争议提交给合同约定的调解机构或仲裁委
员会。
在此过程中,双方都应提供必要的配合和支持。
五、执行赔偿决定
一旦达成赔偿协议或第三方作出裁决,双方都应遵守决定并及时执行。
如有一方拖延或拒
绝执行,另一方有权依法申请法院强制执行。
六、记录与归档
整个索赔过程中产生的所有文件和通信记录都应妥善保存,作为日后可能的诉讼或仲裁的
证据。
这些记录包括但不限于书面通知、详细索赔报告、审核意见、调解或仲裁结果等。
七、后续处理
完成赔偿后,双方应根据实际执行情况更新合同内容,确保所有条款仍然有效并且反映最
新的合同状态。
同时,对于索赔事件的原因应进行深入分析,以避免类似情况再次发生。
总结:。
监理工程师如何进行合同管理与索赔处理作为工程项目的监理工程师,合同管理和索赔处理是我们工作中非常重要的一部分。
合同管理涉及合同的起草、签订、履行和验收等各个环节。
索赔处理则是处理工程中的争议和纠纷,确保各方的合法权益。
在本文中,我将详细介绍监理工程师如何进行合同管理和索赔处理的主要内容和注意事项。
合同管理是工程项目管理的基础,其目的是确保各方共同遵守合同约定,保证项目按时、按质、安全地完成。
以下是合同管理的几个关键步骤:1. 合同起草:监理工程师需要在合同起草阶段参与并提供自己的专业建议。
合同应明确工程范围、工期、费用、品质标准、验收标准等重要内容,并明确各方的权益和责任。
2. 合同签订:监理工程师需要参与合同的签订,并对合同的内容进行仔细审查。
确保合同的条款符合法律法规和工程实践,各方的权益得到充分保障。
3. 合同履行:监理工程师需要督促各方按照合同约定进行工程的施工和监理,并及时记录和报告工程进展情况。
4. 合同验收:监理工程师需要参与合同的验收过程,并对工程项目的质量和安全进行评估。
如发现问题和不合格情况,需要及时提出整改要求,并确保工程按合同约定进行修复和整改。
合同管理过程中,索赔处理是不可避免的一部分。
索赔处理需要监理工程师具备丰富的专业知识和细致的调查分析能力。
以下是索赔处理的主要步骤:1. 记录问题:监理工程师需要及时记录和报告项目中的问题和争议。
包括施工质量问题、变更要求、合同解释争议等。
记录要准确、详细,保留相关证据和文件。
2. 分析原因:监理工程师应仔细分析索赔原因,包括合同约定、技术标准、工程质量、管理责任等。
找出问题的实质原因,并与相关方进行沟通和协商。
3. 协商解决:监理工程师需要与承建方、业主方、设计方等相关方进行积极的协商。
目的是达成公平合理的解决方案,保障各方的权益并维护工程项目的顺利进行。
4. 索赔申请:如无法协商解决,则需要根据合同约定和法律法规,向相关方提出索赔申请。
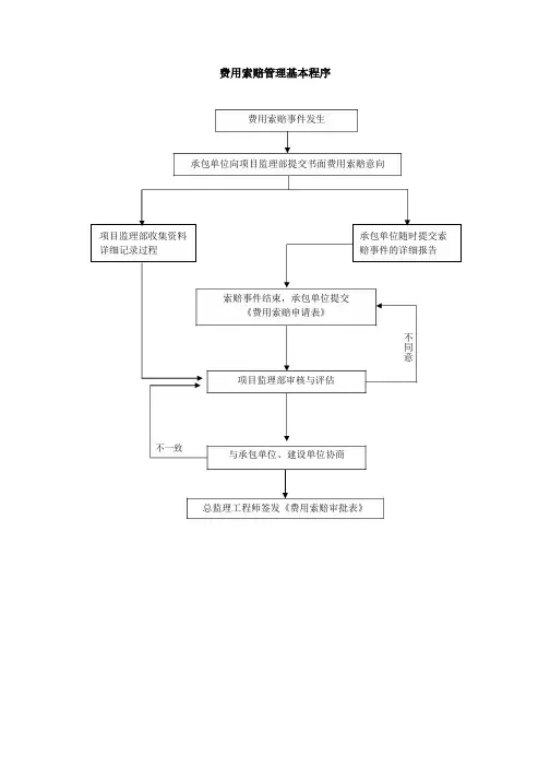
项⽬监理机构处理费⽤索赔的程序
(1)承包单位在施⼯合同规定的期限内向项⽬监理机构提交对建设单位的费⽤索赔意向通知书;
(2)总监理⼯程师指定专业监理⼯程师收集与索赔有关的资料;
(3)承包单位在承包合同规定的期限内向项⽬监理机构提交对建设单位的费⽤索赔申请表;
(4)总监理⼯程师初步审查费⽤索赔申请表,符合规定的条件时予以受理;
(5)总监理⼯程师进⾏费⽤索赔审查,并在初步确定⼀个额度后,与承包单位和建设单位进⾏协商;
(6)总监理⼯程师应在施⼯合同规定的期限内签署费⽤索赔审批表,或在施⼯合同规定的期限内发出要求承包单位提交有关索赔报告的进⼀步详细资料的通知。
第一章总则第一条为规范监理工程索赔管理,保障监理工作的顺利进行,维护各方合法权益,根据《中华人民共和国合同法》、《建设工程质量管理条例》等相关法律法规,制定本制度。
第二条本制度适用于监理单位在工程监理过程中,因施工单位、建设单位或其他原因导致的索赔事件的处理。
第三条监理单位应严格按照本制度规定,及时、公正、合理地处理工程索赔事件。
第二章索赔事件处理程序第四条索赔事件发生后,施工单位应在合同约定的期限内向监理单位提出索赔意向通知书。
第五条监理单位收到索赔意向通知书后,应立即进行调查、核实,并收集相关证据。
第六条监理单位应在收到索赔意向通知书后的15个工作日内,对索赔事件进行处理,并形成处理意见。
第七条监理单位在处理索赔事件时,应遵循以下原则:(一)公平、公正、合理;(二)依据合同约定和相关法律法规;(三)尊重事实,尊重各方合法权益。
第八条监理单位在处理索赔事件时,应与施工单位、建设单位协商,达成一致意见。
第九条监理单位在处理索赔事件过程中,如遇到重大问题或分歧,应及时上报公司领导,由公司领导进行协调处理。
第三章索赔事件处理内容第十条索赔事件处理内容包括:(一)费用索赔:因施工单位、建设单位或其他原因导致的工程费用增加,施工单位可向监理单位提出费用索赔。
(二)工期索赔:因施工单位、建设单位或其他原因导致的工程延期,施工单位可向监理单位提出工期索赔。
(三)利润索赔:因施工单位、建设单位或其他原因导致的工程利润损失,施工单位可向监理单位提出利润索赔。
第十一条监理单位在处理索赔事件时,应充分考虑以下因素:(一)合同约定;(二)法律法规;(三)工程实际情况;(四)各方合法权益。
第四章责任追究第十二条监理单位在处理索赔事件过程中,如存在失职、渎职等行为,应承担相应责任。
第十三条施工单位、建设单位或其他单位在索赔事件处理过程中,如存在虚假陈述、恶意阻挠等行为,应承担相应责任。
第五章附则第十四条本制度由监理单位负责解释。
合同管理流程-索赔处
理监理工作程序
精品好文档,推荐学习交流
仅供学习与交流,如有侵权请联系网站删除 谢谢
1
是
否
是 否
附录C.7 索赔处理监理工作程序图
2.承包人向监理机构提交索赔意
4.承包人提交中期/最终索赔申请报
3.监理机构核查索赔
5.监理机构审核索赔申请
7.承包人提交补
8.监理机构做出索赔处理决定
11.索赔成立
10.进入争议解决
6.是否需提交补充材
9.发包人、承包人是
1.索赔事件发生