XX市军民融合协同创新研究院2019年公开招聘工作人员岗位表【模板】
- 格式:docx
- 大小:15.57 KB
- 文档页数:3
2019年公开招聘事业单位工作人员岗位计划表
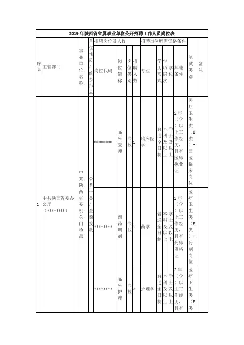
序号岗位名称招聘人数年龄学历学位招聘专业工作经验、业绩要求职称及其他要求
1 眼科医师 1 40岁以下研究生博士眼科学在三甲医院从事眼科医疗工作五年以上,完
成眼科住院医师规范化培训,发表第一作者
SCI文章
具有主治医师资格,具有援疆援藏援外经历优先
2 药学人员 1 35岁以下研究生博士药理学在三甲医院从事药物研发工作五年以上,发
表第一作者SCI文章,主持国家自然科学基
金。
具有主管药师资格
3 统计师 1 45岁以下研究生硕士及以上公共卫生在重点高校、科研机构、医院专职从事统计工作五年以上,发表第一作者SCI文章
4 管理岗 4 35岁以下本科及以上硕士不限专职从事党政管理工作两年以上
具有党务、人事、外事、信息管理工作经验者优先
5 护理岗 2 30岁以下研究生硕士护理学在三甲医院从事护理工作三年以上,主持厅局级基金,公开发表文章十篇以上。
感谢你的观看
感谢你的观看
2019年公开招聘事业单位工作人员岗位计划表 序号 岗位名称 招聘人数 年龄
学历
学位 招聘专业 工作经验、业绩要求
职称及其他要求
1
眼科医师
1
40岁以下 研究生
博士
眼科学
在三甲医院从事眼科医疗工作五年以上,完
成眼科住院医师规范化培训,发表第一作者SCI 文章
具有主治医师资格,具有援疆援藏援外经历优先 2
药学人员
1
35岁以下 研究生
博士
药理学
在三甲医院从事药物研发工作五年以上,发
表第一作者SCI 文章,主持国家自然科学基金。
具有主管药师资格 3
统计师
1
45岁以下 研究生
硕士及以上 公共卫生
在重点高校、科研机构、医院专职从事统计工作五年以上,发表第一作者SCI 文章
4 管理岗 4 35岁以下 本科及以上 硕士 不限
专职从事党政管理工作两年以上
具有党务、人事、外事、信息管理工作经验者优先 5 护理岗 2 30岁以下 研究生 硕士 护理学
在三甲医院从事护理工作三年以上,主持厅局级基金,公开发表文章十篇以上。
“厦门军民融合协同创新研究院”正式挂牌
中电
【期刊名称】《军民两用技术与产品》
【年(卷),期】2015(0)9
【摘要】中国电子信息产业集团有限公司与厦门市、国防科学技术大学三方共同组建的“厦门军民融合协同创新研究院”正式挂牌成立。
【总页数】2页(P10-11)
【关键词】厦门市;研究院;挂牌;创新;协同;中国电子信息产业集团;国防科学技术大学
【作者】中电
【作者单位】
【正文语种】中文
【中图分类】TH122
【相关文献】
1.西部军民融合技术产业发展研究院暨陕西省军民融合技术产业创新联盟成立大会剪影 [J],
2.西部军民融合技术产业发展研究院暨陕西省军民融合技术产业创新联盟成立大会在我校隆重举行 [J],
3.第二届中国河北军民融合暨国防工业协同创新成果展洽会成功举办军民融合深度发展成为京津冀协同发展新亮点 [J], 曹福成
4.军民融合协同创新研究院将落户厦门 [J],
5.甘肃:首批军民融合协同创新中心名单正式公布 [J], 张义凌
因版权原因,仅展示原文概要,查看原文内容请购买。
军民融合发展服务中心岗位全文共四篇示例,供读者参考第一篇示例:军民融合发展服务中心岗位的工作内容主要包括以下几个方面。
首先是协调与合作。
军民融合发展服务中心要协调各方资源和力量,推动双方的合作项目达成。
其次是项目管理。
军民融合发展服务中心要负责项目的策划、执行和监督,确保项目按计划进行。
再次是政策研究。
军民融合发展服务中心需要深入研究国家政策,为军民融合发展提供政策支持和建议。
还需要进行信息分享、资源整合等工作,以实现各方的互动和协同发展。
在未来,军民融合发展服务中心岗位将面临一些挑战和机遇。
一方面,随着军民融合发展和科技创新的不断推进,军民融合发展服务中心的工作将更加复杂和繁重,需要更多的专业人才和有效的管理机制。
随着数字化、智能化等新技术的广泛应用,军民融合发展服务中心将有更多的机会和空间,可以更好地利用科技创新来促进合作和发展。
第二篇示例:军民融合发展服务中心是指为促进军民融合发展而设立的机构,旨在搭建军民融合合作的桥梁和平台,为相关企业和单位提供服务和支持。
军民融合是国家现代化建设的重要支撑,加强军民融合发展服务中心的建设,对于提升国防科技实力、促进经济社会发展具有重要意义。
在军民融合发展服务中心中,有许多不同的岗位,每个岗位都有自己的职责和工作内容,下面我们就来详细介绍一下军民融合发展服务中心的岗位。
一、研究员:军民融合发展服务中心的研究员主要负责从事研究工作,开展项目研究和分析,撰写研究报告和论文。
研究员要具备扎实的理论基础和实践经验,能够独立开展研究工作,提供决策支持和政策建议。
二、项目经理:项目经理是军民融合发展服务中心的核心岗位之一,负责项目的规划、组织、实施和管理。
项目经理要具备良好的组织能力和沟通协调能力,能够有效地协调各方资源,推动项目顺利开展,实现项目目标。
三、技术专家:技术专家主要负责项目中的技术研发和实施,为项目提供技术支持和解决方案。
技术专家要具备专业的技术知识和实践经验,能够根据项目需求进行技术研究和开发,提供高质量的技术支持。