几种实用的低电压冗余电源方案设计样本
- 格式:doc
- 大小:303.00 KB
- 文档页数:8
高压低压配电柜的电源冗余和备份策略在现代工业生产中,配电柜扮演着不可或缺的角色,它负责将高压电源转化为低压电源,为电气设备提供稳定可靠的电能。
然而,电力供应的中断或故障可能会对生产造成严重影响,因此采取电源冗余和备份策略是必要的。
本文将探讨高压低压配电柜的电源冗余和备份策略。
一、电源冗余策略为了保证连续供电和可靠性,高压低压配电柜通常采用冗余电源策略。
冗余电源是指为主电源提供备用电源,以便在主电源故障时能够切换到备用电源。
常见的冗余电源策略主要有以下几种:1. N+1冗余N+1冗余是指在所需电源数量(N)的基础上增加一个备用电源。
例如,如果一个配电柜需要两个电源供电,那么采用N+1冗余策略将需要三个电源。
这种策略的好处是在主电源故障时可以无缝切换到备用电源,确保电力供应的连续性。
2. 2N冗余2N冗余是指为每个电源提供一个备份电源。
这种策略需要两个完全独立的电源系统,并保证每个电源都能满足全部负荷需求。
与N+1冗余相比,2N冗余的可靠性更高,但成本也更高。
3. N+N冗余N+N冗余是指为每个电源提供一个备份电源,并将负荷均匀分配给所有电源。
这种策略在主电源故障时,所有备份电源都能够均衡承担负荷。
尽管具备一定的冗余能力,但与2N冗余相比,N+N冗余的可靠性较低。
二、电源备份策略除了冗余电源策略外,配电柜还需要采取电源备份策略,以应对特定情况下的电力中断。
常见的备份策略主要有以下几种:1. UPS(不间断电源)备份UPS是一种用于提供短暂备份电源的设备,主要用于应对短时间的电源中断。
它通过电池或超级电容器储存电能,并在主电源中断时立即切换到备份电源,以保证电气设备的连续供电。
UPS备份可以为敏感设备提供充足的电力供应,避免数据丢失和生产中断。
2. 发电机备份对于长时间的电力中断,发电机备份是一种可靠的选择。
发电机可以自动或手动启动,为配电柜提供稳定的备用电源。
它通常通过柴油或天然气燃料驱动,可以持续供电数小时甚至数天。
电源系统实现冗余的几种方式电源系统实现冗余的几种方式目前,尽管配电系统已经相当可靠,但是考虑到重要数据的处理和存储,许多公司采用UPS来进行对服务器、数据中心等设备的保护。
目的是为了确保重要设备可以应对突发性的电源故障。
本文主要介绍了以下几种实现电源系统冗余的方式:1。
单机/并机满载冗余方式:UPS接在电网与负载之间对负载进行保护,是最基本、最简单的保护模式。
如果UPS出故障,或者负载过载,UPS就会切换到旁路方式运行。
负载就在市电直通方式下运行,为了对UPS进行维修,尽快排除故障,一般采用外部旁路(维修旁路盘)对UPS进行隔离,以便在负载不断电的方式下进行UPS的维修。
但是这种方式有其局限性,主要是当负载在UPS工作在旁路方式下时,缺乏可靠的电源保护。
2。
隔离冗余方式:隔离冗余方式是指一台或者多台UPS作为第一级电源保护设备,另外一台机器作为二级电源,备用使用。
一级电源有各自的负载总线,二级电源为所有一级电源设备提供旁路电源。
工作时二级电源空载运行,但是,在一个周波的时间内要求它可以承担从0%到100%的负载。
当一级电源从市电模式切换到旁路模式时,转换开关会自动将其与二级电源断开。
3。
并联冗余方式:并联冗余方式一般由2台或者多台相同功率的UPS组成,负载均分,这种方式也被称为N+1冗余方式,为负载提供的电源总容量是单台电源容量的2倍。
这种工作方式与单机工作方式及并机满载冗余方式相比更加可靠,如果其中一台UPS出现故障,它即自动退出并机队列,剩下机器则继续为负载供电。
4。
分布式冗余方式:分布式冗余方式是目前业内公认的最可靠及可行的工作方式,整个系统内部的UPS各自独立,适用的负载例如:机房内的双电源服务器、精密仪器等。
此种冗余方式最基本的配置是2台UPS,独立输入,不共享数据,但是因为均分负载,因此仍然是并联运行。
5。
分区电源分配方式:在一套UPS配电系统中,从UPS到其最终保护的负载之前,通过其下口的各分配电柜和其它的电气开关之间会有一个较长的能量通路,其间就存在着一些有可能导致整个系统出现问题的故障点,理想的UPS电源系统应该是UPS的输出直接连接后端需要保护的关键设备,在分区电源系统中,UPS更加靠近负载,在几种电源系统冗余方式中,它的可靠性及可用性级别最高。
冗余电源是高可用系统中关键的部分。
在最简单的解决方案中,两只电源可以利用二极管来通过或门输出以驱动负载。
这样,这两只电源既可以共同工作,也可以一只工作,一只备用。
场效应晶体管(FET)ORing控制器是一款更实用的解决方案,因为它避免了二极管电压降、功率损耗以及热损耗。
因此我们可以用低电压损失MOSFET来配置新颖经济的系统。
在这里我们将讨论几个服务器冗余电源配置的示例。
服务器的冗余电源技术高可用系统的电源总线可能采用OR或者N+1配置,或者两者同时采用。
通常来说,因为存在正向压降及其带来的热损耗,所以在低电压、高电流的应用中我们不采用二极管。
因此人们更倾向于采用FETORing技术。
然而,采用高度集成和分立式设计的MOSFSET控制器本身也存在很多不足之处。
在图1中,MOSFET两端的差分电压VAC是由控制器监控的,控制器是根据VAC来设置MOSFET的闸极电压的。
在MOSFET开启和关闭时的实际开关点电压以及控制的方法和速度决定了控制器成功地模拟二极管的性能和稳定性。
TPS2410控制器是专门为服务器应用而设计的。
服务器的负载通常是低电压、相对稳定的高电流,不允许出现流向失效电源 (failedpowersupply)的反向电流。
下面我们将讨论一些有关冗余电源配置的示例。
示例中采用了图1中带方框的二级管符号来表示N通道 MOSFET和控制器的简图。
图 1、“带框的二级管”表示控制器和MOSFET的简图OR配置图2显示了一款简单的ORing电源控制器。
通常,在刀片服务器上的主电源总线为正12伏。
其他电源轨上的OR布线也是如此,甚至包括CPU的内核电压,它们通常是0.8到1.8伏。
计算机内核电压太低,无法使用二极管。
图 2、简单电源的OR这个例子当中的组件位置没有标出。
设计人员可以把系统分区然后在电源或者刀片服务器上找到ORing电路。
并联的MOSFET控制器的栅极关断电流足以驱动MOSFET栅极。
国产电源冗余方案引言在现代电子设备中,电源的稳定供应对于设备的正常运行至关重要。
为了保证设备在电源故障或异常情况下仍能继续工作,冗余电源方案应运而生。
本文将介绍一种国产电源冗余方案,以保障设备的稳定供电。
1. 冗余电源的概念冗余电源是指在电力系统中,通过增加备用电源来提高设备的可用性。
当主电源出现故障时,备用电源会立即接管供电,保证设备的可靠运行。
冗余电源方案在各种关键设备中广泛应用,包括服务器、网络交换机、工控系统等。
2. 国产电源冗余方案2.1. 冗余电源模块国产电源冗余方案采用模块化设计,主要包括主电源模块和备用电源模块。
主电源模块负责主要供电功能,备用电源模块作为互换备份电源。
2.2. 智能切换功能国产电源冗余方案还带有智能切换功能,能够检测主电源的状态并在发生故障时切换至备用电源。
切换过程一般在几毫秒级完成,保证设备的连续供电。
2.3. 多路输出为了满足不同设备的供电需求,国产电源冗余方案通常配备多个输出接口。
这些接口可以根据需要配置为直流输出或交流输出,以适应不同设备的供电要求。
2.4. 故障报警功能国产电源冗余方案的备用电源模块通常带有故障报警功能。
一旦备用电源出现异常,如电流过载、电压过高或过低等,系统会立即发出警报,以提醒用户处理故障。
2.5. 热插拔设计为了方便维护和升级,国产电源冗余方案采用了热插拔设计。
用户可以在设备运行的情况下更换备用电源模块,无需停机维护,提高了系统的可靠性和可用性。
3. 应用案例3.1. 服务器冗余电源服务器通常需要保证高可用性,因此冗余电源方案在服务器中得到广泛应用。
国产电源冗余方案可以提供双电源输入,以保证服务器在一台电源故障时仍能正常工作。
3.2. 工控系统冗余电源工控系统对电源供应的稳定性要求较高。
国产电源冗余方案在工控系统中可以提供备用电源的持续供电,以确保工控设备在主电源故障时继续正常运行。
3.3. 网络交换机冗余电源网络交换机的稳定供电对于网络的正常运行至关重要。
几种实用的低电压冗余电源方案设计摘要通过对电源冗余的系统介绍和分析,指出传统方案和替代方案的优缺点。
着重说明了在新的低电压冗余电源方案设计中MOSFET不同于常规的应用原理,并且根据不同的需求给出了几种以LTC4416、PI2121、LTC4352、LTC4350、TPC2412为代表的典型应用电路方案,说明了其中重点电路的原理。
关键词冗余电源热备份 MOSFET引言对于一些需要长时间不间断操作、高可靠的系统,如基站通信设备、监控设备、服务器等,起着重要作用。
往往需要高可靠的电源供应。
冗余电源设计是其中的关键部分,在高可用系统中冗余电源一般配置2个以上电源。
当1个电源出现故障时,其他电源可以立刻投入,不中断设备的正常运行。
这类似于UPS电源的工作原理:当市电断电时由电池顶替供电。
冗余电源的区别主要是由不同的电源供电。
电源冗余有交流220 V及各种直流电压的应用,本文主要介绍低压直流(如DC 5 V、DC12 V等)的冗余电源方案设计。
1 冗余电源介绍电源冗余一般可以采取的方案有容量冗余、冗余冷备份、并联均流的N+1备份、冗余热备份等方式。
容量冗余是指电源的最大负载能力大于实际负载,这对提高可靠性意义不大。
冗余冷备份是指电源由多个功能相同的模块组成,正常时由其中一个供电,当其故障时,备份模块立刻启动投入工作。
这种方式的缺点是电源切换存在时间间隔,容易造成电压豁口。
并联均流的N+1备份方式是指电源由多个相同单元组成,各单元通过或门二极管并联在一起,由各单元同时向设备供电。
这种方案在1个电源故障时不会影响负载供电,但负载端短路时容易波及所有单元。
冗余热备份是指电源由多个单组成,并且同时工作,但只由其中一个向设备供电,其他空载。
主电源故障时备份电源可以立即投入,输出电压波动很小。
本文主要介绍后两种方案的设计。
2 传统冗余电源方案传统的冗余电源设计方案是由2个或多个电源通过分别连接二极管阳极,以“或门”的方式并联输出至电源总线上。
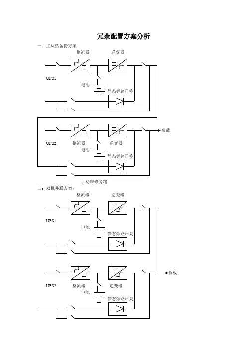
冗余配置方案分析
一:主从热备份方案
整流器逆变器
负载
手动维修旁路
二:双机并联方案:
整流器逆变器
方案比较:
1.设备容量:两个方案相同,两台UPS输出容量均按负荷容量选择;
2.可靠性:方案二比方案一高一级;设UPS1、UPS2及旁路的可靠度均为0.95,直流电源可靠度为1,见下计算:
方案一=1-(1-0.95)(1-0.95²)²=0.9995246
方案二=1-[1-(1-0.95)²]²=0.9999937
3.后备方式:方案一明备用,方案二暗备用;
4.利用率:方案一其中一台空载,利用率低,方案二两台利用率一样;
5.技术难度:方案二要求双机并列,均压均流,性能一致;
6.投资:方案二少于方案一;
7.过载能力:方案二比方案一高一倍,方案一如果遇到冲击、短路、过载等,切换旁路可能有两次,可靠性降低;
8.应用场合:方案一适用于旧系统不需增容的改造工程或性能达不到均压并联要求的场合,新工程及设备增容或增加冗余应采用方案二。
图1传统电源冗余方案
然而在列车设备中目前应用的电源系统中,
设备所需要的电流都比较大,最大甚至可达到几十安培。
考虑到二极管本身的功耗,为了避免二极管因温度过高而
通常这些二极管上还需要安装大功率散热片。
图2电源板冗余输出控制原理
折弯动作过程如下:钢筋穿过导向套,左端夹持在限可以直接更换对外接插件及散热器,
形成标准6U4TE 电源板,
满足小空间安装需求。
本设计预留DC24V 冗余输出电路,
如果有DC24V 出要求,可在不必重新制板的情况下,完成DC5V 1.折弯台2.导向套3.钢筋4.限位盘5.折弯偏心轮6.限位柱
7.固定套8.滑块9.弧形导轨10.限位开关11.变速器和电机
图1折弯机基本组成
324657
8
11
1
3165
2
9107。
冗余电源方案在现代生活中,电力供应的稳定性对于各行各业都至关重要。
一旦出现停电或电力波动,就会导致生产线停产、数据丢失以及严重影响生活质量。
为了保障电力供应的可靠性,人们常常采用冗余电源方案来应对各种突发情况。
本文将探讨冗余电源方案的原理、分类以及应用。
冗余电源方案的原理在于通过多重电源来提供电力供应。
这种方案的核心思想是,当主要电源出现故障或不稳定时,备用电源将自动接管,以确保电力供应的连续性。
冗余电源方案可以应用于各种场景,包括工业生产、数据中心、医院以及居民用电等。
下面将介绍一些常见的冗余电源方案。
第一种冗余电源方案是双路供电。
这种方案通过同时连接两个独立的电源,将其并联供电。
当其中一个电源出现故障时,另一个电源将无缝接管,保障电力供应的连续性。
双路供电方案可以广泛应用于机房、数据中心等对电力供应要求极高的场所。
第二种冗余电源方案是备用电池。
这种方案主要应用于对电力供应要求极高且停电时间短暂的场景,如关键设备或紧急照明系统。
备用电池通过连接到主电源上,当主电源中断时,备用电池将立即接管供电,以确保电力供应的连续性。
备用电池的容量和寿命将直接影响其供电时间和可靠性。
第三种冗余电源方案是UPS不间断电源。
UPS不间断电源广泛应用于各种对电力供应要求极高的场合,如数据中心、核电站等。
UPS不间断电源通过连接到主电源和负载之间,实时监测电力波动和停电情况。
当主电源中断时,UPS将立即接管供电,保证负载设备的正常运行。
UPS不间断电源的容量和稳定性将直接影响其供电时间和负载能力。
除了上述几种常见方案外,还有一些更复杂的冗余电源方案,如额定功率冗余(N+1)、并行冗余、径流冗余等。
这些方案主要应用于对电力供应要求极高且冗余程度高的场所,如医院手术室、国际机场等。
冗余电源方案的应用有助于提高电力供应的稳定性和可靠性。
然而,仅仅依靠冗余电源并不能解决所有电力供应问题。
正确的安装和维护,合理的设计和规划都是不可或缺的。
冗余电源并联方案概述冗余电源并联方案是根据可靠性要求,将多个电源设备连接在一起,提供额外的备用电力,以防止主电源故障导致系统中断。
在工业控制、通信、数据中心等领域中,冗余电源方案被广泛应用,确保系统的稳定性和连续运行。
本文将介绍常见的冗余电源并联方案,包括主备电源、N+1冗余电源和2N冗余电源,并探讨其适用场景、优缺点及实施方法。
主备电源主备电源是最常见的冗余电源方案之一。
主备电源由一个主电源和一个备用电源组成,当主电源发生故障时,备用电源会自动接管并提供电力。
主备电源方案的实现可以通过使用静态切换设备或者自动切换设备。
适用场景主备电源方案适用于对系统可靠性要求较低的场景,如普通办公环境、家庭电力供应等。
在这些场景下,主备电源能够提供基本的备用电力,保证短暂的停电不会对系统造成重大影响。
优点•简单易实施,成本较低;•适用于可靠性要求较低的场景;缺点•切换过程中可能发生瞬时电流过大,对设备造成损坏;•无法实现零中断切换,可能造成短暂停电;实施方法主备电源的实施方法如下:1.选择合适的主电源和备用电源,保证其参数匹配;2.安装静态切换设备或自动切换设备,将主电源和备用电源连接在一起;3.设定切换条件,当主电源发生故障或不稳定时,备用电源自动接管电力供应。
N+1冗余电源N+1冗余电源方案是将多个电源并联在一起,其中N个为工作电源,1个为备用电源。
当任意一个工作电源发生故障时,备用电源会自动接管其负载,以保证系统的连续供电。
适用场景N+1冗余电源方案适用于可靠性要求较高,但成本相对较低的场景。
在这些场景下,N+1冗余电源可以提供更高的可用性,但相对于2N冗余电源方案来说,成本较低。
优点•较高的可靠性和可用性,可以保证系统连续供电;•相对于2N冗余电源方案来说,成本较低;缺点•对电源设备的选型和配网有一定要求,需要预留备用电源接口;•当备用电源接管负载时,会有负载不均衡的情况发生;实施方法N+1冗余电源方案的实施方法如下:1.确定所需的工作电源数量和备用电源的型号及容量;2.配置并联电源设备的输入和输出,保证负载均衡,并预留备用电源接口;3.配置切换设备,监控工作电源的状态,当发生故障时,自动切换至备用电源。
低压ups方案在现代社会中,电力供应的稳定性和可靠性对各行业的正常运转至关重要。
然而,电力网络的稳定度常常受到外界因素的干扰,例如自然灾害、设备故障等。
为了应对这些潜在的问题,低压UPS(不间断电源)方案应运而生。
低压UPS方案旨在提供一种可靠的备用电源,以保持关键设备和系统的正常运转。
它通过将设备与电池组连接起来,在电力中断时自动切换到电池供电,以确保持续的电力供应。
在本文中,我们将介绍低压UPS方案的原理、应用领域和选择要点。
1. 低压UPS方案的原理低压UPS方案的原理基于电力系统的冗余设计。
它由主机、电池组、智能监控系统和电路保护设备组成。
当主机检测到电力中断时,它会自动切换电源,将电力供应转变为电池供电,以保证关键设备的正常工作。
2. 低压UPS方案的应用领域低压UPS方案被广泛应用于各行各业,尤其是对电力供应要求较高的领域。
以下是一些主要的应用领域:2.1 数据中心:数据中心需要高度稳定的电力供应,以保证服务器和网络设备的正常运行。
2.2 医疗设施:医疗设施对电力的稳定性要求极高,以确保医疗设备、手术室以及患者监护设备的供电不受干扰。
2.3 通信基站:通信基站是维持通信网络运行的关键环节,对电力的连续供应要求非常严格。
2.4 工业自动化:在工业自动化中,低压UPS方案可确保生产线和关键设备在电力中断时不间断运行。
3. 选择低压UPS方案的要点当选择低压UPS方案时,以下要点应予以考虑:3.1 系统容量:根据需求确定UPS系统的容量,确保其能够支持关键设备的电力需求。
3.2 转换时间:选择具有较短转换时间的低压UPS方案,以确保关键设备在电力中断时能够立即切换到备用电源。
3.3 可扩展性:考虑未来的扩展需求,选择具有良好可扩展性的低压UPS方案,以便随着业务的增长进行升级。
3.4 可靠性:选择知名品牌和可靠的供应商,以确保低压UPS方案的质量和售后服务。
总结:低压UPS方案是应对电力中断和供电不稳定的有效解决方案。
低压供电方案编制案例概述本文档旨在编制一个低压供电方案的案例,其中包括方案的设计原理、实施步骤以及相关注意事项。
低压供电方案是指在电力系统中使用较低电压供应的供电方式,通常指的是小型设备或者小型建筑物的供电方案。
设计原理低压供电方案的设计原理有以下几个方面:1.安全性:低压供电方案必须满足电力安全标准,确保供电系统的安全运行。
2.稳定性:低压供电方案应该能够保持稳定的电压和电流输出,以满足设备的需求。
3.效率性:低压供电方案应该具有高效能、低能耗的特点,以提高整个电力系统的效率。
实施步骤以下是编制低压供电方案的实施步骤:第一步:需求分析在编制低压供电方案之前,首先需要进行需求分析,明确供电设备的功率需求、电压要求以及其他特殊要求。
根据需求分析的结果,确定供电方案的设计参数和技术要求。
第二步:系统设计根据需求分析的结果,开始进行系统设计。
系统设计包括以下几个方面:1.选择供电设备:根据功率需求和特殊要求,选择合适的供电设备,如变压器、开关柜等。
2.设计配电系统:根据供电设备的要求和建筑物的布局,设计合理的配电系统,确保供电系统的稳定性和安全性。
3.考虑电缆敷设:根据建筑物的布局和供电设备的位置,设计合理的电缆敷设方案。
4.考虑短路保护:设计适当的短路保护装置,以防止电力系统发生短路故障。
第三步:施工实施在系统设计完成后,进行供电系统的施工实施。
施工实施包括以下几个方面:1.安装供电设备:按照设计方案,安装供电设备,并进行必要的接线和连接。
2.敷设电缆:根据设计方案,进行电缆的敷设,确保电缆的良好连接和绝缘。
3.联调测试:在施工完成后,进行供电系统的联调测试,确保系统正常运行并符合设计要求。
第四步:验收与维护在供电系统的施工实施完成后,进行验收与维护工作。
验收工作包括以下几个方面:1.检查供电系统的安全性:对供电系统进行全面的安全检查,确保供电系统符合安全标准。
2.检查供电系统的稳定性:对供电系统的稳定性进行测试,确保系统能够稳定供电。
一种高可靠性冗余电源设计发表时间:2020-12-22T06:28:01.553Z 来源:《防护工程》2020年26期作者:史氙杨天奇王永刚[导读] 介绍了电路设计原理,对设计方案进行了硬件实现,并针对冗余切换功能做了测试验证。
中车大连电力牵引研发中心有限公司辽宁大连 116022摘要:本文介绍了一种高可靠性的冗余电源设计,重点介绍了在电力机车应用场景下的电源设计,提出了冗余输出,故障时自动切换的方案。
介绍了电路设计原理,对设计方案进行了硬件实现,并针对冗余切换功能做了测试验证。
关键词:冗余输出;电源;电力机车电源广泛应应用于电力电子相关的各行各业,电源输出板卡在电力机车系统中扮演重要角色。
在列车网络控制系统TCMS中,电源板卡分别给中央控制单元、远程输入输出单元、数据记录单元、显示屏等多个电气设备供电[1]。
其稳定性关系到整个TCMS系统的稳定性和可靠性,对列车安全运行有着举足轻重的作用。
铁路行业,列车运行工况恶劣程度远超其他生产制造行业。
高低温差大、强振动、强电磁辐射、长周期运行等因素时刻对电源可靠性提出挑战。
目前国内电力机车普遍使用的电源方案通常不具备冗余输出功能。
因此具有冗余功能的高可靠性电源在整个控制系统中具有重要作用。
[2] 1、冗余电源方案图1电源板结构图本电源板卡,结构如图1所示,包括两路直流缓启动滤波电路、两路直流变换电路,两路冗余保护电路。
外接电源通过前面板输入,经过两个缓启动保护,分别进行DC/DC变换,变换后分别经过冗余保护电路通过背板接口给控制系统设备内的其它功能单元供电。
本设计提高了电源变换和传输的安全性、可靠性、非常适合于当前列车控制领域。
其基本功能如下,列车外接110V电源通过前面板接口接入电源板卡,经过两路缓启动滤波电路1、缓启动滤波电路2后,电源接入直流变换电路1、直流变换电路2,再经过冗余保护电路将变换后的直流5V电源通过背板接口给其他功能模块供电。
正常工作时,直流变换电路1和直流变换电路2都进行DC/DC电压变换同同一时刻,冗余保护电路1和冗余保护电路2只有一路导通。
几种实用的低电压冗余电源方案设计
张晓健;李志新
【期刊名称】《单片机与嵌入式系统应用》
【年(卷),期】2009(000)011
【摘要】通过对电源冗余的系统介绍和分析,指出传统方案和替代方案的优缺点.着重说明了在新的低电压冗余电源方案设计中MOSFET不同于常规的应用原理,并且根据不同的需求给出了几种以LTC4416、PI2121、LTC4352、LTC4350、TPC2412为代表的典型应用电路方案,说明了其中重点电路的原理.
【总页数】4页(P8-11)
【作者】张晓健;李志新
【作者单位】郑州威科姆电子科技有限公司;河南海华工程建设监理公司
【正文语种】中文
【中图分类】TP3
【相关文献】
1.冗余电源技术在机载二次电源系统中的应用 [J], 王斌;杨郑浩;邰永红
2.基于DBR的双馈风力机组低电压穿越方案设计 [J], 成红兵;袁炜;周伟波;徐继刚;卢仁宝
3.多电源自助设备中的电源管理方案设计探讨 [J], 王龙林
4.大中型发电机组保安电源三电源切换方案设计 [J], 韩冰; 丁刘元; 刘军
5.基于串联电压补偿的配电网低电压治理方案设计 [J], 雷司宇;谭聪;何琦;彭海超
因版权原因,仅展示原文概要,查看原文内容请购买。
FPGA_电源的方案设计FPGA电源的方案设计在数字电路设计中,FPGA(现场可编程门阵列)已成为越来越重要的核心元件。
由于FPGA具有高度的可编程性和灵活性,使其在各种应用领域中得到广泛应用。
然而,在FPGA运行过程中,电源管理问题成为了一个关键的考虑因素。
本文将探讨FPGA电源的方案设计,包括设计原理、具体方案和注意事项等方面。
FPGA电源的设计原理FPGA内部由大量的逻辑单元组成,这些逻辑单元对电源的要求较高。
为了保证FPGA的正常运行,我们需要设计一个稳定、高效、低噪声的电源系统。
这一系统应具有以下特点:1、稳定性:电源系统应提供稳定、连续的电压和电流,以确保FPGA 内部逻辑单元的稳定运行。
2、高效性:电源系统应具有较高的转换效率,以减少能源浪费和设备发热问题。
3、低噪声:电源系统应具有较低的噪声,以避免对FPGA内部逻辑单元的干扰,从而提高系统的可靠性。
具体方案设计在设计FPGA电源的方案时,我们需要根据实际需求进行定制。
以下是一些具体方案的设计步骤:1、确定电源种类和数量:根据FPGA的规格书,确定所需的电源种类和数量。
例如,某些FPGA需要一个5V的主电源,以及其他较低电压的辅助电源。
2、确定电源质量:为了确保FPGA的稳定运行,我们需要选择具有较高电源质量指标的电源模块。
这些指标包括电压稳定度、负载稳定度、电压纹波等。
3、电源布局和布线:在电路板设计中,合理的电源布局和布线能够显著提高电源系统的性能。
应尽量减小电源线的长度,并采用合理的电源平面结构,以提高电源系统的稳定性和效率。
4、降噪和EMC措施:为了降低电源噪声和电磁干扰(EMC),可以采取一系列措施,如加装滤波器、接地屏蔽、优化电路设计等。
这些措施有助于提高FPGA系统的可靠性和稳定性。
注意事项在设计和实施FPGA电源方案时,还有一些需要注意的事项:1、考虑到FPGA逻辑单元的动态功耗,应在设计中加入功耗管理机制,如动态电压调整和时钟频率调整等。
几种实用的低电压冗余电源方案设计低电压冗余电源方案设计是为了确保设备在电源故障情况下仍能持续运行的一种设计方案。
下面介绍几种实用的低电压冗余电源方案设计。
1.双电源供电方案:这是最基本的低电压冗余电源方案设计。
系统由两个电源同时供电,若其中一个电源发生故障,则系统可以自动切换到备用电源进行供电。
备用电源可以是电池组或者发电机组,确保系统在电源故障时仍能持续供电。
2.电池组供电方案:电池组作为备用电源,提供独立的电源供应。
在主电源发生故障时,电池组立即接管供电,确保系统持续运行。
电池组需要进行定期维护和监控,以确保其正常工作。
3.UPS(不间断电源)供电方案:UPS采用电池组作为备用电源,同时具备稳压、稳频和过载保护功能。
UPS可以与主电源并联供电,当主电源正常时,UPS将对其进行稳压和稳频处理;当主电源发生故障时,UPS立即切换到电池供电,确保系统持续供电。
4.多路电源供电方案:多路电源供电方案中,系统由多个电源同时供电,每个电源负责供电系统中的一部分负载。
当其中一个电源发生故障时,其他电源可以继续供电,确保系统不受影响。
该方案可以提高系统供电的可靠性和稳定性。
5.并联供电方案:并联供电方案中,多个电源并联供电系统。
每个电源都能够独立供电整个系统的负载。
当其中一个电源发生故障时,其他电源可以接管负载进行供电,确保系统不间断运行。
并联供电方案可以提供更高的供电可靠性和容灾能力。
在低电压冗余电源方案设计中,还需要考虑电源切换的速度、过载保护、过电压保护、电源管理和监控等问题,以确保整个系统的稳定运行。
同时,对备用电源的维护和监控也是非常重要的,以确保备用电源在需要时能够正常工作。
综上所述,以上是几种实用的低电压冗余电源方案设计,不同的方案可以根据系统需求和特点进行选择和组合。
在设计时,需要综合考虑供电可靠性、成本、容灾能力等因素,以满足系统的运行需求。
专利名称:一种实现冗余电源的装置专利类型:实用新型专利
发明人:周敬彬,郑新忠
申请号:CN201220184797.1
申请日:20120427
公开号:CN202720573U
公开日:
20130206
专利内容由知识产权出版社提供
摘要:本实用新型涉及一种实现冗余电源的装置,其包括一路电源、二路电源与带有八个端子的继电器。
一路电源A、二路电源B及输出端分别与继电器的两个端子相连,八个端子中的其余两个端子连有继电器线圈,与连有继电器线圈的端子又与分别与两路电源并联连接,与输出端连接的两个端子和与一路电源、二路电源连接的端子之间通过衔铁连接。
本实用新型有效克服了单路供电给系统带来的不可靠性,且设备简单,操作方便,从而使DCS系统能够稳定使用。
申请人:山东金诚重油化工技术研究院
地址:256405 山东省淄博市桓台县马桥镇红辛路66号
国籍:CN
更多信息请下载全文后查看。
几种实用的低电压冗余电源方案设计
引言
对于一些需要长时间不间断操作、高可靠的系统, 如基站通信设备、监控设备、服务器等, 往往需要高可靠的电源供应。
冗余电源设计是其中的关键部分, 在高可用系统中起着重要作用。
冗余电源一般配置2个以上电源。
当1个电源出现故障时, 其它电源能够马上投入, 不中断设备的正常运行。
这类似于UPS电源的工作原理: 当市电断电时由电池顶替供电。
冗余电源的区别主要是由不同的电源供电。
电源冗余有交流220 V及各种直流电压的应用, 本文主要介绍低压直流(如DC 5 V、 DC 12 V等)的冗余电源方案设计。
1 冗余电源介绍
电源冗余一般能够采取的方案有容量冗余、冗余冷备份、并联均流的N+1备份、冗余热备份等方式。
容量冗余是指电源的最大负载能力大于实际负载, 这对提高可靠性意义不大。
冗余冷备份是指电源由多个功能相同的模块组成, 正常时由其中一个供电, 当其故障时, 备份模块马上启动投入工作。
这种方式的缺点是电源切换存在时间间隔, 容易造成电压豁口。
并联均流的N+1备份方式是指电源由多个相同单元组成, 各单元经过或门二极管并联在一起, 由各单元同时向设备供电。
这种方案在1个电源故障时不会影响负载供电, 但负载端短路时容易波及所有单元。
冗余热备份是指电源由多个单元组成, 而且同时工作, 但只由其中一个向设备供电, 其它空载。
主电源故障时备份电源能够立即投入, 输出电压波动很小。
本文主要介绍后两种方案的设计。
2 传统冗余电源方案
传统的冗余电源设计方案是由2个或多个电源经过分别连接二极管阳极, 以”或门”的方式并联输出至电源总线上。
如图1所示。
能够让1个电源单独工作, 也能够让多个电源同时工作。
当其中1个电源出现故障时, 由于二极管
的单向导通特性, 不会影响电源总线的输出。
在实际的冗余电源系统中, 一般电流都比较大, 可达几十A。
考虑到二极管本身的功耗, 一般选用压降较低、电流较大的肖特基二极管, 比如
SR1620~SR1660(额定电流16 A)。
一般这些二极管上还需要安装散热片, 以利于散热。
3 传统方案与替代方案的比较
使用二极管的传统方案电路简单, 但有其固有的缺点: 功耗大、发热严重、需加装散热片、占用体积大。
由于电路中一般为大电流, 二极管大部分时间处于前向导通模式, 它的压降所引起的功耗不容忽视。
最小压降的肖特基二极管也有0.45 V, 在大电流时, 例如12 A, 就有5 W的功耗, 因此要特别处理散热问题。
现在新的冗余电源方案是采用大功率的MOSFET管来代替传统电路中的二极管。
MOSFET的导通内阻能够到几mΩ, 大大降低了压降损耗。
在大功率应用中, 不但实现了效率更高的解决方案, 而且由于无需散热器, 因此节省了大量的电路板面积, 也减少了设备的散热源。
应用电路中MOSFET需要有专业芯片的控制。
当前, TI、 Linear等各大公司都推出了一些成熟的该类芯片。
4 新方案中MOSFET的特殊应用
MOSFET在新的冗余电源方案中是关键器件。
由于与常规电路中的应用不同, 很多人对MOSFET的认识都存在一定误区。
为了方便后续电路的介绍, 下面对其特殊之处作以说明。
首先, MOSFET符号中的箭头并不代表实际电流流动方向。
在三极管应
用中, 电流方向与元件符号的箭头方向相同, 因此很多人以为MOSFET也是如此。
其实MOSFET与三极管不同, 它的箭头方向只是表示从P极板指向N极板, 与电流方向无关, 如图2所示。
其次, 应注意MOSFET中二极管的存在。
如图2所示, N沟道MOSFET中源极
S接二极管的阳极, P沟道MOS-FET中漏极D接二极管的阳极。
因此, 在大多数把MOSFET当作开关使用的电路中, 对于N沟道MOSFET, 电流是从漏极流向源极, 栅极G接高电压导通; 对于P沟道MOSFET, 电流是从源极流向漏极, 栅极G接
低电压导通, 否则由于二极管的存在, 栅极的控制就不能关断电流通路。
最后, 应注意MOSFET的电流流动方向是双向的, 不同于三极管的单向导通。
对于MOSFET的导电特性, 大多数资料、文献及器件的数据手册中只给出了单向导电特性曲线, 大多数应用也只是利用了它的单向导电特性; 而对于其双
向导电特性, 则鲜有文献介绍。
实际上, MOS-FET为电压控制器件, 经过栅极电压的大小改变感应电场生成的导电沟道的厚度, 从而控制漏极电流的大小。
以N 沟道MOSFET为例, 当栅极电压小于开启电压时, 无论源、漏极的极性如何, 内部背靠背的2个PN结中, 总有1个是反向偏置的, 形成耗尽层, MOSFET不导通。
当栅极电压大于开启电压时, 漏极和源极之间形成N型沟道, 而N型沟道只是相当于1个无极性的等效电阻, 且其电阻很小, 此时如果在漏、源极之间加正向电压, 电流就会从漏极流向源极, 这是一般采用的一种方式; 而如果在漏、源极之间加反向电压, 电流则会从源极流向漏极, 这种方式很少用到。
在冗余电源的应用电路中, MOSFET的连接方向与常规不同。
以N沟道管为例, 连接电路应如图3所示。
如果电源输入电压高于负载电源电压, 即
Vi>Vout, 电流由Vi流向Vout。
由于是冗余电源应用, 负载电源电压Vout可能会高于电源输入电压Vi, 这时由外部电路控制MOSFET栅极关断源、漏通路, 同时由于内部二极管的反向阻断作用, 使负载电源不能倒流回输入电源。
如果需要经过控制信号直接控制关断MOSFET通路, 上述的单管就无法实现, 因为关断MOSFET沟道之后, 内部的二极管还存在单向通路。
这时需要如图4所示的2个背靠背反向连接的MOSFET电路, 只有这样才能主动地关断电流通路。
5 几种实用冗余电源方案设计
本文主要讨论的是DC 5 V、 DC 12 V之类的低压冗余电源设计。
针对不同的功能、成本需求, 下面给出几个设计方案实例。
5.1 简单的冗余电源方案
使用Linear公司的LTC4416能够设计1个简单的2路电源冗余方案, 如图5所示。
图中用1个LTC4416芯片连接2个外置P沟道MOSFET控制2路电源输入, 是非常简单的方案。
它使用2个MOSFET代替2个二极管实现了”或”的作用, MOSFET的压降一般为20~30 mV, 因此功率损耗非常小, 不会产生太多热量。