医院全自动药品分包机操作规程SOP
- 格式:doc
- 大小:982.50 KB
- 文档页数:26
自动给药机操作规程一、概述自动给药机是一种用于自动给药的设备,广泛应用于医院、诊所、养老院等医疗机构。
本操作规程旨在指导操作人员正确、安全地使用自动给药机,并确保患者得到准确的药物给予。
二、操作前准备1.确保自动给药机处于正常工作状态,并连接好电源。
2.核对自动给药机中的药物储存情况,确保药物供应充足。
3.检查自动给药机的操作面板和显示屏,确保无任何异常。
三、操作步骤1.打开自动给药机的操作面板,启动设备。
2.在人机界面上选择患者信息并进行身份验证,确保给药操作与患者信息匹配。
3.根据医嘱或药品订单,在自动给药机的系统中输入正确的药物名称、剂量和给药时间。
4.在患者身上找到合适的注射器或输液器插孔,将药物输送管插入其中。
5.在自动给药机的系统中选择合适的给药方式,例如静脉注射、皮下注射等。
6.按下确认按钮,确认开始给药操作。
7.监测自动给药机的运行情况,确保药物正常输送到患者体内。
8.当给药完成后,按下停止按钮,停止自动给药机的运行。
9.定期检查自动给药机的药物储存情况,及时补充药物。
10.将自动给药机的系统中的给药记录导出,并记录在患者的医疗档案中。
四、操作注意事项1.操作人员必须熟悉自动给药机的使用方法和操作流程,才能进行相关操作。
2.在给药之前,操作人员必须核对药物的名称、剂量和给药时间,确保准确无误。
3.操作人员在给药过程中应保持专注,尽量避免其他干扰。
4.在给药之前,操作人员必须检查自动给药机的药物储存情况,确保药物供应充足。
5.在给药过程中,操作人员应密切观察患者的反应,如有异常情况立即停止给药并报告医生。
6.操作人员应定期对自动给药机进行维护和保养,保持设备的正常工作状态。
7.操作人员离开自动给药机时,应将设备关闭或锁屏,防止未经授权的操作。
五、常见问题解决1.自动给药机无法启动:检查电源是否连接正常,确保设备正常供电。
2.自动给药机出现错误提示:根据错误提示信息,参照设备操作手册或联系厂家技术支持解决问题。
4.2.2.2 包药机进入包药状态,软件页面的右上角则显示正在包装的药品及病人信息,如:科室包药总量、包次、病人姓名、用药内容等。
图示如下:4.2.2.3 包药过程中出现缺药情况时,软件将出现如下图所示的提示框,根据提示,操作人员把相应缺药药品加入药盒,加药时必须双人核对加药后务必输入加药量、批号及有效期等信息(同一批号药品无需重复输入批号、有效期),信息输入方法如下:在软件页面中鼠标双击缺药药品编号(此时药品编号为红色),出现下图对话框,根据下图提示填写相应信息后保存。
关上药柜,包药机自动继续工作。
更改批号输入加药量更改效期4.2.2.4 包药机里没有的药品品种可以通过备用药盘加药,如在包药过程中,文件编号颁发部门药剂科SADP型包药机药盒设置流程总页数执行日期4起草人科主任审核起草日期审核日期医务部批准主管院长批准批准日期批准日期1、目的:引进新药,或药品数据变更时,建立包药机药盒设置的标准操作程序。
2、适用范围:*****医疗中心(集团)药剂科。
3、责任:药剂科住院药房包药机操作人员须按规定正确设置药盒,确保包药机正常运行。
4、内容:4.1打开包药机软件,在软件页面空白处鼠标右键单击,弹出下图窗口。
单击药盒2.单击“药盒”按钮,输入密码123456登录,显示如下界面,进入药盒设置。
操作时,务必仔细核对实际的药品信息与药品清单里的药品信息及药盒信息(包括药品名称、产地、药品规格)的一致性。
图1所示:右上侧为药房药品清单查询区域。
点击“取消”按钮,可退出药盒设置界面;首字母查询框可查询药房药品信息,相应信息显示在左上测的药房药品清单内,选中此清单内需设置药盒的药品后,单击“添加”按钮,被添加药品信息将会添加至下方的药柜药品清单内(新添加药品信息显示在最后一行),点击选中新添加药品后进入编辑区,设置“最大数量”、“药盒状态”、“药盒标志“及“药盒号”,编辑完成后点击“保存”按钮。
退出药盒设置窗口,关闭软件重新登录以确认所设置信息的正确性。
病区药房全自动包药机使用操作规程一、目的建立病区药房全自动包药机使用的操作规程。
二、范围病区药房全体人员。
三、责任者病区药房负责人。
四、程序〔一〕开、关机流程1.开机步骤①翻开UPS 〔按住“ON〞键2 秒至“功能键〞指示灯亮后松开〕;②启动电脑;③挨次翻开包药机“系统空开〞药盒空开〞;④启动包药软件。
2.关机步骤①退出包药软件;②挨次关闭包药机“药盒空开“系统空开〞;③关闭电脑“软关机〞;④关闭UPS 〔按住“OFF〞键2 秒至“功能键〞指示灯亮变成红色后松开〕〔二〕全自动包药机操作标准1.包药前期预备工作〔1〕药品拆包操作规程1〕进入药品分装间必需穿戴好清洁工作衣帽、罩和一次性手套。
2〕去除药品外包装,药板按秩序摆放。
3〕将接药筐、剥好后的药板接收筐摆放至指定位置。
4〕调整剥药档片至适当位置,预备剥药。
5〕依据调整好的药板挨次,将药板放于剥药台上,向前推动进行剥药,如所剥同一药品数量较多,接药筐或药板接收筐装满后,药品分次倒入已经写好批号、效期、数量的封塑料袋〔注:随时坚持密封以防受潮〕中,拆包完毕后再放入备用乐扣药盒中;剥后的药板应逐筐检查有无药品残留,确认无误方可倒入垃圾桶。
6〕每完成一个品种拆包,应准时对接药筐、板接收筐、乐扣盒、剥药机和操作台进展清洁〔用医用乙醇润湿的纱布对指定清洁部件进行擦拭,去除残留药粉〕。
①严禁在药品拆包区域留有与下批拆包药品无关的物品;②在同一操作台上不得同时进展颜色、大小、性状相同或相像的非同一药品拆包。
7〕盘点拆包药品数量后,装入密封的塑料袋中并标注药品数量、批号及效期,并按规定填写《病区药房剥药清场登记表》。
8〕全部药品拆包完成后,清洁拆包操作台及相关设备、设施和物品,并对药品分装间进展消毒,填写《病区药房药品分装间消毒登记表》。
〔2〕加药操作规程1〕乐扣盒加药操作规程:①拆包好的药品应经筛子滤去药粉及药屑,剔除破损药粒;②乐扣盒每次添加完药品后,应准时盖严扣盖; ③避光乐扣药盒应定期检查避光铝箔纸有无破损,如有,应准时撤换,确保必需避光药品的质量。
我院住院药房全自动分包机拆零药品安全管理摘要:随着现代药学服务的发展,医院药房自动化设备的利用率越来越高,其作用也显著提高。
全自动药品分包机能显著提高药品摆药效率,减少污染,降低差错率,操作简单,易于维护,大幅节省了医院人员成本,优势明显。
关键词:住院药房;自动分包机;拆零药品住院药房负责为住院患者调配、核对和发放口服药物。
目前,住院患者的口服药物是单剂量发放,传统摆药调剂过程占用大量人力,难以适应现代药学服务。
近年来,越来越多的医院引进并投入使用了全自动药品分包机。
一、流程管理1、药品拆零。
足够的拆零药片存储能避免药品分包中因库存不足而中途停包等情况,并避免增加大量不必要的加药时间。
在住院药房的日常药物管理中,有一些药片性质特殊,不适合长期暴露在拆零环境中,包括一些以挥发油为有效成分的胶囊剂和一些易受潮分解药物。
此外,大量拆零药品不利于药品流通,易造成积压滞销,影响拆零药片质量安全,给药品有效期管理带来压力。
因此,药品拆零需遵循以下原则:①普通药物。
每天拉取近三日分包机药品消耗清单,比较药品分包机库存,若库存少于两日量,则用三日量药品进行拆零补充;②易潮解药物。
管理模式与普通药品相同,但不拆零,仅取对应量药物拆除外包装后储存在密封乐扣盒中,在消耗完分包机中已拆零药片库存后,在当天进行拆零补充。
使用完毕后,将药盒中药片倒入已消毒的乐扣盒内,将防潮剂放入药品原包装内,密封存放在分包机房的储药柜内;③麻醉药品和含有挥发性成分胶囊,不拆零分包。
2、拆零药品上架。
分包机对拆零药品上架准确性要求高,若发生药盒错落位号现象,则机器会出现掉错药品情况,这将严重影响患者用药安全。
同时,在人工拆零中,存在漏拆和混放等人为误差。
为防止差错的产生,当前我院住院药房在药品拆零相关核对环节采用双人核对模式。
在补充分包机拆零药品时,药师打印库存消耗报表,比较分包机的当前消耗量和库存量,并确定当天拆零药品目录。
由一名药师拿取当天需拆零的所有药品,另一名药师核对所拿取药品,两人同时签名。
自动给药机操作规程第一章总则第一条根据药物使用的安全性要求,为了确保患者的用药质量和用药安全,规范自动给药机的操作流程。
本规程适用于所有使用自动给药机的医疗机构和医疗设备。
第二条自动给药机是一种自动准确给药的设备,操作人员必须熟悉设备的使用方法和操作规程。
第三条自动给药机的操作人员必须经过专业培训并取得相关资质证书。
第四条自动给药机的操作必须与患者的医嘱一致,并确保每一次给药的准确性和安全性。
第五条自动给药机的使用过程中应注意个人卫生,每次操作前必须洗手并佩戴手套。
第六条自动给药机操作过程中如发现异常情况,应立即停止操作,并及时向上级报告。
第二章操作流程第一节开机准备第七条操作人员应检查自动给药机的设备和药物储存是否正常,确保设备和药物都处于良好的工作状态。
第八条操作人员应核对药物的名称、规格、有效期等信息,确保药物的质量和有效性。
第九条操作人员应按照规定的程序对自动给药机进行开机操作,并等待设备初始化完成。
第二节患者信息录入第十条操作人员应核对患者的个人信息,包括姓名、年龄、性别、住院号等,并录入自动给药机系统中。
第十一条操作人员应核对患者的医嘱信息,包括药物名称、剂量、给药时间等,并录入自动给药机系统中。
第十二条操作人员应根据医嘱信息设置自动给药机的参数,包括给药速度、给药间隔等,并确保参数的设定符合医嘱要求。
第十三条操作人员在录入患者信息时应保持机密性,不得泄露患者的个人信息。
第三节给药操作第十四条操作人员应按照自动给药机的指示,准备好所需的药物和给药工具。
第十五条操作人员应按照自动给药机的指示,将药物正确放入给药仓中,并关闭仓门。
第十六条操作人员应确认自动给药机显示的药物和剂量与医嘱一致,且无误后,按确认键开始给药操作。
第十七条操作人员应监督自动给药机的工作过程,确保药物的正确给予。
第十八条操作人员应随时观察患者的情况,并及时处理发生的异常情况。
第四节操作记录与清洁第十九条操作人员应及时记录自动给药机的工作情况,包括药物名称、剂量、给药时间等。
自动给药机操作规程简介自动给药机是一种常用的医疗设备,用于在医院内为患者提供医疗用药服务。
为了确保自动给药机的正常运行和患者的安全,需要制定详细的操作规程。
操作步骤1. 设备准备1.1 打开自动给药机电源,等待设备自检完成。
1.2 确认自动给药机的储药仓已经补货,并且药品定位准确。
1.3 确认药品信息无误,并检查是否过期。
2. 病人信息录入2.1 根据病人信息确认开始治疗前的体征和药物剂量。
2.2 在自动给药机中输入病人的基本信息,如姓名、病历号、年龄、病情等。
2.3 为病人开具处方并录入系统,包括药品信息、用量及用法,确认处方是否与病人实际情况和医嘱一致。
3. 药品选择3.1 根据处方选择相应的药品。
3.2 检查药品名称、规格和剂量等是否与处方一致。
3.3 将药品放入自动给药机中指定的储存位置,确保定位正确。
4. 设备设置4.1 按照处方的要求,在自动给药机中设置药品类型、剂量和给药时间等。
4.2 选择给药模式。
4.3 检查并设置报警参数,确保在给药过程中能及时发现异常情况。
5. 给药操作5.1 确认给药设备已经设置完成。
5.2 按下开始键,开始给药操作。
5.3 观察自动给药机的运行状态,确保药品正常给药。
5.4 若出现异常情况,立即停止治疗并进行相应处理。
6. 维护与保养6.1 每日结束后,清理治疗室和自动给药机。
6.2 每周对自动给药机进行一次标准检验和维护保养,检查仓库药品的储存状态、药品保质期、出药速度等情况。
6.3 每年对自动给药机进行一次全面检查,包括外观、功能以及配件的状态。
注意事项1.严格遵照医嘱规定用药,确保治疗效果和用药安全。
2.患者临床表现的变化需要及时观察和记录,发现异常情况应及时处理。
3.操作自动给药机时,要严格按照规程执行操作,避免操作失误。
4.定期对自动给药机进行维护保养和标准检验,确保设备正常运行和安全使用。
5.在操作过程中,若发现设备故障或异常情况,应立即停止治疗并寻求专业人员的帮助。
第1篇一、目的为确保全自动胶囊机正常、安全、高效地运行,保障产品质量,特制定本操作规程。
二、适用范围本规程适用于全自动胶囊机的操作、维护和保养。
三、职责1. 操作工:负责全自动胶囊机的操作,严格按照本规程进行操作,确保设备正常运行。
2. 维护检修人员:负责全自动胶囊机的维护和检修,确保设备安全、稳定运行。
四、操作规程1. 开机前准备(1)检查设备外观是否完好,各部件连接是否牢固。
(2)检查电源、气源是否正常,确认设备处于待机状态。
(3)检查胶囊、填充物等物料是否充足,确保生产需求。
2. 启动设备(1)按下设备启动按钮,启动设备。
(2)待设备运行稳定后,调整速度至所需生产速度。
3. 操作步骤(1)将胶囊放入进料斗,确保胶囊顺畅进入胶囊输送带。
(2)调整胶囊输送带的倾斜角度,使胶囊顺利进入胶囊填充机。
(3)打开填充物输送带,调整填充物输送带的倾斜角度,使填充物顺利进入胶囊。
(4)观察设备运行情况,确保胶囊填充、合囊等工序正常进行。
(5)定期检查胶囊、填充物等物料是否充足,及时补充。
4. 停机操作(1)调整速度至最低,确保设备平稳运行。
(2)关闭填充物输送带,防止填充物泄漏。
(3)关闭胶囊输送带,确保胶囊顺畅退出。
(4)关闭设备电源,确保设备安全。
五、维护和保养1. 定期检查设备各部件,如输送带、电机、轴承等,发现异常及时处理。
2. 每周对设备进行清洁,保持设备整洁。
3. 每月检查设备润滑情况,及时添加或更换润滑油。
4. 每季度对设备进行一次全面检修,确保设备正常运行。
六、注意事项1. 操作过程中,严禁触摸设备运转部位,以免发生安全事故。
2. 操作过程中,严禁操作人员闲谈、打闹、玩手机等,确保生产安全。
3. 设备运行过程中,严禁加水、油等液体,以免发生火灾、爆炸等事故。
4. 操作人员应熟悉设备操作规程,确保设备正常运行。
本规程自发布之日起实施,如有未尽事宜,可根据实际情况予以补充和修改。
第2篇一、操作前的准备工作1. 检查设备是否完好,各部件是否正常,电源是否接通。
药片药排枕式包装机全自动安全操作及保养规程药片药排枕式包装机是一种常见的自动化包装机械设备,用于对药品进行包装和封闭。
为了确保操作人员的安全和设备的长期使用寿命,需要了解药片药排枕式包装机的安全操作规程和保养规程。
安全操作规程1. 操作前准备在操作药片药排枕式包装机前,需要进行以下准备工作:•检查设备的电源线和接地线是否安装正确,电源插头是否牢固。
•检查设备的保护罩是否完好,切勿在没有保护罩或未做好安全措施的情况下操作设备。
•检查设备所需的材料和工具是否齐全,确保设备可以正常运行。
•检查设备是否处于良好的工作状态,包括清洁、整洁和潮湿度等。
2. 操作过程中在操作药片药排枕式包装机过程中,需要注意以下事项:•切勿将手或手指伸入设备内部,以免造成伤害。
•当设备出现异常或故障情况时,应当及时停止设备并进行维护或修理,切勿私自操作和修理设备。
•在操作设备过程中,应当检查是否存在动作不灵敏或运转不稳定的情况,如发现异常情况应及时联系维护人员进行排除。
•在操作设备过程中,应当注意设备周围的环境,并保持设备的清洁度和整洁度。
3. 操作结束后在操作药片药排枕式包装机结束后,需要进行以下操作:•关闭设备主电源开关,切断电源。
•清理和整理设备,将设备内部和外部的杂物和残留物全部清除干净。
•对设备进行必要的检查和维护工作,如更换零件、紧固螺丝等。
•将设备移动到指定的存放位置,并做好设备的封存和标识工作。
保养规程药片药排枕式包装机的保养工作非常重要,正确的保养措施可以延长设备的使用寿命并提高设备的效率。
以下是保养规程的注意事项:1. 设备清洁药片药排枕式包装机需要保持清洁,尤其是设备的内部部分,一般需要每天进行清洗和维护,保证设备的卫生和运转效率。
清洗时,应使用专用的清洁液和清洗剂,不得擅自选择其他物品清洗,以免对设备造成损坏。
2. 设备润滑机械设备需要进行润滑保养,以保持设备的正常工作状况,并减少摩擦和磨损。
对于药片药排枕式包装机,需要定期对设备的各个部位进行润滑,以保持设备的良好状态。
自动给药机操作规程范文第一章总则为确保自动给药机的安全、稳定、高效运行,适用于医院内的各个科室。
制定本操作规程。
第二章设备概述2.1 自动给药机是一种自动化药物分发设备,通过电子控制系统,将医生开具的药品信息录入系统中,根据患者的用药信息,准确快速地进行药品分发。
2.2 自动给药机主要包括以下部分:2.2.1 储药模块:用于存放各种药品,并根据药品分类进行整理和管理。
2.2.2 输液泵:用于自动控制输液速率,确保患者按照医嘱规定的速率输液。
2.2.3 药品识别系统:通过扫描药品包装上的条形码,自动识别药品种类和规格。
2.2.4 安全监测系统:包括温度、湿度、液位等监测设备,确保药品的安全性和稳定性。
第三章操作准备3.1 自动给药机的操作人员应经过培训并持证上岗,了解自动给药机的操作原理和相关安全知识。
3.2 操作人员应按照医生的医嘱和药品信息,正确录入患者的用药信息。
3.3 操作人员在进行药品分发前,应先核对药品的名称、规格、数量和有效期,确保无误。
3.4 操作人员在进行药品分发前,应检查输液泵的工作状态和输液管路的连接情况,确保输液的安全性。
第四章操作流程4.1 患者信息录入4.1.1 操作人员将患者的基本信息录入自动给药机的系统中。
4.1.2 操作人员根据医生的医嘱和药品信息,录入患者的用药信息,包括药品名称、剂量、用药时间等。
4.2 药品分发4.2.1 操作人员使用自动给药机系统,检索患者的用药信息。
4.2.2 自动给药机根据药品信息,开启对应的药品储存格,并自动分发出所需的药品。
4.2.3 操作人员在分发药品时,应注意药品的正确用法和剂量,避免错误。
4.3 输液设置4.3.1 操作人员根据医生的医嘱,将正确的输液装置与输液泵连接起来。
4.3.2 操作人员设置输液泵的速率、时间和剂量,确保按照医嘱要求进行输液。
4.3.3 操作人员在设置输液参数时,应注意校准输液泵的准确性,并做好记录。
4.4 安全监测4.4.1 操作人员应定期检查自动给药机的安全监测系统,确保各项指标正常。
自动给药机操作规程第一章总则第一条为了保障患者安全用药,提高医疗服务质量,规范自动给药机的使用和操作,制定本操作规程。
第二条自动给药机的使用和操作应遵守国家有关法律法规、卫生部门的规定和本规程。
第三条自动给药机操作人员应经过专业培训,并持有相应的资格证书。
第四条自动给药机操作人员应具备责任心、沟通能力和协作精神,具备良好的职业道德和职业操守。
第五条自动给药机的使用和操作应按照临床医生的医嘱进行,确保患者用药的准确性和及时性。
第六条自动给药机操作人员在操作过程中应保持机器的清洁卫生,注意个人卫生,避免交叉感染的发生。
第七条自动给药机操作人员在操作过程中应保持机器的正常运行,如发现异常情况应及时报告维护人员进行维修处理。
第八条自动给药机操作人员应按照相关规定定期进行维护保养,确保设备的正常运行。
第二章自动给药机的使用和操作第九条自动给药机操作人员应准确检查患者的个人信息和医嘱信息,确保药品的准确配药。
第十条自动给药机操作人员应按照规定的程序进行配药操作,严禁擅自修改配药程序。
第十一条自动给药机操作人员应仔细核对药品的名称、剂量、有效期等信息,确保用药的安全性和有效性。
第十二条自动给药机操作人员应严格按照给药规范进行给药操作,严禁超量或漏量给药。
第十三条自动给药机操作人员在给药过程中应注意观察患者的反应和药物的不良反应,及时报告医生进行调整。
第十四条自动给药机操作人员应及时处理药品的剩余和过期等问题,确保药品的储存和使用安全。
第十五条自动给药机操作人员应定时清洁和消毒自动给药机,确保设备的清洁卫生。
第十六条自动给药机操作人员在操作过程中应做到保密,不得泄露患者的个人信息和药物隐私。
第十七条自动给药机操作人员在操作过程中应严格遵守药品管理制度,杜绝盗窃、浪费和滥用药物的行为。
第十八条自动给药机操作人员在操作过程中应积极参加培训和学习,提高自身的专业知识和技能。
第三章自动给药机的维护和保养第十九条自动给药机操作人员应按照维护保养计划进行定期检查和维护,确保设备的正常运行。
自动给药机操作规程自动给药机操作规程一、前言自动给药机是一种新型的药物分配设备,可实现对药品的自动化配药、分装、转运、清洗等功能。
为确保使用安全,保障药品的质量及病人的健康,特制定此操作规程。
二、用药指南1.操作流程开机→选择药品→选择剂量→点击确认→开始输药→输药结束→清洗2.注意事项①在操作自动给药机之前,应了解药品使用说明书,并确认药品的名称、标签、用法以确保选择正确的药品并遵循正确的使用说明。
②在选择药品的过程中,请一定要仔细查阅药品的名称和剂量,避免疏漏导致用药错误。
③选择药品时,请根据患者的需要选择相应的剂量。
如有不确定,请咨询医生或药师,以保证药物的安全和有效性。
④操作自动给药机前,请仔细读取操作说明书,确保熟悉操作程序并清楚操作方法,以避免误操作。
⑤在输药过程中,应当始终保持注意力集中,密切观察药液的流动情况。
如出现异常情况,应立即停止输药,处理故障,并向相关工作人员报告。
⑥输药时应尽量保持安静,避免干扰,以确保药品的准确输送。
3.操作步骤1. 开机插上插头,按下电源开关,待自动给药机提示已开机后,开始选择药品。
2. 选择药品从药品列表中选择需要注射的药品,点击调节器选择合适的剂量。
3. 确认无误确认选择药品和剂量无误后,点击“确认”按钮,等待机器自动执行。
4. 开始输药当机器按下后,药物开始自动提取药品并注射,直至完成。
5. 输药结束当输药结束后,在机器提示的时间内,将药品拿出,并向机器内部清洗平台放置药剂罐。
6. 清洗注射完成后,关闭自动给药机电源,将所有外部配件清洁干净,并执行定期消毒程序。
三、使用注意事项1. 药品存放自动给药机的药品存储区要求干燥、防潮、通风,确保机器内部的药品不受到外界因素的污染。
2. 操作程序严格执行使用程序并留意工作状态,发现异常立即暂停,查明问题。
3. 药品选择和剂量准确性严格遵循药品名称和剂量选择,确保药物的精准输送和用药安全。
4. 机器使用安全确保机器内部安全操作及机器能够正常运作。
自动给药机操作规程一、目的自动给药机操作规程的目的是为了确保在使用自动给药机时,操作人员能够准确、安全地进行药物给予,以保障患者的用药安全和治疗效果。
二、适用范围本操作规程适用于所有使用自动给药机进行药物给予的医疗机构和临床科室。
三、操作流程1. 预先准备:a. 确保自动给药机处于正常工作状态,并连接稳定的电源。
b. 查看并确认自动给药机上的药物存量是否足够,如不够需要及时补充。
c. 检查自动给药机是否有异常报警信息,如有需要及时处理。
2. 准备药物:a. 根据医嘱中的药物给予要求,准备所需的药物,并在药物瓶或注射器上正确贴上标签,包括药物名称、剂量、批号等信息。
b. 检查药物是否过期或变质,如有需要立即更换。
c. 将准备好的药物放置在操作区域内,以备后续使用。
3. 核对身份:a. 根据患者的身份信息和医嘱,进行身份核对,确保给予药物的患者与医嘱一致。
b. 通过询问患者姓名、身份证号码或其他身份信息,核对患者身份的准确性。
4. 设定参数:a. 按照医嘱中规定的药物剂量和给予方式,正确设置自动给药机的参数,包括药物名称、剂量、给药速度等。
b. 确保自动给药机参数的设定与医嘱相符,避免药物错误给予。
5. 开始给药:a. 按照操作要求,将准备好的药物放入自动给药机内,并正确连接输液管路。
b. 确保输液管路畅通无阻,并检查输液管路是否漏液、有气泡等异常情况。
c. 打开自动给药机的电源开关,并按照设定的参数启动给药程序。
6. 监测观察:a. 在药物给予过程中,操作人员应时刻监测自动给药机的工作状态,确保其正常运行。
b. 定期观察患者的生命体征,如血压、心率等,及时发现并处理任何异常情况。
c. 根据医嘱的要求,进行药物疗效的监测,确保患者正常接受治疗。
7. 完成给药:a. 当自动给药机完成给药程序后,关闭电源开关,并断开输液管路。
b. 核对药物的使用量与设定剂量是否一致,如有差异需要记录并上报相关部门。
c. 清洁自动给药机的仪器表面,并妥善存放,以备下次使用。
自动给药机操作规程第一章总则为规范自动给药机的操作,确保患者用药的安全和准确性,制定本操作规程。
第二章设备概述1. 自动给药机是一种用于医院、诊所等医疗机构的自动给药设备,用于按照医生开具的药物处方自动配药、包装和给药。
2. 自动给药机配备一套完整的药品库,能够包容多种类型的药品,并通过计算机控制药物配送的精确度和准确性。
3. 自动给药机采用了先进的感应技术和条码扫描技术,能够识别药品名称、规格和有效期等信息。
第三章操作规程1. 使用自动给药机之前,操作人员应接受相关的培训,熟悉自动给药机的使用方法和操作流程。
2. 在操作自动给药机之前,操作人员应仔细核对患者的信息,确认病人的姓名、病历号、年龄和性别等基本信息的准确性。
3. 操作人员应佩戴干净的工作服或白大褂,戴上帽子,保持手部清洁,并戴上一次性手套。
4. 在操作自动给药机之前,操作人员应将配药区域清洁干净,确保没有杂物、药物残留等。
5. 操作自动给药机时,应按照医生开具的药物处方输入相应的信息,包括药物名称、剂量、频率等。
6. 操作人员应仔细核对自动给药机配药结果,确保药物的准确性和完整性。
7. 操作人员应将配好的药品放入配药杯中,然后将药品杯放入包装机器中进行包装。
8. 包装好的药品应经过严格的质量检查,确保药品包装的完整性和清晰度。
9. 在给药之前,操作人员应再次核对患者的姓名、病历号等信息,并将药物递给患者,确保患者对药物的准确性。
10. 在操作自动给药机的过程中,如发现任何故障、异常或误操作情况,应立即停止操作,并向上级报告。
第四章安全措施1. 自动给药机操作人员应密切关注患者的用药情况,避免药物过量或重复使用。
2. 在操作自动给药机时,应保持机器和操作区域的干净和整洁。
3. 操作人员应定期检查自动给药机的工作状态和性能,及时发现问题并进行维修或更换零部件。
4. 自动给药机操作人员应定期参加培训和考核,保持操作技能和专业知识的更新和提高。
2024年自动给药机操作规程____年自动给药机操作规程第一章总则第一条为规范自动给药机的使用,确保医疗安全和药物准确性,制定本操作规程。
第二条本规程适用于所有医疗机构内使用的自动给药机。
第三条操作人员必须严格按照本规程进行操作,并接受相关培训和考核。
第四条自动给药机操作过程中,操作人员必须保持专注,严禁分心、聊天或其他非相关行为。
第五条在使用自动给药机之前,操作人员必须进行设备检查,确保设备完好无损;同时查看设备上显示的维护信息,确保设备处于正常工作状态。
第六条自动给药机使用过程中发现设备故障或异常情况,应立即停止使用,并上报相关管理人员。
第二章操作流程第七条操作人员在给药前必须先进行必要的准备工作,包括洗手、戴好个人防护装备等。
第八条操作人员应根据医嘱准确选择药物,并按照医嘱中规定的给药剂量和给药时间输入至自动给药机。
第九条操作人员必须先核对医嘱与机器上显示的信息是否一致,确认无误后方可进行下一步操作。
第十条操作人员应将药物正确放入自动给药机中,并确保药物储存条件符合要求。
第十一条在程序选择界面上选择正确的给药程序,并根据机器提示进行设定参数。
第十二条完成设定后,操作人员需要对设定进行核对,确保参数设置正确。
第十三条操作人员在给药过程中必须时刻监控自动给药机的运行情况,及时发现并处理异常情况。
第十四条在给药结束后,操作人员必须核对给药数据与医嘱是否一致,并记录相关数据。
第十五条操作人员将药物后处理清理干净,保持设备整洁。
第三章安全要求第十六条操作人员应使用无菌操作,避免交叉感染。
如操作人员手法不熟练,请及时进行培训。
第十七条在给药过程中,操作人员应迅速处理异常情况,如设备故障、药物过敏反应等。
第十八条操作人员应定期检查自动给药机并进行维护工作,确保设备的正常运行。
第十九条严禁将自动给药机用于非医疗用途。
第四章管理要求第二十条医疗机构应定期对自动给药机的操作人员进行培训和考核,确保其能够熟练操作设备。
药品自动包装岗位操作规程药品自动包装岗位操作规程一、工作岗位描述药品自动包装岗位是指负责药品自动包装机器的操作及相关工作的员工。
其主要职责是操作自动包装设备对药品进行包装,确保产品包装质量和生产效率。
二、工作要求1.具备相关机械操作和维修知识,能灵活操作各种自动包装设备。
2.具备良好的观察力和细致耐心,能及时发现并解决设备故障。
3.熟悉相关行业法规和掌握相关药品包装流程和操作规范。
4.保持工作区域的整洁和卫生,确保产品的卫生安全。
三、操作规程1.按照工作计划,按时参与包装生产工作。
2.开机前,检查设备是否处于正常状态,包括电源、气源、故障指示灯等。
3.清理工作区域,包括清理设备表面和周边区域,确保无杂物和灰尘。
4.核对包装材料和药品批次信息,避免出现包装错误。
5.按照规定的工艺和包装要求,调整自动包装设备的参数,确保产品包装质量。
6.操作设备进行药品包装,注意观察包装速度和质量,发现异常及时停机检查。
7.定期对设备进行维护保养,清洗和更换易损件,确保设备的正常运行。
8.发现设备故障或异常情况,及时向上级主管汇报,并配合维修人员进行维修。
9.严格遵守操作规范和安全操作规程,保障人员的安全和产品的质量。
10.加强自身技能学习,不断提高工作效率和操作水平。
四、安全注意事项1.遵守药品生产和包装相关法规,严禁擅自更改包装材料和操作流程。
2.操作设备时要戴好防护手套和口罩,注意个人卫生和防护。
3.工作时不得穿戴松散的衣物和珠宝,以免发生意外事故。
4.严禁吸烟和随地吐痰,保持工作环境的整洁和卫生。
5.严禁私自调整设备参数,如需调整应经过上级主管的批准。
6.操作设备时要集中注意力,避免分心和与他人交谈。
五、工作纪律1.遵守上下班时间,按时到岗到位,严禁迟到和早退。
2.严禁利用工作时间进行个人事务和与他人交流。
3.遵守公司的相关规章制度,严禁私自带走或泄露公司的机密资料。
4.配合上级领导的工作安排,完成工作任务,并按要求保质保量完成生产任务。
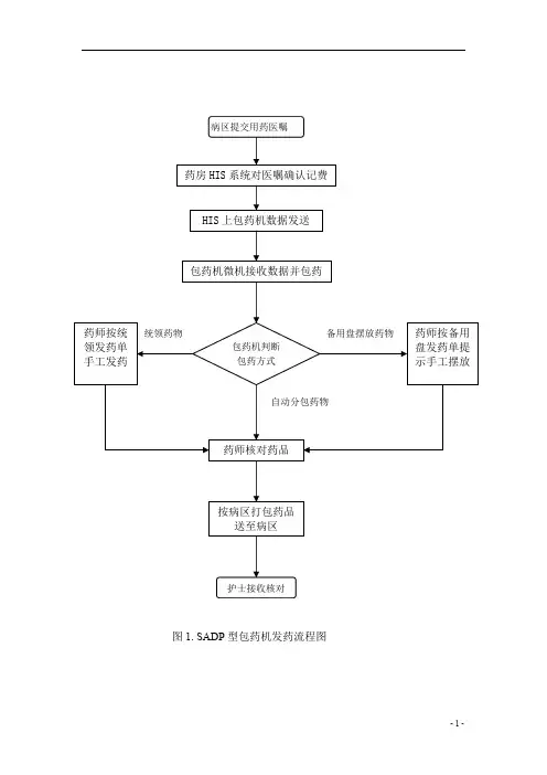
1、目的:建立包药机标准操作程序,保证仪器正常运行,保障日常发药安全。
2、适用范围:*****医疗中心(集团)药剂科。
3、责任:药剂科住院药房包药机操作人员须按规定正确操作,及时完成病区口服药品的调剂,确保临床用药。
4、内容:4.1 全自动包药机开启4.1.1 启动UPS:打开电源,按住“开关键”至“功能键”指示灯闪烁。
4.1.2 启动包药机微机。
4.1.3 顺序打开包药机“系统总电源”、“层控板电源”、“负载电源”。
4.1.4 启动包药软件:点击桌面Textpacket红色图标,启动包药软件。
4.2 包药机包药操作步骤4.2.1医嘱发送4.2.1.1 进入HIS 系统,点击包药机数据发送4.2.1.2 已记费且未发送包药数据的病区科室字体显示红色,勾选所需发送的医嘱,点击“发送”按钮,药品医嘱左边勾选会自动跳至右边,表示发送成功,数据传至包药机,等待分包,如下图所示。
4.2.1.3 对于病区临时急用口服药品,需手工发药的,工作人员应先找出并选择急用药品医嘱,发送后,再至包药机软件上,删除医嘱,以免重复发药。
(具体删除医嘱方法参考“5. 包药机发药信息删除流程”)4.2.2 包药机软件操作4.2.2.1 医嘱传至包药机微机后,点击软件页面的“包药”按钮,如图示:然后软件将出现下图所示的对话框,点击“确认”按钮,包药机开始包药。
4.2.2.2 包药机进入包药状态,软件页面的右上角则显示正在包装的药品及病人信息,如:科室包药总量、包次、病人姓名、用药内容等。
图示如下:4.2.2.3包药过程中出现缺药情况时,软件将出现如下图所示的提示框,根据提示,操作人员把相应缺药药品加入药盒,加药时必须双人核对加药后务必输入加药量、批号及有效期等信息(同一批号药品无需重复输入批号、有效期),信息输入方法如下:在软件页面中鼠标双击缺药药品编号(此时药品编号为红色),出现下图对话框,根据下图提示填写相应信息后保存。
关上药柜,包药机自动继续工作。
更改批号输入加药量更改效期4.2.2.4 包药机里没有的药品品种可以通过备用药盘加药,如在包药过程中,需将药品加入备用盘时,软件将出现“备用盘弹出”对话框,点击确定,备用盘弹出,按照“备用药盘摆药清单”,双人核对加药,加好再核对后,点击“备用盘弹入”按钮,即完成备用盘的药品添加。
4.2.3 分包好的口服药按病人服药时间排序(具体参见附录3. SADP型包药机包装事项说明),分包完成后,药师按规定核对打包,工人送药病区。
4.3 全自动包药机关闭4.3.1. 关闭包药软件4.3.2 顺序关闭包药机“负载电源”、“层控板电源”“系统总电源”。
4.3.3 关闭包药机微机。
4.3.4 关闭USP:按住“开关键”至“功能键”指示灯变红色,后关闭电源。
1、目的:引进新药,或药品数据变更时,建立包药机药盒设置的标准操作程序。
2、适用范围:*****医疗中心(集团)药剂科。
3、责任:药剂科住院药房包药机操作人员须按规定正确设置药盒,确保包药机正常运行。
4、内容:4.1打开包药机软件,在软件页面空白处鼠标右键单击,弹出下图窗口。
单击药盒2.单击“药盒”按钮,输入密码123456登录,显示如下界面,进入药盒设置。
操作时,务必仔细核对实际的药品信息与药品清单里的药品信息及药盒信息(包括药品名称、产地、药品规格)的一致性。
图1所示:右上侧为药房药品清单查询区域。
点击“取消”按钮,可退出药盒设置界面;首字母查询框可查询药房药品信息,相应信息显示在左上测的药房药品清单内,选中此清单内需设置药盒的药品后,单击“添加”按钮,被添加药品信息将会添加至下方的药柜药品清单内(新添加药品信息显示在最后一行),点击选中新添加药品后进入编辑区,设置“最大数量”、“药盒状态”、“药盒标志“及“药盒号”,编辑完成后点击“保存”按钮。
退出药盒设置窗口,关闭软件重新登录以确认所设置信息的正确性。
自动包装药品药盒状态选择“自动”图1最大数量:胶囊类和形状较大的药品,如:丙戊酸钠片选择6或8;其它药品可根据形状选择10或16;用药量较大的药品如:甲泼尼龙片可适当选择24。
若多个药品包在同一包,则最大数量取这几个药品的平均数,超过最大数量的平均数时,包药机会自动分包到下一包。
药盒状态:包药机自动包装的药品药盒状态应选择“自动”。
需统领的药品,药盒状态应选择“手动”,如下图2所示。
万能药盒药品根据包药的最大数量选择药盒状态。
整片应选自动,半片选择万能药盒0.5 ,四分之一选择万能药盒0.25。
药盒号:药盒号的添加务必双人核对,以确保添加的药盒号与药柜对应药盒号一致。
药盒标志:一般选择普通,只有单独对一种药品封包时选择特殊。
注意:所设置药盒药品信息,名称,产地,规格要与实际药品一致。
注:药盒状态,药盒号务必正确填写,不可空位不填,填好后点击保存,退出后再次查询,确认无误后关闭。
额定药量暂不需填写。
报警量指的是药品低储数量报警。
统领药品药盒状态选择“手动”图21、目的:建立口服药品拆零及包药机药品添加标准操作程序,有效避免药品添加时带来的污染和错误。
2、适用范围:*****医疗中心(集团)药剂科。
3、责任:包药机所用药品的拆零及添加是安全包药的重要环节,所有工作人员必须一丝不苟,严格遵守。
4、内容:4.1加药前期准备工作—-剥药4.1.1剥药前工作人员需做好环境及个人卫生工作,清洁操作台、剥药机、接药框等相关会接触药品的容器,并检查有无药品遗漏在工作台面及剥药机上。
4.1.2 剥药操作时,药师需带手套,并禁止两个或两个以上药品同时剥药,以防混淆出错,且务必仔细核对所剥药品的药品名称、规格、产地、数量等信息。
4.1.3 一种药品剥好后,需对接药框、剥药机、操作台进行清洁,以免遗漏药品混入下一种剥药药品中。
清洁时使用纱布蘸取医用酒精对指定部件擦拭。
4.1.4 操作完成后,工作人员须清洁包药机各部件及操作台。
4.1.5 剥好的药品,经筛子滤去药粉及药屑,剔除破损药粒,装入药房所备药袋,在药袋上注明药品名称、数量、有效期、拆包日期等。
加药时务必根据拆包日期,做到先拆先用,近效期先用。
4.1.6 剥好药品装入乐扣盒前,需双人核对,无误后再将药袋装入相应乐扣盒,盖严盒盖,按序号放入规定位置备用。
4.1.7 拆剥药品时不慎造成损耗,工作人员需登记在册,见附表4.4.2 加入包药机药盒步骤4.2.1 打开包药机软件,双击软件页面的“集中加药”按钮,弹出集中加药窗口,如下图窗口,改库存下限、加药数均改为3天,其他项默认;改为3天改为3天4.2.2 点击“查询多天”按钮,显示缺药信息,如下图示。
在缺药信息栏,点击“药盒”旁的三角按钮,可升序或降序排列药盒编号,以方便顺序加药。
点击此按钮,药盒编号升序排列。
4.2.3 在缺药信息窗口,顺序选择需添加的药品,从乐扣盒内取出药品,依次加药,如下图示。
加药时,禁止两个或两个以上药盒同时加药,以防混淆出错,且务必双人核对所加药品的药品名称、规格、产地、药盒编号等信息。
加药后务必根据提示输入加药量、批号、有效期(同一批号无需重复输入批号、有效期)等。
每种药品加药完成后,点击“确认”按钮以保存相关信息。
更改批号输入加药量更改效期4.2.4 显示缺药信息的药品加药完成后,在集中加药页面勾选“显示万能药盒”项,以显示万能药盒缺药情况,万能药盒药品多为用量较少或非整片用药(非整片药,易受环境影响),加药量请勿过多,以防药品过期。
4.3 加药特别提醒:4.3.1 加药操作需务必做到双人核对加药,禁止单人进行。
4.3.2 加药时,请依次加药,请勿两个或两个以上药盒同时加药。
4.3.3 贵重药品、特殊环境保存药品(如易潮解、冷库保存)请根据当天用药情况适量加药,请勿一次加药过多。
4.3.4 万能药盒药品请勿加药过多,特别是非整片药品。
1、目的:建立包药机发药数据删除标准操作程序,给临床科室提供急用药手工发药通道,并保证包药机不重复包药。
2、适用范围:*****医疗中心(集团)药剂科。
3、责任:住院药房包药机操作人员须按规定正确删除发药数据。
4、内容:4.1 单个病人包药信息删除4.1.1 打开包药机软件,在软件页面空白处鼠标右键单击,弹出下图窗口。
4.1.2 单击“删除医嘱”按钮,进入删除医嘱页面,如下图。
选择需删除包药信息患者所在的科室,查找相应患者,并核对其用药时间,确认正确后,勾选此患者,删除医嘱页面的下半联则显示此患者的该用药时间下的用药信息,请仔细核对确认后,点击 “删除医嘱”按钮,操作完成,点击 “关闭”按钮退出。
4.2 单个科室包药信息删除4.2.1此步操作同《单个病人包药信息删除》的第一步。
4.2.2单击“删除医嘱”按钮,进入删除医嘱页面,如下图。
选择需删除包药信息的科室,勾选“处理该病区所有医嘱”项,请仔细核对确认后,点击 “删除医嘱”按钮,操作完成,点击 “关闭”按钮退出。
4.3 科室剩余包药信息删除选择科室勾选此项选择科室勾选此项4.3.1 若某个科室包药过程中,机器出现故障,不能继续包药,若需删除剩余未包数据,则点击“包药暂停”→包药机软件红太阳图标→右键点击属性→查找目标→点击右下角“Temfile”→删除。
4.3.2 若要彻底删除包药数据,或删除全部科室数据,则如下操作:双击打开桌面数据库语句→SQL数据库应用语句→复制所要删除的病区语句→回桌面→双击“企业管理器”软件→点击Sqldatabase→点击表→SuffeverTableMsg→工具栏→SQL查询分析器→黏贴刚才复制的语句→点击上方“三角形PlayJ键”→点击是或否→完成操作。
附录1 包药机服药频次顺序规定附录2 SADP型包药机使用注意事项1.包药机工作环境的温度和空气湿度应分别控制在18-30℃和45-75%之间,当环境湿度大于60%时,请适当采取除湿措施。
2.包药机工作房间需保持一定洁净度,日常工作人员需及时搞好环境卫生,且工作间房门需随时关闭。
3.包药机开启后需预热温度至115℃左右,才能进行包药。
4.包药软件同时多次打开时将无法运行,请每次只打开一次。
鼠标操作请勿重复多次点击,以免死机。
5.请勿在包药机附近放置磁性较大的物体,以免干扰包药机的正常工作。
6.做好包药机的日常维护,禁止硬物撞击、划擦包药机机体;禁止笔尖等锐器划触包药机触摸屏;如包药机电源线或插头损坏时,请及时更换,严禁继续使用。
7.包药机正常工作时,请勿启动急停按钮,如遇特殊情况,可考虑使用;请勿随意碰触包药机内贴有危险标示的部件;禁止把手放在压封口,以免烫伤。
8.药柜需轻推轻拉,若打开药柜错误时,请延时3秒钟将药柜推回,再拉开正确的药柜,以免程序错误。
药柜每次只能拉出一个,在拉开下一个药柜前,请将已打开药柜推入。
备用药盘禁止手动推拉。