信息收集与反馈流程问题分析
- 格式:doc
- 大小:36.00 KB
- 文档页数:8
用户信息反馈处理制度用户信息反馈处理制度是指一个组织或企业为了更好地处理用户反馈而制定的一套规则和流程。
这个制度的目的是确保用户的反馈能及时、有效地得到处理,为用户提供更好的服务和体验。
以下是一份关于用户信息反馈处理制度的详细说明,包括制度的目标、步骤、流程和责任分工。
一、目标二、步骤2.分类反馈:接收到用户反馈后,要按照不同的类型和内容进行分类。
例如,可以将反馈分为产品问题、服务投诉、建议和意见等几个大类,再细分为具体的子类。
3.分析反馈:对不同类别的反馈进行定期分析,找出共性问题和瓶颈,并及时向相关部门提供分析报告。
这可以帮助组织或企业改进产品和服务,解决用户问题,提高用户满意度。
5.反馈跟进:对于用户的反馈,要进行跟进和回访,确保问题得到解决,并及时收集用户的满意度反馈和评价。
三、流程1.收集反馈:用户通过不同的渠道向组织或企业发送反馈。
2.分类反馈:组织或企业将反馈按照不同类型和内容进行分类。
3.分析反馈:定期对分类后的反馈进行分析,找出共性问题和改进方向。
4.处理反馈:根据分类和分析结果,制定相应的处理流程和时限。
5.反馈跟进:对于已处理的反馈,进行跟进和回访,确保问题得到解决。
6.用户满意度评估:定期进行用户满意度调查和评估,改善处理反馈的流程和质量。
四、责任分工为了保证用户信息反馈处理制度的有效运行,需要明确各个岗位的责任和职责分工。
1.用户服务部门:负责收集用户反馈,按照分类进行初步分析,并及时回复用户。
2.专业团队:针对不同类型的反馈,由相应的专业团队负责处理和解决问题。
3.监督部门:负责监督和检查反馈处理流程的执行情况,确保按照规定的时限和要求完成反馈处理。
4.领导层:提供资源和支持,促进用户信息反馈处理制度的改进和优化。
通过以上的用户信息反馈处理制度,组织或企业能够更好地处理用户的反馈,提高用户满意度和体验,同时也能够及时改进产品和服务,增强竞争力。
因此,建立一个完善的用户信息反馈处理制度是非常重要的。
公司管理制度的信息流程和反馈机制一、引言在现代企业中,公司管理制度的信息流程和反馈机制扮演着至关重要的角色。
有效的信息流程和反馈机制可以确保企业内部信息的快速传递和反馈,从而提高决策的准确性和执行的效率。
本文将从信息收集、传递、反馈和改进几个方面,探讨现代企业中公司管理制度的信息流程和反馈机制的重要性以及如何建立有效的机制。
二、信息收集信息收集是公司管理制度的第一步。
通过收集各种信息,企业能够更好地了解外部环境和内部运营情况,为决策提供可靠的基础。
信息收集可以通过多种途径进行,如调查问卷、会议记录以及市场研究等。
此外,企业还可以通过与客户、供应商和员工的沟通来获取重要的反馈信息。
三、信息传递信息传递是公司管理制度中的关键环节。
良好的信息传递可以确保信息的准确性和及时性,避免信息传递中的偏差和误解。
在现代企业中,电子邮件、企业内部社交平台以及会议等都是常用的信息传递方式。
此外,企业还可以借助信息技术手段,如企业内部新闻、员工手册等,进行信息传递和共享。
四、信息反馈信息反馈是公司管理制度中的关键环节之一。
通过信息反馈,企业可以了解决策执行的效果和问题,并及时采取措施进行调整和改进。
信息反馈可以通过多种方式进行,如员工反馈调查、客户满意度调查以及销售数据分析等。
此外,企业还可以设置专门的反馈渠道,如内部投诉平台和建议箱等,使员工和外部合作伙伴能够方便地反馈意见和建议。
五、信息评估信息评估是公司管理制度中的重要环节。
通过对收集到的信息进行评估和分析,企业可以快速发现问题和挖掘潜力,为决策提供更有价值的信息支持。
信息评估可以通过定期开展会议、组织员工反馈研讨和数据分析等方式进行。
此外,新技术手段的应用,如数据挖掘和大数据分析等,也可以提高信息评估的效率和准确性。
六、信息改进信息改进是公司管理制度中的核心环节。
通过针对评估结果提出的问题和建议,企业可以及时调整和改进管理制度,提高运营效率和员工满意度。
信息改进需要企业领导层的支持和参与,以确保改进方案的有效实施。
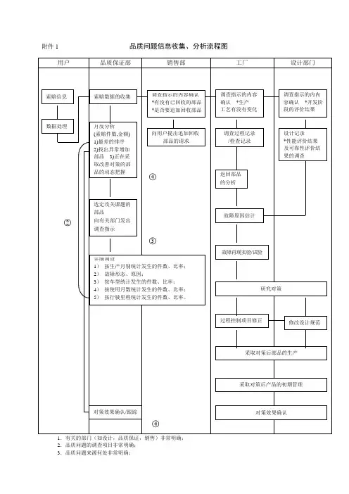
附件1 品质问题信息收集、分析流程图
1.有关的部门(如设计,品质保证,销售)非常明确;
2.品质问题的调查项目非常明确;
3.品质问题来源何处非常明确;
4.采取对策后的效果确认或跟踪明确。
样式1
预警控制
1)连续两个月工程不良、纳入不良、市场索赔发生率超过目标值的2倍,就应该制定《防止再发生对策书》,从根本上解决此现象,将采取对策后的品质实绩与预期水平进行比较。
2)连续两个月工程不良、纳入不良、市场索赔发生率超过目标值的1倍,就应该制定《纠正和预防措施验证单》,解决此现象,将采取对策后的品质实绩与预期水平进行比较。
3)出现超过目标值的时间,就应引起特别的注意。
规范信息收集、整理、发布流程下载温馨提示:该文档是我店铺精心编制而成,希望大家下载以后,能够帮助大家解决实际的问题。
文档下载后可定制随意修改,请根据实际需要进行相应的调整和使用,谢谢!并且,本店铺为大家提供各种各样类型的实用资料,如教育随笔、日记赏析、句子摘抄、古诗大全、经典美文、话题作文、工作总结、词语解析、文案摘录、其他资料等等,如想了解不同资料格式和写法,敬请关注!Download tips: This document is carefully compiled by theeditor.I hope that after you download them,they can help yousolve practical problems. The document can be customized andmodified after downloading,please adjust and use it according toactual needs, thank you!In addition, our shop provides you with various types ofpractical materials,such as educational essays, diaryappreciation,sentence excerpts,ancient poems,classic articles,topic composition,work summary,word parsing,copy excerpts,other materials and so on,want to know different data formats andwriting methods,please pay attention!构建高效规范的信息收集、整理与发布流程在信息爆炸的时代,正确、及时和有效率地收集、整理和发布信息已经成为企业和组织成功的关键。
动态信息采集,分析,处理规范和流程下载温馨提示:该文档是我店铺精心编制而成,希望大家下载以后,能够帮助大家解决实际的问题。
文档下载后可定制随意修改,请根据实际需要进行相应的调整和使用,谢谢!并且,本店铺为大家提供各种各样类型的实用资料,如教育随笔、日记赏析、句子摘抄、古诗大全、经典美文、话题作文、工作总结、词语解析、文案摘录、其他资料等等,如想了解不同资料格式和写法,敬请关注!Download tips: This document is carefully compiled by theeditor. I hope that after you download them,they can help yousolve practical problems. The document can be customized andmodified after downloading,please adjust and use it according toactual needs, thank you!In addition, our shop provides you with various types ofpractical materials,such as educational essays, diaryappreciation,sentence excerpts,ancient poems,classic articles,topic composition,work summary,word parsing,copy excerpts,other materials and so on,want to know different data formats andwriting methods,please pay attention!动态信息采集、分析与处理的规范与流程在信息化社会,动态信息采集、分析与处理已经成为各行各业的重要工作环节。
客户反馈整理与分析【引言】在过去的一段时间里,我负责收集、整理和分析公司与客户之间的反馈信息。
通过这个过程,我收获了许多关于客户需求和公司业务的宝贵洞见。
本文将总结我的工作,并提供一些关键发现和建议。
【整理客户反馈】在整理客户反馈时,我采用了多种方法,包括面对面沟通、在线调查和电话访谈。
我将所有的反馈信息进行分类,以便更好地理解不同客户的需求和问题。
以下是我在整理客户反馈中的主要发现:1. 产品质量:客户普遍对我们的产品质量持积极评价。
他们认为产品耐用性好、功能完善,并且与我们所宣传的相符合。
然而,一小部分客户提到了产品使用过程中出现的质量问题,这是我们需要关注和改进的地方。
2. 交付效率:大部分客户对我们的交付效率表示满意。
他们认为我们及时交付了订单,并在交付过程中与他们保持了良好的沟通。
然而,一些客户提到了交付延迟的问题,这是一个需要我们深入研究和解决的领域。
3. 服务质量:客户对我们的服务质量普遍非常满意。
他们认为我们的客户支持团队友好、高效,并且能够及时回应他们的问题和需求。
然而,一些客户提到了客户支持团队在解决问题时的一些技术能力不足,这是我们需要进行培训和提升的方面。
【分析客户反馈】通过对客户反馈的分析,我得出了一些关键的结论和见解:1. 成功因素:客户普遍认为产品质量和服务质量是他们选择我们公司的关键因素。
因此,我们应该继续关注和提升我们的产品质量,同时加强我们的客户支持团队的技术能力。
2. 改进机会:虽然大部分客户对我们的交付效率表示满意,但是交付延迟的问题需要引起重视。
我们应该审查和改进我们的交付流程,以确保及时交付客户订单。
3. 增加客户参与度:客户反馈是我们改进的重要依据,因此我们应该主动邀请客户参与我们的产品开发和改进过程。
通过客户的积极参与,我们可以更好地满足他们的需求,并提升他们的满意度。
【结论与建议】基于我对客户反馈的整理和分析,我提出以下几点结论和建议:1. 继续关注产品质量:我们应该加强对产品质量的监控,及时解决客户在使用过程中出现的质量问题,并持续提升产品的可靠性和耐用性。
客户信息反馈不及时原因分析整改措施首先,需要对内部流程进行优化。
公司应对现有的客户信息收集和反馈流程进行全面审查,识别和改进流程中的瓶颈和延迟。
可以通过对内部各个部门的沟通协作进行评估,以发现可能存在的协作问题,并提出解决方法。
此外,公司应建立一个明确的流程说明,以确保每个员工都能了解和遵守相应的工作流程。
其次,需要改进沟通渠道。
公司可以通过引入或改进现有的沟通工具,例如电子邮件、即时通讯软件、内部网站等,以提高内部沟通的效率和及时性。
同时,还应对客户提供的反馈渠道进行审查和改进,以确保客户能够方便地提供反馈意见,并及时得到回应。
可以考虑建立一个集中的客户服务中心,让专门的团队负责处理客户反馈,确保有效的信息流动。
此外,公司还可以考虑进行组织架构的优化。
通过对公司的组织结构和人员分配进行评估,了解是否有问题部门或短缺部门导致客户信息反馈不及时。
如果有这样的问题,公司应该调整组织架构,重新分配资源,并设立相关的岗位职责和责任,以确保提供及时的客户反馈。
另外,公司还应鼓励员工积极主动地与客户进行沟通。
可以通过提供培训和教育,培养员工的客户服务意识和技能。
公司可以组织定期的培训课程,帮助员工了解客户需求,提高客户满意度。
同时,还可以建立一套严格的绩效评估体系,鼓励员工快速响应客户需求,并按时解决问题。
最后,公司应该建立一个良好的反馈机制。
可以通过定期的客户满意度调查或反馈会议来了解客户对公司的信息反馈的满意度。
公司可以邀请一些重要客户参与,听取他们的建议和意见,找出问题,并采取相应的措施予以解决。
总之,客户信息反馈不及时是一个普遍存在的问题。
通过优化内部流程,改进沟通渠道,调整组织架构,培养员工意识,建立反馈机制等措施,可以有效解决这个问题,提高客户满意度,增强公司竞争力。
信息工作存在的问题及建议一、信息工作存在的问题1. 信息收集方面- 问题- 来源单一:很多时候仅依赖于少数几个固定渠道收集信息,例如在企业信息工作中,往往只从内部几个部门获取数据,忽视了外部市场调研机构、行业协会以及客户反馈等渠道。
这会导致信息不全面,无法掌握市场的全貌。
- 缺乏主动性:信息收集人员往往是被动等待信息的到来,而不是主动去挖掘有价值的信息。
在政府部门的信息工作中,一些工作人员习惯于等待下级部门报送数据,没有积极深入基层去发现新情况、新问题。
- 解析:信息来源单一使得收集到的信息存在局限性,可能错过很多关键信息,影响决策的科学性。
缺乏主动性则会导致信息滞后,不能及时反映实际情况。
2. 信息整理方面- 问题- 缺乏标准化流程:不同的人员在整理信息时采用不同的方法和标准,导致信息的格式、内容结构混乱。
例如在科研项目的信息整理中,有的研究人员按照自己的习惯记录实验数据,没有统一的标准,使得后续的数据整合和分析困难重重。
- 分析深度不够:只是对信息进行简单的分类汇总,没有深入挖掘信息背后的规律和关系。
在企业的销售数据整理中,可能只是统计了销售额、销售量等基本数据,而没有分析不同地区、不同产品之间的关联,以及销售趋势与市场因素的内在联系。
- 解析:缺乏标准化流程会降低信息处理的效率,增加信息整合的难度。
分析深度不够则无法充分发挥信息的价值,难以从信息中获取有效的决策依据。
3. 信息传递方面- 问题- 传递渠道不畅:在一些大型组织中,部门之间的信息传递存在障碍,信息在传递过程中容易失真或者延误。
例如在医院内部,临床科室和后勤部门之间的信息沟通不畅,导致医疗设备维修不及时,影响医疗服务质量。
- 保密与共享的平衡难以把握:一方面要保护信息的机密性,另一方面又要实现信息在一定范围内的共享。
在金融机构中,客户的隐私信息需要严格保密,但同时内部的风险评估部门又需要共享部分客户信息来进行风险分析,如何平衡这两者是一个难题。
信息收集与反馈流程问题分析一.信息收集与反馈流程问题分析1.信息收集缺乏主动性,没有积极主动收集市场信息,这样产品占有市场的分额.销售渠道.产品优势等就不清淅。
2.信息内容不准确.不完全,即可靠性.时效性差,信息收集数量少,不能准确地细分市场。
3.销售信息与销售计划混淆,销售信息未经分析审核,直接编制销售计划。
4.没有专职信息员及信息存档管理,没有专职信息收集人员,信息收集后没有正规分类存档管理程序。
5.信息汇总分析审核能力差,信息收集后汇总分析.评审等工作没有严格程序,各环节也没严格控制。
6.信息传递回路不畅,传递接口不明确:信息传递时没有形成生产.技术.营销各部门的回路,传递各环节的接口不清晰,没有明确责任人。
7.信息传递没有正规的表格形式,各类信息在传递过程中没有制订成规范化的格式。
8.信息实施过程没有跟踪,因没有专职信息员,信息的实施各环节的情况,没有跟踪反馈。
二.信息收集与反馈问题改进方法1.销售员负责收集各类信息,如目前本公司产品在市场中的份额,比竞争对手有哪些优势,顾客对产品的评价等信息。
营销员定期把此类信息报到营销部。
2.销售信息收集后,应及时汇总.分析.审核,此工作由技术及生产部门协助,再根据顾客需求编制产品销售计划。
3.设专职信息员,同时把信息收集.汇总.分类.整理归档。
4.各类信息传递,安排明确的交接人,并且各部门对信息处理应及时反馈,形成畅通的回路。
5.所有收集的信息要准确.全面,一定是即时信息。
6.各类信息在传递时应制订规范的表格,使各项内容清晰明确。
7.信息传递及反馈,各部门应及时处理。
8.信息传递后,实施过程各环节由专职信息员跟踪,并及时反馈。
一.销售计划流程问题分析1.计划变更较多,计划性不强:月计划下达后,周计划的改动较大,产品品种繁多。
(因配套厂计划变动大,并且本公司产品属易损件,造成销售计划改动大。
)2.追加应急计划多:产品属易损件,使用工况复杂,产品损坏周期不易掌握,为了满足顾客的应急需求,造成应急计划多。
信息员反馈表范文一、基本信息。
1. 姓名:[你的名字]2. 部门/岗位:[具体部门或岗位]二、反馈周期。
[开始日期] [结束日期]三、工作成果与亮点。
1. 信息收集方面。
这阵子我就像个勤劳的小蜜蜂,到处采集信息。
在[具体项目/活动]期间,我从各个渠道收集到了好多有用的消息。
比如说,从咱们内部员工那里,我通过和不同部门的小伙伴聊天、吃饭(这可是获取信息的好时机呢,哈哈),了解到他们在工作流程上遇到的一些小麻烦,像市场部同事反馈说在推广活动时,和客户对接的信息有时候有点乱,因为不同渠道的客户信息管理不太统一。
然后我又从外部收集信息,关注了同行业的几个竞争对手的动态,发现他们最近推出了一些新的营销策略,看起来还挺有创意的。
我就赶紧把这些信息整理好,像宝藏一样带给大家啦。
2. 信息整理与分析。
收集到信息后,我可没有让它们乱成一团。
我就像个超级魔法师,把那些杂乱无章的信息变得井井有条。
我用了一个超酷的表格(自己做的,还挺得意的呢),把内部问题和外部动态分别列出来,然后进行详细的分析。
对于内部员工反馈的工作流程问题,我发现主要是信息传递环节太多,容易出错。
针对竞争对手的新策略,我分析出他们是在针对年轻消费群体做文章,主打个性化和社交化营销。
我把这些分析结果都写得清清楚楚,就像给大家讲一个有趣的故事一样,这样大家看起来就不觉得枯燥啦。
3. 信息传递与共享。
信息整理好了,那当然要分享出去呀。
我就像个快乐的小邮差,把这些重要的信息传递到每一个需要的角落。
我在部门会议上,用很生动的方式(还加了一些搞笑的小段子,让大家都笑个不停的同时也记住了重点)把我的发现和分析讲给大家听。
还把整理好的文档分享到公司的内部群里,方便大家随时查看。
结果呢,市场部的小伙伴根据我提供的竞争对手信息,开始重新思考自己的营销策略,说要借鉴一些好的点子;而关于内部工作流程的问题,也引起了高层的重视,已经在商量怎么优化啦。
感觉自己就像个小小的信息枢纽,推动了公司的发展呢,嘿嘿。
我国医疗机构传染病疫情报告管理工作存在的问题及改进对策问题一:信息收集与筛选不及时、准确1. 缺乏标准化的信息采集流程和工具•目前医疗机构在传染病疫情报告中使用的信息采集流程和工具各不相同,导致信息收集的效率和准确性参差不齐。
2. 缺乏及时的信息筛选和更新机制•医疗机构在面对大量数据时,缺乏及时的筛选和更新机制,导致重要信息被埋没,无法及时反映疫情的实际情况。
问题二:报告数据整理和分析不规范1. 缺乏统一的数据整理和存储标准•不同医疗机构所使用的数据整理和存储标准不一致,导致数据的比对和分析困难,也增加了数据共享和交流的难度。
2. 数据分析能力不足•医疗机构在传染病疫情报告的数据分析方面,存在着技术和人员能力的不足,无法全面深入地挖掘数据背后的价值信息。
问题三:报告的反馈和应对措施不到位1. 缺乏有效的报告反馈机制•目前医疗机构的传染病疫情报告中,缺乏对信息的反馈机制,无法及时修正和完善报告的相关内容,降低了报告的质量和可信度。
2. 应对措施不够全面和专业•面对不同的传染病疫情,医疗机构的报告中应对措施往往缺乏全面性和专业性,无法提供科学有效的防控建议和措施。
改进对策1. 建立统一的信息采集流程和工具•设立国家级的标准化信息采集流程和工具,确保各医疗机构在传染病疫情报告中能够按照相同的标准进行信息的收集和记录。
2. 完善信息筛选和更新机制•在信息筛选方面,引入智能化的数据筛选工具,帮助医疗机构及时发现和汇总重要信息;在信息更新方面,建立定期或实时的数据更新机制,以反映疫情的实际情况。
3. 统一数据整理和存储标准•制定统一的数据整理和存储标准,确保不同医疗机构所采集的数据能够进行有效比对和分析,提高数据的可靠性和可用性。
4. 加强数据分析能力培养•组织专业的培训课程和交流活动,提高医疗机构的数据分析能力;引入数据分析专家,协助医疗机构深入挖掘数据背后的价值。
5. 建立报告反馈机制•设立专门的反馈渠道,收集各方对传染病疫情报告的意见和建议,及时修正和完善报告的相关内容,提高报告的质量和可信度。
汽车4S店信息反馈管理业务流程分析与设计
1. 信息反馈收集
第一步是通过各种渠道收集客户反馈信息。
渠道包括但不限于:- 电话或短信咨询
- 电子邮件或在线聊天
- 社交媒体上的留言或评论
- 客户满意度调查
2. 反馈信息记录
在收集到反馈信息后,需要将其记录在反馈信息系统中。
这些
信息可以包括:
- 客户姓名、电话号码和电子邮件地址
- 反馈主题和详细内容
- 反馈日期和时间
- 反馈类型(投诉、建议等)
3. 反馈信息分类和分析
对反馈信息进行分类和分析,以识别出反馈中的主要问题或主题,并确定采取必要措施来解决它们。
分类和分析过程可以使用数
据分析工具和算法来加速。
4. 反馈信息处理
每个类别的反馈问题需要采取不同的行动,比如:
- 处理投诉并采取必要的措施以解决问题。
- 优化销售流程,以满足客户的需求和期望。
- 根据客户的建议改进产品或服务。
5. 反馈信息跟进
在采取了必要的行动后,需要跟踪客户反馈信息系统中的处理结果,以确保问题已得到解决并回应客户。
跟踪客户反馈信息也有助于获取客户满意度数据,并确定需要改善的领域。
6. 反馈信息报告
通过客户反馈信息系统生成报告以反馈信息和分析结果,以便管理层进行决策和改进。
报告可以定期生成,例如每月或每季度,以便根据数据趋势调整策略或行动计划。
7. 反馈信息持续改进
客户反馈信息系统是一个动态的过程,需要持续改进,在不断解决客户问题的同时,也需要定期评估客户反馈信息收集、处理和跟进的流程,并提出改进建议。
问题解决流程模板一、问题描述在问题解决流程模板中,首先需要明确问题的描述。
清晰地表达问题的背景和具体情况,以便更好地进行解决。
二、问题分析问题分析阶段需要对问题进行深入剖析,找出问题的根本原因。
可以进行以下步骤:1. 收集信息:从不同的角度搜集相关信息,包括问题发生的时间、地点、人员以及可能的原因等。
2. 分类整理:将搜集到的信息进行整理和分类,以便更好地理解和分析。
3. 排除假象:通过排除一些误导性的信息或表象,直击问题的实质。
三、解决方案制定解决方案制定是问题解决流程的核心步骤,需要根据问题的性质和原因提出切实可行的解决方案。
以下是一个解决方案制定的范例:1. 目标设定:明确解决问题的目标,确保解决方案具有明确的目标导向。
2. 列出备选方案:从多个角度考虑解决问题的方法,并列出备选方案。
3. 评估与选择:评估每个备选方案的可行性和效果,并选出最合适的解决方案。
四、方案实施在方案实施阶段,需要有明确的操作步骤和时间安排,确保方案的顺利进行。
以下是一个方案实施的范例:1. 分工合作:确定各个执行人员的职责和任务,并建立良好的团队合作机制。
2. 时间安排:根据实际情况,制定详细的时间表,确保各个环节的顺利进行。
3. 监督与反馈:设立监督机制,及时了解方案实施的进展情况,并进行反馈和调整。
五、效果评估在问题解决流程中,效果评估是非常重要的一步,它能够评估解决方案的有效性和可行性。
以下是一个效果评估的范例:1. 目标达成度评估:根据解决问题的目标,评估解决方案是否能够达到预期的效果。
2. 反馈收集:收集相关人员的反馈意见,了解他们对解决方案的评价和建议。
3. 改进调整:根据评估结果和反馈意见,进行必要的改进和调整,以优化解决方案。
六、总结与反思总结与反思阶段是问题解决流程的最后一步,它有助于总结经验教训,提升问题解决能力。
以下是一个总结与反思的范例:1. 总结经验:总结解决问题的经验和方法,形成有价值的经验教训。
管理制度的执行流程与反馈机制管理制度是组织运作的重要保障,而管理制度的有效执行流程和反馈机制则是确保其有效性和可持续发展的关键。
本文将从多个角度展开回答,分析管理制度的执行流程与反馈机制,以期为读者提供有关这一主题的全面理解和洞察。
一、导入与概述管理制度的执行流程与反馈机制是一个复杂而有序的过程,涉及到组织内部各个层级的协作和相互配合。
它不仅仅是一个简单的要求落实的过程,更是一个持续改进和不断优化的循环。
二、明确目标与责任管理制度的执行流程和反馈机制首先需要明确目标和责任。
每个管理制度必须有明确的目标,这样才能引导和推动执行流程。
同时,为了确保落实的效果和责任的明确,每个执行环节和责任人都应明确分工和职责,这样才能避免角责和责任不清的情况出现。
三、培训与意识宣导为了确保管理制度执行的顺利进行,组织需要进行员工培训和意识宣导。
通过培训,员工能够了解和掌握相关制度和规范,提高执行的准确性和效率。
同时,通过宣导,能够增强员工的责任感和积极性,激发他们对制度执行的自觉性。
四、信息收集与分析管理制度的执行流程需要进行信息的收集和分析,以便及时发现问题和提出改进意见。
信息的收集可以通过定期的统计数据和报告,也可以通过各种渠道的反馈和交流。
而信息的分析要求组织具备一定的数据驱动能力和分析能力,以便能够从数据中挖掘出有价值的信息和洞察。
五、问题解决与改进在执行流程中难免出现问题和障碍,组织需要及时解决问题并进行改进。
建立问题上报机制和解决机制是保障执行流程顺利进行的重要环节。
而改进也是该过程的重要环节,只有通过持续改进才能使管理制度不断优化和适应组织变革。
六、绩效评估与激励机制绩效评估是管理制度执行流程的关键环节,它可以评估制度执行的效果和各个层级的绩效。
通过绩效评估,组织可以发现执行流程中存在的问题和短板,以便进行改进和优化。
同时,激励机制也是管理制度执行流程的必要环节,通过激励可以激发员工的积极性和创造力,促进执行流程的顺利进行。
工作流程规范制定和执行工作流程规范的方法工作流程规范是指在组织中确定并制定的一系列行动和步骤,以规范组织内部工作的执行过程。
它对于提高工作的效率、确保工作质量、优化资源利用以及实现目标具有重要意义。
本文将介绍工作流程规范的制定和执行方法,以帮助组织更好地管理和规范工作流程。
一、工作流程规范的制定方法1. 定义工作目标和流程:首先,需要明确工作的目标和流程。
明确工作的目标可以帮助制定明确的工作流程;而明确工作的流程有助于规范工作的执行过程。
在定义工作目标和流程时,可以采用文字描述、流程图等方式来清晰地表达。
2. 参考相关法规和标准:制定工作流程规范时,可以参考相关的法规、政策和标准。
这些法规和标准可以提供规范性的指导,帮助组织制定符合法律法规和行业标准的工作流程规范。
3. 考虑流程的可行性与效率:在制定工作流程规范时,应考虑工作流程的可行性和效率。
工作流程应该实际可行,能够适应组织的实际情况,并且能够在合理的时间内完成。
同时,还需考虑工作流程的效率,避免冗余的环节和重复的操作,以提高工作效率。
4. 制定明确的责任和权限:在工作流程规范中,需要明确每个相关人员的责任和权限。
明确责任和权限可以帮助组织实现工作流程的高效执行,避免决策的模糊和责任的不明确。
5. 反馈和修订:制定工作流程规范后,需要进行持续的反馈和修订。
通过与实际工作相结合,观察和评估工作流程的效果,并及时进行修订和完善,以确保工作流程规范的有效性和实用性。
二、执行工作流程规范的方法1. 培训和沟通:在执行工作流程规范前,需要对相关人员进行培训,让他们充分了解工作流程规范的内容和要求。
培训后应进行沟通,确保每个人都理解并接受规范,以便能够按照规范进行工作。
2. 监督和检查:在执行工作流程规范期间,需要进行监督和检查,确保规范的有效执行。
可以使用监控系统、考核制度等方式对工作流程进行监督,及时发现问题并采取相应的措施进行改进。
3. 收集并分析反馈信息:在执行工作流程规范的过程中,应收集相关人员的反馈信息,并进行分析和总结。
实验室结果反馈流程与信息共享机制制度下载温馨提示:该文档是我店铺精心编制而成,希望大家下载以后,能够帮助大家解决实际的问题。
文档下载后可定制随意修改,请根据实际需要进行相应的调整和使用,谢谢!并且,本店铺为大家提供各种各样类型的实用资料,如教育随笔、日记赏析、句子摘抄、古诗大全、经典美文、话题作文、工作总结、词语解析、文案摘录、其他资料等等,如想了解不同资料格式和写法,敬请关注!Download tips: This document is carefully compiled by theeditor.I hope that after you download them,they can help yousolve practical problems. The document can be customized andmodified after downloading,please adjust and use it according toactual needs, thank you!In addition, our shop provides you with various types ofpractical materials,such as educational essays, diaryappreciation,sentence excerpts,ancient poems,classic articles,topic composition,work summary,word parsing,copy excerpts,other materials and so on,want to know different data formats andwriting methods,please pay attention!实验室结果反馈流程与信息共享机制制度的构建与实施在科学研究中,实验室结果的有效反馈和信息共享是推动研究进展的关键环节。
信息收集与反馈流程问题分析
一、信息收集与反馈流程问题分析
1、信息收集缺乏主动性,没有积极主动收集市场信息,这样产品占有市场的分额、销售渠道、产品优势等就不清淅。
2、信息内容不准确、不完全,即可靠性、时效性差,信息收集数量少,不能准确地细分市场。
3、销售信息与销售计划混淆,销售信息未经分析审核,直接编制销售计划。
4、没有专职信息员及信息存档管理,没有专职信息收集人员,信息收集后没有正规分类存档管理程序。
5、信息汇总分析审核能力差,信息收集后汇总分析、评审等工作没有严格程序,各环节也没严格控制。
6、信息传递回路不畅,传递接口不明确:信息传递时没有形成生产、技术、营销各部门的回路,传递各环节的接口不清晰,没有明确责任人。
7、信息传递没有正规的表格形式,各类信息在传递过程中没有制订成规范化的格式。
8、信息实施过程没有跟踪,因没有专职信息员,信息的实施各环节的情况,没有跟踪反馈。
二、信息收集与反馈问题改进方法
1、销售员负责收集各类信息,如目前本公司产品在市场中的份额,比竞争对手有哪些优势,顾客对产品的评价等信息。
营销员定期把此类信息报到营销部。
2、销售信息收集后,应及时汇总、分析、审核,此工作由技术及生产部门协助,
再根据顾客需求编制产品销售计划。
3、设专职信息员,同时把信息收集、汇总、分类、整理归档。
4、各类信息传递,安排明确的交接人,并且各部门对信息处理应及时反馈,形成畅通的回路。
5、所有收集的信息要准确、全面,一定是即时信息。
6、各类信息在传递时应制订规范的表格,使各项内容清晰明确。
7、信息传递及反馈,各部门应及时处理。
8、信息传递后,实施过程各环节由专职信息员跟踪,并及时反馈。
一、销售计划流程问题分析
1、计划变更较多,计划性不强:
月计划下达后,周计划的改动较大,产品品种繁多。
(因配套厂计划变动大,并且本公司产品属易损件,造成销售计划改动大。
)
2、追加应急计划多:
产品属易损件,使用工况复杂,产品损坏周期不易掌握,为了满足顾客的应急需求,造成应急计划多。
3、编制计划不完全:
计划编制时,对产品要求方面的内容不全面,同时因合同(订单)没经过评审、批准手续,使计划不能适应产能。
4、传递不畅通,没有生产部与销售部的传递回路:
计划在传递过程中,销售与生产部缺乏沟通、分析,计划下达后没有形成生产部给
销售部的反馈。
5、常用产品计划不准确,没有适量库存:
常用产品(如板锤、叶片等)在做计划时没有依据平时顾客需求情况,做出适量库存。
二、销售计划流程改进方法
1、产品品种归类,减少产品品种,准确预测配套厂的配套量。
2、业务员与顾客沟通,掌握各用户的产品使用周期,关键产品做出适量库存计划。
3、严格根据合同订单把产品计划及性能要求等做全面。
4、编制计划前,营销部与生产部应共同分析完成能力,生产部针对计划给予及时反馈,以便与顾客沟通。
5、常用产品根据平时发货量及市场变化情况做好适量库存。
一、产品销售流程问题分析
1、合同订单完成不及时:
交货时间不能保证,使发货、回款等各环节都延后。
2、客户需求分析能力差:
配套厂及备件的淡旺季需求量没有做细致分析。
3、生产各环节未能同步准备,使发货延误:
生产部接计划后,未能根据计划及图纸把模具制作、工艺制作、工装准备等工作同步进行,使产品不能及时入库,延误发货。
4、合同没经管理评审和批准过程:
技术和生产能力是否能达到客户需求沟通不足,签订合同前没有经过严格的评审及批准过程,顾客需求产品的性能、结构、表面质量、大小我们是否能满足,没有经过营销部、生产部、技术部的分析。
5、销售渠道不明确:
产品应以哪种渠道销售没有细致分析,在各个时期销售渠道如何没有明确。
6、没有激励机制支撑,销售政策不明确或未兑现:
没有明确成文的销售政策或不能及时兑现,使销售员不能积极主动的开发市场,拓展业务。
7、产品广告策划不足,宣传少:
专业广告或各类参展会参加的少,文本宣传少,使产品影响氛围小。
8、产品品种多:
目前产品品种多,按行业大致分为:矿山、工程机械、电力、航道工程类,按产品分类有几百种,种类太多。
9、目标市场不明确,细分市场能力差:
没有经过严密细致的市场调查,不明确产品发展方向及市场份额等。
10、销售人员培训少,人员不足:
销售人员没经过正规培训,缺乏专业知识。
二、产品销售流程改进方法
1、合同经过评审批准后,根据订单严格按合同各项内容执行。