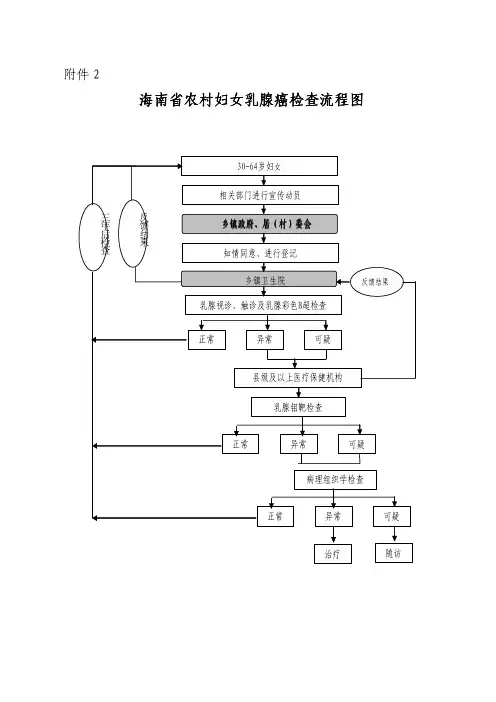
乳腺癌检查项目检查流程图
- 格式:vsd
- 大小:139.50 KB
- 文档页数:1
卫生部办公厅关于印发农村妇女乳腺癌检查项目实施方案和技术方案(2009-2011年)的通知文章属性•【制定机关】卫生部(已撤销)•【公布日期】2009.07.03•【文号】卫办疾控函[2009]612号•【施行日期】2009.07.03•【效力等级】部门规范性文件•【时效性】现行有效•【主题分类】妇幼健康正文卫生部办公厅关于印发农村妇女乳腺癌检查项目实施方案和技术方案(2009-2011年)的通知(卫办疾控函〔2009〕612号)各省、自治区、直辖市卫生厅局:根据《财政部卫生部关于下达2009年农村妇女两癌检查项目补助资金的通知》(财社〔2009〕40号)和《卫生部全国妇联关于印发〈农村妇女“两癌”检查项目管理方案〉的通知》(卫妇社发〔2009〕61号),为做好农村妇女乳腺癌检查项目,我部疾控局组织编写了《农村妇女乳腺癌检查项目实施方案(2009-2011年)》和《农村妇女乳腺癌检查项目技术方案(2009-2011年)》。
现印发给你们,请登录我部网站(网址:http://)下载电子版文件,并按要求落实项目各项防控措施。
附件:1.乳腺癌检查项目实施方案(2009-2011年)2.乳腺癌检查项目技术方案(2009-2011年)二〇〇九年七月三日附件1农村妇女乳腺癌检查项目实施方案(2009-2011年)从2009年开始,为我国35-59岁农村妇女开展乳腺癌检查,逐步探索适合我国乳腺癌筛查的优化方案,提高乳腺癌早诊率,延长5年生存率,降低死亡率,保护农村妇女健康。
一、项目依据乳腺癌是影响我国妇女健康的常见疾病,是我国妇女恶性肿瘤的第六位死亡原因,死亡率从上世纪70年代的2.95/10万上升到目前的5.90/10万(其中城市8.5/10万,农村4.8/10万)。
西方发达国家在乳腺癌筛查方面已经取得了很多经验,并有效降低了死亡率,但我国乳腺癌筛查工作起步较晚,筛查技术尚处于探索阶段。
2008年卫生部疾病预防控制局利用中央财政转移支付资金在全国30个省(区、市)的53个项目点开展了以城市妇女为主的乳腺癌筛查工作,探索适合我国城市地区的妇女乳腺癌筛查方案。
重庆市大足区人民政府办公室关于印发大足区2021年妇女“两癌”检查及救助项目实施方案的通知文章属性•【制定机关】大足区人民政府办公室•【公布日期】2021.04.01•【字号】大足府办发〔2021〕35号•【施行日期】2021.04.01•【效力等级】地方规范性文件•【时效性】现行有效•【主题分类】社会救助正文重庆市大足区人民政府办公室关于印发大足区2021年妇女“两癌”检查及救助项目实施方案的通知各镇街人民政府(办事处),区政府有关部门,有关单位:经区政府同意,现将《大足区2021年妇女“两癌”检查及救助项目实施方案》印发你们,请认真组织实施。
重庆市大足区人民政府办公室2021年4月1日大足区2021年妇女“两癌”检查及救助项目实施方案为提高妇女宫颈癌和乳腺癌(以下简称两癌)的早诊早治率,降低死亡率,提高广大妇女健康水平,2021年在全区范围内继续实施妇女“两癌”检查及救助项目,并纳入重点民生实事项目。
现结合我区实际,特制定本实施方案。
一、项目目标(一)2021年完成12000名35—64岁妇女宫颈癌检查和8000名35—64岁妇女乳腺癌检查。
(二)妇女“两癌”检查目标人群覆盖率达到80%。
(三)妇女宫颈癌、乳腺癌检查覆盖率逐年升高。
(四)宫颈癌早诊率达到90%以上,乳腺癌早诊率达到60%以上。
(五)宫颈癌阴道镜符合率达80%以上。
(六)医疗保健人员的技术水平和服务质量进一步提高,承担“两癌”检查人员培训覆盖率达到95%以上。
(七)逐步提高妇女自我保健意识,负责“两癌”工作的妇联干部业务培训参与率达到100%,妇女“两癌”防治知识和政策宣传知晓率达到80%以上。
(八)精准实施救助工作,确保受助患者准确率达100%。
二、目标人群3年内未参加“两癌”检查的35—64岁城乡妇女(不含财政供养人员),优先保障农村地区妇女(特别是建卡贫困户妇女)和城镇贫困妇女享受检查服务。
三、项目实施机构(一)区妇幼保健院为项目主要实施机构,负责宫颈细胞学检查、阴道镜检查、宫颈组织病理学检查、临床乳腺检查和乳腺彩色超声检查、乳腺组织病理检查。
乳腺癌辅助化疗(2016年版)一、乳腺癌辅助化疗标准住院流程(一)适用对象。
第一诊断为乳腺腺癌(ICD-10:C50.801,C50.802 C50.803,C50.804伴C50.900),符合以下条件:1.腋窝淋巴结阳性。
2.腋窝淋巴结阴性但伴有高危复发因素者:如①年龄<35岁②肿瘤直径>2.0cm③核分级为Ⅲ级④有脉管癌栓⑤Her-2阳性(指免疫组化3+或/和荧光原位杂交有扩增)。
注:对于Her-2阳性,同时LN阳性或淋巴结阴性的T 大于0.5cm的患者,建议曲妥珠单抗辅助治疗。
(二)诊断依据。
根据卫生部《乳腺癌诊疗规(2011年)》和NCCN《乳腺癌临床实践指南中国版》1.症状:发现乳房肿块。
2.体格检查:乳房触诊及腋下淋巴结触诊,全身浅表淋巴结肿大情况。
3.一般情况评估:体力状态评估。
4.实验室检查:乳腺B超;血清肿瘤标志物检查如:CEA、CA125及CA153等。
5.病理诊断为乳腺癌。
(三)进入路径标准。
1.第一诊断必须符合(ICD-10:C50.801,C50.802 C50.803,C50.804伴C50.900),乳腺癌疾病编码。
2.原发灶根治术后,无远处转移或准备入院检查排除远处转移。
3.符合化疗适应证,无化疗禁忌。
4.当患者合并其他疾病,但住院期间不需要特殊处理也不影响第一诊断的临床路径流程实施时,可以进入路径。
(四)标准住院日。
2-4天。
(五)住院期间的检查项目。
1.必需的检查项目1).基线及每3月复查时检查项目:Her2检测(基线);肿瘤标记物如CEA、CA125、CA153;胸片或胸部CT、腹部或/及盆腔超声或增强CT/MRI、乳腺及腋下锁骨上淋巴结超声和心脏超声、乳腺钼靶或MRI(每年一次)。
2).每周期化疗前检查项目:(1)血常规、尿常规、大便常规。
(2)肝肾功能、电解质、血糖、凝血功能。
(3)心电图。
2.根据患者病情进行的检查项目1)提示肿瘤有复发时,可进行相关部位CT或MRI;2)骨扫描;3)合并其他疾病相关检查。
乳腺癌诊断与筛查流程 This model paper was revised by the Standardization Office on December 10, 2020乳腺癌诊断与筛查流程首都医科大学附属北京朝阳医院李杰乳腺癌是妇女常见的恶性肿瘤之一,对于这种常见的恶性肿瘤,除了提高治疗手段和治疗方法以外,筛查也是提高整个乳腺癌生存率的手段之一,通过筛查可以明显的降低乳腺癌的死亡率。
一、乳腺癌防控现状世界卫生组织提议,在有条件的情况下应该对乳腺癌积极开展筛查工作。
乳腺癌是少数几个能够借助筛查而降低死亡率的恶性肿瘤,通过筛查我们可以发现早期的乳腺癌患者。
一旦发现早期乳腺癌患者,大多数病例可以缩小手术范围、甚至可以进行保乳的手术;早期病例,可以免于放疗、化疗等对身体损伤较大的治疗手段,明显提高了治疗效果和患者的生活质量;同时减少了医疗支出,节省了卫生资源。
乳腺癌筛查在西方国家早已广泛开展,近些年西方国家乳腺癌死亡率的下降也主要归功于有效的筛查。
7项随机实验,参加人数超过50 万,结果显示在 50岁以上的女性,乳腺癌死亡率下降20%-30%。
二﹑乳腺辅助检查方法的现状及优缺点目前常用的乳腺检查手段主要有 X 线检查、超声检查、核磁成像以及乳管内窥镜检查和病理学的检查。
(一)乳腺 X 线检查: X 线检查是乳腺基本的辅助检查,依据病变与正常乳腺组织间的密度差, X 线摄影下乳腺癌的表现为肿块结节影和钙化灶。
乳腺 X 线检查中细沙样、蠕虫形、成簇形的钙化影是早期乳腺癌特征性的表现,有利于早期发现乳腺癌。
新一代数字式乳腺钼靶 X 线摄影检查使图像更清晰,结果可信度更高,可以发现≤ 1.0cm 的乳腺癌微小病灶和部分隐匿性病灶,敏感度 85~90% ,而且降低了放射剂量。
( ppt8 )图片显示的是乳腺钼靶片,右侧大圈可以看到典型的簇状钙化灶,在左侧可以看到局限性致密性的侵润肿块。
1 .钼靶 X 线摄影的优点:操作简单、方便、灵敏度高,是诊断乳腺癌的最基本方法之一。
乳腺做病检的流程和注意事项下载温馨提示:该文档是我店铺精心编制而成,希望大家下载以后,能够帮助大家解决实际的问题。
文档下载后可定制随意修改,请根据实际需要进行相应的调整和使用,谢谢!并且,本店铺为大家提供各种各样类型的实用资料,如教育随笔、日记赏析、句子摘抄、古诗大全、经典美文、话题作文、工作总结、词语解析、文案摘录、其他资料等等,如想了解不同资料格式和写法,敬请关注!Download tips: This document is carefully compiled by theeditor. I hope that after you download them,they can help yousolve practical problems. The document can be customized andmodified after downloading,please adjust and use it according toactual needs, thank you!In addition, our shop provides you with various types ofpractical materials,such as educational essays, diaryappreciation,sentence excerpts,ancient poems,classic articles,topic composition,work summary,word parsing,copy excerpts,other materials and so on,want to know different data formats andwriting methods,please pay attention!乳腺病检,全称为乳腺活组织检查,是通过取得乳腺组织样本进行病理学检查,以确定乳腺病变性质的一种诊断方法。