非线性有限元作业_老骆整理
- 格式:docx
- 大小:280.61 KB
- 文档页数:14
非线性有限元法综述摘要:本文针对非线性有限元法进行综述,分别从UL列式及TL列式、CR列式、几何精确梁、壳理论三个方面介绍其分析思路和发展动态,旨在为相关学者提供一些思路参考。
关键词:几何非线性;UL列式;TL列式;CR列式;几何精确梁、壳理论1引言几何非线性是由于位置改变引起了结构非线性响应。
进行结构几何非线性分析,实质上就是要得到结构真实的变形与受力情况。
有限元方法是进行结构几何非线性分析的最成熟的方法,也是应用最广泛的分析方法.2非线性有限元法研究思路非线性有限元法主要指UL列式法、TL列式法、CR列式法和几何精确梁、壳理论等,它们有着基本相同的思路,即利用虚功原理建立平衡方程。
方程中充分考虑了非线性因素对结构应变和应力的影响,也就是将线性应变和非线性应变都代入到表达式中,然后确定单元的本构关系并选取合适的形函数,导出单元对应的弹性刚度矩阵和几何刚度矩阵,再选取合适的增量-迭代算法进行求解,由此就完成了结构的整个几何非线性分析求解过程。
非线性有限元法将结构的变形过程划分为三个主要阶段:C0状态、C1状态和C2状态,如图1所示。
图1 单元的变形C0状态是单元的初始状态,C1状态是单元受力变形后上一次处于平衡的状态;C2状态是单元的当前状态,也就是所求的状态。
2.1UL法和TL法研究思路UL法和TL法为几何非线性问题提供了新的分析思路。
这两种方法本质上没有很大区别,但是方程建立的参考状态有所不同。
完全拉格朗日法(TL法)是以结构变形前C0状态为参考建立平衡方程的,考虑结构从C0状态到C2状态之间的变形;而更新的拉格朗日法(UL法)以结构变形后C1状态为参考建立平衡方程的[2],考虑结构从C1状态到C2状态之间的变形。
两种拉格朗日法的主要形式如下:(1)TL列式(2)UL列式从上面两式可以看出:TL法和UL法的另一个不同是TL法的增量平衡方程中考虑了初位移矩阵的影响,而UL法则忽略了其影响,只考虑了弹性刚度矩阵和初应力矩阵的影响。
1.轴对称问题的弹塑性分析解析解。
厚壁筒受内压,采用Mises屈服准则σθ−σγ=√3s(1) 经计算知,当t=12.5(12.91)时,材料处于弹塑性交界面。
弹性区为:t≤r≤bσr=2s√3b2(b2r2−1)(2)σθ=2s3b2(b2r2+1)(3)塑性区:a≤r≤tσr=3s ln ra−P(4)σθ=3s (1+ln ra)−P(5)交界处有:r=t,σr e=σr pP=s√3−t2b2+2ln ta)(6)最后解得残余应力为:σr r=√3s ln ra−b2Pb2−a2(1−a2r2),a≤r≤t(7a)σr r=(s2√3b2−a2Pb2−a2)(1−a2r2),t≤r≤b(7b)σθr=3s (1+ln ra)−b2Pb2−a2(1+a2r2),a≤r≤t(8a)σθr=(s2√3b2−a2Pb2−a2)(1+a2r2),a≤r≤t(8b)有限元网格信息图:图1 有限元网格输入数据文件内容(详细信息见附件): DATA(1)NNODE MELEM IFU IFW IPF IPR NPP NRM HAC MSF NULOAD EXP NM(1-MELEM) NN NN(1-NNODE) R Z NFU(1-IFU) FU NFW(1-IFW) FWMPQ(1-IPF) NPQ*PQ NPRNRZ(1-IPR) PRNRZE EMU SSS HH UNLOAD对理想塑性材料厚壁筒,从初始状态开始,历经加载后完全卸载。
这一过程中,厚壁筒内会产生残余应力。
沿径向R 的残余应力如图2-3所示。
-1.6-1.4-1.2-1-0.8-0.6-0.4-0.2101214161820R a d i a l s t r e s sRadius R图2 径向残余应力-半径曲线-15-10-5101214161820T a n g e n t i a l s t r e s sRadius R图3 切向残余应力-半径曲线图2-3中分别给出了径向残余应力和切向残余应力随半径的变化,并且和解析解进行了比较。
非线性有限元方法非线性有限元方法是大量应用于工程领域的计算方法,它主要用于求解复杂结构的力学问题,例如材料的变形、破坏和变形控制等。
与线性有限元方法不同,非线性有限元方法考虑因为载荷和边界条件的非线性导致问题的非线性本质,以及材料的非线性行为。
在这篇文章中,我们将讨论非线性有限元方法,包括其应用、工作原理以及其在工程领域中的重要性等内容。
首先,我们来研究一下非线性有限元方法的应用。
非线性有限元方法在许多方面都有应用。
其中最重要的领域是结构力学,包括建筑、航空航天、汽车等领域。
由于这些结构需要承受复杂的载荷,因此非线性有限元方法可以很好地模拟这些结构的行为,预测它们的性能和寿命。
此外,非线性有限元方法还可以应用于材料力学研究中,例如破碎、断裂和塑性变形等方面。
其次,我们来了解一下非线性有限元方法的工作原理。
与线性有限元方法类似,非线性有限元方法通过将结构分成小块进行离散,然后在每个小块中进行力学分析,最后将分析结果合并为整个结构的行为。
但是,与线性有限元方法不同的是,非线性有限元方法考虑到材料的非线性行为,采用迭代的方法计算结构的响应。
通常,在每一次迭代中,我们都将结构的当前状态作为一个初始猜测,然后求解出该状态下的切应力和位移场。
然后我们将这个位移场的结果代入底部,从而更新结构的状态。
如果解决方案收敛,则完成计算,否则就将新的状态再次代入求解。
这种方法的本质是将非线性问题转化为一系列线性问题的求解,通过迭代求解来逼近非线性问题的解。
最后,我们来讨论一下非线性有限元方法在工程领域中的重要性。
非线性有限元方法已成为现代工程设计和分析的不可或缺的工具。
它允许工程师们模拟和预测各种工程机构的行为,以及设计和优化各种结构。
例如,它可以帮助我们了解在不同载荷下建筑和桥梁行为的变化,预测材料的破坏和失效,以及优化汽车和飞机的结构以提高其性能。
总之,非线性有限元方法是一种复杂但十分有用的计算方法,它可以模拟各种结构的行为并预测其性能和寿命。
如何利用非线性有限元法进行力学分析非线性有限元法是一种用于数值分析问题的计算方法,其主要应用于力学分析领域。
这种方法在于其对于复杂结构的建模能力和高精度数值计算能力而备受推崇。
在本文中,将介绍如何对力学问题进行分析,以及如何应用非线性有限元法对力学分析进行模拟。
1. 引言力学分析整体上分为两种类型:静力学分析和动力学分析。
静力学分析研究对于物体的力和静止条件进行研究,其中力一般会造成物体的运动。
而动力学分析则研究运动物体的变化,特别是再一定条件下物体的振动问题等。
因为力学分析问题具有很高的复杂性,很多时候需要使用非线性有限元法来得到更准确的结果。
下面我们将详细介绍使用非线性有限元法进行力学分析的方法和流程。
2. 有限元法简介有限元法是一种现代数值计算方法,它将大工程结构分割为小的有限元。
在每个有限元内,结构的物理性质可以被认为是常量。
(具体内容可以自己百度)3. 如何利用非线性有限元法进行力学分析使用非线性有限元法进行力学分析的核心是将宏观问题转变为微观问题来进行模拟计算。
其中需要注意下面几点:3.1 确定力学分析的类型根据要进行分析的结构本身的性质和应用场景,可能涉及到静力学分析或者动力学分析。
其中静力学分析的计算主要涉及到结构在平衡状态下的情况,而动力学分析主要涉及到结构在某种条件下的运动和振动情况。
因此,在进行力学分析之前需要确定其类型,以便进行后续的计算。
3.2 建立结构模型根据具体情况,需要对结构进行建模。
建模可以通过一定的工具软件实现,或者手工建立结构模型。
模型的建立需要考虑到其复杂性和具体的应用场景。
构建好结构模型之后,需要对其进行精细化剖分得到单元网格,并进行编号。
3.3 确定边界条件在进行力学分析时,还需要考虑结构的边界条件。
边界条件可以通过指定某些点的坐标或者某些角度的变化来确定。
因此,在进行计算时需要根据具体情况设定边界条件,以便进行后续的计算。
3.4 进行数值模拟计算运用有限元法的基本原理,将每个单元的机械性质进行计算,根据力学分析的情况,可以得到结构节点的位移、应变和应力等参数。
非线性有限元之非线性求解方法平衡回顾✧静态平衡是内力I和外载P力量平衡;✧在非线性问题中,模型的内力I可以是以下量的非线性函数;✧在非线性问题中,模型的外力P也可以是某些量的非线性函数,如位移u和时间t。
非线性求解方法1.已知一个分析,知道结构总载荷和初始刚度,目的是找到最后的位移。
线性分析中,一次计算就能求解出最终位移;非线性问题中不可能,因为结构刚度随着结构变形而改变。
2.求解这类非线性问题需要的是一种增量\迭代技术,获得的解是非线性问题准确的近似。
这些方程通常没有精确解。
3.Abaqus使用迭代求解该方程:使用牛顿拉普森方法求解近似解,使误差最小。
4.Abaqus用法:1)载荷历史被拆解为一系列的分析步;每个分析步拆解为一系列增量步;用户为初始时间增量猜测一个值;Abaqus使用自动增量算法确定其他的增量步。
在每个增量步结束时,Abaqus根据载荷与时间关系计算当前负载大小2)使用牛顿拉普森程序迭代求解每个增量结束时的解;根据收敛容差判断牛顿拉普森程序的收敛;如果迭代不收敛,减少增量步的大小;然后使用小增量步重新进行计算。
5.分析步、增量步、迭代步1)分析步仿真载荷历程含有一个或多个分析步。
2)增量步是分析步的一部分;在静态问题中,总载荷被分成很小的增量步。
以便可以沿着非线性路径求解。
3)迭代步迭代步是增量步中寻找平衡解得一次计算尝试。
5.牛顿拉普森方法Abaqus/Standard 基于牛顿拉普森方法的增量迭代求解技术,该方法是无条件稳定(任何大小的增量步都可以)。
增量步大小影响动态分析精度,每个增量步通常要求多次迭代才能满足收敛要求,每个分析步通常有多个增量步,牛顿拉普森定义了一个残差为0位移曲线。
6.牛顿拉普森方法基础。
平衡是u的非线性方程,牛顿拉普森迭代求解在Cu 处的线性方程,Cu是位移u的修正量。
7.残差定义为了得到线性方程组,重写一下平衡方程,R(u)是u的残差。
这个残差表示的是位移u处不平衡力。
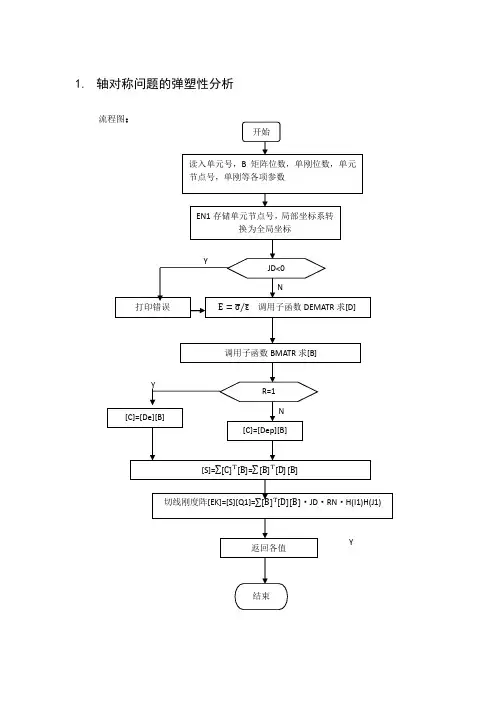
1. 轴对称问题的弹塑性分析
流程图 :
节点号,单刚等各项参数
EN1 存储单元节点号, 局部坐标系转
换为全局坐标
N
打印错误
调用子函数 DEMATR 求[D]
调用子函数 BMATR 求 [B]
切线刚度阵 [EK]=[S][Q1]=
· JD ·RN ·H(I1)H(J1)
返回各值
Y
读入单元号, B 矩阵位数,单刚位数,单元
开始
JD<0
[C]=[De ]
[B]
R=1
N
[C]=[Dep][B]
解析解。
厚壁筒受内压,采用Mises 屈服准则
经计算知,当t=()时,材料处于弹塑性交界面。
弹性区为:
塑性区:
交界处有:,
最后解得残余应力为:
(7a)
有限元网格信息图:(7b) (8a) (8b)
(1)
(2)
(3)
(4)
(5)
(6)
图1 有限元网格
输入数据文件内容(详细信息见附件):
DATA(1)
NNODE MELEM IFU IFW IPF IPR NPP NRM HAC MSF NULOAD EXP
NM(1-MELEM) NN
NN(1-NNODE) R Z
NFU(1-IFU) FU
NFW(1-IFW) FW
MPQ(1-IPF) NPQ*PQ
NPRNRZ(1-IPR) PRNRZ
E EMU SSS HH UNLOAD
对理想塑性材料厚壁筒,从初始状态开始,历经加载后完全卸载。
这一过程中,厚壁筒内会产生残余应力。
沿径向R的残余应力如图2-3 所示。
图 2 径向残余应力 -半径曲线
图 2-3 中分别给出了径向残余应力和切向残余应力随半径的变化, 比较。
从图中可以看出, 程序解和解析解在数值上能够很好的吻合, 大的地方
有少许偏差, 这验证了程序计算结果的正确性。
最大误差发生在径向残余应力达到
10
并且和解析解进行了 只是在径向残余应力最 -0.2
-0.4
-0.6
-0.8
-1
-1.2
-1.4
-1.6
12
14
16
Radius R
18
20
-5
-10
-15
图 3 切向残余应力 -半径曲线
最大的地方,达 %。
因此,程序计算结果能够得到精确度比较高的解。
对于不同线性硬化材料的厚壁圆筒,硬度对应力分布的影响如图 4-5 所示。
图 4 硬度分别为和时的径向应力曲线
图 5 硬度分别为和时的径向应力曲线
如图 4 所示,随着硬度的增加, 径向应力随之减小, 而最大径向应力不在厚壁筒的表面。
图 5 中显示了不同硬度下, 切向应力随半径的变化。
两种不同硬度下的应力曲线有交点, 这说明硬
度越大, 弹性应力范围也就越大。
弹塑性的分界层位于应力突变点。
变形首先是弹
性变形,应力的增量
1
-1
-2
-3
-4 -5 -6 Radius R
基本呈线性而且斜率比较大,这是弹性区;塑性变形区,应力基本保持为水平线。
弹塑性分界层的位置就是图5 中曲线的突变点,不同的硬度的分界位置会有少许差别。
轴对称问题的几何非线性分析
流程图:
计算[C]=[DE][BB],[CC]=[M][G]
[S]= ,SS=
[EK]= *JD*RN*H(I1)H(J1)+ *JD*RN*H(I1)H(J1)
有限元网格信息图(输入文件在附件中给出)
输入数据文件(详细信息见附件):
DATA(3)
NNODE MELEM IPU IFW IPF IPR NPP EXP
NM(1-MELEM) NN
NN(1-NNODE) R Z
NFU(1-IFU) FU
NFW(1-IFW) FW
MPQ(1-IPF) NPQ*PQ
NPRNRZ(1-IPR) PRNRZ
E
EMU
周边固支受均布载荷作用的圆板,中心点的载荷-位移曲线如图5 所示。
图 7 圆板中心点的载荷 - 位移曲线
如图 7 中所示,线性解和非线性解在很大程度上具有一致性。
在初始的小变形情况下, 线性解和非线性解结果是一致的; 随着变形的增大, 小变形线性假设已不再适用, 就会产生 几何分线性问题, 导致了线性解和非线性解的偏差。
线性解要大于非线性解, 随着变形的增 大,非线性程度的增加, 两种结果的差值也会增大。
对均布载荷为 10 的情况,非线性解为,
TL 法和 UL 法的误差分别为 %和%。
2 4 6 8 -1 0000
456
Delta P
8 9 10
TL solutions UL solutions -1.4 123
附件
第一题输入文件(data1)
43 8 0 34 1 0 10 2 1 6
1 7
1e-6 8
1 1 4 6 7 8 5 3 2
2 6 9 11 12 1
3 10 8 7
3 11 1
4 16 17 18 1
5 13 12
4 16 19 21 22 23 20 18 17
5 21 24 2
6 2
7 2
8 25 23 22
26 29 31 32 33 30 28 27 6 31 34 36 37 38 35 33 32 7
36 39 41 42 43 40 38 37 8
1 9
2 1 0
3 1 1
4 1 2
5 1 3
14 37 21
15 38 23
16 39 24
17 40 25
18 41 26
19 42 28
20 43 29
21 1 30
22 3 31
23 4 33
24 5 34
25 6 35
26 8 36
27 9 38
28 10 39
29 11 40
30 13 41
31 14 43
32 15 1 4 0 0
33 16
34 18
35 19
36 20
(Data2)
43 8 0 34 1 0 10 2 1 4 13 36
1 14 37
1e-6 15 38
1 1 4 6 7 8 5 3
2 16 39
2 6 9 11 12 1
3 10 8 7 17 40
3 11 1
4 16 17 18 1
5 13 12 18 41
4 16 19 21 22 23 20 18 17 19 42
5 21 24 2
6 2
7 2
8 25 23 22 20 43
6 26 29 31 32 33 30 28 2
7 21 1
7 31 34 36 37 38 35 33 32 22 3
8 36 39 41 42 43 40 38 37 23 4
1 24 5
2 25 6
3 26 8
4 27 9
5 28 10
6 29 11
7 30 13
8 31 14
9 32 15
10 33 16
11 34 18
12 35 19
20 30 40
21 31 41
23 33 43
24 34 1 4 0 0
25 35
26 36
28 38
29 39
第二题输入文件(data3)
43 8 6 2 8 0 10 1 11
1e-6 2 12
1 1 4 6 7 8 5 3
2
3 13
2 6 9 11 12 1
3 10 8 7
4 14
3 11 1
4 16 17 18 1
5 13 12 5 15
4 16 19 21 22 23 20 18 17 6 16
5 21 24 2
6 2
7 2
8 25 23 22 7 17
6 26 29 31 32 33 30 28 2
7
8 18
7 31 34 36 37 38 35 33 32 9 19
8 36 39 41 42 43 40 38 37 10 20
42 43 41 43 1 3 2 3 3 3 4 3 5 3 6 3 7 3 8 3 21 22 23 24 25 26 27 28 29 30 31 32 33 34 35 36 37 38 39 40 41 42 43 1 2 3 41。