V形纯橡胶密封圈
- 格式:pdf
- 大小:146.19 KB
- 文档页数:2
V形密封圈1、密封原理V形密封圈截面为V形,也是一种唇形密封圈。
V形密封装置由支撑环、密封圈、压环三个部件组成。
V形密封圈的标准夹角为90°,特殊场合也用到60°。
支承环是支承V形密封圈的重要部件,其断面厚而结实、尺寸精确、凹形角和V形密封圈相同(90°)或稍大,使密封圈安放稳定。
压环的作用是给V 形密封圈造成一个初始压缩量,使其与被密封面充分接触,并可对V形密封圈的压缩量进行调节。
在自由状态下,V形圈的唇部外径大于填料腔的内径,唇的内径小于活塞杆的外径。
这样,装配后便有一定的变形。
由于支撑环的作用,这种变形只发生在唇的尖端,并在其接触部位产生压力,即使不施加压紧力,唇口也能封住一定的内压。
因为唇有“自封”作用,当介质工作压力升高时,唇尖改变接触形状和加大接触应力,唇部与被密封面贴合得更紧密,实现密封作用,介质压力升高接触应力相应升高。
介质工作压力很高时,可将几个V形圈组合使用,通过压环对V形圈施加压紧力,几个V形圈就组合成一整体,压紧力可根据介质压力调节。
泄漏介质即使通过了第一道V形圈,压力也会大为降低,通过第二道V形圈的唇部,压力在降一次,如此下去,内压将损失殆尽,最后,泄漏被阻止。
经压紧的3~4圈V形圈可封住60MPa或更高的内压。
V形密封圈只能单向起作用,当作复动式活塞密封时,必须采用对称布置的两组V形圈,此时活塞的尺寸大大加长,摩擦阻力也增加。
V形圈的材料以丁腈橡胶和氯丁橡胶最常用,天然橡胶用于对水和空气的密封,丁基橡胶用于不燃性液压油和磷酸酯系液压油。
氯橡胶用于各种化学品和高温。
当要求耐磨时,用聚氨酯橡胶。
夹织物橡胶也是V形圈常用材料,其特点是增加密封圈的刚度和强度,防止发生胶料挤出,间隙咬伤现象,使之适用于高压。
同时,在磨损过程中,橡胶先于织物产生磨损,当接触压力大的部位扩展,这样整个密封面的磨损趋于均匀,而摩擦却没有明显变化。
但是,夹织物橡胶密封圈的唇容易把滑动面上的油膜刮去,故润滑性比较差。
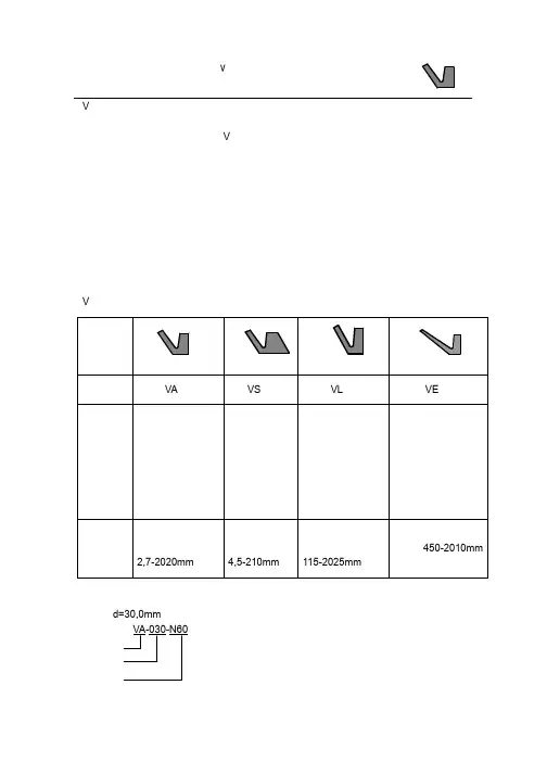
(2)V形密封圈(a)种类及结构材料华尔卡No.品名夹布合成橡胶V形密封圈合成橡胶V形密封圈夹布氟橡胶密封圈氟橡胶V形密封圈华尔氟龙V形密封圈掺填充材料华尔氟龙V形密封圈例:7631-2NO夹碳布华尔氟龙密封圈构 成 材 料夹布橡胶产品橡胶以外单体制品在增强材料棉布上涂抹上橡胶合成物,经加热加压模压而成。
在增强材料棉布上涂抹上氟橡胶,经加热加压模压而成。
将增强材料碳纤维布与聚四氟乙烯树脂(PTFE)层压、模压而成。
将丁腈橡胶合成物单体加热加压模压而成。
将氟橡胶加热加压模压而成。
用聚四氟乙烯树脂压缩加工而成的华尔氟龙棒切削加工而成。
对掺填充材料聚四氟乙烯树脂棒切削加工而成。
处理冷油、温油、溶剂的液压机器的活塞杆、活塞、柱塞(JIS B 2403-F)以JIS规格为标准制造而成,用于液压机器的活塞杆、活塞、柱塞(JIS B 2403-H、JIS W 1516)150℃以内,耐药液的往复运动的活塞杆及柱塞150℃以内,耐药液的往复运动的活塞杆及柱塞处理-100℃~+150℃温度范围内的酸、碱、药液等的调节阀阀、减压阀、搅拌机等的阀杆密封、填料密封等-100℃~+150℃,柱塞泵及气缸用密封圈等备 注V形密封圈的种类及标记种类的符号种 类标记种类的符号橡胶V形密封圈夹布橡胶V形密封圈备 注使用橡胶作为材料使用夹布橡胶作为材料模压密封圈(b )填料部位设计要领(甲)模压密封圈安装部位的表面粗糙度与硬度0.1~0.8a(参照下表)密封圈材质项 目橡胶、聚氨酯、华尔氟龙夹布橡胶、夹华尔氟龙碳布密封圈的滑动面粗糙度滑动面以外的密封圈接触面粗糙度其它面的粗糙度密封圈的滑动面的硬度根据速度、压力而定,但希望在Hs60以上。
(乙)密封圈插入口边缘的倒角为避免在螺纹部位或锐利的边缘部位安装密封圈或运动时弄伤密封圈,必须在边缘部分做出倒角,或安装R。
约30°倒角倒角量槽幅度约30°倒角单位mm槽 幅 度倒 角 量 6以下(直径则为1.6) 6以上10以下(直径则为3.0)10以上15以下(直径则为5.0)15以上20以下(直径则为7.0)20以上(直径则为9.0)倒角量倒角量(丙)在往复运动活塞头等处使用2组V形密封圈时、是不正确的使用例,、是正确的使用例。
密封圈的使用V型密封圈是一种轴向作用的弹性橡胶密封圈,用作转轴无压密封。
密封唇有较好的活动性和适应性,可补偿较大的公差和角度偏差,可防止内部油脂或油液向外漏泄,也可防止外界的溅水或尘埃的侵入。
V型密封圈O型密封圈主要用于静密封和往复运动密封。
用于旋转运动密封时,仅限于低速回转密封装置。
矩型密封圈一般安装在外圆或内圆上截面为矩形的沟槽内起密封作用。
Y型密封圈广泛应用于往复动密封装置中。
另外,还有弹簧张力(弹簧蓄能)密封圈,是在PTFE密封材料之中加入一个弹簧,有O型弹簧,V型弹簧,U型弹簧。
孔用YX型密封圈简单描述产品用途:用于往复运动液压油缸中活塞的密封。
适用范围:TPU:一般液压缸、通用设备液压缸。
CPU:工程机械用液压缸及高温、高压用油缸。
材质:聚氨酯TPU、CPU、橡胶产品硬度:HS85±2°A 工作温度:TPU:- 40~+80℃ CPU:-40~+120℃ 工作压力:≤32Mpa 工作介质:液压油、乳化液YX型孔用挡圈简单描述产品用途:本标准适用于油缸工作压力大于16MPa时配合YX型密封圈使用,或油缸偏心受力时,起保护密封圈的作用. 工作温度:-40~+100℃ 工作介质:液压油、乳化液、水产品硬度:HS 92±5A 材质:聚四氟乙烯轴用YX型密封圈简单描述产品用途:用于往复运动液压油缸中活塞杆的密封适用范围:TPU:一般液压缸、通用设备液压缸。
CPU:工程机械用液压缸及高温、高压用油缸。
材质:聚氨酯TPU、CPU、橡胶产品硬度:HS85±2°A 工作温度:TPU:- 40~+80℃ CPU:-40~+120℃ 工作压力:≤32Mpa工作介质:液压油、乳化液轴用YX型挡圈简单描述产品用途:本标准适用于油缸工作压力大于16MPa时配合YX型密封圈使用,或油缸偏心受力时,起保护密封圈的作用. 工作温度:-40~+100℃ 工作介质:液压油、乳化液、水产品硬度:HS 92±5A 材质:聚四氟乙烯根据:企业标准O型橡胶密封圈(GB1235-76)简单描述产品用途:本标准中O型橡胶密封圈适用于液压气动系统及各种机械设备和元器件,在规定的压力,温度以及不同的液体和气体介质中,于静止或运动状态下起密封作用。
V型聚夹布橡胶组合密封圈产品用途:用于往复运动超高压液压油缸活塞与活塞杆地密封适用范围:冶金、矿山、通用设备液压油缸、反应釜.材质:橡胶夹布织物复合材料工作温度:-40~120℃工作压力:≤60MPa工作介质:液压油标准来源:HG4-337-66(A型>支持环密封环压环 V型夹织物密封圈内径×外径×高度内径×外径×高度内径×外径×高度单价<元/套)46×64×8/4 45×65×10/5.3 46×64×12/8.451×69×8/4 50×70×10/5.3 51×69×12/8.4 15.451×74×8/4 50×75×10/5.3 51×74×12/8.4 056×79×8/4 55×80×10/5.3 56×79×12/8.4 16.864×79×8/4 60×80×10/5.3 64×79×12/8.4 064×84×8/4 60×85×10/5.3 64×84×12/8.4 066×89×8/4 65×90×10/5.3 66×89×12/8.4 22.471×94×8/4 70×95×10/5.3 71×94×12/8.4 25.276×99×8/4 75×100×10/5.3 76×99×12/8.4 26.681×104×8/4 80×105×10/5.3 81×104×12/8.4 2886×109×8/4 85×110×10/5.3 86×109×12/8.4 30.891×114×8/4 90×115×10/5.3 91×114×12/8.4 32.296×119×8/4 95×120×10/5.3 96×119×12/8.4 33.6101×119×8/4 100×120×10/5.3 101×119×12/8.4 35101×124×8/4 100×125×10/5.3 101×124×12/8.4 35112×133×8/4 110×135×10/5.3 112×133×12/8.4 40.6112×138×10/5.6 110×140×12/6.4 112×138×15/10.5 0122×148×10/5.6 120×150×12/6.4 122×148×15/10.5 42127×148×10/5.6 125×150×12/6.4 127×148×15/10.5 42132×158×10/5.6 130×160×12/6.4 132×158×15/10.5 44.8 142×168×10/5.6 140×170×12/6.4 142×168×15/10.5 49152×178×10/5.6 150×180×12/6.4 152×178×15/10.5 56162×188×10/5.6 160×190×12/6.4 162×188×15/10.5 60.2 172×198×10/5.6 170×200×12/6.4 172×198×15/10.5 64.4 182×208×10/5.6 180×210×12/6.4 182×208×15/10.5 72.8 202×228×10/5.6 200×230×12/6.4 202×228×15/10.5 84222×248×10/5.6 220×250×12/6.4 222×248×15/10.5 89.6 232×258×10/5.6 230×260×12/6.4 232×258×15/10.5 93.8 262×288×10/5.6 260×290×12/6.4 262×288×15/10.5 106.4 b5E2RGbCAP272×298×10/5.6 270×300×12/6.4 272×298×15/10.5 112302×328×10/5.6 300×330×12/6.4 302×328×15/10.5 130.2 p1EanqFDPw322×358×12/5.6 320×360×16/8.5 322×358×20/13.6 179.2 DXDiTa9E3d362×398×12/5.6 360×400×16/8.5 362×398×20/13.6 211.4 RTCrpUDGiT402×438×12/5.6 400×440×16/8.5 402×438×20/13.6 242.2 5PCzVD7HxAV型聚夹布橡胶组合密封圈产品用途:用于往复运动超高压液压油缸活塞与活塞杆地密封适用范围:冶金、矿山、通用设备液压油缸、反应釜.材质:橡胶夹布织物复合材料工作温度:-40~120℃工作压力:≤60MPa 工作介质:液压油标准来源:HG4-337-66(A型> 支持环密封环压环 V型夹织物密封圈内径×外径×高度内径×外径×高度内径×外径×高度单价<元/套)46×64×8/4 45×65×10/5.3 46×64×12/8.4 51×69×8/4 50×70×10/5.3 51×69×12/8.4 15.4 51×74×8/4 50×75×10/5.3 51×74×12/8.4 0 56×79×8/4 55×80×10/5.3 56×79×12/8.4 16.8 64×79×8/4 60×80×10/5.3 64×79×12/8.4 064×84×8/4 60×85×10/5.3 64×84×12/8.4 0 66×89×8/4 65×90×10/5.3 66×89×12/8.4 22.4 71×94×8/4 70×95×10/5.3 71×94×12/8.4 25.2 76×99×8/4 75×100×10/5.3 76×99×12/8.4 26.6 81×104×8/4 80×105×10/5.3 81×104×12/8.4 28 86×109×8/4 85×110×10/5.3 86×109×12/8.4 30.8 91×114×8/4 90×115×10/5.3 91×114×12/8.4 32.2 96×119×8/4 95×120×10/5.3 96×119×12/8.4 33.6 101×119×8/4 100×120×10/5.3 101×119×12/8.4 35 101×124×8/4 100×125×10/5.3 101×124×12/8.4 35 112×133×8/4 110×135×10/5.3 112×133×12/8.4 40.6 112×138×10/5.6 110×140×12/6.4 112×138×15/10.5 0 122×148×10/5.6 120×150×12/6.4 122×148×15/10.5 42 127×148×10/5.6 125×150×12/6.4 127×148×15/10.5 42 132×158×10/5.6 130×160×12/6.4 132×158×15/10.5 44.8 142×168×10/5.6 140×170×12/6.4 142×168×15/10.5 49 152×178×10/5.6 150×180×12/6.4 152×178×15/10.5 56 162×188×10/5.6 160×190×12/6.4 162×188×15/10.5 60.2 172×198×10/5.6 170×200×12/6.4 172×198×15/10.5 64.4 182×208×10/5.6 180×210×12/6.4 182×208×15/10.5 72.8 202×228×10/5.6 200×230×12/6.4 202×228×15/10.5 84 222×248×10/5.6 220×250×12/6.4 222×248×15/10.5 89.6 232×258×10/5.6230×260×12/6.4 232×258×15/10.5 93.8 262×288×10/5.6 260×290×12/6.4 262×288×15/10.5 106.4 272×298×10/5.6 270×300×12/6.4 272×298×15/10.5 112 302×328×10/5.6 300×330×12/6.4 302×328×15/10.5 130.2 322×358×12/5.6 320×360×16/8.5 322×358×20/13.6 179.2 362×398×12/5.6 360×400×16/8.5 362×398×20/13.6 211.4 402×438×12/5.6 400×440×16/8.5 402×438×20/13.6 242.2 jLBHrnAILg现有模具规格夹布支撑环、V型密封环、压环地部分规格400*440。
旋转轴用密封圈种类密封圈是一种常见的工程零件,用于阻止液体或气体的泄漏,并且在旋转轴上有不同的种类。
下面将介绍几种常见的密封圈种类。
1. O型密封圈O型密封圈是最常见的一种密封圈,它的截面呈圆形。
O型密封圈通常由橡胶或塑料制成,具有良好的弹性和耐磨性。
它可以用于静态密封或旋转轴的动态密封。
O型密封圈适用于各种工业领域,如汽车、航空航天、机械等。
2. V型密封圈V型密封圈的截面呈V字形,它可以在高压条件下提供较好的密封效果。
V型密封圈通常由橡胶或聚氨酯等材料制成,具有较好的耐磨性和耐腐蚀性。
V型密封圈广泛应用于液压系统、气动系统等领域。
3. U型密封圈U型密封圈的截面呈U字形,它的主要作用是防止液体或气体的泄漏。
U型密封圈通常由橡胶或硅胶等材料制成,具有良好的耐温性和耐化学性。
U型密封圈适用于静态密封或旋转轴的动态密封。
4. Y型密封圈Y型密封圈的截面呈Y字形,它可以提供较好的密封性能和耐腐蚀性能。
Y型密封圈通常由聚氨酯或氟橡胶等材料制成,适用于高温、高压和腐蚀介质的密封。
5. 扁平密封圈扁平密封圈是一种常见的密封圈,它的截面呈矩形或半圆形。
扁平密封圈通常由金属材料制成,如铜、铝等,具有良好的耐压性和耐腐蚀性。
扁平密封圈适用于高温、高压和腐蚀介质的密封。
以上是几种常见的旋转轴密封圈种类,它们在不同的工程领域中起着重要的作用。
选择合适的密封圈种类可以确保旋转轴的正常运转,并防止泄漏问题的发生。
在实际应用中,根据具体的工作条件和要求来选择适合的密封圈种类,以确保密封效果和使用寿命。
v型夹布密封圈标准V型夹布密封圈标准。
V型夹布密封圈是一种常用的密封元件,广泛应用于机械设备、汽车、航空航天等领域。
它具有良好的密封性能和耐磨性,能够有效防止液体或气体的泄漏,保证设备的正常运行。
为了确保V型夹布密封圈的质量和性能达到标准要求,制定了相应的标准,以便生产和应用过程中的统一规范。
一、V型夹布密封圈的材料要求。
V型夹布密封圈通常由橡胶、聚氨酯、氟橡胶等材料制成。
这些材料要求具有耐高温、耐腐蚀、耐磨损等特性,以适应不同工况下的使用要求。
同时,材料的硬度、弹性模量、拉伸强度等物理性能也需要符合相关标准规定。
二、V型夹布密封圈的尺寸和公差要求。
V型夹布密封圈的尺寸和公差是保证其安装和使用的重要依据。
在标准中对V 型夹布密封圈的内径、外径、厚度、角度等尺寸进行了详细规定,同时也规定了相应的公差范围。
在生产和使用过程中,必须严格按照标准要求进行检验和控制,确保尺寸和公差符合标准规定。
三、V型夹布密封圈的表面质量要求。
V型夹布密封圈的表面质量直接影响其密封性能和使用寿命。
标准对V型夹布密封圈的表面光洁度、表面无裂纹、气泡、杂质等缺陷进行了详细描述,并规定了相应的检验方法和标准要求。
生产厂家在生产过程中必须严格控制每一个工序,确保V型夹布密封圈的表面质量符合标准要求。
四、V型夹布密封圈的性能要求。
V型夹布密封圈的性能包括密封性能、耐磨性、耐油性、耐高温性等多个方面。
标准对V型夹布密封圈的各项性能进行了详细的测试方法和要求,确保其在不同工况下能够正常工作,并具有较长的使用寿命。
五、V型夹布密封圈的标志和包装要求。
为了便于生产和使用过程中的识别和管理,标准对V型夹布密封圈的标志和包装也进行了规定。
生产厂家必须在V型夹布密封圈上清晰标注产品型号、规格、生产日期等信息,并进行合适的包装,以防止在运输和存储过程中受到损坏。
六、V型夹布密封圈的检验和验收。
标准对V型夹布密封圈的检验和验收进行了详细的规定,包括抽样检验、检验方法、验收标准等内容。
V形橡胶密封V-type rubber seal;V-packing 往复运动用橡胶密封的一种。
截面为V 形,很少单独使用,一般由带有夹布织物的压环、支撑环和数个V形密封环组合使用,密封环的个数取决于密封压力大小。
V形密封环由胶布或纯橡胶模压而成,胶料一般使用NBR,压环和支环一般用较硬的胶布压制,支撑环也可用硬质塑料压制。
V形密封组合件主要用于重型设备的活塞杆、塞柱。
此种密封组合件能提供很好的稳定性和较好的耐磨性,并可防止密封环被挤入间隙,即使在苛刻条件下,如轴向或径向振动、突然的压力、温度变化等仍可提供最佳的密封效果。
适用于液压油、水和乳化液等介质,使用压力可达40 MPa以上,表面线速度一般为0.5m·s-1,使用温度为-30~120 ℃。
鼓形橡胶密封rubber drum seal;double acting fluid seal 复合往复密封的一种。
截面为鼓形,又称活塞密封圈,系为单向和双向动作的活塞而设计的。
根据使用要求有不同的截面结构,但都是由NBR和胶布直接模压而制成的复合型弹性密封圈。
使用时胶布须上两个塑料挡圈或L型衬套,通过密封唇的过盈及对断面的压缩使唇紧压于被密封面而保证初始密封。
这类密封特别适用于大型液压提升塞柱、稳定的液压缸等,其允许工作压力高达 75 MPa,线速度为0.5 m多唇往复橡胶密封multiple lip reciprocating rubber seal 具有两个以上密封唇的复合橡胶密封件。
根据使用条件有不同的截面结构。
大多由NBR和带织物的胶布层组成,两者可以直接模压成一体,也可以分别模压、硫化后组合成密封体。
密封面均带有多个密封唇和润滑油沟槽,使其工作时密封唇表面保留少量润滑油,起到减少摩擦和散热的作用。
使用时密封的上、下一般有两个塑料挡圈,以防止密封圈在高压下被挤入间隙。
根据结构不同,其工作压力一般为20~40MPa,线速度为0.1~0.2m·s-1,可在液压油、水和乳化液中工作。
密封圈的种类及用途密封圈是用于封堵或防漏的一种密封元件。
根据不同的材料、结构和用途,可以分为多种不同的密封圈。
下面我将详细介绍几种常见的密封圈及其主要用途。
1.O型密封圈O型密封圈是一种常见的圆形截面密封圈,由橡胶材料制成。
它可以在静态和动态环境中使用,常被用作轴向或径向密封件。
O型密封圈具有良好的密封性能和耐磨损性,常见于机械设备、汽车和液压系统中。
2.Y型密封圈Y型密封圈是一个具有Y形横截面的密封圈,通常由橡胶或塑料材料制成。
由于其特殊的结构,Y型密封圈能够在高压条件下提供更好的密封效果。
它通常用于密封高压液体或气体,例如大型工程机械和飞机发动机。
3.V型密封圈V型密封圈的横截面呈V字形,它通常由橡胶材料制成。
V型密封圈具有较好的密封性能和抗压缩能力,适用于高温、高压和高速运动的密封环境。
它广泛应用于化工、石油和航空等行业,例如密封泵、阀门和汽缸。
4.X型密封圈X型密封圈是一种具有X字形横截面的密封圈,在四周都有双重密封边缘。
它通常由橡胶或塑料材料制成,具有良好的密封性能和耐磨损性。
X型密封圈常用于密封液压缸、气缸和阀门等设备。
5.U型密封圈U型密封圈的横截面形状为U形,通常由橡胶或聚氨酯材料制成。
它具有较好的密封性能和耐磨性,常用于密封油漆桶、化学容器和液压缸等设备。
6.翻边密封圈翻边密封圈是一种具有翻边结构的密封圈,适用于不同的密封需求。
它常用于密封容器、管道和输送系统,能够有效防止泄漏和渗漏。
7.波纹管密封圈波纹管密封圈是一种由金属材料制成的密封圈,具有波纹状的结构。
它具有较好的弹性和耐温性能,常用于高温、高压的密封环境,例如蒸汽锅炉、汽车发动机和航空发动机。
除了上述常见的密封圈,还有许多其他类型的密封圈,如方环密封圈、棉纱密封圈和油封等。
它们都有各自特定的用途,能够满足各种不同的密封需求。
总之,密封圈作为一种重要的密封元件,在各个领域都扮演着重要的角色。
具体选择什么类型的密封圈应根据具体的应用环境、使用温度和压力等因素来决定,以确保其能够实现良好的密封效果。
V型密封圈规格尺寸简介V型密封圈是一种常用的密封装置,广泛应用于机械设备和工业领域。
它具有优异的密封性能和耐磨性,能够有效防止液体、气体或粉尘的泄漏。
本文将就V型密封圈的规格尺寸进行全面、详细、完整且深入地探讨。
V型密封圈的基本结构V型密封圈的基本结构由主体部分、V型槽和两个支撑环组成。
主体部分是整个密封圈的主要密封区域,V型槽则用于容纳密封圈。
支撑环则用于固定和支撑密封圈,使其能够紧密贴合密封表面。
V型密封圈的优势V型密封圈相较于其他密封圈,具有以下优势: 1. 优异的密封性能:V型密封圈由橡胶等弹性材料制成,能够在较低的压力下实现良好的密封效果。
2. 耐磨性强:V型密封圈的V型槽结构使其能够更好地承受摩擦力和磨损,延长使用寿命。
3.适应性广:V型密封圈适用于不同形状和尺寸的密封表面,可满足各种工业设备的密封需求。
4. 安装简便:V型密封圈的结构简单,更换和安装都相对容易。
V型密封圈规格尺寸的选择因素在选择V型密封圈的规格尺寸时,需要考虑以下因素: 1. 密封表面尺寸:V型密封圈的规格尺寸应与密封表面的尺寸相匹配,确保密封效果。
2. 工作压力和温度:不同工作压力和温度下,V型密封圈的规格尺寸需要做相应调整,以保证密封效果和安全性。
3. 材料选择:根据工作条件选择合适的V型密封圈材料,材料的硬度和耐化学性能也会影响规格尺寸选择。
4. 安装方式:不同的安装方式和密封要求也会对规格尺寸产生影响。
V型密封圈规格尺寸的测量方法测量V型密封圈的规格尺寸是确保密封效果的重要步骤,以下为常用的测量方法:1. 外径测量:使用千分尺或测径卡测量V型密封圈的外径,确保与密封表面匹配。
2. 内径测量:使用针形测径器等工具测量V型密封圈的内径,以便确定其适用范围。
3. 截面厚度测量:使用千分尺等测量工具测量V型密封圈截面厚度,以确保其与密封槽的契合度。
V型密封圈规格尺寸的常见规范V型密封圈的规格尺寸常常符合以下规范: 1. GB/T 3452.1-2013《橡胶制品密封圈第1部分:弹性元件运动密封用V型圈》 2. ISO 6194-2:2009《液压系统和元件压缩介质用密封圈第2部分:V型圈》 3. DIN 3771-3《密封圈标准(建议采用) 第3部分:V型密封圈》V型密封圈规格尺寸的应用领域V型密封圈广泛应用于以下领域: 1. 液压和气压设备:V型密封圈可用于液压缸、气压缸等设备的密封,确保系统的正常运行。
v型组合密封圈标准V型组合密封圈标准。
V型组合密封圈是一种常用的密封元件,广泛应用于机械设备、汽车、航空航天等领域。
它具有良好的密封性能,能够有效防止液体或气体的泄漏,保护设备的正常运行。
为了保证V型组合密封圈的质量和性能,制定了一系列的标准,以便对其进行规范化生产和应用。
首先,V型组合密封圈的材料选择是关键。
标准规定了V型组合密封圈所采用的材料应具有良好的耐磨、耐腐蚀、耐高温、耐低温等性能。
常见的材料包括橡胶、聚氨酯、氟橡胶等,不同的工况和介质需要选择不同的材料,以确保密封圈的稳定性和耐用性。
其次,V型组合密封圈的尺寸和结构也受到标准的严格控制。
标准规定了V型组合密封圈的内径、外径、厚度、角度等尺寸参数,以及其结构特征和安装要求。
这些参数的准确性和一致性对于密封圈的密封性能和安装效果至关重要,因此必须严格按照标准要求进行生产和使用。
此外,V型组合密封圈的性能测试也是标准的重要内容之一。
标准规定了对V型组合密封圈进行耐压、耐磨、耐腐蚀、耐温度变化等性能测试,以验证其密封性能和可靠性。
只有经过严格的性能测试,符合标准要求的密封圈才能投入使用,确保设备的安全运行。
除了上述内容,标准还对V型组合密封圈的包装、运输、储存等环节进行了规范,以避免在这些环节中对密封圈造成损坏或质量变化。
同时,标准还对V型组合密封圈的使用和维护提出了相应的建议和要求,以延长其使用寿命,保持良好的密封效果。
总之,V型组合密封圈标准的制定和执行,对于保证密封圈的质量和性能,保障设备的安全运行具有重要意义。
只有严格按照标准要求进行生产、使用和维护,才能充分发挥V型组合密封圈的作用,为各行业的发展提供可靠的保障。
在实际生产和应用中,我们应当充分认识到V型组合密封圈标准的重要性,严格遵守标准要求,确保密封圈的质量和性能符合标准规定。
同时,也应当不断加强对V型组合密封圈标准的研究和完善,以适应不断发展变化的市场需求,推动V 型组合密封圈行业的健康发展。
各类密封圈的的介绍作者:admin来源:机电在线日期:2011-12-16 15:41:38 人气:23 标签:90V型密封圈是一种轴向作用的弹性橡胶密封圈,用作转轴无压密封。
密封唇有较好的活动性和适应性,可补偿较大的公差和角度偏差,可防止内部油脂或油液向外漏泄,也可防止外界的溅水或尘埃的侵入。
O型密封圈主要用于静密封和往复运动密封。
用于旋转运动密封时,仅限于低速回转密封装置。
V型密封圈一般安装在外圆或内圆上截面为矩形的沟槽内起密封作用。
Y型密封圈广泛应用于往复动密封装置中。
另外,还有弹簧张力(弹簧蓄能)密封圈,是在PTFE密封材料之中加入一个弹簧,有O型弹簧,V型弹簧,U型弹簧。
孔用YX型密封圈简单描述产品用途:用于往复运动液压油缸中活塞的密封。
适用范围:TPU:一般液压缸、通用设备液压缸。
CPU:工程机械用液压缸及高温、高压用油缸。
材质:聚氨酯TPU、CPU、橡胶产品硬度:HS852A 工作温度:TPU:- 40~+80℃ CPU:-40~+120℃ 工作压力:32Mpa 工作介质:液压油、乳化液YX型孔用挡圈简单描述产品用途:本标准适用于油缸工作压力大于16MPa时配合YX型密封圈使用,或油缸偏心受力时,起保护密封圈的作用. 工作温度:-40~+100℃ 工作介质:液压油、乳化液、水产品硬度:HS 925A 材质:聚四氟乙烯轴用YX型密封圈简单描述产品用途:用于往复运动液压油缸中活塞杆的密封适用范围:TPU:一般液压缸、通用设备液压缸。
CPU:工程机械用液压缸及高温、高压用油缸。
材质:聚氨酯TPU、CPU、橡胶产品硬度:HS852A 工作温度:TPU:- 40~+80℃ CPU:-40~+120℃ 工作压力:32Mpa 工作介质:液压油、乳化液轴用YX型挡圈简单描述产品用途:本标准适用于油缸工作压力大于16MPa时配合YX型密封圈使用,或油缸偏心受力时,起保护密封圈的作用. 工作温度:-40~+100℃ 工作介质:液压油、乳化液、水产品硬度:HS 925A 材质:聚四氟乙烯根据:企业标准O型橡胶密封圈(GB1235-76) 简单描述产品用途:本标准中O型橡胶密封圈适用于液压气动系统及各种机械设备和元器件,在规定的压力,温度以及不同的液体和气体介质中,于静止或运动状态下起密封作用。
v组密封尺寸规格
摘要:
一、前言
二、V组密封尺寸规格介绍
1.概述
2.具体规格
三、V组密封尺寸规格在实际应用中的优势
四、总结
正文:
【前言】
V组密封尺寸规格是一种广泛应用于机械行业的密封件尺寸标准,以其高度的通用性和良好的密封性能受到业界的欢迎。
本文将对V组密封尺寸规格进行详细介绍。
【V组密封尺寸规格介绍】
【概述】
V组密封尺寸规格,又称V形圈,是一种采用V形截面的密封件。
它具有良好的密封性能,能够在高温、高压等严酷环境下保持稳定的密封效果,因此被广泛应用于各种工业领域。
【具体规格】
V组密封尺寸规格根据其截面高度和截面直径分为多种类型,以适应不同工况的需求。
其尺寸规格主要包括:截面高度为1.5mm、2mm、3mm、
4mm、5mm等,截面直径为5mm至200mm不等。
此外,V组密封件还有多种材料可供选择,如丁腈橡胶、氟橡胶、硅橡胶等,以满足不同介质的密封需求。
【V组密封尺寸规格在实际应用中的优势】
【优势一】
V组密封尺寸规格具有优越的密封性能,其V形截面设计使得密封件在安装过程中能够自动调整,适应各种不规则的密封表面,从而实现良好的密封效果。
【优势二】
V组密封尺寸规格具有较高的通用性,一种尺寸的密封件即可适用于多种不同的工况,降低了库存成本,提高了生产效率。
【优势三】
V组密封尺寸规格能够承受高温、高压等严酷环境,且具有较长的使用寿命,降低了设备的维修成本和停机损失。
【总结】
总的来说,V组密封尺寸规格凭借其优越的密封性能、通用性和耐用性,成为了机械行业密封件的理想选择。
V形密封圈1、密封原理V形密封圈截面为V形,也是一种唇形密封圈。
V形密封装置由支撑环、密封圈、压环三个部件组成。
V形密封圈的标准夹角为90°,特殊场合也用到60°。
支承环是支承V形密封圈的重要部件,其断面厚而结实、尺寸精确、凹形角和V形密封圈相同(90°)或稍大,使密封圈安放稳定。
压环的作用是给V 形密封圈造成一个初始压缩量,使其与被密封面充分接触,并可对V形密封圈的压缩量进行调节。
在自由状态下,V形圈的唇部外径大于填料腔的内径,唇的内径小于活塞杆的外径。
这样,装配后便有一定的变形。
由于支撑环的作用,这种变形只发生在唇的尖端,并在其接触部位产生压力,即使不施加压紧力,唇口也能封住一定的内压。
因为唇有“自封”作用,当介质工作压力升高时,唇尖改变接触形状和加大接触应力,唇部与被密封面贴合得更紧密,实现密封作用,介质压力升高接触应力相应升高。
介质工作压力很高时,可将几个V形圈组合使用,通过压环对V形圈施加压紧力,几个V形圈就组合成一整体,压紧力可根据介质压力调节。
泄漏介质即使通过了第一道V形圈,压力也会大为降低,通过第二道V形圈的唇部,压力在降一次,如此下去,内压将损失殆尽,最后,泄漏被阻止。
经压紧的3~4圈V形圈可封住60MPa或更高的内压。
V形密封圈只能单向起作用,当作复动式活塞密封时,必须采用对称布置的两组V形圈,此时活塞的尺寸大大加长,摩擦阻力也增加。
V形圈的材料以丁腈橡胶和氯丁橡胶最常用,天然橡胶用于对水和空气的密封,丁基橡胶用于不燃性液压油和磷酸酯系液压油。
氯橡胶用于各种化学品和高温。
当要求耐磨时,用聚氨酯橡胶。
夹织物橡胶也是V形圈常用材料,其特点是增加密封圈的刚度和强度,防止发生胶料挤出,间隙咬伤现象,使之适用于高压。
同时,在磨损过程中,橡胶先于织物产生磨损,当接触压力大的部位扩展,这样整个密封面的磨损趋于均匀,而摩擦却没有明显变化。
但是,夹织物橡胶密封圈的唇容易把滑动面上的油膜刮去,故润滑性比较差。
密封圈型号1. 密封圈的概述密封圈是一种用于填充或封堵空隙、防止流体或气体泄漏的圆形零件。
密封圈通常由弹性材料制成,可以是橡胶、聚氨酯、聚四氟乙烯等。
根据不同的工作条件和需求,密封圈可以有不同的型号和规格。
2. 常见的密封圈型号以下是几种常见的密封圈型号:2.1 O型圈O型圈是一种通用的密封圈,其横截面呈圆形。
O型圈通常由橡胶材料制成,具有良好的弹性和耐磨性,在各种工业应用中广泛使用。
O型圈可用于密封静态或动态环境下的气体或液体。
2.2 X型圈X型圈是一种具有双唇结构的密封圈,其横截面呈X字形。
X型圈具有较高的密封性能,适用于高压、高温或腐蚀性介质。
X型圈通常由橡胶或聚氨酯等材料制成。
2.3 V型圈V型圈是一种具有V字形横截面的密封圈。
V型圈常用于密封旋转轴或杆。
V型圈由橡胶或聚氨酯等材料制成,具有良好的密封性能和耐磨性。
2.4 Y型圈Y型圈是一种具有Y字形横截面的密封圈。
Y型圈常用于密封齿轮箱、传动系统等设备。
Y型圈通常由橡胶或聚氨酯等材料制成,具有良好的密封性能和耐高低温性。
2.5 E型圈E型圈是一种横截面呈E字形的密封圈。
E型圈常用于密封汽车、机械等设备。
E型圈通常由橡胶或聚氨酯等材料制成,具有较强的耐磨性和抗老化性能。
3. 如何选择适合的密封圈型号在选择适合的密封圈型号时,应考虑以下几个因素:3.1 工作条件根据工作环境的温度、压力、介质的性质等因素,选择具有合适耐温、耐压、耐腐蚀性能的密封圈型号。
3.2 使用要求根据密封圈的使用要求,如密封性能、使用寿命等,选择适合的密封圈型号。
不同型号的密封圈具有不同的特性和优势,因此需要根据具体需求做出选择。
3.3 安装方式根据密封圈的安装方式,选择合适的型号。
不同型号的密封圈适用于不同的安装方式,如静态环境下的O型圈和动态环境下的V型圈。
4. 注意事项在使用密封圈时,需要注意以下几个方面:•密封圈的安装应符合相关规范和要求,确保其正确安装,避免因安装不当导致泄漏等问题。
橡胶密封圈的介绍及性能指标橡胶密封圈是振动筛中不可缺少的易损件,密封圈常用的分为U 型与V 型,主要用于子母网架与防尘盖上面,密封圈是为了更好的密封振动筛筛框之间的连接,防止物料外漏,同时减轻振动筛在振动中对筛框的破坏力。
密封圈常用的材质有橡胶密封圈、硅胶密封圈和聚氨酯密封圈三种,无特殊要求标机上面均配装橡胶密封圈;硅胶与聚氨酯密封圈主要用于有特殊特性的物料,比如高温、油性、腐蚀性等物料。
下面介绍一下硅胶密封圈的性能及优缺点:性能1.具有极好的密封性能,防水不漏。
2.保鲜效果好,完全无毒无味。
3.可置高强温下加热,不变形,不产生有害物质。
4.良好的抗拉力性能,经过专门检验测试。
5.长期使用不变黄不褪色。
6.耐电晕性,耐电弧性、耐高低温、耐老化性能好、耐高温性能、符合FDA及SGS标准。
硅胶密封圈的优点耐热性:硅橡胶比普通橡胶具有好得多的耐热性,可在150°下几乎永远使用而无性能变化,可在200°下连续使用10000小时,在350°下亦可使用一段时间。
广泛应用于要求耐热的场合,热水瓶密封圈,压力锅圈耐热手柄。
耐寒性:普通橡胶晚点为—20°—30°,即硅橡胶则在—60°—70°时仍具有较好的弹性,某些特殊配方的硅橡胶还可承受极低温度[1],如:低温密封圈。
硅胶密封圈缺点不建议使用于大部分厚缩的溶剂、油品、厚缩酸及经稀释后的氢氧化纳之中O型密封圈是一种截面为圆形的橡胶密封圈,因其截面为O形,故称其为O型橡胶密封圈,O形密封圈,也叫O形圈。
适用于装在各种机械设备上,在规定的温度、压力、以及不同的液体和气体介质中,于静止或运动状态下起密封作用。
在机床、船舶、汽车、航空航天设备、冶金机械、化工机械、工程机械、建筑机械、矿山机械、石油机械、塑料机械、农业机械、以及各类仪器仪表上等是大量应用着各种类型的密封元件。
主要用于静密封和往复运动密封。
v型填料组合密封圈标准
V型填料组合密封圈是一种常用于密封设备的密封结构。
其标准通常包括以下几个方面:
1. 尺寸标准:V型填料组合密封圈的尺寸应符合标准规定的范围。
一般来说,尺寸包括总高度、内外径、工作宽度等。
2. 材料标准:V型填料组合密封圈的材料应符合标准规定的要求。
常见的材料有橡胶、聚氨酯、聚四氟乙烯等,具体选择材料应根据使用环境和介质特性进行。
3. 产品标准:V型填料组合密封圈应符合标准规定的产品性能要求。
这些性能要求可能涵盖耐温性、耐压性、耐化学腐蚀性、密封性能等。
4. 安装标准:V型填料组合密封圈的安装应符合标准规定的方法和要求。
例如,安装时需要保证填料环的形状和尺寸正确,表面清洁,安装的过程中不得损坏填料环。
以上是一般常见的V型填料组合密封圈的标准,实际应用中
可能会有不同的标准和规范,具体选择应根据具体的设备和要求来确定。