工程变更管理流程图
- 格式:doc
- 大小:40.00 KB
- 文档页数:2
工程变更管理程序(IATF16949/ISO9001-2015)1.目的明确将工程变更项目内容知会相关部门,确保产品变更的正确性。
2.适用范围本公司内部变更及客户需求变更。
3.职责3.1业务部:负责客户变更需求的申请,通知工程变更处理。
3.2工程部:负责按变更申请单内容将相关图纸和资料进行变更。
3.3生产部:负责按变更内容实施作业。
3.4品质部:负责变更后的产品进行的检验。
4.定义4.1ECR:工程变更申请单(Engineering Change Request)4.2ECN:工程变更通知单(Engineering Change Notice)5.作业内容5.1变更申请:5.1.1当客户提出变更通知时,由业务部填写《工程变更申请单》提出申请,业务部需与客户沟通确认在制订单的处理方式、截止日期,及是否要重新送样承认等事项,注明于变更申请单。
5.1.2当内部提出变更需求时,由需求部门填写《工程变更申请单》提出申请,并自行注明在制订单的建议处理方式。
5.1.3《工程变更申请单》需详细注明变更理由及变更事项,经部门主管核准后并会签至以下相关部门:A.生管:统计库存成品数量、在制品生产状态及数量。
B.物控:统计变更产品材料的库存数量。
C.采购:统计采购在途数量。
D.品质部:确定变更内容是否对质量造成影响。
E.制造部:确定变更内容是否对制造造成影响。
5.2变更确认:5.2.1工程确认:工程部依会签后的《工程变更申请单》,确定变更内容是否对生产工艺、制造成本、产品特性/功能及外观等造成影响,并对变更内容的可行性进行评估。
5.2.2客户确认:A.客户有书面变更通知的变更内容不需客户再回签;B.内部变更内容未对产品功能及外观造成影响的变更不需客户回签;C.内部变更内容已对产品功能及外观造成影响,工程需将《工程变更通知单》及变更后的《工程图》要求客户确认回签。
5.2.3如需重新送样承认的变更,参考“样品制作程序”作业。
工程变更管理流程图
变更规定说明
1.各部门提出工程更改申请时应填写《工程变更审批表》。
2.程序变更的处理原则上分为两个阶段:第一阶段为变更事项申报审批阶段;第二阶段为工程变更实施费用和工期申报审批阶段。
3.工程变更内容中必须明确变更的原因、尺寸、数量材料、人工、机械台班等工程量。
4.相关单位审批中的相关单位是指建设单位、设计单位、项目监理。
5.提议工程变更应从有利于工程出发,或加快竣工,或降低费用,或提高工程效率和价值、或提高安全性以及满足政府要求。
6.所有工程变更必须经过总监理工程师的签发,承包单位方可实施。
7.附件:应包括工程变更的详细内容、变更的依据,对工程造价及工期的影响程度,对工程项目功能、安全的影响分析及必要的图示。
工程变更附表
附表1
工程变更事项申报表
公司工程管理部门正职签字并盖章方为有效。
2.本表使用时应双面打印。
工程变更令
监理单位总监签章方为有效。
文件制修订记录1.0目的:在工程变更发生时,确保变更的过程处于受控状态,变更的产品满足客户的品质要求,确保对工程变更时的评审,验证和确认的管理。
2.0范围:适用于本公司量产前/后的设计及过程变更。
3.0权责:3.1研发部负责组织工程变更的评估归档,公司工艺文件变更的编制,下达变更指令等要求。
并负责工程变更的追踪确认及项目的验证。
3.2其他相关单位:工程变更需求的提出及反馈、工程变更的协助评估及变更项目的执行。
4.0定义:无5.0作业内容:5.1工程变更的时机及项目:5.1.1提升产品性能、可靠性的工艺流程变更。
5.1.2材料、规格的变更。
5.1.3异常需处理或客户抱怨需改善。
5.1.4合理化建议(降低成本、制程控制、现场改善等)。
5.2工程变更的提出:公司内部各部门提出工程变更要求,需填写《工程变更申请单》,经核准后交研发部组织评审。
5.3工程变更项目的评估:研发部在收到变更申请单后,组织相关部门或人员进行评审,包含:5.3.1技术可行性评估。
5.3.2原有材料、产品的处理评估。
5.3.3生产可行性评估。
5.3.4环保(RoHS)禁止物质的评估。
5.4变更项目的执行:5.4.1在工程变更评估可行后,由研发部填写《工程变更通知单》对变更的内容进行说明,包含:A.所需要更改的作业文件及预计完成日期。
B.原有产品及库存物料的处理方式。
C.相关部门所需要配合的内容及文件。
D.变更后产品的标识。
5.4.2《工程变更通知单》经核准后交由相关部门会签。
5.4.3变更后产品的标识按《产品标识及可追溯性控制程序》执行。
5.4.4对于客户要求或者是变更可能对客户的使用产生影响时,研发部应该对变更的内容通过业务部对客户进行说明;且客户有要求时,需将变更信息通知客户,或按要求提交PPAP。
5.5变更项目的验证:5.5.1在工程变更执行过程中,由研发部对工程变更项目进行追踪确认及验证。
5.5.2对于在验证过程中的不符合项由相关部门进行原因分析及改进。
工程变更管理流程图特殊状况变更管理流程图工程量清单错漏项管理流程图1.工程变更申请表(见附表1)2.工程洽商登记表(见附表2)3.工程变更审批表(见附表3)4.特殊状况变更审核表(见附表4)5.工程量清单错漏项审批表(见附表5)6.工程量清单错漏项估算状况一览表(见附表6)7.工程变更造价估算状况一览表(见附表7)8.深圳市交通运送委员会交通建设工程变更审批表(见附表8)9.深圳市交通运送委员会交通建设工程变更立案申请表(见附表9)10.政府投资项目设计变更、现场签证立案单(见附表10)11.工程变更令(见附表11)12.建设中心工程变更申报追踪表(见附表12)13.深圳市交通公用设施建设中心工程例会议题准备表(见附表13)14.建设中心工程设计专家征询意见表(见附表14)附表1: 工程变更申请表编号:工程变更申请表工程名称: 监理单位: 附注:本表一式三份, 业主、监理、施工单位各一份。
附表2: 工程洽商记录编号:工程洽商记录工程名称:附注:本表须经各方代表(经单位授权)签字, 无需盖章。
一式四份, 业主、监理、设计、施工单位各一份。
附表3: 工程变更审批表协议段:监理单位: 编号: 施工单位: 表号:专业: ()设()字第号本表一式四份, 业主、监理、设计院、承包人各一份。
附表4: 特殊状况变更审核表附表5: 工程量清单错漏项审批表协议段:监理单位: 编号: 施工单位: 表号:专业: ()设()字第号本表一式四份, 业主、监理、设计院、承包人各一份。
附表6: 工程量清单错漏项估算状况一览表工程名称: 合同段:监理单位: 编号:施工单位: 表号: 本表一式四份, 业主、设计、监理、承包人各一份。
附表7: 工程变更造价估算状况一览表工程名称: 合同段:监理单位: 编号:施工单位: 表号: 本表一式四份, 业主、设计、监理、承包人各一份。
附表8: 深圳市交通运送委员会交通建设工程变更审批表建设单位:项目名称: 单位: 万元填表阐明1、50万以上政府投资交通建设工程变更须填写此表, 详细审批流程按照深圳市交通运送委员会《交通建设工程变更管理规定(试行)》执行。
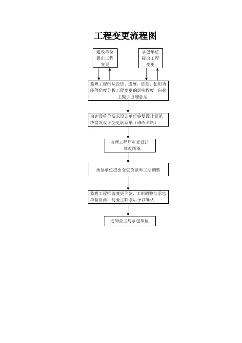
工程变更管理流程图
工程变更管理流程图
一、工程变更申请
1、变更申请提出
施工单位提出变更申请,并提交变更申请表。
2、变更申请审核
监理单位审核变更申请,并出具审核意见。
3、变更申请批准
业主批准变更申请,并出具批准意见。
二、工程变更评估
1、变更评估组织
业主组织变更评估,确定评估标准和评估方法。
2、变更评估分析
施工单位进行变更评估分析,并提交评估报告。
3、变更评估审核
监理单位审核评估报告,并出具审核意见。
4、变更评估批准
业主批准评估报告,并出具批准意见。
三、工程变更实施
1、变更实施准备
施工单位进行变更实施准备,包括技术交底、材料采购等。
2、变更实施执行
施工单位按照变更实施方案进行施工,监理单位进行现场监督。
3、变更实施验收
监理单位进行变更实施验收,并出具验收报告。
四、工程变更记录
1、变更记录整理
施工单位整理变更记录,并提交监理单位备案。
2、变更记录归档
监理单位将变更记录归档,并提交业主备案。
五、工程变更结束
1、变更结束确认
业主确认变更结束,并出具确认意见。
2、变更结束总结
业主进行变更结束总结,并提交工程总结报告。