2021年过程和产品的监视和测量控制程序
- 格式:doc
- 大小:59.01 KB
- 文档页数:7
过程和产品的监视和测量控制程序(ISO13485-2016)1.0目的对质量管理体系的各个过程及产品的特性进行监视和测量,以证实过程实现所策划的结果的能力及验证产品要求得到满足。
2.0范围适用于过程和产品的监视和测量控制。
3.0职责质量管理部负责过程和产品的监视和测量。
4.0程序4.1过程的监视和测量过程监视和测量的对象是质量管理体系的各个过程。
过程监视和测量的直接作用是证实过程是否保持其实现预期结果的能力。
4.1.1过程监视方式有内部审核、管理评审、过程审核(也称工序审核),产品质量审核、过程及其输出的监视和测量(可行时)、过程有效性评价、质量分析会等。
4.1.2过程测量方法是将与质量相关的各过程根据公司质量目标进行分解,转化为本过程具体的质量目标,如生产部的交验合格率、采购物资的合格率、研发部设计输出文件的失误率等,按部门工作考核办法考核,以保证目标的完成。
a)质量管理部负责使用控制图,对产品质量形成过程的关键过程进行监视和测量,对图形数据分布趋势进行分析,评价过程质量和过程实际能力之间的关系,以确定需要采取纠正或预防措施的时机;b)当过程产品合格率低于控制下限时,质量管理部应及时发出《纠正措施和预防措施处理单》,由责任部门分析原因(包括人员、设备、原材料、工艺规范、生产环境及检验等方面),采取相应的纠正或纠正措施,并跟踪验证实施效果。
4.2产品的监视和测量产品监视和测量的对象是产品特性,这种监视和测量应依据策划的安排和形成文件的程序在产品实现过程的适当阶段(如进货、半成品及成品)进行。
对产品特性监视和测量的目的,是为了验证所提供的产品是否已满足要求。
4.2.1研发部负责编制进货、半成品及成品检验规程,明确检验方式、检验项目、抽样方案、检测方法、判别依据和使用的检验工具和设备等。
4.2.2采购物资的监视和测量依据采购物资分类明细表和采购物资技术要求,编写《进货验证规程》,确定检验项目、检验数量等,对于无检测手段的采购物资,可通过供方检测报告、公司样品试用等方式进行。
过程和产品的监视及测量控制程序一、引言过程和产品的监视及测量控制程序是组织内部质量管理体系的重要组成部分。
它确保组织能够及时监测和控制生产过程和产品质量,以提供满足客户需求的产品和服务。
本文将详细介绍过程和产品的监视及测量控制程序的要求和实施方法。
二、程序目的过程和产品的监视及测量控制程序的主要目的是确保组织能够:1. 监视生产过程和产品的关键参数,以及与质量相关的数据;2. 采取适当的控制措施,确保过程和产品的质量满足规定的要求;3. 及时发现和纠正生产过程中的问题,以防止不合格产品的产生;4. 持续改进生产过程和产品的质量。
三、程序要求1. 确定监视和测量的对象根据组织的业务特点和产品特性,确定需要监视和测量的过程和产品。
这些对象应该是对产品质量有重要影响的关键参数,如尺寸、重量、力学性能等。
2. 制定监视和测量计划制定监视和测量计划,明确监视和测量的频率、方法和责任人。
计划应该覆盖所有需要监视和测量的对象,并确保能够及时获取和分析监测数据。
3. 确保测量设备的准确性和可追溯性确保使用的测量设备具有准确的测量能力,并能够追溯到国家或国际标准。
定期校准和检验测量设备,记录校准结果并保留相关证明文件。
4. 采集和分析监测数据按照监视和测量计划,及时采集监测数据,并进行分析和评估。
对于超出规定要求的情况,应及时采取控制措施,防止不合格产品的产生。
5. 纠正和预防措施发现问题时,应及时采取纠正措施,消除问题的根本原因。
同时,还应根据问题的性质和影响程度,采取相应的预防措施,避免问题的再次发生。
6. 持续改进通过持续监视和测量,及时发现和纠正生产过程中的问题,并进行改进。
定期评估监视和测量程序的有效性,并根据评估结果进行必要的调整和改进。
四、程序实施方法1. 确定监视和测量的对象与相关部门和人员进行沟通,了解产品质量要求和关键参数,确定需要监视和测量的对象。
可以借助质量手册、技术规范、客户要求等文件进行参考。
产品过程监视和测量控制程序1.目的对建筑工程施工质量进行监视,在施工过程的适当阶段对已形成的检验批、分项、分部(子分部)、单位(子单位)工程应具备的特性进行测量,以验证工程施工质量满足要求。
2.范围本程序适用于建筑工程施工过程的质量监视与控制,工程施工质量的测量与自行检查评定。
3.职责3.1 公司质量科是本程序的归口管理部门、负责工程施工质量监视和测量的管理;对建筑面积10000m2以上及公司创优工程的地基与基础、主体分部和竣工工程进行验收备案前的进行现场核查评定。
3.2 分公司质量科负责对项目经理部的施工质量监视和测量工作进行检查指导;对建设工程所含分部(子分部)工程进行报验前的自行检查评定。
(不含建筑面积10000m2以上及公司创优工程地基与基础、主体)3.3 项目经理部负责编制并实施检验和试验计划,对施工过程进行监视与控制,对检验批、分项工程进行报验前的自行检查评定。
3.4 公司、分公司质量科负责对项目经理部编制的施工组织设计中的检验计划进行审查。
公司、分公司技术科对试验计划进行审查,并对检测和试验工作进行监督管理。
4.工作程序4.1 过程表述4.2 项目经理组织有关人员对产品特性的监视和测量进行策划。
与监理单位就检验批划分、抽样方案、见证抽样、安全及功能检验达成共识。
编制项目检验和试验计划,并明确产品接收准则和所需的记录,编入施工组织设计。
检验和试验计划经批准后,由项目工程师组织工长、抽样员、质量检查员、器材员进行交底。
按计划要求和工程每月生产计划各专业质量检查员制定月检验计划,抽样员制定月试验计划。
系统和设备的检测与调试由专业工长和质量检查员制定方案,经项目工程师审查后报监理单位审批。
质量科、技术科分别负责对工程的检验和试验计划的实施情况进行监督指导。
4.3 工序检查4.3.1 各工序应按施工技术标准进行质量控制,每道工序完成后,应进行检查。
4.3.2 项目经理部工长对影响工程质量的“人”、“机”、“料”、“法”、“环”、五大因素进行控制和协调,以满足质量要求。
过程和产品的监视与测量控制程序1.目的对质量管理体系过程和产品特性进行监视和测量,以确保产品的符合性。
2.适用范围本程序适用于公司对质量管理体系过程的监视和测量,对外购/外协件、在制品、半成品和成品进行监视和测量。
3.职责3.1.质量保证部负责对质量管理体系过程和产品特性进行监视和测量。
3.2.其它相关部门配合做好过程和产品监视和测量具体实施工作。
4.工作程序4.1.过程的监视和测量4.1.1.质量保证部采用内部审核、有关质量检查活动,对质量方针、质量目标落实实施情况进行监视、测量和评价,并尽可能使用适当的统计技术进行分析,证实过程活动策划的结果的能力。
4.1.2.质量保证部对未达到策划结果的,应及时发出“纠正/预防措施报告”单,确保质量目标实现。
4.1.3.与质量相关的各过程应根据组织总目标进行分解,转化为本过程具体的质量目标,如制造部的工序产品合格率、技术部的设计输出文件失误率、采购部采购物资的合格率等。
为保证目标的顺利完成,需进行相应的监视和测量。
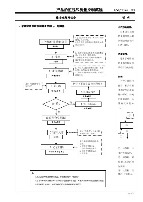
4.2.产品的监视和测量4.2.1.进货检验和试验控制4.2.1.1.对采购来的物资,仓库保管员核对送货单,确认物资品名、规格、数量等无误、包装无损后,置于待检区,填写“采购物资报检单”交给检验员。
4.2.1.2.检验员根据《技术协议》、《验收规范》等进行全数或抽样检验,做好检验记录,并将结论填写在“采购物资报检单”上。
4.2.1.3.验收合格,仓库保管员办理入库手续。
4.2.1.4.验收不合格,仓库保管员要及时通知采购员,并按《不合格品控制程序》进行处理。
4.2.1.5.因生产急需,外购物质来不及进行入厂验收时,在可追溯的前提下,由采购部负责办理“紧急放行申请单”,质量保证部部长根据以往供货情况进行审批。
批准后,一联采购部保存,一联质量保证部保存,一联交仓库。
A、仓库保管员根据批准的“紧急放行申请单”,按规定数量留取同批样品送检,其余由检验员在领料单上注明“紧急放行申请单”的编号及“紧急放行”字样作为标识,区别于其它批次的物质B、实施“紧急放行”的同时,本批外购物质仍按规定对该批产品履行正常的检验和试验。
精心整理过程和产品的监视和测量的主要控制程序1、对文件控制的符合性、适宜性、有效性进行监视和测量,(管理、工艺、技术、外来、作业文件等是否受控、更新、批准、发布、作废等)。
2、对记录控制的完整性进行监视和测量,(编目、标识、保存期、技术参数、项目齐全数据准确等)。
3、对内部沟通控制进行监视和测量,(内部沟通效果评价结果)。
4、对管理评审控制进行监视和测量,(管理评审报告实施验证)。
5678910行控制{11验与验证)。
1213、设备、1415、对顾客财产控制进行监视和测量,(零部件、图纸、大修、维修设备、产品质量、知识产权、个人信息等)。
16、对产品防护控制进行监视和测量,(易燃易爆危险品隔离贮存、出入库产品搬运、贮存)。
17、对监视和测量设备的控制进行监视和测量,(周期检定/校准、合格率、证书、有效期、失准、偏离等)。
18、对顾客满意度测量调查策划控制进行监视和测量,(调查表、座谈、回访、信函、电话调查结果)。
19、对内部审核控制进行监视和测量,(不符合项、观察项、纠正措施实施效果的验证结果)。
20、对过程和产品的监视和测量控制进行监视和测量,(质量管理体系和产品实现过程能力的结果、产品合格率、不合格品率、不良品率、进货产品合格率、退换率、监视点、控制点等)。
21、对不合格品控制进行监视和测量,(不合格率、返工、返修、更换、捡用、报废处置)。
22、对数据分析控制进行监视和测量,(统计技术应用、数据收集、图表分析结果)。
23、对持续改进控制进行监视和测量,(质量改进实施效果验证)。
24、对纠正和预防措施控制进行监视和测量,(纠正和预防措施实施效果的验证)。
25、对管理目标完成进行监视和测量,(指标分解、量化、数据收集、测算结果)。
26、环境因素识别、评价监视和测量,(污水排放、废气、废渣、废弃物、噪声、粉尘、冷媒泄露、烟尘、动物、植物保护等)。
2728293031。
32。
过程和产品的监视和测量控制程序1 目的公司通过对整合管理体系过程特性、产品特性进行监视和测量,使整合管理体系的要求和产品的符合性得到满足。
2 范围适用于公司整合管理体系过程和承建的所有产品的监视和测量控制。
3 术语和定义3.1 测量:以确定量值为目的的一组操作。
3.2 监视:监督、视察、检查、审核。
4 职责和权限4.1 技术质量管理部负责本程序的制定、修订和归口管理,公司、分公司、公司各职能部门负责指导、监督、检查,项目部实施本程序。
4.2 项目部物资设备部门负责对物资的监视和测量。
公司、分公司物资设备部负责监督、检查。
4.3项目部技术负责人、质检工程师、质检员负责中间产品和最终产品的监视和测量;公司、分公司、技术质量管理部负责指导、监督、检查。
4.4项目部技术负责人、质检工程师和质检员负责中间产品和最终产品监视和测量的具体实施;公司、分公司、技术质量管理部负责指导、监督、检查。
4.5 当发生生产和服务分包/外委/联营/外包时,各项目部技术负责人、质检工程师和质检员、项目部合同管理部门也应按本程序的规定,要求这些单位对过程和产品的监视和测量实施控制。
公司工程管理中心负责指导、监督、检查。
5 工作内容和要求5.1 过程的监视和测量5.1.1 过程的监视和测量的目的是:确认和保持整合管理体系中每一个过程持续满足其预期目的的能力。
5.1.2 过程的监视和测量以过程监督检查、部门考核为主,具体按程序文件、作业文件中规定的检查、考核要求进行。
5.1.3 项目部应针对管理职责、资源管理、产品实现和测量分析改进的各过程,通过建立目标、制定计划、编制工艺文件或专项方案或措施、进行综合技术交底等活动,确定各过程预期的能力和质量·环境·职业健康安全要求。
5.1.4 过程的测量和监视,依据程序文件、作业文件中规定的各项要求和法律法规、规范、规程、设计图纸、合同等,对各过程的实施活动和生产服务质量·环境·职业健康安全进行检查、考核、确认、评审、验证,在可行时进行测量。
1.目的对产品的监视和测量活动进行控制,确保对产品监视和测量的结果的正确性,流转或交付使用的产品符合规定质量要求。
2.适用范围适用于产品实现全过程对产品的监视和测量,包括进货检验、过程检验、出厂检验。
3.职责3.1 质量部负责产品检验规程的制定。
3.2质量部负责产品监视和测量活动的实施,建立并保存记录。
3.3 生产部负责对产品实现过程的监视和自检3.4厂长、技术部、质量部负责紧急放行的审核与批准。
4.过程活动4.1 产品监视和测量的总要求4.1.1总要求a) 质量部负责(必要时生产部配合),对具体的产品,依据其产品标准和规定产品特性的设计文件编制产品检验规程,确定检测控制点、检测项目、检测方法、判定依据和使用的测量设备。
关键过程,出厂检验应编制检验指导书。
b) 检验控制点包括:进货检验,工艺文件规定的检验控制点,关键过程、特殊过程作业指导书规定的检验控制点,装配测试、出厂检验检验指导书或检验表格规定的检验内容等。
c) 产品的监视和测量活动必须按检验规程进行,严格对照产品标准,设计文件、工艺规程等技术文件的要求,对产品质量的符合性做出科学、客观的判定结论。
用于产品监视和测量的设备应符合《监视和测量控制程序》的相关规定。
d)质量部负责对工艺纪律的执行情况进行监视,在检验控制点对产品实施测量,对不同检验状态的产品按《标识和可追溯性控制程序》的相关规定进行标识、放置。
对经检验不合格的产品或过程制品,严格执行《不合格品控制程序》的相关规定。
e) 供销、生产和操作人员在作业过程中对作业过程进行监视、对产品实现过程进行自检、互检。
在检验人员对产品进行检验时,支持和配合检验人员的工作。
f) 负责产品监视和测量的检验人员,必须在技能、经验或培训方面取得相应的资格。
g)检验规程的更改,应执行《文件控制程序》4.1.2 记录建立及保存按《记录控制程序》的要求建立和保存产品监视和测量的记录。
检验记录应符合以下方面的要求:a)包括检验项目、标准或设计要求、检验结果和检验结论等内容。
1目的对产品实现的必须的过程进行监视和测量,以确保满足顾客的要求;对产品特性进行监视和测量,以确保满足顾客的要求;对产品特性进行监视和测量,以验证产品要求得到满足。
2范围适用于对产品实现过程持续满足其预定目的的能力进行确认;对生产所用原材料生产的半成品和成品及采购产品进行监视和测量,其它物项的监视和测量可照相关条款执行。
3总则3.1监视和测量应遵循下列要求:1)国际国内标准2)合同要求3)有关法规3.2通过监视和测量确保不合格原材料不准投产;不合格半成品不准转序;不合格成品不准入库或销售。
3.3职责质量部负责对过程和产品的监视和测量。
在产品实现过程的各个阶段的最终接收应由与产品生产的操作或直接监督无关的人员来执行。
4程序4.1过程的监视和测量4.1.1生产部负责识别需要进行监视和测量的实现过程,它包括产品实现过程,也包括公司根据产品特点策划的各过程,特别是生产和服务运作的全过程。
4.1.2.过程持续满足预定目的的能力,是指过程实现产品并使其满足要求的本领。
4.1.3与质量相关的各过程应根据组织总目标进行分解,转化为本过程具体的质量目标,如生产部的工序产品合格率技术部的设计输出文件失误率、市场部采购产品的合格率、市场部的销售指标及顾客服务满意率等。
为保证目标的顺利完成,需进行相应的监视和测量:A)当过程产品合格率接近或低于控制下限时,质量部应及时发出“纠正预防措施表”,定出责任部门,对其从人员、设备、原材料、各类规程、生产环境及检验等方面分析原因并采取相应的措施。
B)当需要采取改进措施时,质保部制定相应的改进计划,经管理者代表审核,总经理批准后,交责任部门实施,质保部负责跟踪验证实施效果。
4.1.4应保留有效的对过程监视和测量的参数更改记录。
4.2产品监视和测量4.2.1质量部负责编制各类检测规程,明确检测点、检测频率、抽样方案、检测项目、检测方法、判别依据、使用的检测设备等。
4.2.2进货验证4.2.2.1原材料的监视和测量4.2.2.1.1供销部采购的原材料到厂后,先放入原材料待检区,市场部的采购员向质量部报验,填写“报验单”。
过程和产品的监视测量管理程序在任何项目或生产过程中,监视测量是确保质量和效率的重要环节。
本文将介绍过程和产品的监视测量管理程序,并提供相关的步骤和方法,以确保监视测量的准确性和有效性。
一、背景介绍过程和产品的监视测量管理程序旨在跟踪和记录项目或生产过程中的关键数据和指标。
这些数据和指标可以帮助我们评估过程的控制和产品的质量,及时发现并纠正问题,从而确保项目或生产过程的顺利进行。
二、程序步骤1.确定监视测量目标:在开始项目或生产过程之前,需要明确监视测量的目标。
这些目标应与项目或过程的目标相一致,并能提供有关过程控制和产品质量的有效信息。
2.选择适当的监视测量方法:根据监视测量的目标,选择适合的测量方法。
常用的监视测量方法包括:抽样检验、统计过程控制、仪器仪表测量等。
根据具体情况,可以结合使用多种方法。
3.确定监视测量频率:确定监视测量的频率,即监视测量的时间间隔。
这将取决于过程的稳定性和重要性。
对于稳定的过程,可以选择较低的频率进行监视测量;而对于不稳定或关键的过程,应增加监视测量的频率。
4.确保测量设备和工具的准确性:在进行监视测量之前,需要确保测量设备和工具的准确性。
校准和验证测量设备,并保持其正常的维护和保养。
确保测量设备和工具的准确性可以提高监视测量结果的可靠性。
5.收集和记录监视测量数据:按照设定的监视测量频率,定期进行监视测量,并记录测量数据。
确保数据的准确性和完整性,采用合适的记录方法和文件格式。
6.数据分析和问题识别:对收集到的监视测量数据进行分析,以识别可能存在的问题和异常情况。
通过统计和图表等方法,可以更直观地了解过程的变化和产品的质量情况。
7.问题纠正和改进措施:根据分析结果,采取相应的问题纠正和改进措施。
及时解决存在的问题,并进行持续改进,以优化过程和提升产品质量。
三、关键要点- 确定监视测量目标,并与项目或生产过程的目标相一致。
- 选择适当的监视测量方法,根据具体情况综合应用多种方法。
过程和产品的监视与测量控制程序1 目的对产品实现过程及产品质量进行监视和测量,以确保产品质量满足顾客和法律法规要求。
2 范围适用于产品实现过程及产品质量的监视和测量控制。
3 职责质检部负责本程序控制,相关部门配合控制。
4 工作程序4.1 过程的监视和测量(标准中8.2.3条款):4.1.1 管代负责产品实现过程的监视和测量,包括产品性能策划的各个过程。
4.1.2 与质量相关的各过程应根据质量目标进行分解,转化为本过程具体的质量目标,并进行相应的监视和测量。
4.2 产品的监视和测量(标准中8.2.4条款):4.2.1 质检部应配合生技部编制《进货检验规程》、《过程检验规程》和《最终检验规程》。
各规程应规定检验项目、检验依据、技术要求、检验方法、抽样方案与判定标准。
4.2.2 产品留样观察控制:a、应设立产品留样观察制度,以保留产品追溯的对照物。
质检部负责留样产品的抽样、标识、存放、记录、观察及定期抽检。
b、产品留样应在产品全性能检验合格后的包装箱内随机抽样,并在“留样观察记录”中记录留样产品的名称、规格型号、生产车间、班组及工号、生产日期、生产批号、灭菌批号、留样数量、日期、抽样人姓名、观察期限等。
c、本企业实行一般留样与重点留样:一般留样每批抽取3只样品;重点留样每年抽一个批号(5只/批)样品。
一般留样每年做一次外观检查,每两年做一次灭菌检查;重点留样每年做一次外观检查,每两年做一次全性能检查。
d、留样产品保存期限为三年。
4.2.3 检验和试验记录:按《记录控制程序》进行填写并保持。
5 相关文件(无)6 质量记录8.2.3-01 原辅材料检验记录8.2.3-02 成品检验记录8.2.3-03 留样观察记录产品全性能检验报告附加说明:本程序由质检部提出并归口;本程序由质检部编制;本程序由管理者代表批准。
1 目的对产品实现的必须的过程进行监视和测量,以确保满足顾客的要求;对产品特性进行监视和测量,以验证产品要求得到满足。
2 范围适用于对产品实现过程持续满足其预定目的的能力进行确认;对生产所用原材料、生产的半成品和成品进行监视和测量。
3 职责3.1 质量部门负责对过程进行监视和测量。
3.2质量部门负责对产品进行监视和测量。
4 程序4.1过程的监视和测量4.1.1 质量部门负责识别需要进行监视和测量的实现过程,它包括产品实现过程,也包括公司根据产品特点策划的各过程和子过程,特别是生产和服务运作的全过程。
4.1.2过程持续满足预定目的的能力,是指过程实现产品并使其满足要求的本领。
4.1.3与质量有关的各过程应根据组织总目标进行分解,转化为本过程具体的质量目标,如各车间的一次交验合格率、质量部门的文件更改完整率、销售部的物资到货合格率、销售部的合同履行率及顾客满意度等。
为保证目标的顺利完成,需进行相应的监视和测量;4.2 产品的监视和测量4.2.1技术质量部门负责编制各类检验规程,明确检测点、检测频率、抽样方案、检测项目、检测方法、判别依据、使用的检测设备等,质量部门负责按检验规程进行检验,并对检验人员进行授权。
4.2.2进货验证4.2.2.1对购进物资,采购部核对供方送货单,确认物料品名、规格、数量等无误、包装无损后,采购部填写“原材料检查报告单”内“供方名称”、“产品名称”、“数量”、等栏目后,交质量部门。
4.2.2.2检验员接采购部“原材料检查报告单”,按对应的检验要求进行检验,并填写“原材料检验报告单”中的检验项目及结论栏目。
a)若“原材料检验报告单”的结论为:合格,由检验员贴合格标识,同时检验员在“原材料检查报告单”上签字,交采购部/库房办理入库手续。
b) 若“原材料检验报告单”的结论为:不合格,由检验员作不合格标识,并将“原材料检验报告单”交质量部,按《不合格平控制程序》执行。
4.2.2.3 紧急放行:本公司不允许紧急放行。
过程与产品的监视和测量控制程序1目的对体系、产品、过程进行监视和测量,以确保满足顾客要求;对产品特性进行监视和测量,以验证产品要求得到满足。
2适用范围适用于公司对体系、产品、过程持续满足其预定目的的能力进行监视和测量;对生产所用原、辅料、工序产品及成品的监视和测量。
3职责3.1安全环保质量部是本程序的归口管理部门a.负责体系持续满足其预定目标的能力进行监视和测量;b.负责对质量管理体系过程进行监视和测量;c.负责原材料(外购、外协件)进厂、产品制造全过程的监视和测量;3.2生产车间负责对生产过程的生产进度、设备、安全等进行监视和和测量;3.3技术部负责生产过程满足工艺规程要求的监视和测量;3.4各部门负责本部门持续改进工作的监视和测量;4工作程序4.1过程的监视和测量公司对满足顾客要求所必须的实现过程(即管理活动过程、资源提供过程、产品实现过程和测量、分析改进过程)进行监视和测量,来控制过程符合要求,以证实每个过程满足其预期目标的持续能力,具体要求:4.1.1总经理负责公司资源提供、管理评审及持续改进;4.1.2安全环保质量部和技术部对体系持续满足其预定目标的能力以及对生产过程满足工艺规程要求进行监视和测量。
a.依据公司质量目标的分解,部长对各部门的质量目标(如产品合格率、顾客满意率、供方产品合格率、销售指标等),进行相应的监视和测量。
并填写“质量目标检查记录”。
b.通过内部审核对质量管理体系实施效果进行测量,及时发现问题,采取纠正和预防措施,证实质量管理体系实施结果是否达到了规定要求,以确保其有效运行。
c.针对公司产品的特殊性,对产品质量形成的特殊过程进行监视,明确过程质量和过程实际能力之间的关系,以确定需采取纠正预防措施的时机。
d.依据产品质量标准和工艺规程,对原材料、生产过程及成品是否符合工艺规定进行监控;确保产品实现过程满足工艺和规程的要求。
e.通过各种数据的收集、监视和测量,并进行统计分析,采取纠正和预防措施,确保公司持续改进的能力。
1 目的为了确保对质量环境管理体系各过程进行监视和测量,以确保满足顾客的要求;确保对产品特性及环境影响进行监视和测量,以验证产品要求得到满足,特制定并执行本程序。
2 适用范围适用于本公司质量环境管理体系各过程及产品的监视和测量。
3 职责3.1质检部组织对质量管理体系各过程的监视和测量,并负责外购原辅材料的化验。
3.2 安全生产技术部负责环境管理体系各过程的监视和测量。
3.3 各车间负责本车间生产过程的监视和测量,并配合实施质量环境管理。
3.4 供应部负责外购原辅材料的报验。
4工作程序4.1 系统的监视与测量质检部根据公司总目标进行分解,转化为本部门具体的质量环境目标,并进行相应的监视和测量。
按照《数据、信息分析控制程序》的规定,选用合适的统计技术,对关键过程参数进行测量,对数据进行分析,并将数据收集和分析结果报分管副经理,并制定采取纠正或预防措施。
4.1.1 公司每半年进行一次内审,每年进行一次管理评审,以便对监视和测量质量环境管理体系各个过程进行分析。
4.1.2 安全生产技术部通过各类工艺技术条件报表,结合日常现场检查,对生产过程进行监督和指导。
监视和测量的内容包括:各项技术条件满足技术规程要求的情况、每个过程持续满足其产品要求的能力、纠正措施和预防措施的有效性等。
4.1.3 各生产车间根据作业过程,对本车间生产过程进行监视和测量。
4.1.4 设备动力部通过设备运行和维修情况报表以及日常检查对设备运行情况监视和测量。
4.1.5 供应部负责原辅材料备品备件采购过程的监视和测量工作。
4.1.6 销售部负责产品交付及服务等过程的监视和测量。
运输队负责产品搬运过程的监视,并负责产品的贮存包装、防护过程的监视测量。
4.1.7 以上部门对于监视和测量的结果要采用统计技术进行分析形成分析报告,并将该报告上报管理者代表和有关部门,每年汇总为年度分析报告。
测量和监视发现的不合格应予以纠正,必要时采取纠正措施。
测量和监视的结果还应用于下阶段工作的改进,并作为管理评审的输入。
过程和产品的监视和测量控制程序(ISO13485-2016)1.0目的对质量管理体系的各个过程及产品的特性进行监视和测量,以证实过程实现所策划的结果的能力及验证产品要求得到满足。
2.0范围适用于过程和产品的监视和测量控制。
3.0职责质量管理部负责过程和产品的监视和测量。
4.0程序4.1过程的监视和测量过程监视和测量的对象是质量管理体系的各个过程。
过程监视和测量的直接作用是证实过程是否保持其实现预期结果的能力。
4.1.1过程监视方式有内部审核、管理评审、过程审核(也称工序审核),产品质量审核、过程及其输出的监视和测量(可行时)、过程有效性评价、质量分析会等。
4.1.2过程测量方法是将与质量相关的各过程根据公司质量目标进行分解,转化为本过程具体的质量目标,如生产部的交验合格率、采购物资的合格率、研发部设计输出文件的失误率等,按部门工作考核办法考核,以保证目标的完成。
a)质量管理部负责使用控制图,对产品质量形成过程的关键过程进行监视和测量,对图形数据分布趋势进行分析,评价过程质量和过程实际能力之间的关系,以确定需要采取纠正或预防措施的时机;b)当过程产品合格率低于控制下限时,质量管理部应及时发出《纠正措施和预防措施处理单》,由责任部门分析原因(包括人员、设备、原材料、工艺规范、生产环境及检验等方面),采取相应的纠正或纠正措施,并跟踪验证实施效果。
4.2产品的监视和测量产品监视和测量的对象是产品特性,这种监视和测量应依据策划的安排和形成文件的程序在产品实现过程的适当阶段(如进货、半成品及成品)进行。
对产品特性监视和测量的目的,是为了验证所提供的产品是否已满足要求。
4.2.1研发部负责编制进货、半成品及成品检验规程,明确检验方式、检验项目、抽样方案、检测方法、判别依据和使用的检验工具和设备等。
4.2.2采购物资的监视和测量依据采购物资分类明细表和采购物资技术要求,编写《进货验证规程》,确定检验项目、检验数量等,对于无检测手段的采购物资,可通过供方检测报告、公司样品试用等方式进行。
产品的监视和测量控制程序1.目的通过对产品的特性进行监视和测量,以验证产品要求得到满足,同时对有关测量数据进行收集分析,实施质量改进。
2.范围本程序适用于公司采购产品、在制品和成品的监视和测量的控制。
3.职责3.1 品保部负责采购产品、过程产品、成品特性检验的控制,收集分析检验数据。
3.2 质检员负责签发检验报告,确认和记录产品有关不合格,验证处置措施实施效果,控制不合格品的再加工。
3.3品保部负责有关产品的记录的收集、保管、编目和按期归档,其中包括来自供应商的记录。
3.4 采购部、生产部配合质检员完成检验工作。
4.工作程序4.1 产品监视和测量的策划在对产品实施监视和测量前,由品保部对产品的监视和测量进行策划(即根据产品或过程的重要程度、顾客要求、供应商质量控制情况以及强制性标准和法律法规要求的检验来识别和确定监视和测量点的设置、抽样数量和频度、测控用文件、所需的设备和工具、人员的能力要求和验收准则等内容),策划结果应做出规定,形成检验标准。
4.2采购产品的验证4.2.1采购产品到货后,采购员通知品保部,有品保部实施采购产品验证。
4.2.2采购产品验收依据和办法a)品保部编制《检验规程》和《原料验收标准》,作为采购品的验收依据。
b)质检员根据检验标准对采购产品进行验证,并结合有关的质量证明做出是否合格的结论,填写“采购产品验证记录”。
c)验证合格后,质检员在“入库单”上签字,库管员登记台帐,办理入库手续,分公司财务部方可结帐。
验证不合格不予办理入库手续,由采购部门和供应商协调解决,至可满足要求后方可办理入库手续。
如无法满足要求须申请让步接收,由采购部门向品保部提出申请,经批准后方可入库。
让步接收产品入库时品保部须做好相应记录,并在生产过程中予以跟踪。
4.2.3如需到供应商货源处进行检验,由品保部安排合适的人员进行,事先应与供应商就验证的安排、方法达成协议,验证结果在“采购产品验证记录”中记录。
产品监视和测量控制程序一、目的为确保公司产品的质量符合规定的要求,对产品实现过程中的各个阶段进行有效的监视和测量,特制定本程序。
二、适用范围本程序适用于公司原材料、半成品、成品以及外购、外协件的监视和测量控制。
三、职责1、质量部门负责制定产品监视和测量的计划和标准,并组织实施。
2、采购部门负责通知质量部门对外购、外协件进行检验。
3、生产部门负责在生产过程中对半成品进行自检和互检,并配合质量部门的抽检。
4、仓库部门负责对原材料、半成品和成品的入库、保管和发放进行管理,并协助质量部门进行检验。
四、工作程序(一)原材料的监视和测量1、采购部门在原材料到货后,应及时通知质量部门进行检验。
2、质量部门检验员依据相关标准和检验规范对原材料进行检验,包括外观、尺寸、性能等方面。
3、检验合格的原材料,质量部门出具检验报告,并通知仓库办理入库手续。
4、检验不合格的原材料,质量部门应及时通知采购部门与供应商协商处理,如退货、换货或降级使用等。
(二)半成品的监视和测量1、生产部门在生产过程中,应按照工艺文件的要求对半成品进行自检和互检,确保半成品的质量符合要求。
2、质量部门检验员按照检验计划和检验规范对半成品进行抽检,抽检比例根据产品的重要性和生产的稳定性确定。
3、检验合格的半成品,检验员在检验记录上签字确认,生产部门方可转入下一道工序。
4、检验不合格的半成品,质量部门应及时通知生产部门进行隔离和标识,并按照不合格品控制程序进行处理。
(三)成品的监视和测量1、成品完工后,生产部门应填写成品检验申请单,通知质量部门进行检验。
2、质量部门检验员依据产品标准和检验规范对成品进行全面检验,包括外观、性能、包装等方面。
3、检验合格的成品,质量部门出具检验报告,并在产品上粘贴合格标识,仓库部门方可办理入库手续。
4、检验不合格的成品,质量部门应及时通知生产部门进行返工或报废处理,并按照不合格品控制程序进行处理。
(四)外购、外协件的监视和测量1、采购部门在外购、外协件到货后,应及时通知质量部门进行检验。
1.目的
对产品的监视和测量活动进行控制,确保对产品监视和测量的结果的正确性,流转或交付使用的产品符合规定质量要求。
2.适用范围
适用于产品实现全过程对产品的监视和测量,包括进货检验、过程检验、出厂检验。
3.职责
3.1 质量部负责产品检验规程的制定。
3.2质量部负责产品监视和测量活动的实施,建立并保存记录。
3.3 生产部负责对产品实现过程的监视和自检
3.4厂长、技术部、质量部负责紧急放行的审核与批准。
4.过程活动
4.1 产品监视和测量的总要求
4.1.1总要求
a) 质量部负责(必要时生产部配合),对具体的产品,依据其产品标准和规定产品特性的设计文件编制产品检验规程,确定检测控制点、检测项目、检测方法、判定依据和使用的测量设备。
关键过程,出厂检验应编制检验指导书。
b)检验控制点包括:进货检验,工艺文件规定的检验控制点,关键过程、特殊过程作业指导书规定的检验控制点,装配测试、出厂检验检验指导书或检验表格规定的检验内容等。
c) 产品的监视和测量活动必须按检验规程进行,严格对照产品标准,设计文件、工艺规程等技术文件的要求,对产品质量的符合性做出科学、客观的判定结论。
用于产品监视和测量的设备应符合《监视和测量控制程序》的相关规定。
d) 质量部负责对工艺纪律的执行情况进行监视,在检验控制点对产品实施测量,对不同检验状态的产品按《标识和可追溯性控制程序》的相关规定进行标识、放置。
对经检验不合格的产品或过程制品,严格执行《不合格品控制程序》的相关规定。
e)供销、生产和操作人员在作业过程中对作业过程进行监视、
对产品实现过程进行自检、互检。
在检验人员对产品进行检验时,支持和配合检验人员的工作。
f)负责产品监视和测量的检验人员,必须在技能、经验或培训方面取得相应的资格。
g)检验规程的更改,应执行《文件控制程序》
4.1.2 记录建立及保存
按《记录控制程序》的要求建立和保存产品监视和测量的记录。
检验记录应符合以下方面的要求:
a) 包括检验项目、标准或设计要求、检验结果和检验结论等内容。
当检验项目有量值要求时,应在要求栏中描述规定的量值、在检测结果栏内填写实测量值。
b) 符合《记录控制程序》的要求。
c)适用时,应记录检验依据、测量设备和环境条件等相关内容。
4.2 来料检验
a) 对于各种外购产品件,由生产部门仓管核实进货数量、规格、型号、和检查外观包装情况。
b)生产部仓管根据来料情况填写《送检单》,检验员根据相关检验规程进行检验,建立检验记录,将检验记录与供方合格证明性文件(存在时)存档。
c)检验员检验合格后,质量部签署接收意见,通知仓管,办理入库手续。
d)检验不合格时,执行《不合格控制程序》。
4.3生产过程中的监视和测量
4.3.1生产过程中的监视和测量总体要求
a)应在工艺文件中规定检验控制点、关键过程和特殊过程作业指导书规定的控制点、装配测试检验指导书或检验表格规定的检验控制点对在制品和成品进行工序质量检验,未经检验或检验不合格的在制品或成品,不得转入下道工序。
特殊情况,需经管理者代表批准,并对其进行记录和追踪控制。
b)生产人员应在检验控制点对在制品或成品进行自检,自检合格后方可流入下道工序。
c)质量部检验人员对产品的实现过程进行巡检,记录巡检结果,针对巡检过程中的不合格情况处理如下:
如实记录不合格特性,通知质量部及技术确认不符合项情况,并通知生产部执行《不合格品控制程序》的相关规定。
d)按《不合格品控制程序》进行返修的产品,返修完毕后应进行重新检验,检验合格后方可放行,但应保持返修的原始记录。
e) 按《不合格品控制程序》判为废品的产品,应标记为“废品”标识,移送废品库。
f) 关键过程和特殊过程除常规控制外,检验人员还应加强巡检和工艺纪律执行情况的监督,对过程参数进行监控,发现问题立即停止作业并对异常现象进行分析、处理,以免造成重大质量问题或经济损失。
g) 生产人员在产品制造和移送过程中、检验人员在产品检验过程中,应做好产品防护。
4.3.2过程检验中应建立和保持的记录包括:
a) 主要外协、外购件合格证明文件或进货检验记录;
b)工序作业记录;
c)产品测试记录;
d)不合格品让步接收记录。
4.4 出厂检验
4.4.1 产品完成全部制造工序后,应进行出厂检验,未检验或检验不合格的产品不得出厂。
产品检验的项目包括:
a) 产品外观;
b) 工序记录文件的完整性,包括:工序操作记录,工序测量记录等文件。
c)随机附件的完整性;
d)各种标识的齐全、正确性等。
4.4.2 生产部应提前通知质量部,以便安排进行上述检验。
4.4.3 检验人员严格按照产品《终检单》内容实施检验,确保检验数据的完整性和检验结果的有效性,建立检验记录档案。
4.4.4经检验合格的产品予以放行,检验记录须由质量部负责人签核,检验记录应包含对最终产品的唯一性标识的记录。
经检验不合格的产品不予放行,检验人员进行标识,并通知生产单位执行《不合格品控制程序》
4.4.6 经出厂检验合格的产品,有质量部签署产品合格证,准予交付顾客。
4.5 追溯复检
4.5.1经检验合格并已批准放行的产品,若发现其测量设备偏离了校正状态,应予全数追回复检或在使用现场用校正状态正确的测量设备对其进行复检。
4.5.2追溯的程度为:有证据表明该测量设备处于正确的校正状态的日期之后用此设备检测的全部产品。
5. 相关文件
《标识和可追溯性控制程序》
《不合格品控制程序》
《记录控制程序》
《文件控制程序》
6. 相关记录
《来料检验记录》
《不合格品报告单》
《送检单》
《终检单》
7. 流程图
见附件1
附件一:过程和产品的监视和测量控制流程图。