服装各部位中英文对照图解
- 格式:doc
- 大小:404.00 KB
- 文档页数:5
服装外贸英语(图文对照)2011-01-07 11:02:38| 分类:外贸跟单 | 标签:seam front fly back dart |字号订阅从同学空间转来的服装部位中英文对照图,应该对想转服装跟单的人有很大的帮助,面试时的专业考题无非就这些,耐心去做完的话,只要那面试官对你没意见,恭喜你,你可以如愿了,呵。
本来想全部都编辑下把文字加到图上的,需要时间,所以只搞`了一点点,哈。
没有仔细看完全部,不过扫了几眼,应该也没什么问题的,背熟它没有一百分也有九十几了服装部位名称图解——上衣1——stand collar 领座2——hanging loop 领吊袢,挂耳3——top collar 领面4——small shoulder 小肩5——sleeve top/sleeve head/crown 袖山6——lapel point 领咀7——mock button hole 假眼8——armhole 袖窿,夹圈9——breast pocket 胸袋,手巾袋10——button hole 扣眼,钮门11——top fly(left front)门襟,左前幅12——front dart 前褶13——underarm dart 肋褶14——top sleeve 大袖15——sleeve button 袖扣16——sleeve opening 袖口17——hem 衫脚18——front cut 止口圆角19——front edge 门襟止口20——under sleeve 小袖21——flap 袋盖22——change pocket 零钱袋23——button 钮扣24——under fly(right front)里襟(右前幅)25——inside breast pocket 里袋26——fold line for lapel 翻领线27——lapel 驳头28——gorge line 串口29——lining center back pleat 里布后中省30——back lining 后幅里布31——top collar 领面32——across back shoulder 总肩33——back armhole 后袖窿,后夹圈34——half back belt 半腰带35——vent 背衩36——side seam 摆缝,侧骨37——center back seam 背缝,后中骨38——back yoke 后过肩,后担干服装部位名称图解——裤子1——waistband 裤头2——waistband button 腰头钮3——button tab 里襟尖咀4——waistband lining 裤头里5——bearer button 裤头钮6——extended tab 宝剑头,裤头搭咀7——left fly 门襟,钮牌8——fly buttonhole 钮牌扣眼9——front fly 裤门襟10——crutch lining 裤裆垫布11——side seam 侧骨12——inside seam 下裆缝13——reinforcement for knees 膝盖绸14——leg opening 裤脚15——turn-up cuff 卷脚,反脚16——heel stay 贴脚条17——crease line 裤中线18——fly button 钮扣19——right fly 里襟,钮子20——slant pocket 斜插袋21——front waist pleat 前腰褶22——watch pocket / coin pocket 表袋23——beltloop 裤耳24——hip pocket 后袋25——seat seam / back rise 后裆缝/后浪26——back waist dart 后褶服装部位名称图解——裙子1——waistband 裙头2——side opening 侧骨拉链开口3——inverted pleat 暗裥4——front center seam 前中缝骨5——front waist dart 前腰褶6——back waist dart 后腰褶7——side opening 侧骨拉链开口8——front yoke 洽啻腰9——pleats 褶10——hem 裙脚11——side seam 侧骨12——hip pocket 后袋13——beltloop 腰带袢,耳仔服装部位名称图解——背心1——lining 里布2——small shoulder 小肩3——armhole 袖圈,夹圈4——breast welt pocket 胸袋5——top fly,left front 门襟,左前幅6——button hole 扣眼,钮门7——side vent 边衩8——front point 尖角9——interlining 衬布(夹在面布和里布之间)10——right facing 里襟贴11——button 钮扣12——waist welt pocket 腰袋13——side seam 摆缝,侧骨14——breast dart 胸褶15——under fly,right front里襟,右前幅16——small shoulder 小肩17——armhole 袖圈,夹圈18——side seam 摆缝,侧骨19——adjustable waist tab 活动腰袢20——back dart 后褶21——center back seam 背中缝,后中骨服装部位名称图解——夹克裤子纸样图解1.basic line 裤子基本线(裤子裁剪制图的基础线),下平线2.Length line 裤长线,上平线3.thigh line 横裆线4.hip line 臀围线5.knee line 中裆线6.side seam line 侧缝直线7.front crotch line 前裆直线8.front crotch seam 前裆内撇9.front crotch width line 小裆宽线10.crease line 烫迹线11.waist line 前腰围线12.bottom line 脚口围线13.side seam 侧缝弧线14.side vertical pocket position 直袋位线15.front crotch curve 前裆弧线,前裆轮廓线16.inseam line 下裆线17·pleat position 裥位线18.back crotch line 落裆线19.upline of waist 后翘线20.back waist seam 后腰缝线21.curve width line of back crotch seam 后裆宽线22.back crotch curve 后档弧线,后裆缝轮廓线23.waist dart 后省线24.hip pocket position line 后袋线25.waistband roll line 腰头上口线26.waistband neckline 腰头下口线27.fly facing edge 门襟止口线28.fly facing outside edge 门襟外口线29.fly shield inside edge 里襟里口线30.fly shield outside edge 里襟外口线。
服装各局部中英文比立图从同学空间转来的服装部位中英文比立图,应该对想转服装跟单的人有特别大的关怀,面试时的专业考题无非就这些,耐心往做完的话,只要那面试官对你没意见,恭喜你,你能够如愿了,呵。
本来想全部都编辑下把文字加到图上的,需要时刻,因此只搞`了一点点,哈。
没有认真瞧完全部,只是扫了几眼,应该也没什么咨询题的,背熟它没有一百分也有九十几了服装部位名称图解——上衣1——standcollar领座2——hangingloop领吊袢,挂耳3——topcollar领面4——smallshoulder小肩5——sleevetop/sleevehead/crown袖山6——lapelpoint领咀7——mockbuttonhole假眼8——armhole袖窿,夹圈9——breastpocket胸袋,手巾袋10——buttonhole扣眼,钮门11——topfly〔leftfront〕门襟,左前幅12——frontdart前褶13——underarmdart肋褶14——topsleeve大袖15——sleevebutton袖扣16——sleeveopening袖口17——hem衫足18——frontcut止口圆角19——frontedge门襟止口20——undersleeve小袖21——flap袋盖22——changepocket零钞票袋23——button钮扣24——underfly〔rightfront〕里襟〔右前幅〕25——insidebreastpocket里袋26——foldlineforlapel翻领线27——lapel驳头28——gorgeline串口29——liningcenterbackpleat里布后中省30——backlining后幅里布31——topcollar领面32——acrossbackshoulder总肩33——backarmhole后袖窿,后夹圈34——halfbackbelt半腰带35——vent背衩36——sideseam摆缝,侧骨37——centerbackseam背缝,后中骨38——backyoke后过肩,后担干服装部位名称图解——裤子1——waistband裤头2——waistbandbutton腰头钮3——buttontab里襟尖咀4——waistbandlining裤头里5——bearerbutton裤头钮6——extendedtab宝剑头,裤头搭咀7——leftfly门襟,钮牌8——flybuttonhole钮牌扣眼9——frontfly裤门襟10——crutchlining裤裆垫布11——sideseam侧骨12——insideseam下裆缝13——reinforcementforknees膝盖绸14——legopening裤足15——turn-upcuff卷足,反足16——heelstay贴足条17——creaseline裤中线18——flybutton钮扣19——rightfly里襟,钮子20——slantpocket歪插袋21——frontwaistpleat前腰褶22——watchpocket/coinpocket表袋23——beltloop裤耳24——hippocket后袋25——seatseam/backrise后裆缝/后浪26——backwaistdart后褶服装部位名称图解——裙子1——waistband裙头2——sideopening侧骨拉链开口3——invertedpleat暗裥4——frontcenterseam前中缝骨5——frontwaistdart前腰褶6——backwaistdart后腰褶7——sideopening侧骨拉链开口8——frontyoke前拼腰9——pleats褶10——hem裙足11——sideseam侧骨12——hippocket后袋13——beltloop腰带袢,耳仔服装部位名称图解——背心1——lining里布2——smallshoulder小肩3——armhole袖圈,夹圈4——breastweltpocket胸袋5——topfly,leftfront门襟,左前幅6——buttonhole扣眼,钮门7——sidevent边衩8——frontpoint尖角9——interlining衬布〔夹在面布和里布之间〕10——rightfacing里襟贴11——button钮扣12——waistweltpocket腰袋13——sideseam摆缝,侧骨14——breastdart胸褶15——underfly,rightfront里襟,右前幅16——smallshoulder小肩17——armhole袖圈,夹圈18——sideseam摆缝,侧骨19——adjustablewaisttab活动腰袢20——backdart后褶21——centerbackseam背中缝,后中骨服装部位名称图解——夹克裤子纸样图解1.basic line 裤子全然线(裤子裁剪制图的根底线),下平线2.Length line 裤长线,上平线3.thigh line 横裆线4.hip line 臀围线5.knee line 中裆线6.sideseamline 侧缝直线7.front crotchline 前裆直线8.front crotchseam 前裆内撇9.front crotch width line 小裆宽线10.crease line 烫迹线11.waist line 前腰围线12.bottom line 足口围线13.side seam 侧缝弧线14.side vertical pocket position 直袋位线15.front crotch curve 前裆弧线,前裆轮廓线16.inseam line 下裆线17·pleat position 裥位线18.back crotch line 落裆线19.upline of waist 后翘线20.back waist seam 后腰缝线21.curve width line of back crotch seam 后裆宽线22.back crotch curve 后档弧线,后裆缝轮廓线23.waist dart 后省线24.hip pocket position line 后袋线25.waistband roll line 腰头上口线26.waistband neckline 腰头下口线27.fly facing edge 门襟止口线28.fly facing outside edge 门襟外口线29.fly shield inside edge 里襟里口线30.fly shield outside edge 里襟外口线。
服装各个部位图解英语服装各个部位图解英语Vest / Waistcoat 背心Down 羽绒背心Formal 礼服背心Hunting 猎装背心Jerkin紧身皮袄Sweater 背心式毛皮Suit 套装Jerkin 无袖上衣套装Jumper 跳Tailored 西式套装Tunic 束腰套Vested 有马夹套装Shirt衬衫Hawaiian 夏威夷式衬衫Ascoted 阿司括衬衫Cowboy 牛仔衬衫Body shirt 紧身衬衫Athletic 运动背心Henley 亨利汗衫Ivy 藤纹衬衫Pilot 飞行员衬衫Polo T –shirt 马球衬衫Tee shirt T恤衫Neckline 领圈Asymmetric不均齐形Scarf 围巾形Drawstring 伸缩形Frilled 绉边领Halter 套索系领Sweat-heart 爱心形High& low cowl 高低垂领Round 圆领Horseshoe 马蹄铁形Hooded 头巾形Draped 打褶形Bateam or boat 舟形Scoop 椭圆形Square 四边形Stand away 高颈企领Strap 布条形Tab 扣绊形Tie打结形U –shapeV –ShapeFront fastening前开口Double – breasted双纽襟Braid 缀以线辫纽Buckled 带扣Fly 暗纽襟Crossed –over 叠门襟Frogging 纺锤形纽扣Knotted tie 缚结物Laced – up 系紧绳带Linked 连接饰物Looped 结环纽眼Side –buttoned 侧边纽门Single buttoned 单边纽扣Strap 条扣Tab 扣绊Bow 蝴蝶结Three –button grouping 3粒组纽Toggled 索结绳纽Wraped& tied 叠襟系带Zipper 拉链Sleeve 袖子Ballon 气球形Batwing 蝙蝠袖Bell 钟形Bishop 主教式袖Cap 顶盖式Cuffed 袖级袖Drawstring 伸缩形Puff 膨胀形Flared 闪发形Kimono 和服式Kite 风筝形Lantern 灯笼式Magyar 连身出袖Raglan 牛角袖Shirt 衬衫袖Shirred 平行绉缝式Two-piece 两片袖Cape 披肩式Tiered 层列式Set-in 装置袖Collar 领子Eton 伊顿形Mandarin 旗袍领Peter pan披德形Sailor 领巾形Scarf 围巾形Shawl 肩巾形Collar 上下级形Roll 翻边领形Picture 象形领 - Tailored 西装领形Button-down扣角领Funnel 漏斗形Peaked 尖形领Swallow 燕子领Coat 大衣领Polo 马球领Standup 直立领Milan 米兰式Cross-over 叠领形Turtle 龟形领Pocket口袋Bound 嵌线口袋Breast 胸袋Cargo 大贴袋Change 零钱袋Slash 切线口袋Patch 明贴袋Cross 横开口袋Welt 单贴边袋/西装袋Flap 盖式口袋Gusset 接裆口袋Hip 裤后袋Kangaroo 袋鼠式口袋Seam 摆逢口袋Pin tucks 针纹褶饰口袋Pleated 褶饰口袋Western 西部型口袋Western-flap 牛仔型口袋Watch 表袋PLEAT褶裥Accordion 风琴褶Beading 珠绣Bound-edge frill 镶边绉褶Box 工字褶Cascade 小瀑布式Embroidery 刺绣Flounce 裙脚皱褶Knife 剑褶裥Sunray 太阳褶Pleated frill 折叠的花边Ruff 绉领Ruffle 蓬松皱边Shirring 平行皱缝Smocking 缀线衣裥Cording 布起花纹Double 叠褶Tuck 褶缝裥Waterfall 大瀑布式Pie frill 混杂绉边Jabot 衬衫绉边Pyjamas 睡衣Chinese 中式睡衣Coat – style 外套形睡衣Karate 空手道服式睡衣Pyjamas 睡衣套装Skirts 裙子A – line A字裙Balloon 气球形裙Bell 钟形裙Circular 圆台裙Draped 垂褶裙Flounced 裙脚绉边裙Four gored 四幅裙Gathered 缩褶裙Mini 迷你裙Tulip 郁金香Shorts短裤Bermuda 百慕大短裤Cargo大贴袋短裤Cut – offs 毛边牛仔短裤Pleated 打褶裥短裤Shorts 超短裤Pants 裤子Ankle – tied 束脚裤Baggy 袋状裤Bell – bottom 喇叭裤Cargo – pocket 大贴袋牛仔裤Drawstring 束带紧腰裤Flared 喇叭裤Gaucho 短长裤Jodhpurs 马裤Overalls 工装裤Stovepipe 烟筒形长裤Underwear 内衣、衬衣Body hugger 亵衣Briefs 短内裤Camisole 胸衣Chemise 女睡衣Corset 紧腰衣Swimwear/Swimsuit 游泳衣Bikini 比基尼Blouse 宽松式泳衣Cabana set 沙滩式String Bikini 捆带式Tank 传统女式泳衣Coat 大衣,外套A – line A字形外套Cape 披风大衣Duffel 粗呢大衣Duster 风衣Flared 宽摆式大衣Chesterfield 软领长大衣Classic 传统外套Inverness 披肩外套Maxi 特长大衣Midi 迷第外套。
Jacket1.领座stand collar2.领吊袢hanging loop3.领面top collar4.肩线shoulder line5.袖山sleeve head6.领嘴lapel point (notch)7.假眼mock buttonhole8.袖窿armhole9.胸袋breast pocket10.扣眼buttonhole11.门襟top fly (left front)12.前胸省front dart13.胁省underarm dart14.大袖top sleeve15.袖扣sleeve button16.袖口sleeve opening17.底边hem18.止口圆角front cut19.门襟止口front edge20.小袖under sleeve21.袋盖flap22.零钱袋change pocket23.前扣front button24.里襟under fly (right front)25.里袋inside breast pocket26.驳口fold line27.驳头lapel28.串口gorge line29.后片里中缝lining centre backpleat30.后片里back lining31.领面top collar32.总肩across back shoulders33.后袖窿back armhole34.半腰带half back belt35.背衩vent36.摆缝side seam37.背缝centre back seam38.后过肩back yoke1.腰头waistband2.腰头钮waistband button3.里襟尖嘴button tab4.腰头里waistband lining5.裤头钮bearer button6.腰头宝剑头extended tab7.门襟left fly8.扣眼fly buttonhole9.裤门襟front fly10.裤裆垫布crotch lining11.外侧缝side seam12.下裆缝inside seam13.膝盖绸reinforcement for knees14.脚口leg opening15.卷脚turn-up cuff16.贴脚条heel stay17.裤中线crease line18.纽扣fly button19.里襟right fly20.侧斜袋slant side pocket21.裤裥waist pleat22.表袋watch pocket23.裤带袢belt loop24.后袋hip pocket25.后裆缝seat seam26.后裥back pleatSkirt1.裙腰头waistband2.侧拉链口side opening3.暗裥inverted pleat4.中缝centre seam5.裙腰褶waist dart6.裙腰褶waist dart7.侧开口side opening8.前拼腰front yoke9.裙褶pleats10.褶脚hem11.裙摆缝side seam12.斜袋slant welt pocket13.腰带袢belt loopVest1.衬里lining2.肩缝shoulder seam3.袖窿armhole4.胸袋breast welt pocket5.门襟top fly, left front6.扣眼buttonhole7.边衩side vent8.尖角front point9.衬布interlining10.里襟贴right facing11.钮扣button12.腰袋waist welt pocket13.摆缝side seam14.胸褶breast dart15.里襟under fly, right front16.肩缝shoulder seam17.袖圈armhole18.摆缝side seam19.活动腰袢adjustable waist tab20.后褶back dart21.背中缝centre back seamLength variationSleevessleeveless 无袖cap sleeve 盖袖short sleeve 短袖elbow sleeve 五分袖three quarter sleeve 七分袖bracelet sleeve 九分袖full length 长袖Trousersshorty-shorts (hot pants) 热裤shorts 短裤boy shorts 男孩儿大短裤jemaica 牙买加式bermuda 百慕大式pedal pushers 骑车运动裤calf skinners (toreador) 斗牛士裤,七分裤capri 紧身长裤,九分裤slacks 长裤Skirts。
服装部位专业英语对照(doc 9页)服装部位专业英语服装英语(衣领篇)领倒挂领 turned-down collar中山服领 zhongshan collar尖领 pointed collar衬衫领 shirt collar圆领 Peter Pan collar青果领 shawl collar荷叶边领 ruffled collar燕子领 wing collar两用领 convertible collar方领 square collar中式领 mandarin collar立领 stand collar海军领 sailor collar扎结领 tie collar圆形领口 round neckline方形领口 square necklineV形领口 V-neckline一字型领口boat neckline假翻袖头Cuff band, cuff strap紧袖口Bracelet cuff束带袖头Strpped cuff扇型袖头Scalloped cuff褶裥泡状袖头Bead cuff无卷边袖头Cuffless衬衫袖头Wristband袖头里子Cuff lining袖衩Cuff opening, cuff vent, sleeve placket, sleeve slit, sleeve vent 大袖衩Sleeve facing小袖衩Sleeve under facing袖衩搭边Sleeve overlap袖衩条Sleeve placket腋部吸汗垫布Shield腋下镶布Underarm gusset肘部垫布Elbow patch衣服上下装部位1. 上装前幅肩缝: shoulder seam 前后肩连接的部位领嘴: notch 领底口末端至门里襟止口的部位门襟: closing / closure 锁眼的衣片门襟止口:front edge 门襟的边沿搭门: front overlap 门里襟叠在一起的部位扣眼: buttonhole 钮扣的眼孔眼距: buttonhole spacing 扣眼间的距离袖窿: armhole 绱袖的部位驳头: lapel 门里襟上部翻折部位平驳头: notch 与上领片的夹角呈三角形缺口的方角驳头戗驳头: peak lapel 驳角向上形成尖角的驳头胸部: chest 衣服前胸丰满处腰节: waist line 衣服腰部最细处摆缝: side seam 袖窿下面由前后身连接的缝(侧骨)里襟: under lap 钉钮的衣片底边: hem 衣服下部的边沿部位串口: gorge 领面与驳头面缝合处假眼: mock button hole 不开眼口的装饰用扣眼驳口: roll line 驳头翻折部位单排扣: single breasted 一排钮扣双排扣: double breasted 两排钮扣止口圆角:front cut 门里襟下部的圆头前后披肩:front or back shoulder cape 覆盖在肩部前后的部件扣位: button placement 钮扣的位置滚眼: bound button hole 用面料做的扣眼前过肩: front yoke 连接前身与肩缝合的部件领省: neckline dart 领窝部位的省道前腰省: front waist dart 衣服前身腰部的省道肋省: underarm dart 衣服两侧腋下处的省道横省: side dart 腋下摆缝处至胸部的省道前肩省: front shoulder dart 前身肩部的省道肚省: fish dart 大袋口部位的横省前身通省:front open dart 从肩缝到下摆的开刀缝刀背缝: princess seam 弯形的开刀缝(公主线)钮子:Button stay 钉钮扣的部位2. 上装后幅总肩: across back shoulder 从左肩端至右肩端的部位后过肩: back yoke 连接后身与肩缝合的部件(后担干)背缝: center back seam 后肩中间缝合的缝子背叉: vent 背缝下部开叉摆叉: side vent 摆缝下部开叉后搭门: back overlap 门里襟开在后背处领窝: neck line 前后肩与领子缝合的部位后领省: back neck dart 后领窝处呈八字形的省道后肩省: back shoulder dart 后身肩部的省道后腰省: back waist dart 后身腰部的省道后身通省:back open dart 从肩缝到下摆的开刀缝衫裤部件jandy 整理ARMHOLE 夹圈BACK 后幅BACK RISE 后浪BELTLOOP 裤耳BOTTOM 裤脚BUTTON HOLE 钮门BUTTON STAND 钮子/钮门搭位CASH POCKET 表袋CENTER BACK 后中CENTER FRONT 前中CHEST 胸COLLAR 领子COLLAR FALL 上级领COLLAR NOTCH 领扼位COLLAR POINT 领尖COLLAR STAND 下级领CROTCH 小浪CUFF 介英DART 死摺DOUBLE LAYER CUFF 双层介英DOUBLE LAYERED FLY 双层钮牌FACING 贴FLY 钮牌FOLD LINE 折线FRONT 前幅FRONT OPENING 前开口FRONT PLEAT 前褶FRONT RISE 前浪HEM/BOTTOM 衫脚IN SEAM 内浪骨JETTED POCKET 唇袋NECK 领窝OPENING 开口PATCH POCKET 贴袋PLACKET 明筒POCKET BAG 袋布POCKET FLAP 袋盖PRINCESS LINE 公主线SHOULDER 肩SIDE PANEL 侧幅SIDE SEAM 侧骨SLANT POCKET 斜插袋SLEEVE 袖子SLEEVE CROWN 袖山SLEEVE HEAD 袖头SLEEVE OPENING 袖口SLEEVE SLIT 袖叉UNDER ARM SEAM 夹底线WAIST BAND 裤头。
测量部位名称BACK ACROSS 后背宽ACROSS MEASURE 横量ARMHOLE 夹圈ASSEMBLING OF FRONT & BACK PART 前后幅合并ASSEMBLING SECTION 合并部分ATTACH COLLAR 上领BACK COVER FRONT 后搭前BACK MID-ARMHOLE 后背宽BODY RISE 直浪BOTTOM 衫脚,下摆BOTTOM VENT OF SLEEVE 细侧C/B VENT 后中叉CENTER BACK 后中CENTER CREASE FOLD 中骨对折CENTER CREASE LINE 中骨线CENTER FRONT 前中CHEST/BUST 胸围CLOSE SIDE SEAM 埋侧骨描述:男上装图片:描述:女上装图片:1——stand collar 领座2——hanging loop 领吊袢,挂耳3——top collar 领面4——small shoulder 小肩5——sleeve top/sleeve head/crown 袖山6——lapel point 领咀7——mock button hole 假眼8——armhole 袖窿,夹圈9——breast pocket 胸袋,手巾袋10——button hole 扣眼,钮门11——top fly(left front)门襟,左前幅12——front dart 前褶13——underarm dart 肋褶14——top sleeve 大袖15——sleeve button 袖扣16——sleeve opening 袖口17——hem 衫脚18——front cut 止口圆角19——front edge 门襟止口20——under sleeve 小袖21——flap 袋盖22——change pocket 零钱袋23——button 钮扣24——under fly(right front)里襟(右前幅)25——inside breast pocket 里袋26——fold line for lapel 翻领线27——lapel 驳头28——gorge line 串口29——lining center back pleat 里布后中省30——back lining 后幅里布31——top collar 领面32——across back shoulder 总肩33——back armhole 后袖窿,后夹圈34——half back belt 半腰带35——vent 背衩36——side seam 摆缝,侧骨37——center back seam 背缝,后中骨38——back yoke 后过肩,后担干描述:裙子1图片:描述:裙子2图片:1——waistband 裙头2——side opening 侧骨拉链开口3——inverted pleat 暗裥4——front center seam 前中缝骨5——front waist dart 前腰褶6——back waist dart 后腰褶7——side opening 侧骨拉链开口8——front yoke 前拼腰9——pleats 褶10——hem 裙脚11——side seam 侧骨12——hip pocket 后袋13——beltloop 腰带袢,耳仔。
服装部位名称--裤子1--waistband 裤头2--waistband button 腰头钮3--button tab 里襟尖咀4--waistband lining 裤头里5--bearer button 裤头钮6--extended tab 宝剑头,裤头搭咀7--left fly 门襟,钮牌8--fly buttonhole 钮牌扣眼9--front fly 裤门襟10--crutch lining 裤裆垫布11--side seam 侧骨12--inside seam 下裆缝13--reinforcement for knees 膝盖绸14--leg opening 裤脚15--turn-up cuff 卷脚,反脚16--heel stay 贴脚条17--crease line 裤中线18--fly button 钮扣19--right fly 里襟,钮子20--slant pocket 斜插袋21--front waist pleat 前腰褶22--watch pocket / coin pocket 表袋23--beltloop 裤耳服装部位名称--裙子1--waistband 裙头2--zipper opening 拉链开口3--inverted pleat 暗裥4--center front seam 前中缝骨5--front waist dart 前腰褶6--back waist dart 后腰褶7--zipper opening 拉链开口8--front yoke 前拼腰9--pleats 褶10--hem 裙脚11--side seam 侧骨12--hip pocket 后袋13--beltloop 腰带袢,耳仔24--hip pocket 后袋25--seat seam / back rise 后裆缝/后浪26--back waist dart 后褶服装部位名称--上衣1--stand collar 领座2--hanging loop 领吊袢,挂耳3--top collar 领面4--small shoulder 小肩5--sleeve top/sleeve head/crown 袖山6--lapel point 领咀7--mock button hole 假眼8--armhole 袖窿,夹圈9--breast pocket 胸袋,手巾袋10--button hole 扣眼,钮门11--top fly(left front) 门襟,左前幅12--front dart 前褶13--underarm dart 肋褶14--top sleeve 大袖15--sleeve button 袖扣16--sleeve opening 袖口17--hem 衫脚服装部位名称--背心1--lining 里布2--small shoulder 小肩3--armhole 袖圈,夹圈4--breast welt pocket 胸袋5--top fly,left front 门襟,左前幅6--button hole 扣眼,钮门7--side vent 边衩8--front point 尖角9--interlining 衬布(夹在面布和里布之间)10--right facing 里襟贴11--button 钮扣12--waist welt pocket 腰袋13--side seam 摆缝,侧骨14--breast dart 胸褶15--under fly,right front里襟,右前幅16--small shoulder 小肩17--armhole 袖圈,夹圈18--front cut 止口圆角19--front edge 门襟止口20--under sleeve 小袖21--flap 袋盖22--change pocket 零钱袋23--button 钮扣24--under fly(right front) 里襟(右前幅) 25--inside breast pocket 里袋26--fold line for lapel 翻领线27--lapel 驳头28--gorge line 串口29--lining center back pleat 里布后中省30--back lining 后幅里布31--top collar 领面32--across back shoulder 总肩33--back armhole 后袖窿,后夹圈34--half back belt 半腰带35--vent 背衩36--side seam 摆缝,侧骨37--center back seam 背缝,后中骨38--back yoke 后过肩,后担干 18--side seam 摆缝,侧骨19--adjustable waist tab 活动腰袢20--back dart 后褶21--center back seam 背中缝,后中骨拉链TOP STOP 前码,上止BOTTOM STOP 后码,下止SLIDER 拉片底座ELEMENTS 拉链牙TAPE 布带度尺部位BUST WIDTH 胸阔FRONT CROSS 前胸阔BACK CROSS 后胸阔W AIST WIDTH 腰阔BOTTOM 脚阔SHOULDER ACROSS 肩阔SMALL SHOULDER 小肩长C/B LENGTH 后中长SLEEVE LENGTH 袖长SLEEVE OPENING 袖口阔CUFF WIDTH 介英宽ARMHOLE(CURVE/STRAIGHT) 夹圈(弯度/直度)NECK WIDTH 颈阔SLEEVE CROWN HEIGHT 袖山高服装专业英语(辅料)ACCESSORY 辅料BEL T 腰带BINDING TAPE 捆条(包边)BOW 蝴蝶BOW-TIE 蝴蝶结BUCKLE LOOP 钮圈BUTTON 钮扣CARE LABEL 洗水唛COLLAR TAB 领袢COLLAR STAY 领插竹CONCEAL ZIPPER 隐形拉链CONTENT LABEL 成分唛CONTRAST COLOR STITCHES 撞色线COTTON STRING 棉绳ELASTIC 橡筋EPAULET 肩章EYELET 鸡眼EYES & HOOKS 乌蝇扣, 钩棒扣FRILLS 荷叶边FUSIBLE-INTERLINING 粘朴UPPER ARM WIDTH 袖脾阔COLLAR LENGTH 领长FRONT NECK DROP 前领深UPPER COLLAR HEIGHT 上级领高COLLAR BAND HEIGHT 下级领高COLLAR POINT 领尖长COLLAR POINT SPREAD 领尖距PLACKET WIDTH 前筒宽POCKET HIGH POINT 袋尖高(袋最长的高度) W AIST(RELAX) 腰围(松度)W AIST(STRETCHED) 腰围(拉度)HIP 坐围HIGH HIP 上坐围THIGH(UNDER CROTCH) 脾围LEG OPENING 裤脚围FRONT RISE 前浪BACK RISE 后浪INSEAM LENGTH 内长OUTSEAM LENGTH 外长W AISTBAND 裤头高KNEE 膝围SWEEP(HALF) 裙阔(裙底半度)FLY WIDTH 钮牌阔FLY LENGTH 钮牌长BELTLOOP 裤耳 GODET 三角形布GUSSET 三角形插布HALF MOON PA TCH 半月形龟背HANGING LOOP 吊袢INTERLINING 衬, 朴LACE 花边LINING 里布MAIN LABEL / BRAND LABEL 主唛NON-FUSIBLE-INTERLINING 非粘朴, 生朴 PLASTIC STRING 胶针RIB 罗纹RIVET 撞钉, 包头钉RUBBER STRING 橡筋SHANK (钮扣)绕脚线SHOULDER PAD 肩棉, 肩垫SIZE LABEL 尺码唛SMOCKING (装饰用的)缩褶SNAP 急钮, 按钮, 揿钮STICKER 贴纸STRIPE 带条, 绳子THREAD 线TRIANGLE GUSSET 三角脚贴VELCRO 魔术贴ZIPPER 拉链ZIPPER PULLER 拉链拉手ZIPPER STOPPER,分为"TOP STOP"和"BOTTOM STOP","TOP STOP"中文叫"前码,上止","BOTTOM STOP"中文叫"后码,下止"。
1——waistband 裤头2——waistband button 腰头钮3——button tab 里襟尖咀4——waistband lining 裤头里5——bearer button 裤头钮6——extended tab 宝剑头,裤头搭咀7——left fly 门襟,钮牌8——fly buttonhole 钮牌扣眼9——front fly 裤门襟10——crutch lining 裤裆垫布11——side seam 侧骨12——inside seam 下裆缝13——reinforcement for knees 膝盖绸14——leg opening 裤脚15——turn-up cuff 卷脚,反脚16——heel stay 贴脚条17——crease line 裤中线18——fly button 钮扣19——right fly 里襟,钮子20——slant pocket 斜插袋21——front waist pleat 前腰褶22——watch pocket / coin pocket 表袋23——beltloop 裤耳24——hip pocket 后袋25——seat seam / back rise 后裆缝/后浪26——back waist dart 后褶1——waistband 裙头2——zipper opening 拉链开口3——inverted pleat 暗裥4——center front sea m 前中缝骨5——front waist dart 前腰褶6——back waist dart 后腰褶7——zipper opening 拉链开口8——front yoke 前拼腰9——pleats 褶10——hem 裙脚11——side seam 侧骨12——hip pocket 后袋13——beltloop 腰带袢,耳仔1——lining 里布2——small shoulder 小肩3——armhole 袖圈,夹圈4——breast welt pocket 胸袋5——top fly,left front 门襟,左前幅6——button hole 扣眼,钮门7——side vent 边衩8——front point 尖角9——interlining 衬布(夹在面布和里布之间)10——right facing 里襟贴11——button 钮扣12——waist welt pocket 腰袋13——side seam 摆缝,侧骨14——breast dart 胸褶15——under fly,right front里襟,右前幅16——small shoulder 小肩17——armhole 袖圈,夹圈18——side seam 摆缝,侧骨19——adjustable waist tab 活动腰袢20——back dart 后褶21——center back seam 背中缝,后中骨——stand collar 领座2——hanging loop 领吊袢,挂耳3——top collar 领面4——small shoulder 小肩5——sleeve top/sleeve head/crown 袖山6——lapel point 领咀7——mock button hole 假眼8——armhole 袖窿,夹圈9——breast pocket 胸袋,手巾袋10——button hole 扣眼,钮门11——top fly(left front)门襟,左前幅12——front dart 前褶13——underarm dart 肋褶14——top sleeve 大袖15——sleeve button 袖扣16——sleeve opening 袖口17——hem 衫脚18——front cut 止口圆角19——front edge 门襟止口20——under sleeve 小袖21——flap 袋盖22——change pocket 零钱袋23——button 钮扣24——under fly(right front)里襟(右前幅)25——inside breast pocket 里袋26——fold line for lapel 翻领线27——lapel 驳头28——gorge line 串口29——lining center back pleat 里布后中省30——back lining 后幅里布31——top collar 领面32——across back shoulder 总肩33——back armhole 后袖窿,后夹圈34——half back belt 半腰带35——vent 背衩36——side seam 摆缝,侧骨37——center back seam 背缝,后中骨38——back yoke 后过肩,后担干。
36AH.(Armhole)袖笼A.S.(ARM SIZE)肘围B.(BUST)胸围(BOTTOM)脚口,下摆B.C.(BICEPS CIRCUMFERENCE) 上臂围;袖宽B.D.(BUST DEPTH)胸高(BACK DEPTH)后腋深B.L.(BACK LENGTH)后长(BUST LINE)胸围线B.N.(BACK NECK)后领围B.N.P.(BACK NECK POINT)后颈点B.P.(BUST POINT)胸高点,乳峰点B.R.(BACK RISE)后(直)裆(BODY RISE)股上B.S.L.(BACK SHOULDER LINE)后肩线B.T.(BUST TOP)乳围B.W.(BACK WIDTH)后背宽C.(CHEST)胸围C.B.(CENTRE BACK)后中长C.F. (CENTRE FRONT)前中长C.L. (COAT LENGTH)衣长C.P.L.(COLLAR POINT LENGTH)领尖长C.P.W.(COLLAR POINT WIDTH)领尖宽C.W.(CUFF WIDTH)袖口宽D.B.(DOUBLE BREAST)双排钮E.C.(ELBOW CIRCUMFERENCE)肘围E.L.(ELBOW LENGTH)肘围(ELBOW LINE)肘线E.P.(ELBOW POINT)肘点F.D.(FRONT DEPTH)前腋深F.L.(FRONT LENGTH)前长F.N.(FRONT NECK)前领围F.N.P.(FRONT NECK POINT)前颈点F.R.(FRONT RISE)前浪F.S.(FIST SIZE)手头围F.W.(FRONT WIDTH)前胸宽H.(HIP)臀围H.L.(HIP LINE) 臀围线(HEAD LENGTH)头长H.S.(HEAD SIZE)头围I.(INSEAM)内长I.L.(INSIDE LENGTH)股下,下裆长K.L.(KNEE LINE)膝围线L.(LENGTH)衣(裤,裙等)长M.H.(MIDDLE HIP)中臀围M.H.L.(MIDDLE HIP LINE)中臀围线N.(NECK)领,颈N.H.(NECK HOLE)领圈,领口N.L.(NECK LENGTH)领长N.L.(NECK LINE)领围线,领口线N.P.(NECK POINT)颈点;肩顶N.R.(NECK RIB)领高N.S.(NECK SIZE)颈围N.S.P.(NECK SHOULDER POINT)颈肩点N.W.L.(NECK WAIST LENGTH)背长O.S.(OUTSIDE SEAM)外长P.S.(PALM SIZE)掌围P.W.(POINT WIDTH)乳间宽,乳中S.(SLEEVE)袖长(SHOULDER)肩宽S.B.(SINGLE BREAST)单排钮(SLACK BOTTOM) 裤脚口S.C.(STAND COLLAR) 领座S.D.(SCYE DEPTH) 腋深S.L.(SLEEVE LENGTH)袖长(SKIRT LENGTH) 裙长S.N.P.(SHOULDER NECK POINT)肩颈点(SIDE OF NECK POINT)旁颈点S.P.(SHOULDER POINT)肩点S.S.(SLEEVE SLOPE)肩斜S.S.P.(SHOULDER SLEEVE POINT)肩袖点S.T.(SLEEVE TOP)袖山S.W.(SHOULDER WIDTH)肩宽T.L.(TROUSERS LENGTH)裤长T.R.(TROUSER RISE)裤(直)裆T.S.(THIGH SIZE)腿围W.(WAIST)裤(裙)腰,腰节;腰围W.L.(WAIST LINE)腰围线,腰节线。
中英文对照图解服装各部位名称中英文对照,图解上衣、裤子和裙子各部位名称,供服装DIY爱好者参考。
上衣名称图解:1—stand collar 领座2—hanging loop 领吊袢,挂耳3—top collar 领面4—small shoulder 小肩5—sleeve top/sleeve head/crown 袖山6—lapel point 领咀7—mock button hole 假眼8—armhole 袖窿,夹圈9—breast pocket 胸袋,手巾袋10—button hole 扣眼,钮门11—top fly/left front 门襟/左前幅12—front dart 前褶13—underarm dart 肋褶14—top sleeve 大袖15—sleeve button 袖扣16—sleeve opening 袖口17—hem 衫脚18—front cut 止口圆角19—front edge 门襟止口20—under sleeve 小袖21—flap 袋盖22—change pocket 零钱袋23—button 钮扣24—under fly/right front 里襟/右前幅25—inside breast pocket 里袋26—fold line for lapel 翻领线27—lapel 驳头28—gorge line 串口29—lining center back pleat 里布后中省30—back lining 后幅里布31—top collar 领面32—across back shoulder 总肩33—back armhole 后袖窿,后夹圈34—half back belt 半腰带35—vent 背衩36—side seam 摆缝,侧骨37—center back seam 背缝,后中骨38—back yoke 后过肩,后担干裤子名称图解:1—waistband 裤头2—waistband button 腰头钮3—button tab 里襟尖咀4—waistband lining 裤头里5—bearer button 裤头钮6—extended tab 宝剑头,裤头搭咀7—left fly 门襟,钮牌8—fly buttonhole 钮牌扣眼9—front fly 裤门襟10—crutch lining 裤裆垫布11—side seam 侧骨12—inside seam 下裆缝13—reinforcement for knees 膝盖绸14—leg opening 裤脚15—turn-up cuff 卷脚,反脚16—heel stay 贴脚条17—crease line 裤中线18—fly button 钮扣19—right fly 里襟,钮子20—slant pocket 斜插袋21—front waist pleat 前腰褶22—watch pocket / coin pocket 表袋23—beltloop 裤耳24—hip pocket 后袋25—seat seam / back rise 后裆缝/后浪26—back waist dart 后褶裙子名称图解:1—waistband 裙头2—side opening 侧骨拉链开口3—inverted pleat 暗裥4—front center seam 前中缝骨5—front waist dart 前腰褶6—back waist dart 后腰褶7—side opening 侧骨拉链开口8—front yoke 前拼腰9—pleats 褶10—hem 裙脚11—side seam 侧骨12—hip pocket 后袋13—beltloop 腰带袢,耳仔。
服装部位名称图解——上衣stand collar 领座,领台back lining 后幅里lining center back pleat 里布后中省gorge line 串口lapel 驳头fold line for lapel 翻领线inside breast pocket 里袋under fly (right front) 里襟(右前幅) button 钮扣change pocket 零钱袋flap 袋盖under sleeve 小袖front edge 门襟止口front cut 止口圆角hanging loop 领吊袢,挂耳top collar 领面small shoulder 小肩sleeve top/sleeve head/crown 袖山lapel point 领咀mock button hole 假眼armhole 袖窿,夹圈,袖围breast pocket 胸袋,手巾袋button hole 扣眼,钮门,凤眼top fly (left front) 门襟,左前幅front dart 前褶,前腰underarm dart 肋褶top sleeve 大袖sleeve button 袖扣sleeve opening 袖口hem 衫脚,下摆top collar 领面32——across back shoulder 总肩,肩宽back armhole 后袖窿,后夹圈,后袖围back yoke 后过肩,后担干center back seam 背缝,后中骨half back belt 半腰带side seam 摆缝,侧骨,侧拼缝vent 背衩,后衩服装部位名称图解——上衣1——stand collar 领座,领台3——top collar 领面5——sleeve top/sleeve head/crown 袖山7—— mock button hole 假眼9—— breast pocket 胸袋,手巾袋11——top fly (left front) 门襟,左前幅13—— underarm dart 肋褶15——sleeve button 袖扣17—— hem 衫脚,下摆19——front edge 门襟止口21——flap 袋盖23—— button 钮扣25—— inside breast pocket 里袋27—— lapel 驳头29—— lining center back pleat 里布后中省31——top collar 领面33—— back armhole 后袖窿,后夹圈,后袖围35——vent 背衩,后衩37——center back seam 背缝,后中骨2—— hanging loop 领吊袢,挂耳4——small shoulder 小肩6—— lapel point 领咀8——armhole 袖窿,夹圈,袖围10—— button hole 扣眼,钮门,凤眼12——front dart 前褶,前腰省14——top sleeve 大袖16——sleeve opening 袖口18——front cut 止口圆角20—— under sleeve 小袖22——change pocket 零钱袋24—— under fly (right front) 里襟(右前幅) 26——fold line for lapel 翻领线28——gorge line 串口30—— back lining 后幅里布32——across back shoulder 总肩,肩宽34—— half back belt 半腰带36——side seam 摆缝,侧骨,侧拼缝38—— back yoke 后过肩,后担干服装部位名称图解——裤子waistband 裤头beltloop 裤耳watch pocket / coin pocket 表袋front waist pleat 前腰褶slant pocket 斜插袋right fly 里襟,天狗fly button 钮扣turn-up cuff 卷脚,反脚heel stay 贴脚条waistband button 腰头钮button tab 里襟尖咀,天狗尖咀waistband lining 裤头里,腰内贴bearer button 裤头内钮extended tab 宝剑头,裤头搭咀left fly 门襟,钮牌,前立front fly 裤门襟8-fly buttonhole 钮牌扣眼10-crutch lining 裤裆垫布side seam 侧骨,外侧拼缝inside seam 下裆缝,内侧拼缝reinforcement for knees 膝盖绸,护膝布turn-up cuff 卷脚,反脚leg opening 裤脚hip pocket 后袋back waist dart 后褶seat seam / back rise 后裆缝/后浪1——waistband 裤头4——waistband lining 裤头里,腰内贴7—— left fly 门襟,钮牌,前立10——crutch lining 裤裆垫布2——waistband button 腰头钮5—— bearer button 裤头内钮8——fly buttonhole 钮牌扣眼11——side seam 侧骨,外侧拼缝13—— reinforcement for knees 膝盖绸,护膝布15——turn-up cuff 卷脚,反脚16—— heel stay 贴脚条18——fly button 钮扣19—— right fly 里襟,天狗3—— button tab 里襟尖咀,天狗尖咀6——extended tab 宝剑头,裤头搭咀9——front fly 裤门襟12—— inside seam 下裆缝,内侧拼缝14—— leg opening 裤脚17——crease line 裤中线,中骨线,挺缝20——slant pocket 斜插袋21——front waist pleat 前腰褶24—— hip pocket 后袋22——watch pocket / coin pocket 表袋25——seat seam / back rise 后裆缝/后浪23—— beltloop 裤耳26—— back waist dart 后褶服装部位名称图解——裙子waistband 裙头front waist dart 前腰褶zipper opening 拉链开口center front seam 前中缝骨inverted pleat 暗裥/倒褶裥beltloop 腰带袢,耳仔hip pocket 后袋side seam 侧骨,侧拼缝back waist dart 后腰褶zipper opening 拉链开口front yoke 前拼腰pleats 褶hem 裙脚1——waistband 裙头3—— inverted pleat 暗裥/倒褶裥5——front waist dart 前腰褶7——zipper opening 拉链开口9—— pleats 褶11——side seam 侧骨,侧拼缝13—— beltloop 腰带袢,耳仔2——zipper opening 拉链开口4——center front seam 前中缝骨6—— back waist dart 后腰褶8——front yoke 前拼腰10—— hem 裙脚12—— hip pocket 后袋服装部位名称图解——背心small shoulder 小肩armhole 袖圈,夹圈center back seam 背中缝, 后中骨side seam 摆缝,侧骨,侧拼缝back dart 后褶adjustable waist tab 活动腰袢1—— lining 里布 袖圈,夹圈fly , left front 门襟,左前幅 7——side vent 边衩,侧衩9—— interlining 衬布(夹在面布和里布之间) 11—— button 钮扣13——side seam 摆缝,侧骨,侧拼缝 15—— under fly , right front 里襟,右前幅 17——armhole 袖圈,夹圈19——adjustable waist tab 活动腰袢 21——center back seam 背中缝,后中骨2——small shoulder 小肩4—— breast welt pocket 胸袋6—— button hole 扣眼,钮门8——front point 尖角 10—— right facing 里襟贴 12——waist welt pocket 腰袋 14—— breast dart 胸褶 16——small shoulder 小肩18——side seam 摆缝,侧骨,侧拼缝 20—— back dart 后褶3——armhole5——topside seam 摆缝,侧骨,侧拼缝waist welt pocket 腰袋button 钮扣right facing 里襟贴interlining 衬布(夹在面布和里布之间)breast dart 胸褶armhole 袖圈,夹圈 breast welt pocket 胸袋small shoulder 小肩 button hole 扣眼,钮门 side vent 边衩,侧衩 front point 尖角top fly , left front 门襟,左前幅under fly , right front 里襟,右前幅lining 里布服装部位名称图解——背心(吊带背心)Front neck 前领围Front keyhole 前钥匙形领口Hanging stripe 吊带,肩带Front armhole 前夹圈Front bust dart 前胸省Side seam 侧缝Front part 前片Bottom 下摆Back neck 后领口Back armhole 后夹圈Back part 后片1—— Hanging stripe 吊带,肩带2—— Front armhole 前夹圈3—— Front bust dart 前胸省4——Side seam 侧缝5—— Front part 前片6—— Bottom 下摆7—— Front neck 前领围8—— Front keyhole 前钥匙形领口9—— Back neck 后领口10—— Back armhole 后夹圈11—— Back part 后片top collar 领面stand collar 领台,领座small shoulder 小肩button hole 钮门,扣眼sleeve 袖子frontpart 前片,前幅armhole 夹圈,袖窿,袖围button 钮扣top fly (right front) 面门襟,右前幅under fly (left front) 底门襟,左前幅side seam 侧undersleeve seam 袖底缝side slit 侧叉sleeve opening 袖口top collar 领面sleeve cap/sleeve head 袖山缝armhole 夹圈,袖窿,袖围backpart 后片,后幅side slit 侧叉sleeve opening 袖口hem/bottom 下摆1——sleeve 袖子3—— button 钮扣5——side seam 侧缝7——side slit 侧叉9——top fly (right front) 面门襟,右前幅11—— button hole 钮门,扣眼13——stand collar 领台,领座15——sleeve cap/sleeve head 袖山17——side slit 侧叉19——sleeve opening 袖口21——top collar 领面2——armhole 夹圈,袖窿,袖围4—— under fly (left front) 底门襟,左前幅6——sleeve opening 袖口8—— undersleeve seam 袖底缝10——frontpart 前片,前幅12——small shoulder 小肩14——top collar 领面16—— backpart 后片,后幅18—— hem/bottom 下摆20——armhole 夹圈,袖窿,袖围front neck small shoulder 小肩armhole 夹圈,袖窿bust dart 胸省frontpart 前片,前幅side seam 侧缝前领圈back neck 后领圈small shoulder 小肩button 钮扣armhole 夹圈,袖窿keyhole 钥匙孔back center seam 后中缝side seam 侧缝hem/bottom 下摆1—— back neck 后领圈2——small shoulder 小肩3—— button 钮扣4——armhole 夹圈5—— keyhole 钥匙孔6—— back center seam 后中缝7——side seam 侧缝8—— hem/bottom 下摆9——side seam 侧缝10——frontpart 前片,前幅11—— bust dart 胸省12——armhole 夹圈,袖窿13——small shoulder 小肩14——front neck 前领圈。
服装部位名称图解——上衣1——stand collar 领座2——hanging loop 领吊袢,挂耳 3——top collar 领面 4——small shoulder 小肩5——sleeve top/sleeve head/crown 袖山 6——lapel point 领咀7——mock button hole 假眼 8——armhole 袖窿,夹圈9——breast pocket 胸袋,手巾袋 10——button hole 扣眼,钮门11——top fly (left front ) 门襟,左前幅 12——front dart 前褶 13——underarm dart 肋褶 14——top sleeve 大袖 15——sleeve button 袖扣 16——sleeve opening 袖口 17——hem 衫脚18——front cut 止口圆角 19——front edge 门襟止口 20——under sleeve 小袖 21——flap 袋盖22——change pocket 零钱袋 23——button 钮扣24——under fly (right front ) 里襟(右前幅) 25——inside breast pocket 里袋 26——fold line for lapel 翻领线 27——lapel 驳头28——gorge line 串口29——lining center back pleat 里布后中省 30——back lining 后幅里布31——top collar 领面32——across back shoulder 总肩 33——back armhole 后袖窿,后夹圈 34——half back belt 半腰带 35——vent 背衩36——side seam 摆缝,侧骨37——center back seam 背缝,后中骨 38——back yoke 后过肩,后担干1——waistband 裙头2——side opening 侧骨拉链开口3——inverted pleat 暗裥4——front center seam 前中缝骨5——front waist dart 前腰褶6——back waist dart 后腰褶7——side opening 侧骨拉链开口8——front yoke 前拼腰9——pleats 褶10——hem 裙脚11——side seam 侧骨12——hip pocket 后袋13——beltloop 腰带袢,耳仔1——lining 里布2——small shoulder 小肩3——armhole 袖圈,夹圈4——breast welt pocket 胸袋5——top fly,left front 门襟,左前幅6——button hole 扣眼,钮门7——side vent 边衩8——front point 尖角9——interlining 衬布(夹在面布和里布之间)10——right facing 里襟贴11——button 钮扣12——waist welt pocket 腰袋13——side seam 摆缝,侧骨14——breast dart 胸褶15——under fly,right front里襟,右前幅16——small shoulder 小肩17——armhole 袖圈,夹圈18——side seam 摆缝,侧骨19——adjustable waist tab 活动腰袢20——back dart 后褶21——center back seam 背中缝,后中骨1——waistband 裤头2——waistband button 腰头钮3——button tab 里襟尖咀4——waistband lining 裤头里5——bearer button 裤头钮6——extended tab 宝剑头,裤头搭咀7——left fly 门襟,钮牌8——fly buttonhole 钮牌扣眼9——front fly 裤门襟10——crutch lining 裤裆垫布11——side seam 侧骨12——inside seam 下裆缝13——reinforcement for knees 膝盖绸14——leg opening 裤脚15——turn-up cuff 卷脚,反脚16——heel stay 贴脚条17——crease line 裤中线18——fly button 钮扣19——right fly 里襟,钮子20——slant pocket 斜插袋21——front waist pleat 前腰褶22——watch pocket / coin pocket 表袋23——beltloop 裤耳24——hip pocket 后袋25——seat seam / back rise 后裆缝/后浪26——back waist dart 后褶服装部件名称各种领子的造型名称〔倒挂领〕指领角向下垂落的领型。
缝纫基础知识上衣、裤子和裙子各部位名称图解╭★肉丁网下面分别图解列出上衣、裤子和裙子的各部位名称,包括中英文对照,供服装DIY爱好者参考。
本文资料来自《英汉汉英服装分类词汇》一书。
上衣部位名称图解:1—standcollar领座2—hangingloop领吊袢,挂耳3—topcollar领面4—smallshoulder小肩5—sleevetop/sleevehead/crown袖山6—lapelpoint领咀7—mockbuttonhole假眼8—armhole袖窿,夹圈9—breastpocket胸袋,手巾袋10—buttonhole扣眼,钮门11—topfly/leftfront门襟/左前幅12—frontdart前褶13—underarmdart肋褶14—topsleeve大袖15—sleevebutton袖扣16—sleeveopening袖口17—hem衫脚18—frontcut止口圆角19—frontedge门襟止口20—undersleeve小袖21—flap袋盖22—changepocket零钱袋23—button钮扣24—underfly/rightfront里襟/右前幅25—insidebreastpocket里袋26—foldlineforlapel翻领线27—lapel驳头28—gorgeline串口29—liningcenterbackpleat里布后中省30—backlining后幅里布31—topcollar领面32—acrossbackshoulder总肩33—backarmhole后袖窿,后夹圈34—halfbackbelt半腰带35—vent背衩36—sideseam摆缝,侧骨37—centerbackseam背缝,后中骨38—backyoke后过肩,后担干裤子部位名称图解:1—waistband裤头2—waistbandbutton腰头钮3—buttontab里襟尖咀4—waistbandlining裤头里5—bearerbutton裤头钮6—extendedtab宝剑头,裤头搭咀7—leftfly门襟,钮牌8—flybuttonhole钮牌扣眼9—frontfly裤门襟10—crutchlining裤裆垫布11—sideseam侧骨12—insideseam下裆缝13—reinforcementforknees膝盖绸14—legopening裤脚15—turn-upcuff卷脚,反脚16—heelstay贴脚条17—creaseline裤中线18—flybutton钮扣19—rightfly里襟,钮子20—slantpocket斜插袋21—frontwaistpleat前腰褶22—watchpocket/coinpocket表袋23—beltloop裤耳24—hippocket后袋25—seatseam/backrise后裆缝/后浪26—backwaistdart后褶裙子部位名称图解:1—waistband裙头2—sideopening侧骨拉链开口3—invertedpleat暗裥4—frontcenterseam前中缝骨5—frontwaistdart前腰褶6—backwaistdart后腰褶7—sideopening侧骨拉链开口8—frontyoke前拼腰9—pleats褶10—hem裙脚11—sideseam侧骨12—hippocket后袋13—beltloop腰带袢,耳仔。
服装部位中英对照1——stand collar 领座2——hanging loop 领吊袢,挂耳3——top collar 领面4——small shoulder 小肩5——sleeve top/sleeve head/crown 袖山6——lapel point 领咀7——mock button hole 假眼8——armhole 袖窿,夹圈9——breast pocket 胸袋,手巾袋10——button hole 扣眼,钮门11——top fly(left front)门襟,左前幅12——front dart 前褶13——underarm dart 肋褶14——top sleeve 大袖15——sleeve button 袖扣16——sleeve opening 袖口17——hem 衫脚18——front cut 止口圆角19——front edge 门襟止口20——under sleeve 小袖21——flap 袋盖22——change pocket 零钱袋23——button 钮扣24——under fly(right front)里襟(右前幅)25——inside breast pocket 里袋26——fold line for lapel 翻领线27——lapel 驳头28——gorge line 串口29——lining center back pleat 里布后中省30——back lining 后幅里布31——top collar 领面32——across back shoulder 总肩33——back armhole 后袖窿,后夹圈34——half back belt 半腰带35——vent 背衩36——side seam 摆缝,侧骨37——center back seam 背缝,后中骨38——back yoke 后过肩,后担干——《英汉汉英服装分类词汇》周叔安编,客人邮件里对款式的说明,有几句不会翻:Components: Pieces in fabric,interlining and slopin g...Product block: Send you a mark时款女装: 有花式装饰线车缝.over-dyed denim指什么牛仔面料over-dyed denim指什么牛仔面料?罩染/套染牛仔烦各位帮我看看该信是否有语法和格式错误,在线等。
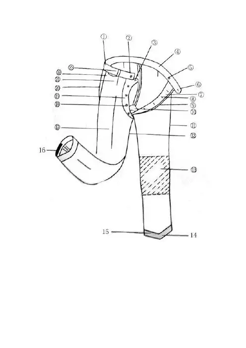
西装、西裤服装部位名称图示及中英文对照2009-12-07 15:341——stand collar 领座2——hanging loop 领吊袢,挂耳3——top collar 领面4——small shoulder 小肩5——sleeve top/sleevehead/crown 袖山6——lapel point 领咀7——mock button hole假眼8——armhole 袖窿,夹圈9——breast pocket 胸袋,手巾袋10——button hole 扣眼,钮门11——top fly(left front)门襟,左前幅12——front dart 前褶13——underarm dart 肋褶14——top sleeve 大袖15——sleeve button 袖扣16——sleeve opening 袖口17——hem 衫脚18——front cut 止口圆角19——front edge 门襟止口20——under sleeve 小袖21——flap 袋盖22——change pocket 零钱袋23——button 钮扣24——under fly(right front)里襟(右前幅)25——inside breast pocket 里袋26——fold line for lapel 翻领线27——lapel 驳头28——gorge line 串口29——lining center back pleat 里布后中省30——back lining 后幅里布31——top collar 领面32——across back shoulder 总肩33——back armhole 后袖窿,后夹圈34——half back belt 半腰带35——vent 背衩36——side seam 摆缝,侧骨37——center back seam 背缝,后中骨38——back yoke 后过肩,后担干24——hip pocket 后袋25——seat seam / back rise 后裆缝/后浪26——back waist dart 后褶1——waistband 裤头2——waistband button 腰头钮3——button tab 里襟尖咀4——waistband lining 裤头里5——bearer button 裤头钮6——extended tab 宝剑头,裤头搭咀7——left fly 门襟,钮牌8——fly buttonhole 钮牌扣眼9——front fly 裤门襟10——crutch lining 裤裆垫布11——side seam 侧骨12——inside seam 下裆缝13——reinforcement for knees 膝盖绸14——leg opening 裤脚15——turn-up cuff 卷脚,反脚16——heel stay 贴脚条17——crease line 裤中线18——fly button 钮扣19——right fly 里襟,钮子20——slant pocket 斜插袋21——front waist pleat 前腰褶22——watch pocket / coin pocket 表袋23——beltloop 裤耳。