同济大学朱慈勉 结构力学 第9章超静定结构的实用计算方法与概念分析习题答案
- 格式:doc
- 大小:3.43 MB
- 文档页数:24
朱慈勉 结构力学 第2章课后答案全解2-2 试求出图示体系的计算自由度,并分析体系的几何构造。
(a )(ⅠⅡ)(ⅠⅢ)舜变体系ⅠⅡⅢ(b)W=5×3 - 4×2 – 6=1>0几何可变(c)有一个多余约束的几何不变体系(d)W=3×3 - 2×2 – 4=1>0可变体系2-3 试分析图示体系的几何构造。
(a)(ⅡⅢ)Ⅲ几何不变2-4 试分析图示体系的几何构造。
(a)几何不变(b)W=4×3 -3×2 -5=1>0几何可变体系(ⅠⅢ)(ⅡⅢ)几何不变(d)Ⅲ(ⅠⅢ)有一个多余约束的几何不变体(ⅠⅢ)(ⅡⅢ)(ⅠⅡ)舜变体系(f)(ⅠⅢ)(ⅡⅢ)无多余约束内部几何不变(h)二元体W=3×8 - 9×2 – 7= -1, 有1个多余约束2-5 试从两种不同的角度分析图示体系的几何构造。
(a)(ⅠⅢ)ⅠⅡⅢ(ⅠⅡ)(ⅡⅢ)舜变体系(b)Ⅲ(ⅡⅢ)(ⅠⅢ)同济大学朱慈勉 结构力学 第3章习题答案3-2 试作图示多跨静定梁的弯矩图和剪力图。
(a)2P F a 2P F a4P F Q34P F 2P F(b)aaaa a2m6m2m4m2m2020Q10/326/310(c)18060(d)3m2m2m3m3m4m3m2m2m2mA2m 2m2m2m7.5514482.524MQ3-3 试作图示刚架的内力图。
(a)242018616MQ18(b)4kN ·m 3m3m6m1k N /m2kN A CBD6m10kN3m3m 40kN ·mABC D30303011010QM 210(c)45MQ(d)3m3m 6m6m2m 2m444444/32MQN(e)4481``(f)4m4m2m3m4m222220M3-4 试找出下列各弯矩图形的错误之处,并加以改正。
(a)F P(b)(c)(d)(e)(f)F3-5 试按图示梁的BC 跨跨中截面的弯矩与截面B 和C 的弯矩绝对值都相等的条件,确定E 、F 两铰的位置。
习 题9-2解:设EI=6,则5.1,1==BC AB i i 53.05.13145.1347.05.131414=⨯+⨯⨯==⨯+⨯⨯=BC BA μμ结点 A BC 杆端 AB BA BC 分配系数 固端 0.47 0.53 绞支 固端弯矩 -60 60 -30 0 分配传递 -7.05 -14.1 -15.9 0 最后弯矩-67.0545.9-45.9()()()逆时针方向215.216005.6721609.4522131m KN EI EI m M m M i AB AB BA BA B ⋅-=⎥⎦⎤⎢⎣⎡+---=⎥⎦⎤⎢⎣⎡---=θ(b)解:设EI=9,则3,31,1====BE BD BC AB i i i i12.0141333331316.0141333331436.01413333333=⨯+⨯+⨯+⨯⨯==⨯+⨯+⨯+⨯⨯==⨯+⨯+⨯+⨯⨯==BC BA BE BD μμμμ结点 A BC杆端 AB BA BC BD BE 分配系数 固端 0.16 0.12 0.36 0.36 绞支 固端弯矩0 45 -90 0 分配传递 3.6 7.2 5.4 16.216.20 最后弯矩 3.6 7.25.461.2 -73.8()()()顺时针方向22.1606.32102.732131m KN EI EI m M m M i AB AB BA BA B ⋅=⎥⎦⎤⎢⎣⎡---=⎥⎦⎤⎢⎣⎡---=θ9-3 (a) 解:B为角位移节点设EI=8,则1==BC AB i i ,5.0==BC BA μμ 固端弯矩()m KN l b l Pab M BA ⋅=⨯⨯⨯⨯=+=4882124432222 m KN l M BC ⋅-=⋅+-=582621892 结点力偶直接分配时不变号结点 A BC 杆端 AB BA BC 分配系数 铰接 0.5 0.5 固端弯矩 0 48 -58 12 分配传递0 50 50 5 5 12 最后弯矩103-312(b) 解:存在B 、C 角位移结点设EI=6,则1===CD BC AB i i i73741413145.0141414==⨯+⨯⨯==⨯+⨯⨯==BC CB BC BA μμμμ固端弯矩:mKN M M M m KN M m KN M CDCB BC BA AB ⋅-=⨯+⨯-===⋅-=⋅-=14021808640080802结点 A BC杆端 AB BA BC CB CD 分配系数 固结 0.5 0.5 4/7 3/7 固端弯矩-80 80 0 0 -140 分配传递-20 -40 -40 -2047.5 91.4 68.6 -11.4 -22.8 -22.8 -11.4 3.25 6.5 4.9 -0.82-1.63-1.63-0.820.6 0.45 最后弯矩-112.2215.57-15.4866.28-66.05(c) 解:B 、C 为角位移结点51411,5441454414,51411=+==+==+==+=CD CBBC BA μμμμ固端弯矩:mKN M mKN M mKN M mKN M mKN M mKN M DC CD CB BC BA AB ⋅-=⨯-=⋅-=⨯-=⋅=⨯=⋅-=⨯-=⋅=⨯=⋅=⨯=10065242003524501252450125241283424646424222222结点 A BCD 杆端 AB BA BC CB CD 滑动 分配系数 滑动 0.2 0.8 0.8 0.2 -100固端弯矩64 128 -50 50 -200 分配传递15.6 -15.6 -62.4 -31.272.48 144.96 36.24 -36.24 14.5 -14.5 -58 -29 11.6 23.2 5.8 -5.8 2.32-2.32-9.28-4.643.7 0.93 -0.93 最后弯矩96.4295.58-95.6157.02-157.03-142.9796.42(d) 解:11313141413114131414145.0141414=⨯+⨯+⨯⨯===⨯+⨯+⨯⨯===⨯+⨯⨯=DBDE DCCD CA μμμμμ 固端弯矩:mKN M mKN M ED DE ⋅=⋅-=⨯-=383812422 结点 A CD E 杆端 AC CA CD DC DB DE ED 分配系数 固结 0.5 0.5 4/11 3/11 4/11 固结 固端弯矩0 0 0 0 0 -2.67 2.67 分配传递-5 -10 -10 -546/33 92/33 69/33 92/33 46/33 -0.35 - 23/33- 23/33-0.35 0.127 0.096 0.127 0.064 最后弯矩-5.35-10.7-9.3-2.442.190.254.12(e) 解:当D 发生单位转角时:()()2414-=⨯⨯=m EI K Y C 则())假设12(441==⨯=-m EI EIM DC73,74,3716,379,371216,12,16,9,12=====∴=====∴EB ED DE DA DC DE EB DE DA DC S S S S S μμμμμ 结点D EB 杆端 DC DA DE ED EB BE 分配系数 12/37 9/37 16/37 4/7 3/7 固结 固端弯矩0 0 -9 9 0 0 分配传递-2.57 -5.14 -3.86 -1.93 3.75 2.81 5 -2.5 -0.72 -1.43 -1.07 -0.54 0.230.18 0.31 0.16 最后弯矩3.982.99-6.985-5-2.47(f) 解:截取对称结构为研究对象。
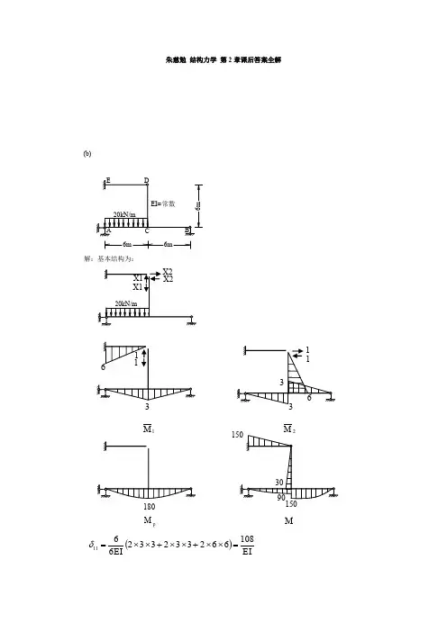
朱慈勉 结构力学 第2章课后答案全解(b)解:基本结构为:1M2Mp M M()EIEI 1086623323326611=⨯⨯+⨯⨯+⨯⨯=δ EI=常数6m6m6mEDACB20kN/m X1 X120kN/mX2 X2363361 11 118090 15030150()03323326612=⨯⨯-⨯⨯=EI δ ()EIEI 1086623323326622=⨯⨯+⨯⨯+⨯⨯=δEI EI p 27003231806212362081632323180621121=⎪⎪⎭⎫ ⎝⎛⨯⨯⨯⨯+⨯⎪⎭⎫ ⎝⎛⨯⨯⨯⨯+⨯⨯⨯⨯=∆EI EI p 5403231806212362081632323180621122=⎪⎪⎭⎫ ⎝⎛⨯⨯⨯⨯-⨯⎪⎭⎫ ⎝⎛⨯⨯⨯⨯+⨯⨯⨯⨯=∆ ⎩⎨⎧-=-=⇒⎪⎪⎩⎪⎪⎨⎧=+=+5250540108027001082111X X EI X EIEIX EI m KN M CA ⋅=⨯-⨯-=9035253180 m KN M CB ⋅=⨯+⨯-=12035253180 ()m KN M CD ⋅-=-⨯=3056(c)解:基本结构为: ⊕6m 3m5III 10kN ·m10kN ·mEA =∞C ABD 5I12m10kN ·m10kN ·mX110kN ·m 119 339 10kN ·m10kN ·m 10 101N 1M p M()EI I E EI 5558293299233256633263111=⨯⎥⎦⎤⎢⎣⎡⨯⨯+⨯⨯+⨯⨯⨯+⎪⎭⎫ ⎝⎛⨯⨯⨯=δ ()EI I E p 1442103109109231025661-=⨯⎥⎦⎤⎢⎣⎡⨯+⨯+⨯⨯+⨯⨯⨯-=∆ 01111=∆+p X δ29.11=⇒Xm KN M AC ⋅=-⨯=61.11029.19m KN M DA ⋅-=-⨯=13.61029.13 m KN M DC ⋅=⨯=87.329.13M题6-6图6-7 试用力法计算图示组合结构,求出链杆轴力并绘出M 图。
完整的结构力学答案-同济大学朱慈勉结构力学朱慈勉版本答案朱慈勉结构力学第2章课后答案全解2-2试求出图示体系的计算自由度,并分析体系的几何构造。
(a) (ⅠⅡ)(ⅠⅢ)舜变体系(b)ⅠⅡⅢW=5某3-4某2–6=1>0几何可变(c)结构力学朱慈勉版本答案有一个多余约束的几何不变体系(d)W=3某3-2某2–4=1>0可变体系2-3试分析图示体系的几何构造。
(a)(ⅡⅢ)结构力学朱慈勉版本答案(b)Ⅲ几何不变2-4试分析图示体系的几何构造。
(a)几何不变(b)W=4某3-3某2-5=1>0几何可变体系结构力学朱慈勉版本答案(ⅠⅢ)(ⅡⅢ)几何不变(d)Ⅲ(ⅠⅢ)有一个多余约束的几何不变体结构力学朱慈勉版本答案(ⅠⅢ)(ⅠⅡ)(ⅡⅢ)舜变体系(f)(ⅠⅢ)无多余约束内部几何不变(ⅡⅢ)结构力学朱慈勉版本答案(h)W=3某8-9某2–7=-1,有1个多余约束二元体结构力学朱慈勉版本答案2-5试从两种不同的角度分析图示体系的几何构造。
(a)ⅡⅠ(ⅠⅡ)Ⅲ(ⅠⅢ)舜变体系(ⅡⅢ)(ⅡⅢ)Ⅲ(ⅠⅢ)结构力学朱慈勉版本答案同济大学朱慈勉结构力学第3章习题答案3-2试作图示多跨静定梁的弯矩图和剪力图。
(a) FPaFPa2QFPFP23FP4(b)结构力学朱慈勉版本答案2020Q10/31026/3(c)60(d)3m结构力学朱慈勉版本答案M7.54484Q2.5523-3试作图示刚架的内力图。
(a)1kN/mC4kN·mA3m6mM181824Q20616(b)40kN·B10kNm3m结构力学朱慈勉版本答案M303030210(c)m3m36mM(d)mm26mQ10110Q54结构力学朱慈勉版本答案M4444N(e)484(f)Q244/3``结构力学朱慈勉版本答案M22203-4试找出下列各弯矩图形的错误之处,并加以改正。
(a)FP(b)(c)结构力学朱慈勉版本答案(d)(e)(f)F3-5试按图示梁的BC跨跨中截面的弯矩与截面B和C的弯矩绝对值都相等的条件,确定E、F两铰的位置。
2-2 试求出图示体系的计算自由度,并分析体系的几何构造。
(a)(ⅠⅡ)(ⅠⅢ)舜变体系ⅠⅡⅢ(b)【W=5×3 - 4×2 – 6=1>0几何可变(c)】有一个多余约束的几何不变体系(d)|2-3 试分析图示体系的几何构造。
(a)/W=3×3 - 2×2 – 4=1>0可变体系(ⅡⅢ) (b);Ⅲ几何不变2-4 试分析图示体系的几何构造。
(a)几何不变-(b)~(ⅠⅢ)(ⅡⅢ)几何不变~W=4×3 -3×2 -5=1>0几何可变体系(d)Ⅲ(ⅠⅢ)有一个多余约束的几何不变体@(e)(ⅠⅢ)(ⅡⅢ)(ⅠⅡ)舜变体系…(f)?(ⅠⅢ)(ⅡⅢ)无多余约束内部几何不变(g):(h)|二元体W=3×8 - 9×2 – 7= -1, 有1个多余约束2-5 试从两种不同的角度分析图示体系的几何构造。
(a)%(ⅠⅢ)ⅠⅡⅢ(ⅠⅡ)(ⅡⅢ)舜变体系(b)!Ⅲ(ⅡⅢ)(ⅠⅢ)`3-2 试作图示多跨静定梁的弯矩图和剪力图。
(a)%aa *a a2P F a 2P F a4P F Q34P F 2P F(b)"2020Q10/326/310(c){2m6m`4m2m3m2m2m3m3m4m18060(d)]7.5514482.524MQ3-3 试作图示刚架的内力图。
(a)3m2m2m2m2m2m 2m2m4kNm%6m1k N /m2kNCB{242018616MQ18(b),30303011010QM 2106m10kN>3m3m40kNmAB CD:45MQ(d)…444444/32MQN3m3m6m)2m2m(e))4481``(f)#222220M…4m2m3m4m/3-4试找出下列各弯矩图形的错误之处,并加以改正。
(a)F P(b)(c)—(d)(e)(f)F3-5 试按图示梁的BC 跨跨中截面的弯矩与截面B 和C 的弯矩绝对值都相等的条件,确定E 、F 两铰的位置。
朱慈勉 结构力学 第2章课后答案全解2-2 试求出图示体系的计算自由度,并分析体系的几何构造。
(a )(ⅠⅡ)(ⅠⅢ)舜变体系ⅠⅡⅢ(b)W=5×3 - 4×2 – 6=1>0几何可变(c)有一个多余约束的几何不变体系(d)W=3×3 - 2×2 – 4=1>0可变体系2-3 试分析图示体系的几何构造。
(a)(ⅡⅢ)Ⅲ几何不变2-4 试分析图示体系的几何构造。
(a)几何不变(b)W=4×3 -3×2 -5=1>0几何可变体系(ⅠⅢ)(ⅡⅢ)几何不变(d)Ⅲ(ⅠⅢ)有一个多余约束的几何不变体(ⅠⅢ)(ⅡⅢ)(ⅠⅡ)舜变体系(f)(ⅠⅢ)(ⅡⅢ)无多余约束内部几何不变(h)二元体W=3×8 - 9×2 – 7= -1, 有1个多余约束2-5 试从两种不同的角度分析图示体系的几何构造。
(a)(ⅠⅢ)ⅠⅡⅢ(ⅠⅡ)(ⅡⅢ)舜变体系(b)Ⅲ(ⅡⅢ)(ⅠⅢ)同济大学朱慈勉 结构力学 第3章习题答案3-2 试作图示多跨静定梁的弯矩图和剪力图。
(a)2P F a 2P F a4P F Q34P F 2P F(b)aaaa a2m6m2m4m2m2020Q10/326/310(c)18060(d)3m2m2m3m3m4m3m2m2m2mA2m 2m2m2m7.5514482.524MQ3-3 试作图示刚架的内力图。
(a)242018616MQ18(b)4kN ·m 3m3m6m1k N /m2kN A CBD6m10kN3m3m 40kN ·mABC D30303011010QM 210(c)45MQ(d)3m3m 6m6m2m 2m444444/32MQN(e)4481``(f)4m4m2m3m4m222220M3-4 试找出下列各弯矩图形的错误之处,并加以改正。
(a)F P(b)(c)(d)(e)(f)F3-5 试按图示梁的BC 跨跨中截面的弯矩与截面B 和C 的弯矩绝对值都相等的条件,确定E 、F 两铰的位置。
第9章超静定结构的实用计算方法与概念分析习题答案9-1 试说出何为杆端转动刚度、弯矩分配系数和传递系数,为什么弯矩分配法一般只能用于无结点线位移的梁和刚架计算。
9-2 试用弯矩分配法计算图示梁和刚架,作出M 图,并求刚结点B 的转角φB 。
解:设EI=6,则5.1,1==BC AB i i53.05.13145.1347.05.131414=⨯+⨯⨯==⨯+⨯⨯=BCBA μμ结点 A BC 杆端 AB BA BC 分配系数 固端 0.47 0.53 绞支 固端弯矩 -60 60 -30 0 分配传递 -7.05 -14.1 -15.9 0 最后弯矩-67.0545.9-45.9()()()逆时针方向215.216005.6721609.4522131m KN EIEI m M m M i AB AB BA BA B ⋅-=⎥⎦⎤⎢⎣⎡+---=⎥⎦⎤⎢⎣⎡---=θ(b)解:设EI=9,则3,31,1====BE BD BC AB i i i i6m3m 3m2m6m2m12.0141333331316.0141333331436.01413333333=⨯+⨯+⨯+⨯⨯==⨯+⨯+⨯+⨯⨯==⨯+⨯+⨯+⨯⨯==BC BA BE BD μμμμ结点 A BC 杆端 AB BA BC BD BE 分配系数 固端 0.16 0.12 0.36 0.36 绞支 固端弯矩 0 0 0 45 -90 0 分配传递 3.6 7.2 5.4 16.2 16.2 0 最后弯矩3.67.25.461.2-73.8()()()顺时针方向22.1606.32102.732131m KN EIEI m M m M i AB AB BA BA B ⋅=⎥⎦⎤⎢⎣⎡---=⎥⎦⎤⎢⎣⎡---=θ9-3 试用弯矩分配法计算图示刚架,并作出M 图。
(a)解:B为角位移节点设EI=8,则1==BC AB i i ,5.0==BC BA μμ 固端弯矩()m KN l b l Pab M BA ⋅=⨯⨯⨯⨯=+=4882124432222 m KN l M BC ⋅-=⋅+-=582621892 结点力偶直接分配时不变号结点 A BC 杆端 AB BA BC 分配系数 铰接 0.5 0.5 固端弯矩 0 48 -58 12 分配传递50 50 55124m 4m8m2m最后弯矩 0103 -3 12(b)解:存在B 、C 角位移结点 设EI=6,则1===CD BC AB i i i 73741413145.0141414==⨯+⨯⨯==⨯+⨯⨯==BC CB BC BA μμμμ固端弯矩: mKN M M M m KN M m KN M CDCB BC BA AB ⋅-=⨯+⨯-===⋅-=⋅-=14021808640080802结点 A BC杆端 AB BA BC CB CD 分配系数 固结 0.5 0.5 4/7 3/7 固端弯矩-80 80 0 0 -140 分配传递-20 -40 -40 -20 47.5 91.4 68.6 -11.4 -22.8 -22.8 -11.4 3.25 6.5 4.9 -0.82-1.63-1.63-0.820.6 0.45 最后弯矩-112.2215.57-15.4866.28-66.052m 6m2m2m2m 6m(c)解:B 、C 为角位移结点51411,5441454414,51411=+==+==+==+=CD CBBC BA μμμμ固端弯矩:mKN M mKN M mKN M mKN M mKN M mKN M DC CD CB BC BA AB ⋅-=⨯-=⋅-=⨯-=⋅=⨯=⋅-=⨯-=⋅=⨯=⋅=⨯=10065242003524501252450125241283424646424222222结点 A BCD 杆端 AB BA BC CB CD 滑动 分配系数 滑动 0.2 0.8 0.8 0.2 -100固端弯矩64 128 -50 50 -200 分配传递15.6 -15.6 -62.4 -31.272.48 144.96 36.24 -36.24 14.5 -14.5 -58 -29 11.6 23.2 5.8 -5.8 2.32-2.32-9.28-4.643.7 0.93 -0.93 最后弯矩96.4295.58-95.6157.02-157.03-142.974m5m5m3m96.42(d) 解:11313141413114131414145.0141414=⨯+⨯+⨯⨯===⨯+⨯+⨯⨯===⨯+⨯⨯=DBDE DC CD CA μμμμμ 固端弯矩:mKN M mKN M ED DE ⋅=⋅-=⨯-=383812422结点 A CD E 杆端 AC CA CD DC DB DE ED 分配系数 固结 0.5 0.5 4/11 3/11 4/11 固结固端弯矩0 0 0 0 0 -2.67 2.67 分配传递-5-10 -10 -546/33 92/33 69/33 92/33 46/33 -0.35 - 23/33- 23/33-0.350.127 0.096 0.127 0.064 最后弯矩-5.35-10.7-9.3-2.442.190.254.12(e)4m6m4m4m4m解:当D 发生单位转角时:()()2414-=⨯⨯=m EI K Y C 则())假设12(441==⨯=-m EI EIM DC73,74,3716,379,371216,12,16,9,12=====∴=====∴EB ED DE DA DC DE EB DE DA DC S S S S S μμμμμ 结点 D EB 杆端 DC DA DE ED EB BE 分配系数 12/37 9/37 16/37 4/7 3/7 固结 固端弯矩0 0 -9 9 0 0 分配传递-2.57 -5.14 -3.86 -1.93 3.75 2.81 5 -2.5 -0.72 -1.43 -1.07 -0.54 0.230.18 0.31 0.16 最后弯矩3.982.99-6.985-5-2.47(f)解:截取对称结构为研究对象。
9-1同济大学朱慈勉 结构力学 第9章超静定结构的实用计算方法与概念分析习题答案9-1 试说出何为杆端转动刚度、弯矩分配系数和传递系数,为什么弯矩分配法一般只能用于无结点线位移的梁和刚架计算。
9-2 试用弯矩分配法计算图示梁和刚架,作出M 图,并求刚结点B 的转角φB 。
解:设EI=6,则5.1,1==B C A B i i53.05.13145.1347.05.131414=⨯+⨯⨯==⨯+⨯⨯=B CB A μμ结点 A BC 杆端 AB BA BC 分配系数 固端 0.47 0.53 绞支 固端弯矩 -60 60 -30 0 分配传递 -7.05 -14.1 -15.9 0 最后弯矩-67.0545.9-45.9()()()逆时针方向215.216005.6721609.4522131m KN EIEI m M m M i AB AB BA BA B ⋅-=⎥⎦⎤⎢⎣⎡+---=⎥⎦⎤⎢⎣⎡---=θ(b)解:设EI=9,则9m9m 6m3m 3m 2m6m2m9-23,31,1====B E B D B C A B i i i i12.0141333331316.0141333331436.01413333333=⨯+⨯+⨯+⨯⨯==⨯+⨯+⨯+⨯⨯==⨯+⨯+⨯+⨯⨯==B CB A B E B D μμμμ 结点 A BC 杆端 AB BA BC BD BE 分配系数 固端 0.16 0.12 0.36 0.36 绞支 固端弯矩 0 0 0 45 -90 0 分配传递 3.6 7.2 5.4 16.2 16.2 0 最后弯矩3.67.25.461.2-73.8()()()顺时针方向22.1606.32102.732131m KN EIEI m M m M i AB AB BA BA B ⋅=⎥⎦⎤⎢⎣⎡---=⎥⎦⎤⎢⎣⎡---=θ9-3 试用弯矩分配法计算图示刚架,并作出M 图。
(a)解:B为角位移节点设EI=8,则1==B C A B i i ,5.0==B C B A μμ 固端弯矩()m KN l b l Pab M B A ⋅=⨯⨯⨯⨯=+=4882124432222 m KN l M B C⋅-=⋅+-=582621892结点力偶直接分配时不变号结点 A BC 杆端AB BA BC 分配系数 铰接 0.5 0.5 固端弯矩48-58124m 4m8m2m9-3分配传递 0 50 50 5 5 12 最后弯矩103-312(b)解:存在B 、C 角位移结点 设EI=6,则1===CD B C A B i i i73741413145.0141414==⨯+⨯⨯==⨯+⨯⨯==B CCB B C B A μμμμ 固端弯矩: m KN M M M m KN M m KN M CD CB B C B A A B ⋅-=⨯+⨯-===⋅-=⋅-=14021808640080802结点 A BC杆端 AB BA BC CB CD 分配系数 固结 0.5 0.5 4/7 3/7 固端弯矩-80 80 0 0 -140 分配传递-20 -40 -40 -20 47.5 91.4 68.6 -11.4 -22.8 -22.8 -11.4 3.25 6.5 4.9 -0.82-1.63-1.63-0.820.6 0.45 最后弯矩-112.2215.57-15.4866.28-66.052m 6m2m2m2m 6m9-4(c)解:B 、C 为角位移结点51411,5441454414,51411=+==+==+==+=CD CBB C B A μμμμ固端弯矩:mKN M mKN M mKN M mKN M mKN M mKN M DC CD CB BC BA AB ⋅-=⨯-=⋅-=⨯-=⋅=⨯=⋅-=⨯-=⋅=⨯=⋅=⨯=10065242003524501252450125241283424646424222222结点 A BCD 杆端 AB BA BC CB CD 滑动 分配系数 滑动 0.2 0.8 0.8 0.2 -100固端弯矩64 128 -50 50 -200 分配传递15.6 -15.6 -62.4 -31.272.48 144.96 36.24 -36.24 14.5 -14.5 -58 -29 11.6 23.2 5.8 -5.8 2.32-2.32-9.28-4.643.70.93-0.934m5m5m3m9-5最后弯矩 96.42 95.58-95.6157.02-157.03-142.9796.42(d) 解:11313141413114131414145.0141414=⨯+⨯+⨯⨯===⨯+⨯+⨯⨯===⨯+⨯⨯=DBDE DC CD CA μμμμμ 固端弯矩:m KN M mKN M E DDE ⋅=⋅-=⨯-=383812422结点 A CD E 杆端 AC CA CD DC DB DE ED 分配系数 固结 0.5 0.5 4/11 3/11 4/11 固结固端弯矩0 0 0 0 0 -2.67 2.67分配传递-5-10 -10 -546/33 92/33 69/33 92/33 46/33 -0.35 - 23/33- 23/33-0.350.127 0.096 0.127 0.064 最后弯矩-5.35-10.7-9.3-2.442.190.254.12(e)4m4m4m9-6解:当D 发生单位转角时:()()2414-=⨯⨯=m EI K Y C 则())假设12(441==⨯=-m EI EIM DC73,74,3716,379,371216,12,16,9,12=====∴=====∴E B E D DE DA DC DE E B DE DA DC S S S S S μμμμμ 结点 D EB 杆端 DC DA DE ED EB BE 分配系数 12/37 9/37 16/37 4/7 3/7 固结 固端弯矩0 0 -9 9 0 0 分配传递-2.57 -5.14 -3.86 -1.93 3.75 2.81 5 -2.5 -0.72 -1.43 -1.07 -0.54 0.230.18 0.31 0.16 最后弯矩3.982.99-6.985-5-2.47(f)解:截取对称结构为研究对象。
0.5441/212/3323AA AA ABABS EI EIS EI μμ''''==⨯==== 同理可得:21,33BA BB μμ''==另6m9-7112AA BB AB BAC C C C ''''==-==B-0.440.29-0.050.034.500.150.02-4.50-0.15-0.02-4.504.514.50M 图9-4 试用弯矩分配法计算图示梁,并作出M 图。
设图a 梁含无限刚性段;图b 梁B 支座处含转动弹簧,刚度系数为k θ=4i 。
(a)解:'4i6i283i BB ''43l 4 l 4l 43l9-8733284411626411640,3163160)(4413343434343=====⨯⨯+==⨯⨯+====∴====⨯⨯+='''BAABBA BA BA l AB l A B CBBC BC BCBC CB l l C B M M C i M S i l i i M i l i i M M M C i S iM M EI i i l ii M 其中结点 A BC 杆端 AB BA BC CB 分配系数 固结 7/11 4/11 铰结 固端弯矩 0 0 分配传递 3M/11 7M/11 4M/11 0 最后弯矩3M/117M/114M/11M 图(b)解:首先在B 点偏右作用一力矩,如图所示。
根据杆BC 端,可得()① 4BA BC BC k i Mθθθθ-+=根据杆BA 端,可得()② 4B A B A B C i k θθθθ=- 由②式得: ③ 4B A B C θk θk θi θ+=将②式代入①式得:④ 44B A B C i θi θM +=4m2m2m9-9328444244444BC =++=++=+=+=∴i i i i k i k i θθθi θi θi θB A B C B C B A B C B C θθμ31241=+=-=θθk i k μμB C B A9-5 试用弯矩分配法计算图示剪力静定刚架,并作出M 图。
解:作出M 图(在B 处加刚臂)4.0,0,6.02,0,3===∴===BC BA BD BC BA BD i S S i S μμμ结点 A B CE 杆端 AB BD BA BC CB CE EC 分配系数铰结 0.6 0 0.4 铰结 固端弯矩 0 -2ql 2-ql 2/3 -ql 2/6 0 0 分配传递 0 21 ql 2/15 0 14ql 2/15 -14ql 2/15 0 最后弯矩21 ql 2/15-2ql 23ql 2/5-33ql 2/30(b)解:提取左半部分分析=+(a)(b)ll l l 4m4m4m3m9-10(a )图中结构不产生弯矩,(b )图中结构为反对称结构,因此可以取下半部分分析得:118111221241211112124141212/2419819124141414/25.1/3=--==⎪⎭⎫ ⎝⎛++==⎪⎭⎫ ⎝++========-==⎪⎭⎫ ⎝⎛+=====''''''''C B B A F B C B B A C B E A F B A B B A A B E A A B A B A E EI EI S EI S S EIS S EI EI S EI Ei S μμμμμμμμ5kN''C 'AB AE '-10.22.048.16M 图9-6 试回答:剪力分配法的适用范围如何?什么叫柱子的并联和串连?由并联和串连所构成的合成柱,其剪切刚度和剪切柔度应如何计算?9-7 试用剪力分配法计算图示结构,并作出M 图。
(a)解:AB 、CD 、EF 、GA 均为并联结构。
①首先转化结间荷载()()()←-=←-=-=←==KN Q KN ql Q KN ql Q FA G FB A F A B 5.22 5.3783 5.628510m9-11固端弯矩:m KN ql MF A B⋅-=-=1258223333243993lil EI l EI l EI l EI k k k k k GH E F CD A B =+++=+++=并 于是边柱和中柱的剪力分配系数为83,8121==r r转化后的荷载为:37.5+22.5+10=70KN 边柱和中柱的剪力分别为: KNr F KN r F Q Q 821070870702121=⨯==⨯= 边柱柱脚弯矩为:m KN ⋅=+⨯5.21212510870中柱柱脚弯矩为:m KN ⋅=⨯5.262108210()M KN m ⋅图(b)解:同上题,边柱和中柱的剪力分配系数为83,8121==r r转化结间荷载()KN QFF E96.81041081032-=+⋅-=边柱和中柱的剪力分别为:m KN P M KN r F mKN M KN r F FF E Q F E FQ ⋅=⋅⋅==⨯=⋅-=⋅⋅-==⨯=8.1210028,36.396.82.31002810,12.196.8222121 边柱柱脚弯矩为:m K N ⋅-=⨯6.5512.1中柱CD 柱脚弯矩为:m K N ⋅-=⨯8.16536.3 中柱EF 柱脚弯矩为:m K N ⋅-=--208.162.310kN 8mEI 1=∞EI 1=∞ EI 1=∞ 10mEI EI 3EI 3EI ACEGB D F H9-125.65.616.816.829.635.7205.65.6()M KN m ⋅图(c)解:(a)当顶层横梁没有水平位移时,d 、e 、b 、c 并列 R=45KNKNF F F F r r r r Qe Qd Qc Qb d e c b 5.741========(b)KN m⋅单位:d e b c并并串a并EI 1=∞4EI c4m 4m EI 1=∞ 1 EI EI EI e9-13设14123==EIk d 则21841213=⨯=====EI k k k k k a e d c b()()()()()()()()KN F F F F F KN F F KN F r r r k k k k k k k de Q Qe Qd Qc Qb bc Q de Q Qa bcde a bcde bcde c b bc e d de 152130 153/45311 32211112121122==========-==⎪⎭⎫ ⎝⎛+==+=⇒⎪⎭⎪⎬⎫=+==+=()M KN m ⋅图(d)解:结构分析:bc 并联与de 并联,经串联后的结合柱与a 并联。