最新检验科生化室工作流程资料
- 格式:doc
- 大小:33.68 KB
- 文档页数:5
生化操作规程生化操作规程一、操作前的准备工作:1. 阅读并熟悉相关实验方法和操作规程;2. 确保实验室内的所有设备和仪器处于正常工作状态;3. 准备和检查所需试剂和材料的完整性和质量;4. 穿戴并检查个人防护装备的完好性,包括实验外套、手套、眼镜、口罩等;5. 进入实验室前,将个人物品放置于指定的区域,并保证操作台面干净整洁;6. 在实验开始前,通风系统保持良好的工作状态。
二、基本操作规范:1. 严格按照实验方法要求的程序进行操作;2. 实验过程中,不得随意更改或调整实验方法,如有必要,需提前向上级主管或指导人员请示;3. 所有试剂和化学品需按照实验方法规定的浓度和量使用,严禁使用过期或变质的试剂;4. 在进行生化实验过程中,严禁吃东西、喝水和吸烟;5. 实验后及时清洗和消毒操作台面和所使用的仪器设备,将实验废弃物妥善处理;6. 对实验室内产生的有害废气、废液和固体废物,应按照相关规定进行储存和处理。
三、个人防护:1. 在进行任何生化实验前,必须穿戴个人防护装备,包括实验外套、手套、眼镜和口罩等;2. 所有个人防护装备应在实验前进行检查,确保完好无损;3. 长时间接触或操作有毒有害物质时,应戴防毒面具和长筒胶鞋;4. 操作过程中,严禁将有毒有害物质或试剂带出实验室,特别是工作服和鞋子;5. 实验结束后,要及时将个人防护装备取下并进行清洗和消毒。
四、仪器设备的使用:1. 对实验室内的仪器设备要进行正常使用和维护,使用完毕后归位,并及时清洗仪器面板和周围;2. 使用前要先检查设备是否处于正常状态,如有异常现象应停止使用,并及时向维修人员报修;3. 不得随意更改和调整仪器设备的工作参数,禁止在未经授权的情况下打开、关闭仪器设备;4. 对故障、损坏或超过维修周期的设备,应及时报修并停止使用。
五、安全意识与事故应急处理:1. 在操作过程中,严禁恶作剧、打闹、喧哗等行为,保持高度的安全和专注意识;2. 注意观察实验过程中是否出现异常情况,如气味、颜色、形态等,发现任何异常情况应立即停止实验,并向上级主管或指导人员报告;3. 发生事故时,应立即采取正确的急救措施,并及时报告上级主管或指导人员,同时参与事故调查并配合验收部门进行处理;4. 每位实验人员须熟悉实验室内的紧急撤离路线和逃生设施的使用方法,如火警或其他紧急情况发生时,要按照预先制定的应急预案执行。
一.生化室标本的采集和处理程序二.生化室仪器校准程序三.生化室器材,仪器质控程序四.生化室标本操作和报告发出的质量控制程序五.生化室急值报告程序六.生化室室内质控程序1.室内定标程序2.室内质控程序3.室内失控报告处理程序4.室内质控数据的管理程序七.室间质评失控处理程序八.生化室抱怨处理程序九.生化室医用冰箱管理与保养程序十.预防感染(污染)管理措施十一.生化室岗位责任制十二.生化室质量保证措施一.病人的准备:医生在开检验申请单前应了解所申请检验项目对病人的要求,并提前通知病人按要求做好准备。
二.生化检验标本的一般要求:1.用洁净干燥的试管采血,及时分离血清送检。
2.宜早上空腹采血,特别是血脂测定项目应空腹12小时以上。
3.避免溶血。
4.采集标本后半小时内送检,否则应及时分离血清置冰箱保存。
5.防止过失性的采样:如边输液边抽血做K、Na、Glu等测定。
6.标本量:一般2ml血。
三.特殊标本的采集方法1、24小时尿定量:应采集24小时尿,即第一天上午8时排膀胱并弃去此次尿液,再收集以后24小时内的所有尿液(包括大便时的尿及第二天上午8时最后排空膀胱的尿液)。
尿液收集于洁净的放有适当防腐剂(如每100ml尿加2ml甲苯或二甲苯)的有盖容器内,最后充分混匀,量取总尿量,取约10ml送检,并在申请单上注明尿量。
(如无量具可全部送检)2、血糖:应在30分钟内及时分离血清送检。
3、OGTT试验:试验前3天,每日食物中糖含量不应低于150克,且维持正常活动。
影响试验的药物应在3日前停用,试验前病人应10-16小时不进食。
坐位空腹取血后5分钟内饮入250ml含75g 无水葡萄糖的糖水,以后每隔30分钟取血一次,共4次,历时2小时。
整个试验中不可吸烟、喝咖啡、喝茶或进食。
儿童给予葡萄糖量0.75g/kg体重。
于采血的同时,每隔1小时留取尿液做尿糖半定量试验。
必要时可延长血标本的收集时间,至口服葡萄糖6小时。
4、血清铁:血清铁在体内有昼夜节律的变化前后采血时应注意最好在同一时间采血。
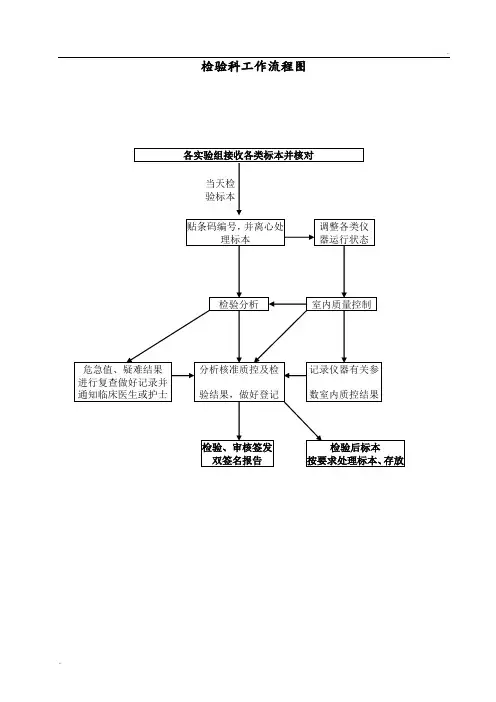
检验科生化室工作流程
1、入室前应穿工作服,并做好实验前的各项准备工作。
2、接收标本,包括各种生化项目和血气检验等。
3、认真验收标本,不合格标本可以拒收。
4、按照条码上的检验项目分类编号,并扫取条码获得病人信息。
5、离心分离血清后按照编号分别放入样品架,按照操作程序进行处理。
6、开始前先做室内质控,质控合格后再进行病人标本的检测,急诊项目优先检测。
7、注意随时进行实验过程的观察,如出现异常结果要及时处理。
8、出现危急值时,要按照《危急值报告制度》进行处理并登记。
9、门诊病人自助打印结果,病房标本由病房护士打印结果。
10、如病人或医生对结果有异议,要及时查找处理,做出合理解释。
如果处理不了,要及时通知组长或科主任。
11、将检测完的标本摆放整齐存放在2-8℃冰箱保存7天。
12、每天工作结束后关闭机器,关好水电、门窗后才能离开。
附:检验科生化室工作流程图。
检验科生化室工作流程检验科生化室工作流程检验科生化室工作流程1.标本的接收与处理1.1标本的接收①严格执行患者、化验单及标本收集器皿的核对制度,保证无差错。
②认真审核检验申请单,申请单上需标明:患者姓名、性别、年龄、科别、病区及床号、临床诊断、标本采集时间和实验室收到时间等。
③签收人员应逐一检查标本的质量,避免血少或严重污染等,对不合格、但可以接受的样本,签收人员要记录标本的缺陷,对于不符合要求的样本,签收人员应拒绝接受,同时注明拒收原因,并通知临床重新采集标本。
1.2标本的处理①生化室收到临床标本后,应尽快低速离心分离血清或血浆(天冷血清尚未析出,可将标本放置水浴箱15-20min),离心速度为3000r/min左右,时间为5-10min。
不主张用玻璃棒或类似器材去剥离附着于试管壁和管塞上的凝块,因处理不当可导致溶血;如果必须将凝块与试管内壁分开或取下管塞时,一定要小心处理。
2.仪器与试剂2.1仪器①建立仪器档案:保存每一台仪器的购置论证书、仪器说明书、操作手册。
②建立仪器操作程序:按照操作手册的要求,建立本室仪器操作程序,并在实际操作中严格按操作程序实施。
③仪器校准:所有仪器按要求进行校准。
校准时,必须选用与仪器配套的校准品,不同系统应选用不同的校准品。
所有校准都应有时间、结果、变更和频度的记录和说明。
④仪器比对:对具有两台或两台以上同类仪器,并有相同检测项目,应定期进行仪器间比对实验,以确保结果的一致性。
一般3个月或有以下情况应进行一次比对:质控结果不一致、其中一台仪器经维修保养、更换元器件、试剂更换厂家等。
⑤检测方法选择:原则上在确保质量的前提下,生化室应尽可能选择各项目的推荐方法,如因测定方法和试剂的更换造成临床正常值参考范围发生变动的,应做好对临床的宣传工作。
2.2试剂①试剂选择:参照《卫生部临床检验体外诊断试剂盒质量检定暂行标准》的有关规定,在充分考虑质量的前提下,应尽可能选用和生化检验仪器相配套的试剂,如使用其他商品化试剂应做相应的对照实验并有可行性的报告和记录。
第1篇一、目的为确保生化实验结果的准确性和安全性,特制定本规程。
本规程适用于所有涉及生化实验的操作过程。
二、适用范围本规程适用于实验室中所有涉及生化实验的操作,包括但不限于蛋白质、核酸、酶、激素等生物分子的检测和分析。
三、操作步骤1. 准备工作(1)实验前,需熟悉实验原理、实验方法和操作流程。
(2)检查实验器材和试剂是否齐全、完好,并按照实验要求进行配置。
(3)实验前需穿戴实验服、手套和护目镜,确保实验操作安全。
2. 样本处理(1)按照实验要求采集和处理样本,确保样本的完整性和准确性。
(2)对样本进行必要的预处理,如离心、过滤、稀释等。
(3)按照实验要求将样本分为若干份,并标记清楚。
3. 试剂配制(1)根据实验要求,准确称取或量取试剂,并加入适量的溶剂。
(2)试剂配制过程中,需保持操作环境清洁,避免交叉污染。
(3)试剂配制后,需进行验证,确保其浓度和纯度符合实验要求。
4. 实验操作(1)按照实验步骤,依次进行加样、反应、检测等操作。
(2)实验过程中,需密切观察反应现象,如颜色变化、沉淀形成等。
(3)根据实验要求,适时调整实验条件,如温度、pH值等。
5. 数据记录与分析(1)详细记录实验过程中观察到的现象、数据及实验条件。
(2)对实验数据进行统计分析,得出实验结果。
(3)对实验结果进行评价,分析实验误差和影响因素。
6. 实验结束(1)实验结束后,清理实验器材,确保实验室环境整洁。
(2)将实验数据、结果和分析报告整理归档。
(3)对实验过程中存在的问题进行总结,提出改进措施。
四、注意事项1. 实验过程中,严格遵守实验操作规程,确保实验安全。
2. 试剂、器材、样本等实验用品应妥善保管,避免污染和浪费。
3. 实验过程中,如遇异常情况,应及时停止操作,查找原因,并采取相应措施。
4. 实验结束后,对实验器材进行清洗、消毒,确保下次实验的准确性。
5. 实验室环境应保持清洁、整洁,确保实验操作顺利进行。
五、附则本规程由实验室负责解释和修订。
医院检验科工作流程1. 检验科简介检验科是医院中非常重要的一个科室,主要负责医院各类检验工作。
检验科涉及到生物化学检验、微生物检验、免疫学检验等多个方面,是医院诊断治疗的重要保障。
2. 工作流程2.1. 样本接收与处理样本接收与处理是检验科工作的第一个环节,主要包括:样品登记、样品分类、样品分装、标本运输等。
对于样本接收,先要核对医嘱上的信息,确定患者的基本信息、检验项目及其检测方法、检验时间等,按照规定流程进行登记、分配并分装样品。
样品分装时标明标本来源、种类、样本顺序等信息,同时写明接收时间及样品存放条件等。
此外,对于特殊样品,还需要按照规定流程进行处理,如血液、尿液、粪便等需要运输到生化检验室进行检验。
2.2. 现场检验样本接收与处理完成后,就进入了现场检验环节。
现场检验分为生化、微生物、免疫三个检验部分。
2.2.1. 生化检验生化检验主要是对血液、尿液等生物样品进行化学分析,包括生化参数测定、药物浓度测定等。
生化检验的具体操作也非常复杂,需要经过样品前处理、样品分析等多个步骤。
生化检验结果通常要求在一个小时以内出具报告,以便医师及时作出诊断治疗决策。
2.2.2. 微生物检验微生物检验主要是对各种感染病原体进行检测和鉴定,一般包括细菌、真菌、病毒三大类病原体的检测。
微生物检验的操作步骤也非常复杂,主要包括拣选、培养、鉴定、药敏等环节。
在微生物检验中,检验结果的准确性及时效性对于治疗及患者的康复起到至关重要的作用。
2.2.3. 免疫学检验免疫学检验主要是通过血清学检测来诊断并评估传染病和免疫类疾病。
免疫学检验分为多种类型,如ELISA、放射免疫等,每种类型的检验都有对应的操作流程和注意事项,需要严格按照要求操作。
2.3. 质控与结果审核检验结果出来后,需要经过严格的质控和审核流程。
质控环节包括内部质控和外部质控,内部质控是保证分析质量和结果准确性的重要手段,外部质控是为了保证检验结果的可比性,在外部检查机构进行的。
检验科开展生化准备工作
1. 设备和试剂准备,首先,检验科需要确保所有用于生化检验的仪器设备都处于良好的工作状态,包括生化分析仪、离心机、恒温槽等。
同时,需要准备好各种生化检验所需的试剂和标准品,确保其质量和数量满足检验需求。
2. 样本接收和处理,接收来自临床医生开具的生化检验申请单和患者样本,进行样本登记、标本管分类、样本分装等工作。
在处理样本时,需要严格遵守标本处理规范,确保样本不受污染和交叉感染。
3. 质控和质量保证,在进行生化检验前,需要进行质控品的检验和校准,确保仪器的准确性和稳定性。
此外,检验科还需要建立质量管理体系,定期进行内部质量控制和外部比对,以确保检验结果的准确性和可靠性。
4. 检验方法选择和操作规范,针对不同的生化指标,检验科需要选择合适的检验方法,并严格按照操作规范进行检验操作,包括样本稀释、试剂添加、反应时间控制等步骤,确保检验结果的准确性和可比性。
5. 结果解读和报告,最后,检验科需要对检验结果进行解读和审核,确保结果符合临床诊断需求。
同时,及时准确地向临床医生发布检验报告,为临床诊断和治疗提供准确的实验室支持。
总的来说,生化准备工作涉及设备、试剂准备、样本处理、质控和质量保证、检验方法选择和操作规范、结果解读和报告等多个方面,需要检验科严格按照标准操作规程进行,以确保生化检验的准确性和可靠性。
生化检验实验室的工作流程下载温馨提示:该文档是我店铺精心编制而成,希望大家下载以后,能够帮助大家解决实际的问题。
文档下载后可定制随意修改,请根据实际需要进行相应的调整和使用,谢谢!并且,本店铺为大家提供各种各样类型的实用资料,如教育随笔、日记赏析、句子摘抄、古诗大全、经典美文、话题作文、工作总结、词语解析、文案摘录、其他资料等等,如想了解不同资料格式和写法,敬请关注!Download tips: This document is carefully compiled by theeditor. I hope that after you download them,they can help yousolve practical problems. The document can be customized andmodified after downloading,please adjust and use it according toactual needs, thank you!In addition, our shop provides you with various types ofpractical materials,such as educational essays, diaryappreciation,sentence excerpts,ancient poems,classic articles,topic composition,work summary,word parsing,copy excerpts,other materials and so on,want to know different data formats andwriting methods,please pay attention!一、标本采集。
1. 医生根据患者的病情和检验目的,开具相应的检验申请单。
检验科生化室工作流程及内容The work process and content of the biochemistry department in the inspection department are crucial to the smooth operation of the entire hospital. 生化室在医院中的工作流程和内容对整个医院的顺利运转非常重要。
The biochemistry department plays a significant role in diagnosing diseases, monitoring the progress of treatment, and ensuring the overall health and well-being of the patients. 生化科部门在诊断疾病、监测治疗进展以及确保患者的整体健康和幸福方面发挥着重要作用。
It is responsible for carrying out various biochemical tests on patient samples to provide accurate and timely results to the attending physicians. 它负责对患者样本进行各种生化测试,为主治医生提供准确及时的结果。
This ensures that the patients receive appropriate and effective treatment based on their test results. 这确保了患者根据他们的测试结果接受到适当和有效的治疗。
The workflow in the biochemistry department typically involves several crucial steps to ensure the accuracy and efficiency of the tests conducted. 生化科部门的工作流程通常包括几个重要步骤,以确保所进行的测试的准确性和效率。
临床生化室工作流程
临床生化室工作流程通常包括以下几个步骤:
1. 样本接收:接收来自医院不同科室的样本,如血液、尿液等。
2. 样本预处理:对样本进行一系列的预处理步骤,如标本离心、样本稀释等。
3. 样本检测:使用自动生化分析仪器对样本进行各种指标的测定,如肝功能、肾功能、血糖、血脂等。
4. 结果分析:对检测结果进行质量控制和质量评估,确保结果的准确性和可靠性。
5. 报告生成:将检测结果录入电脑系统,并生成相应的报告,通常包含检测指标、参
考范围和结果解读等内容。
6. 报告审核:由专业人员对报告进行审核,确保报告的准确性和完整性。
7. 报告发送:将审核通过的报告发送给相关医生或科室,供临床诊断和治疗参考。
8. 结果保存:将样本信息和检测结果进行归档和保存,以备日后查询和追溯。
临床生化室的工作流程通常严格遵循质量管理体系和实验室标准操作规范,以确保结
果的准确性和可靠性,并为临床医生提供准确的诊断和治疗依据。
生化实验操作规程生化实验是一种常见的科研方法,它在医药、生物工程、食品工业等领域起着重要作用。
然而,由于实验中使用的试剂和设备都具有一定的危险性,必须严格遵守操作规程,以确保实验人员的安全和实验结果的准确性。
本文将为大家介绍一些常见的生化实验操作规程。
首先,实验前必须进行充分的准备工作。
这包括仔细阅读实验操作手册,了解实验目的、方法和注意事项。
同时,需要检查实验室所需的试剂和设备是否齐全,并将实验室的工作台、仪器和试剂摆放整齐,确保实验环境的清洁和整洁。
其次,实验前应正确佩戴个人防护装备。
这包括实验室常用的实验手套、防护眼镜、实验服和口罩等。
尤其是在进行液体处理、制备食用的试剂或接触有毒物质的实验时,更需要戴上相应的手套和防护眼镜,以防止对身体造成伤害。
第三,实验中必须严格遵守剂量和浓度的规定。
在操作实验时,不能随意增加或减少试剂的用量,必须按照规定的比例准确称量和混合。
同时,应严格控制试剂的浓度,避免使用过高或过低浓度的试剂对实验结果产生干扰。
此外,实验中涉及到的禁止食用物品要严格禁止食用。
实验室是一个专业的工作场所,任何时候都不能将食物或饮料放到实验台上。
这是因为实验台上可能残留有毒物质或细菌,误食可能导致身体健康问题。
在实验过程中,要保持实验区域的整洁和干净。
实验结束后,必须清理实验台、仪器和试剂。
使用过的试剂瓶子和容器应当进行妥善处理,正确分类和回收。
同时,实验人员应当将个人防护用品进行清洗和消毒,保证下次使用时的卫生和安全。
最后,实验中应当保持良好的实验操作习惯。
实验人员在操作过程中应注意细节,严格按照操作规程执行实验步骤。
遇到问题或疑惑时,应第一时间向实验室的主管或指导教师寻求帮助和解答。
总之,生化实验是一项科研工作中不可或缺的重要环节,但其中隐藏着一定的危险性。
为了确保实验人员的安全和实验结果的准确性,在进行生化实验前,实验人员必须充分准备,并严格遵守操作规程。
同时,保持实验环境的整洁和干净,正确处理实验废弃物。
检验科工作流程图各实验组接收各类标本并核对危急值、疑难结果进行复查做好记录并通知临床医生或调整各类仪器运行检验分贴条码编号,并离心处理标本检验后标本按要求处理标本、当天检验标本记录仪器有关参检验、审核签发双签名报告室内质量分析核准质控及检各类穿刺血大小便检验检验科不合格标本处理流程检验科各岗位日常工作流程图生化室岗位日常工作流程图免疫室岗位日常工作流程图血液组岗位日常工作流程图常规室体液组岗位日常工作流程图血凝分析岗位日常工作流程图骨髓细胞分析岗位日常工作流程图微生物室岗位日常工作流程图HIV抗体筛查室岗位日常工作流程图检验科废物处置流程检验科生化室临微生物1.废弃血液标本、尿液、加样枪尖、针头等,各类医用后用品等2.废弃仪器试剂包、实验室质控品等3.一次性手套、口罩、帽子等。
1.废弃的血液、血清、清洗液等2.一次性吸管、加样枪尖、微量吸管、表抗等试剂条等3.实验室质控品等4.一次性使用的口罩、帽子、手套等5.传染病患者或者疑似传染病患者产生的生活垃圾等6微量吸管、一次性吸管以及移液器头等7.使用后一次性医疗用品及医疗器械等8.化学试剂等1.被检患者血液污染的棉签、一次性试管等物品2. 各个仪器使用后的废液等。
3.血图片,各类染色分片4.废弃的体夜(如尿液、胸腹水、穿刺液等)、粪便1各个仪器使用后的废液等。
2.各种化学废液1.病原体培养基、标本和菌种、毒种等2.结核等传染病人的标本等3.一次性用品、棉签、衣、帽、试管等用防渗漏的专用由产生废物的实验室负责免每日由专人用密生活垃1.一般废物、家居及办公废物、剩余饭菜、果皮果核、罐头盒、饮料瓶、手纸、包装纸等2.使用后,未被病人血液、体液、排泄物污染的的各种玻璃制品等医疗废物废医疗废物处理流程医疗废物产生地采血室岗位日常工作流程图提前上岗,着装规范,每天两次空气灭根据检验项目,确定采血时间,选择采血管种类,核对姓名化验单。
询问是否禁食,向病人解释说明采血相三查七对,遵守无菌原则,采取血标本交代采血后注意事项,观察有无异常。
检验科生化室工作制度
一、服从科主任、组长的工作安排。
二、接受标本要进行编号并核对标本号;发报告前要仔细核对病人姓名、性别、科别、床号和住院号,并逐项核对检验项目,确定无误后签上审核者全名方可发出。
三、开全自动生化仪前要检查电源电压,纯水的电导率是否合格(电压220V±10%,电导率>1MΩ/CM)。
测试标本前要准备好试剂,该定标的要定标。
做好室内质控,质控要在控才能发出检验报告。
否则,必须查明原因并正确处理之,同时应做失控原因分析和处理记录。
每月按时上交质控数据,包括质控月小结。
月CV值与偏倚值符合要求。
四、急诊检验单要及时检验,及时电告结果或及睦发出报告单。
五、二氧化碳、电解质分析仪器,每天工作完毕后进行—次去蛋白液的冲洗。
六、审核报告时要认真分析结果之间的关系,特别是异常结果。
要从与临床诊断的符合性、结果之间相关性等方面去分析。
必要时与临床沟通,尽量减少分析后误差。
七、下班前要对工作台面进行整理和用消毒液擦洗一次,并对仪器进行相应清洁保养。
工作结束后要检查各种仪器各种电器设备的电源是否关闭,每天一次记录仪器室内温度和冰箱温度。
八、遇到仪器故障不能进行正常工作,要及时告之仪器维护人员、科主任。
有必要时外送检验。
检验科生化室制度
1、保持室内清洁卫生,每天上、下班前打扫干净工作台、地面,并用250mg/L有效氯消毒两次,如有污染随时消毒,每天开窗通风二次。
将用过的一次性物品放到指定的地点,再由卫生工人负责处理;用过的非一次性物品,用500mg/L有效氯浸泡后,再由卫生工人负责处理。
2、每天收验标本时要核对科别、姓名、性别、标本号、标本数量、质量。
3、每天有专人负责生化分析仪的开机、调试、检测、保养、维护、关机等工作,发现仪器有问题要及时报告,并做好记录。
4、准备好仪器所用的试剂,及时更换,确保检验质量。
5、审核检验结果,对有疑问的结果要复查,同时及时检查仪器、试剂、标准、质控、标本等,发现问题立即解决,确保检验结果准确、可靠。
6、每天记录仪器的使用情况。
7、做好室内、室间生化质控,每天记录室内质控结果,画好室内质控图,并定期分析质控结果,出现异常情况时记录处理意见。
检验科生化实验操作指南一、实验目的本实验操作指南旨在为检验科工作人员提供详细的生化实验操作指导,确保实验过程的准确和安全。
二、实验准备1. 准备所需实验材料和试剂。
2. 检查实验仪器和设备的完好性和正常工作状态。
3. 穿戴实验室个人防护装备,包括实验服、手套、口罩和护目镜。
三、实验步骤1. 将待测样本进行标识,并按照实验要求进行适当的处理和预处理。
2. 根据实验方案和操作要求,准确称取所需的试剂和溶液。
3. 按照实验要求,将试剂和样本进行混合或反应,注意搅拌均匀。
4. 使用实验仪器对混合液进行必要的测试和分析。
5. 记录实验数据和观察结果,保留实验样本和残留物。
6. 根据实验要求,对实验结果进行分析和解释。
四、实验注意事项1. 严格按照实验方案和操作要求进行操作,避免任意更改实验步骤。
2. 注意使用安全防护装备,保护自己和他人的安全。
3. 在实验过程中保持实验台面整洁,避免交叉污染。
4. 注意正确使用实验仪器和设备,避免人为破坏。
5. 注意实验材料和试剂的保存和管理,避免损坏和过期使用。
五、实验结果与分析根据实验数据和观察结果,结合实验要求和参考标准,对实验结果进行分析和解释。
目的是得出准确的结论并提供相关建议。
六、实验总结与改进根据实验过程和实验结果,总结实验的优点和不足之处,并提出改进的建议。
目的是提高实验的准确性和效率。
结束语此生化实验操作指南为检验科工作人员提供了详细的操作步骤和注意事项,帮助他们完成实验工作,确保实验结果的准确和可靠。
在实验过程中,工作人员要严格按照操作规程进行操作,并时刻关注实验安全。
通过实验结果的分析和总结,进一步优化实验方法,提高工作效率和准确性。
生化实验操作规程一、实验目的本实验操作规程旨在确保生化实验的顺利进行,保证实验结果的准确性和可重复性。
二、实验前准备1. 确认所需实验器材和试剂的齐全性。
2. 检查实验室安全设备的完好性,如洗眼器、紧急淋浴等。
3. 穿戴实验室安全防护用具,如实验服、手套、眼镜等。
4. 清洁并消毒实验台面和各项实验器皿。
三、实验操作步骤1. 根据实验需求,准备好所需样本和试剂,并按照提供的配方准确称量。
2. 将准备好的样本和试剂按照实验器具要求加入相应容器中,并进行混匀。
3. 设置实验仪器或设备的参数,确保其正常运行。
4. 将准备好的样本和试剂按照实验要求进行处理,如加热、冷却、离心等。
5. 在实验过程中,保持实验操作区域的整洁,避免交叉污染。
6. 在实验操作完成后,根据实验要求及时保存或处理样本和试剂。
7. 清洁并消毒使用过的实验器具,确保下次使用前的准备工作。
四、实验安全注意事项1. 遵守实验室安全操作规范,严禁单独操作以及无指导下进行实验。
2. 注意个人防护,正确佩戴实验服、手套、眼镜等防护用具。
3. 使用化学试剂时,避免直接接触皮肤和吸入有害气体。
4. 注意实验仪器或设备的安全操作要求,避免损坏设备或引发事故。
5. 在实验过程中,及时清理溢出物和废弃物,并正确处理。
五、实验记录与结果分析1. 按照实验要求记录实验操作的步骤、试剂使用量等相关信息。
2. 将实验结果进行详细记录,并进行数据分析和解释。
3. 对实验结果进行总结,归纳出可能存在的误差和改进方向。
六、实验后处理1. 根据实验室规定,妥善处理产生的废弃物和实验材料。
2. 清洁实验器具并归位,确保实验室的整洁和安全。
七、实验注意事项1. 严格按照操作规程进行实验,不得随意更改实验过程或参数。
2. 在实验过程中严禁食品和饮品的摄入,以免引起误食或误呼吸。
3. 如在实验过程中遇到问题或意外情况,应立即向指导老师报告。
通过以上的实验操作规程,我们能够确保每一次生化实验的顺利进行,并获得准确可靠的实验结果。
精品文档
检验科生化室工作流程
1.标本的接收与处理
1.1标本的接收
①严格执行患者、化验单及标本收集器皿的核对制度,保证无差错。
②认真审核检验申请单,申请单上需标明:患者姓名、性别、年龄、科别、病区及床
号、临床诊断、标本采集时间和实验室收到时间等。
③签收人员应逐一检查标本的质量,避免血少或严重污染等,对不合格、但可以接受
的样本,签收人员要记录标本的缺陷,对于不符合要求的样本,签收人员应拒绝接受,
同时注明拒收原因,并通知临床重新采集标本。
1.2 标本的处理
①生化室收到临床标本后,应尽快低速离心分离血清或血浆(天冷血清尚未析出,可将
标本放置水浴箱15-20 min),离心速度为3000 r/min左右,时间为5-10 min。
不主张用玻璃棒或类似器材去剥离附着于试管壁和管塞上的凝块,因处理不当可导致溶血;如果必须将凝块与试管内壁分开或取下管塞时,一定要小心处理。
2.
2.1 仪器①建立仪器档案:保存每一台仪器的购置论证书、仪器说明书、操作手册。
建立仪器操作程序:按照操作手册的要求,建立本室仪器操作程序,并在实际操作②中严格按操作程序实施。
③仪器校准:所有仪器按要求进行校准。
校准时,必须选用与仪器配套的校准品,不同
系统应选用不同的校准品。
所有校准都应有时间、结果、变更和频度的记录和说并有相同检测项目,应定期进行仪, 对具有两台或两台以上同类仪器明。
④仪器比对:个月或有以下情况应进行一次比对:质控以确保结果的一致性。
一般3, 器间比对实验结果不一致、其中一台仪器经维修保养、更换元器件、试剂更换厂家等。
精品文档.
精品文档
⑤检测方法选择:原则上在确保质量的前提下,生化室应尽可能选择各项目的推荐方法,如因测定方法和试剂的更换造成临床正常值参考范围发生变动的,应做好对临床的宣传工作。
2.2 试剂
①试剂选择:参照《卫生部临床检验体外诊断试剂盒质量检定暂行标准》的有关规定,在充分考虑质量的前提下,应尽可能选用和生化检验仪器相配套的试剂,如使用其他商品化试剂应做相应的对照实验并有可行性的报告和记录。
②试剂的使用和保存:严格按照说明书的要求进行操作和保存,如果是干粉或片剂,一定要注意复溶水的质量。
在试剂的使用过程中,应有相应的批号、使用情况及更换记录和说明。
3.室内质控与室间质评
室内质控是为了监测和评价实验室工作质量,以决定常规检验报告能否发出所采取
的一系列检查、控制手段,它代表每天检验结果的准确性;而室间质评既由实验室
以外的某个机构对各实验室常规工作的质量进行监测忽然评定,以评价各实验室工作
质量,逐步提高常规检测的准确性和可比性。
以切实做好本室的室内质控为基础,实
验室应积极参加室间质评活动,以增加检验结果的准确度和可比性。
各类生化检验项
目应有相应的室内质量控制系统。
①质控品选择:选择符合要求的两个浓度质控品。
②严格按照质控品说明书要求,正确使用和保存。
③设定靶值:实验室应对新批号质控品的各个测定项目确定靶值,靶值必须用本室现行使用的测定方法进行确定;定值质控品的标定值只能作为确定靶值的参考。
④质控方法选择:根据室内质控的要求选择多规则质控方法。
⑤绘制质控图及记录质控结果:根据质控品的靶值和控制限绘制
LeveyJennings控制图(单一浓度水平),或将不同浓度水平的结果绘制在同一图上
的Youden图,将原始质控结果记录在质控图表上,保留打印的原始质控记录。
⑥失控处理及原因分析:填写失控报告,分析误差原因,并采取相应处理措施;根据分析所得的失控原因,判断结果是真失控还是假失控,以决定当批结果是否发出或重新测
精品文档.
精品文档
4. 医学检验是将患者标本经过检测分析后,其检测结果体现
在检验报告单上。
生化分析的自动化,可减少了填写检验报告的误差,但有时也会出
现异常结果,因而也增加了对测定结果进行审核的要求。
对异常结果必须认真分析、复查、必要时应与临床取得联系。
所有报告结果经人员审核并签字后方能发出。
如遇
5.加强与临床科室的联系与沟通
生化室不能只满足于接收标本到发报告单这一环节,检验人员应积极深入临床,学习
临床知识,听取临床对检验结果可靠性评价;并解释某些检验结果与患者临床表现不符的情况,尤其是一些误解,通过讨论和解释,会使一些错误得到及时纠正。
另外,
在检验过程中如发现有明显异常或通常不太可能出现的结果时,检验人员应积极询问相关临床医生,了解具体情况后再作出判断。
因此,加强与临床科室的联系与沟通,
可促进临床标本的正确采集与检验结果的合理解释,同时,实验室也可从临床方面获
得许多反馈信息,了解临床的需要,开发新项目,更好地为临床服务; 与临床科室的联系与沟通是现代化医疗模式的基本要求,在当今医疗社会中极为重要。
总之,生化室
工作的各个环节均不容忽视,只有这样,才能使生化室工作达到优质、高效、准确。
同时,我们在工作中,不断学习和更新知识,加强自身建设,不断地完善制度,促进
医学检验的发展,更好地为人类服务。
一些误解,通过讨论和解释,会使一些错误得
精品文档.
精品文档
到及时纠正。
另外,在检验过程中如发现有明显异常或通常不太可能出现的结果时,检验人员应积极询问相关临床医生,了解具体情况后再作出判断。
因此,加强与临床科室的联系与沟通,可促进临床标本的正确采集与检验结果的合理解释,同时,实验
室也可从临床方面获得许多反馈信息,了解临床的需要,开发新项目,更好地为临床服务; 与临床科室的联系与沟通是现代化医疗模式的基本要求,在当今医疗社会中极为
重要。
总之,生化室工作的各个环节均不容忽视,只有这样,才能使生化室工作达到优质、高效、准确。
同时,我们在工作中,不断学习和更新知识,加强自身建设,不断地完善制度,促进医学检验的发展,更好地为人类服务。
精品文档.。