路政管理许可申请表
- 格式:doc
- 大小:1.15 MB
- 文档页数:4
(一)法律根据:《中华人民共和国公路法》第55条、《吉林省公路管理条例》第35条、交通部《路政管理规定》第15条等。
(二)办理程序:申请人与当地公路管理机构协商,准备齐全申请材料后向交通厅行政审批办公室提交申请。
许可机关按照《行政许可法》第四章规定办理。
(三)许可条件:
1、不能通过其他道口绕行确需增设新的道口;
2、设计和施工满足《公路工程技术标准》要求,不危及公路安全(情况复杂、特殊的,须通过专家论证);
3、与公路建设计划和规划相协调;
4、同意公路建设、养护和管理需要时无条件及时拆除或者改建;
5、与当地公路管理机构签订的管理和补偿协议符合国家和省有关规定。
(四)申报材料目录:
1、申请人资格证明(经营性组织提供法人营业执照或营业执照;社会团体提供登记证;行政机关、事业单位提供单位代码证;自然人提供身份证)原件及复印件。
2、路政许可申请表;
3、确需增设道口的证明;
4、建设项目批准文件及工程设计图;
5、当地公路管理机构出具的现场勘验材料;
6、与当地公路管理机构签订的管理和补偿协议;
7、同意公路建设、养护和管理需要时无条件及时拆除的承诺书;
8、具有相应公路设计资质的单位出具的设计方案和施工设计图纸。
(五)承诺时限:15个工作日。
(申请人提供事先与省公路管理机构就拟设道口的工程设计达成一致的证明的可即办)、(现场勘查时间不计算在许可规定时限内)(六)收费标准:无行政许可收费。
(七)数量限制:无数量限制。
填表须知
一、本表许可申请栏部分由申请人逐项如实真写,不得弄虚作假,否则,本表无效。
二、如申请事项涉及公路挖掘、占用或者由此导致公路改造的规模较大时,在填写本表
时还须附有专门的设计方案、图纸和相关资料,否则不予审批。
三、本表仅为路政管理许可的立项工作文书。
申请事项在实施前,申请方与管理方应根
据此表,并视申请事项的需要签订协议,以表达许可的具体内容、双方的承诺及有关的条文
约定,在协议的基础上方可发放许可证。
四、本表申请事项涉及的所有挖掘、占用、穿越、跨越公路、公路用地的,均属临时性
使用。
今后,当建设、改造该公路及其设施时,申请人必须无条件拆除、搬迁,其所产生的
费用自理。
五、被批准方必须在批准的路政管理部门的指导下实施,并接受其检查、验收。
六、涉及公路行业以外的其他部门的审批手续,由申请方自行协调办理。
七、填写本表须用蓝色或者黑色钢笔,不得使用圆珠笔填写或复写。
编号:[ ]字第号
路政管理许可申请表
申请单位(个人签章):申请时间:
受理单位:。
公路路政管理法律法规知识竞赛试题填空题(100题)1、行政处罚遵循公开、公正的原则2、设定和实行行政处罚必须以事实为依据,与违法行为的事实、性质、情节以及社会危害限度相称。
3、实行行政处罚,纠正违法行为,应当坚持处罚与教育相结合,教育公民、法人或者其他组织自觉守法。
4、违法行为在二年内未被发现的,不再给予行政处罚。
法律另有规定的除外。
5、行政处罚由违法行为发生地的县级以上地方人民政府具有行政处罚权的行政机关管辖。
6、行政法规可以设定除限制人身自由以外的行政处罚。
7、公民、法人或者其他组织对行政机关给予的行政处罚不服的,有权依法申请行政复议或者提起行政诉讼。
8、《行政许可法》规定了听证程序,行政机关应当于举行听证的七日前将举行听证的时间、地点告知申请人、利害关系人。
听证应当制作笔录,最后行政机关应当根据听证笔录作出行政许可决定。
9、对情节复杂或者重大违法行为给予较重的行政处罚,行政机关的负责人应当集体讨论决定。
10、行政机关实行行政许可,擅自收费或者不按照法定项目和标准收费的,由其上级行政机关或者监察机关责令退还非法收取的费用;对直接负责的主管人员和其他直接负责人员依法给予行政处分。
11、精神病人在不能辨认或者不能控制自己行为时有违法行为的,不予行政处罚。
12、设定和实行行政许可,应当依照法定的权限、范围、条件和限度。
13、有关行政机关对其他机关或者对其直接管理的事业单位的人事、财务、外事等事项的审批,不合用行政许可法。
14、有关行政许可的规定应当公布;未经公布的,不得作为实行行政许可的依据,行政许可的实行和结果,除涉及国家秘密、商业秘密或者个人隐私的外,应当公开。
15、公民、法人或者其他组织对行政机关实行行政许可,享有陈述权、申辩权;有权依法申请行政复议或提起行政诉讼。
16、行政许可所依据的法律、法规、规章修改或者废止,或者准予行政许可所依据的客观情况发生重大变化的,为了公共利益的需要,行政机关可以依法变更或撤回已经生效的行政许可。
第1篇第一条为了加强路政管理,保障公路的完好、安全和畅通,维护路产路权,促进公路事业的发展,根据《中华人民共和国公路法》和有关法律、法规,制定本规定。
第二条本规定适用于中华人民共和国境内公路的路政管理活动。
第三条路政管理应当遵循以下原则:(一)依法行政,严格执法;(二)预防为主,防治结合;(三)保护路产,维护路权;(四)公开、公平、公正。
第四条公路管理机构负责本辖区内的路政管理工作。
第二章路政管理职责第五条公路管理机构应当履行以下职责:(一)宣传公路法律法规,提高社会公众的路政意识;(二)制定路政管理规章制度,并组织实施;(三)负责公路路产的保护和养护;(四)查处违反路政管理规定的违法行为;(五)协助公安机关处理涉及公路的交通事故;(六)履行法律、法规规定的其他职责。
第六条公路管理机构应当建立健全路政管理信息系统,实现路政管理工作的信息化、规范化。
第三章路政管理范围第七条路政管理范围包括:(一)公路用地;(二)公路建筑控制区;(三)公路附属设施;(四)公路养护设施;(五)公路桥梁、隧道、渡口;(六)公路标志、标线;(七)公路交通安全设施;(八)其他依法应当纳入路政管理范围的设施。
第八条公路用地包括:(一)公路两侧边沟(排水沟)、路基、路肩;(二)公路用地范围内的绿化隔离带;(三)公路用地范围内的其他设施用地。
第四章路政保护第九条公路管理机构应当加强对公路用地和公路附属设施的保护,确保其完好、安全和畅通。
第十条任何单位和个人不得擅自占用、挖掘公路用地或者公路附属设施。
第十一条在公路用地范围内,因修建铁路、机场、水利、电力、通信等基础设施确需占用、挖掘公路用地的,应当按照下列规定办理:(一)建设单位应当向公路管理机构提出申请,并提交下列材料:1. 项目可行性研究报告;2. 占用、挖掘公路用地的原因、范围、期限和方案;3. 占用、挖掘公路用地所需缴纳的费用;4. 其他有关材料。
(二)公路管理机构应当自收到申请之日起二十日内作出批准或者不予批准的决定。
第1篇第一章总则第一条为加强公路路政管理,保障公路完好、安全和畅通,维护路产路权,促进公路事业健康发展,根据《中华人民共和国公路法》和有关法律法规,制定本规定。
第二条本规定适用于中华人民共和国境内公路路政管理工作。
第三条公路路政管理应当遵循以下原则:(一)依法行政,公开、公平、公正;(二)保护路产,维护路权;(三)预防为主,防治结合;(四)综合治理,科学管理。
第四条公路路政管理部门负责本行政区域内公路路政管理工作。
第五条公路路政管理人员应当具备以下条件:(一)遵守国家法律法规,具有良好的职业道德;(二)熟悉公路路政管理业务,具备相应的专业知识和技能;(三)具备较强的组织协调能力和沟通能力;(四)身体健康,能够胜任本职工作。
第二章路政管理职责第六条公路路政管理部门的主要职责:(一)宣传、贯彻实施公路路政管理的法律法规;(二)负责公路路政许可的审批、核发和监督管理;(三)负责公路路产保护,制止和查处破坏、损坏公路路产的行为;(四)负责公路路政巡查,及时发现、制止和查处违反公路路政管理规定的行为;(五)负责公路路政设施的建设、维护和管理;(六)负责公路路政案件的调查处理;(七)负责公路路政统计和报告工作;(八)法律、法规规定的其他职责。
第七条公路路政管理人员的主要职责:(一)宣传公路路政管理的法律法规;(二)负责公路路政巡查,发现、制止和查处违反公路路政管理规定的行为;(三)负责公路路政案件的调查处理;(四)负责公路路政设施的建设、维护和管理;(五)负责公路路政统计和报告工作;(六)法律、法规规定的其他职责。
第三章路政许可管理第八条公路路政许可包括以下内容:(一)公路用地范围内的施工许可;(二)公路建筑控制区内的施工许可;(三)占用、挖掘公路或者公路用地许可;(四)在公路两侧修建建筑物、构筑物许可;(五)在公路上设置广告、标语、宣传牌许可;(六)法律、法规规定的其他许可。
第九条申请公路路政许可,应当提交以下材料:(一)申请书;(二)相关设计文件;(三)涉及公路路产保护的承诺书;(四)法律、法规规定的其他材料。
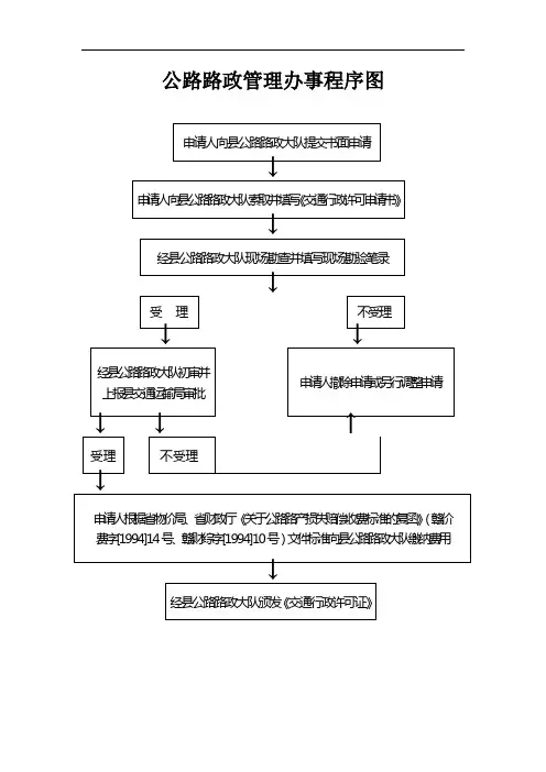
公路路政许可的分级管理流程下载温馨提示:该文档是我店铺精心编制而成,希望大家下载以后,能够帮助大家解决实际的问题。
文档下载后可定制随意修改,请根据实际需要进行相应的调整和使用,谢谢!并且,本店铺为大家提供各种各样类型的实用资料,如教育随笔、日记赏析、句子摘抄、古诗大全、经典美文、话题作文、工作总结、词语解析、文案摘录、其他资料等等,如想了解不同资料格式和写法,敬请关注!Download tips: This document is carefully compiled by theeditor.I hope that after you download them,they can help yousolve practical problems. The document can be customized andmodified after downloading,please adjust and use it according toactual needs, thank you!In addition, our shop provides you with various types ofpractical materials,such as educational essays, diaryappreciation,sentence excerpts,ancient poems,classic articles,topic composition,work summary,word parsing,copy excerpts,other materials and so on,want to know different data formats andwriting methods,please pay attention!公路路政许可的分级管理流程详解公路路政许可是确保公路安全、畅通和有效利用的重要环节,它涉及到公路建设、养护、使用等多个方面。
重庆市公路路政管理行政许可指南
一、 占用、利用、挖掘公路或公路改线许可
二、跨、穿越公路以及在公路用地范围内架设、埋设管(杆)线、电缆等设施许可
三、因抢险、防汛需要在大中型公路桥梁和渡口周围二百米范围内修筑堤坝、压缩或者扩宽河床许可
四、铁轮车、履带车和其他可能损害公路路面的机具需要在公路上行驶许可
五、超过公路、公路桥梁、公路隧道或汽车渡船的限载、限高、限宽、限长标准的车辆行驶公路许可
六、在公路及公路两侧设置公路标志以外的其他标志许可
七、在公路上增设交叉道口许可
八、在公路两侧控制区内埋设管(杆)线、电缆等设施许可
九、更新、砍伐公路行道树及公路用地内树木许可
倚窗远眺,目光目光尽处必有一座山,那影影绰绰的黛绿色的影,是春天的颜色。
周遭流岚升腾,没露出那真实的面孔。
面对那流转的薄雾,我会幻想,那里有一个世外桃源。
在天阶夜色凉如水的夏夜,我会静静地,静静地,等待一场流星雨的来临…
许下一个愿望,不乞求去实现,至少,曾经,有那么一刻,我那还未枯萎的,青春的,诗意的心,在我最美的年华里,同星空做了一次灵魂的交流…
秋日里,阳光并不刺眼,天空是一碧如洗的蓝,点缀着飘逸的流云。
偶尔,一片飞舞的落叶,会飘到我的窗前。
斑驳的印迹里,携刻着深秋的颜色。
在一个落雪的晨,这纷纷扬扬的雪,飘落着一如千年前的洁白。
窗外,是未被污染的银白色世界。
我会去迎接,这人间的圣洁。
在这流转的岁月里,有着流转的四季,还有一颗流转的心,亘古不变的心。
重庆市公路路政管理行政许可指南
一、占用、利用、挖掘公路或公路改线许可
二、跨、穿越公路以及在公路用地范围内架设、埋设管(杆)线、电缆等设施许可
三、因抢险、防汛需要在大中型公路桥梁和渡口周围二百米范围内修筑堤坝、压缩或者扩宽河床许可
四、铁轮车、履带车和其他可能损害公路路面的机具需要在公路上行驶许可
五、超过公路、公路桥梁、公路隧道或汽车渡船的限载、限高、限宽、限长标准的车辆行驶公路许可
六、在公路及公路两侧设置公路标志以外的其他标志许可
七、在公路上增设交叉道口许可
八、在公路两侧控制区内埋设管(杆)线、电缆等设施许可
九、更新、砍伐公路行道树及公路用地内树木许可。
业务手册事项编码:420000-112-01事项名称:涉路施工活动的许可子项名称:公路涉路施工活动许可(普通公路)内容:利用跨越公路的设施悬挂非公路标志目录一、设定依据 ............................................................................................................................................... - 2 -二、受理条件 ............................................................................................................................................... - 3 -三、许可流程 ............................................................................................................................................... - 4 -(一)申请材料形式审查及受理 ....................................................................................................... - 4 - (二)县级公路局审查及市级公路局审查........................................................................................ - 6 - (三)省公路局审查及厅审批办审查 ............................................................................................... - 7 - (四)、许可决定 ................................................................................................................................. - 8 - (五)证照管理 ................................................................................................................................... - 8 -四、申请资料 ............................................................................................................................................... - 9 -五、文书标准 ............................................................................................................................................. - 11 -六、文书样式 ............................................................................................................................................. - 12 -七、许可档案 (37)一、设定依据(一)《公路安全保护条例》第二十七条。
浙江省公路路政许可
申请书
项目:
申请单位:
申请时间:
浙江省交通厅监制
申请表
附:《路政勘查记录》
填表须知:
一、申请栏部分由申请人逐项如实填写,不得弄虚作假,否则,本表无效。
二、如申请事项涉及公路占用、挖掘等或者由此导致公路改造的规模较大时,在填写本表时还须附有专门的设计方案、图纸和相关资料,否则不予受理。
三、申请事项在实施前,申请方与管理方应根据此表,并视申请事项的需要签订协议,以表达许可的具体内容、双方的承诺及有关的条文的约定,在协议的基础上方可发放许可证。
四、本表申请事项涉及的所有占用、挖掘、穿越、跨越公路、公路用地和建控区内的,及设置非公路标志,均属临时性使用。
今后,当公路建设和管理需要时,申请人必须无条件按时拆除、搬迁,其所产生的费用自理。
五、被许可方必须在批准的路政管理部门的指导下实施许可事项,并接受其检查、验收。
六、涉及公路行业以外的其他部门的审批手续,由申请方自行协调办理。
七、填写本表须用蓝色或黑色钢笔,不得使用圆珠笔填写或复写。
八、本表一式二份,需要市级审批部门审批的,增加一份,需要省级审批部门审批的再增加一份。
占道施⼯需要申请吗现在城市⾥的⾏⼈和车辆越来越多了,城市道路的耐久期限变得更短了。
有很多状况不佳的道路等待修缮,也有很多道路需要新修。
所以道路的施⼯现象很普遍。
但是施⼯需要占据⼀部分的道路,那么占道施⼯需不需要申请呢?下⾯就跟着店铺⼩编去看⼀看。
⼀、什么是占道施⼯占道施⼯是指占⽤道路进⾏施⼯,城市⾥违规占道施⼯乱象屡见不鲜。
城市⾥违规占道施⼯乱象包括:⽆证占道施⼯,超范围超期限占道打围,不规范打围等。
为了攻坚整治违规占道施⼯乱象,市城管委将规范施⼯作业⾏为,强化⽇常巡查和监督;明确时间节点、打围范围,联合市建委等相关部门,对超期超范围的施⼯⾏为进⾏专项整治;采取稳固、外观⾊调统⼀的挡板打围,确保挡板完好,破损挡板得到及时修复,施⼯完毕后迅速按照标准恢复路⾯。
⼆、占道施⼯需不需要申请要到交通运输委员会进⾏申请。
所需资料:书⾯申请、《路政管理许可申请表》、总平⾯位置图、申请单位或个⼈⾝份材料、施⼯设计图、设计单位和施⼯单位的资质证书、施⼯组织⽅案、交通疏解⽅案、⼯程批⽂,交警局的批准意见交警局意见要到交警⼤队申报,资料差不多。
(不交费)涉及绿化⽤地还要到城管局批准(要交费)。
三、违规占道施⼯的处罚参考《城市道路管理条例》的有关规定,占⽤或者挖掘由市政⼯程⾏政主管部门管理的城市道路的,应当向市政⼯程⾏政主管部门交纳城市道路占⽤费或者城市道路挖掘修复费。
城市道路占⽤费的收费标准,由省、⾃治区⼈民政府的建设⾏政主管部门、直辖市⼈民政府的市政⼯程⾏政主管部门拟订,报同级财政、物价主管部门核定;城市道路挖掘修复费的收费标准,由省、⾃治区⼈民政府的建设⾏政主管部门、直辖市⼈民政府的市政⼯程⾏政主管部门制定,报同级财政、物价主管部门备案。
经过了⼩编耐⼼的介绍,相信⼴⼤朋友们对于占道施⼯需不需要申请的问题也有了更加深刻的见解了。
占道施⼯很多时候都是政府的命令,是有相关的材料证明的。
⽽对于那些没有申请的占道施⼯,要运⽤法律去制⽌,维护⾃⾝的权益。
开设路口申请书3篇篇一:申请开设南环路路口的报告申请增设施工路口的报告石狮市市政府:我单位承建的石狮钞坑回迁安置工程D-2、D-3地块,其中1#、2#、3#楼为沿南环路平行布置的建筑,且沿街有1层的店面,店面外围至南环路南侧人行道为满足施工需要现场布置了办公室、钢筋加工场及仓库等临时施工设施,施工现场空间已经非常狭小,只剩下了一条施工主通道。
现场只是在靠南环路工地的北侧开设了一个大门,且靠近1#楼的北侧,离2#楼、3#楼及4#楼都很远,这3幢楼的混凝土及材料运输只能由一条通道进出,一旦浇筑混凝土只能将泵车停在通道上,1栋楼号浇筑混凝土将严重影响其它楼号的施工材料运输和工程进度。
且根据工程进度的总体安排,1#、2#、3#、4#楼混凝土浇筑工作同时进行的概率很大,假设不能同时进行混凝土浇筑将严重影响本工程的施工进度。
因此我单位建议需增设另一条施工通道,以免影响本工程整体施工进度。
经现场实地勘察,发现在南环路上可以有2个增设此施工路口:方案1:在科盾医院与工地交界处;具体位置详见附图。
方案2:在2#楼与3#楼中间空隙位置;具体位置详见附图。
经多方面综合考虑,我单位认为方案1更趋合理,更有利于混凝土浇筑和建筑材料运输时保证行人和车辆平安,更有利于加快工程的施工进度。
我单位承诺:开设此施工路口以后,我单位一定会做好此施工路口的交通平安保障和现场道路保洁工作,并在路口设置反光镜,让司机可以观察到交叉路口及周围的具体情况,并设置温馨提示,增强路口出行人员的平安意识,在混凝土浇筑搅拌车经常性进出时设置专人疏导交通。
假设有我单位车辆在进出工地期间造成路上车辆和行人的交通意外事故,由我单位承当相应的责任。
恳请市领导为确保钞坑安置房工程进度能按期完成,请批准开设此施工路口。
此致敬礼!福建省九龙建设集团2022年9月25日篇二:交通局路口公路路政行政许可申请表承德市公路路政管理处:我公司经县规委会批准,拟于卧龙镇三十家子村,国道101线北侧,拟建汽车产业园工程,按新城市路网总规划图要求,特申请于国道G101线K+ 右侧,开设30米宽一处、12米宽三处平面交叉道口。
公路路政许可的分级管理流程下载温馨提示:该文档是我店铺精心编制而成,希望大家下载以后,能够帮助大家解决实际的问题。
文档下载后可定制随意修改,请根据实际需要进行相应的调整和使用,谢谢!并且,本店铺为大家提供各种各样类型的实用资料,如教育随笔、日记赏析、句子摘抄、古诗大全、经典美文、话题作文、工作总结、词语解析、文案摘录、其他资料等等,如想了解不同资料格式和写法,敬请关注!Download tips: This document is carefully compiled by theeditor. I hope that after you download them,they can help yousolve practical problems. The document can be customized andmodified after downloading,please adjust and use it according toactual needs, thank you!In addition, our shop provides you with various types ofpractical materials,such as educational essays, diaryappreciation,sentence excerpts,ancient poems,classic articles,topic composition,work summary,word parsing,copy excerpts,other materials and so on,want to know different data formats andwriting methods,please pay attention!公路路政许可的分级管理流程主要涉及以下几个步骤:1. 申请阶段(1)项目单位或者个人向所在地县级公路管理机构提出公路路政许可申请,并提交项目可行性研究报告、设计方案、施工方案以及安全保护措施等相关材料。
编号:[ ] 字第号路政管理许可申请表
申请单位(个人签章):
申请时间:
受理单位:
填表须知:
一、本表许可申请栏部分由申请人逐项如实真写,不得弄虚作假,否则,本表无效。
二、如申请事项涉及公路挖掘、占用或者由此导致公路改造的规模较大时,在填写本
表时还须附有专门的设计方案、图纸和相关资料,否则予审批。
三、本表仅为路政管理许可的立项工作文字。
申请事项在实施前,申请方与管理方应
根据此表,并视申请事项的需要签订协议,以表达许可的具体内容、双方的承诺及有关的条文约定,在协议的基础上方可发放许可证。
四、本表申请事项涉及的所有挖掘、占用、穿越、跨越公路、公路用地的,均属临时
性使用。
今后,当建设、改造该公路及其设施时,申请人必须无条件拆除、搬迁,其所产生的费用自理。
五、被批准方必须在批准的路政管理部门的指导下实施,并接受其检查、验收。
六、涉及公路行业以外的其他部门的审批手续,由申请方自行协调办理。
七、填写本表须用蓝色或者黑色钢笔,不得使用圆珠笔填写或复写。