(新)办理建设工程质量、安全监督登记手续指南
- 格式:doc
- 大小:4.73 MB
- 文档页数:18
建设工程质量安全监督登记变更业务流程一、申请条件依据《xx 市建设工程质量和安全生产管理办法》的相关规定,项目建设单位在办理建设工程质量安全监督登记业务后,可向业务管理部门发起该业务的变更流程。
二、受理部门三、申请材料1 项目经理1、变更申请表(一式三份,见附件 1 ,盖建设单位公章);2、项目经理(专职安全员)变更表(办理诚信卡锁卡后生成,复印件盖施工单位公章,原件备查);3、法定代表人授权书(见附件 2 );4、施工单位项目负责人工程质量终身责任承诺书(见附件6 );5、变更情况说明(盖施工单位、建设单位公章,;1、须先在受理部门办理项目经理诚信卡锁卡;2、项目经理只允许 1 个在建项目数量。
2 3 4 项目副经理项目总监建设单位项目负责人6、人员证件复印件(原件备查,;7、建设单位回函(盖施工单位、建设单位公章,。
1、变更申请表(一式三份,见附件 1 ,盖建设单位公章);2、变更情况说明(盖施工单位、建设单位公章)。
1、变更申请表(一式三份,见附件 1 ,盖建设单位公章);2、项目总监变更表(办理诚信卡锁卡后生成,复印件盖监理单位公章,原件备查);3、法定代表人授权书(见附件 2 );4、监理单位项目负责人工程质量终身责任承诺书(见附件7 );5、变更情况说明(盖监理单位、建设单位公章,;6、人员证件复印件(原件备查,;7、建设单位回函(盖监理单位、建设单位公章,。
1、变更申请表(一式三份,见附件 1 ,盖建设单位公章);2、变更情况说明(盖建设单位公章);3、法定代表人授权书(见附件 2 );4、建设单位项目负责人工程质量终身责任承诺书(见附件3 )。
须先在受理部门办理项目总监诚信卡锁卡。
5 6 7勘察单位项目负责人设计单位项目负责人建设单位1、变更申请表(一式三份,见附件 1 ,盖建设单位公章);2、变更情况说明(盖建设单位、勘察单位公章);3、法定代表人授权书(见附件 2 );4、勘察单位项目负责人工程质量终身责任承诺书(见附件4 )。
建设工程项目质量安全报监须知为确保建设工程质量与施工安全,根据《广西壮族自治区房屋建筑与市政基础设施工程质量安全监督管理规定》的规定,请建设单位持有关资料到浦北县建筑工程质量安全监督站办理建设工程质量安全监督登记手续。
凡符合核发施工许可证条件的各类房屋建筑工程与市政基础设施工程,必须实行施工质量安全监督,未办理质量安全报监手续的工程项目不予办理施工许可证。
一、质量安全报监程序:1、申报工程的相关信息;(网上登陆广西建设工程质量安全监督业务管理系统录入填报,上网步骤详见钦州市建设工程质量安全监督站网站资料下载:)2、建设单位网上下载《建设工程质量安全监督登记书》(以下简称登记书)一式五份,并按上述表格要求填写并盖章(所有表格均在钦州市建设工程质量安全监督站网站下载:);咨询:、0777-3、将《登记书》及有关资料送浦北县政务服务中心二楼住建局窗口;4、自收到《登记书》及有关资料后,在3个工作日内将建设单位与施工单位提交的报监资料审查完毕,经审查符合要求即可办理质量安全报监登记手续。
对审查不符合条件的,将资料退回并说明理由,由建设单位与施工单位补足资料后重新办理。
注:所提交材料复印件需加盖单位公章,并提供原件审核。
二、须提交的资料:1、施工、监理单位合同(复印件一份,核查原件);2、施工、监理单位资质证书(复印件一份加盖公章)(原件核查后退还,若在广西住房与城乡建设厅网站的“建筑业企业诚信信息库管理系统”上能查询到资质证书的可不须带原件过来,采取在办理报监登记手续后,由质安监站核查的方式);3、施工企业安全生产许可证及年审记录(原件核查后退还,若在广西住房与城乡建设厅网站的“建筑业企业诚信信息库管理系统”上能查询到许可证书的可不须带原件过来,采取在办理报监登记手续后,由质安监站核查的方式)(复印件一份加盖公章);4、购买意外伤害险及工伤保险证明(保险单要求盖有钦州市建设工程人身意外伤害保险服务中心的章),依据《关于鼓励推广新型建筑施工人员人身意外伤害保险的指导意见》(桂建管[2014]20号)要求(复印件一份,核查原件);5、经企业法人批准的施工项目部与项目监理机构职责分工文件(原件一份,盖公章);6、建设、勘察、设计、施工、监理单位法定代表人签署的授权书(原件各一份),明确本单位项目负责人。
质量监督办理说明一、开工前或领取施工许可证前建设单位到质监站领取《建设工程质量监督注册申请表》。
本表一式四份,其中LZJ04-01见证取样和送检人员资格审查表一式五份,LZJ04-02 、LZJ053两张表格由建设单位保存备用。
二、注册申请表填写完毕签字盖章齐全后,备齐以下资料到质监站办理质监手续:1、工程规划许可证;2、施工中标通知书、施工合同及施工单位资质证书、项目经理资格证书;3、监理中标通知书、监理合同及监理单位资质证书、项目总监资格证书;4、施工图设计文件及审查报告、合格书;5、工程地质勘察报告;三、工作人员查验申请材料,对材料齐全、规范、有效的予以受理;对申请材料不齐或不符合法定形式的,当场一次性告知申请人。
四、工作人员在3个工作日内审查材料,符合要求的按程序给予办理,并填写《建设工程质量监督注册登记表》、《山东省建设工程质量监督登记证书》。
注:1工程质量监督注册申请表要求,各单位内容填写到位不得空白,签字盖章齐全。
2《监督交底》三方签字后一并报送。
为方便办理,监督注册登记表、质量监督登记证书的电子版宜整理完毕拷贝至质监站。
LZJ01建设工程质量监督注册申请表工程名称_ _监督注册编号注册日期山东省建设工程质量监督总站监制填写说明一、本表由建设单位在申领建筑工程施工许可证前,向监督机构申请工程质量监督注册时填写,是工程资料的重要组成部分。
二、本表一式四份,建设单位、施工单位、监理单位、质监站各一份。
三、填写本表时应内容正确、书写规范、字迹清晰,表内子项应填写齐全,对于工程未涉及的子项应填写“无”。
四、工程概况中,“基础类型”分为条形基础、独立柱基础、筏板基础、桩基等;有关单位的“资质等级及证书编号”填写资质等级和证书编号;有关人员的“资格级别及证书编号”填写执业资格类别及证书编号。
五、本表填写完毕后,还应同时提交以下资料:1、工程规划许可证;2、施工中标通知书、施工合同及施工单位资质证书、项目经理资格证书;3、监理中标通知书、监理合同及监理单位资质证书、项目总监资格证书;4、施工图设计文件及审查报告、合格书;5、工程地质勘察报告; 6、其他规定需要的文件资料。
建设手续办理指南
工程手续办理流程
图
一、建设项目立项
二、建设项目环境影响评价报告书(表)审批
三、建设项目规划设计条件
四、建设项目土地预审
五、土地出让
六、勘察、设计招标
七、勘察、设计合同备案
八、设计方案报审
九、建设用地规划许可证
十、国有土地使用证
十一、人防审查
十二、建设工程规划许可证
十四、建设工程消防设计审核
十五、施工图审查备案
十七、建设施工合同备案
十八、建设工程监理合同备案
十九、建设规费缴纳
二十、建设工程安全报监
二十二、建设工程施工许可证
二十四、建设工程人防验收
二十六、建设项目环保验收
二十八、建设工程竣工验收
二十九、工程项目竣工档案合格证
三十、建设工程竣工结算备案
三十一、建设工程竣工验收备案
三十二、自建房屋产权登记。
目录一、住建局建设项目手续办理流程图 (1)二、建设项目选址 (2)三、用地规划许可证 (4)四、建设工程规划许可证 (5)五、需要招标的建设项目进行招标 (6)六、建设工程质量监督注册登记 (8)七、建筑工程施工许可证 (9)八、放线开工建设 (11)九、竣工规划条件核实 (12)十、竣工验收备案 (13)十一、房屋所有权登记 (15)附录:建设项目收费标准及依据 (17)一、住建局建设项目手续办理流程图建设项目选址用地规划许可证建设工程规划许可证需要招标的进行招标建设工程质量监督注册登记建筑工程施工许可证放线开工建设竣工规划条件核实竣工验收备案房屋所有权登记二、建设项目选址(一)需要材料:⑴申请;⑵在1:10000或1:5000地形图上标出项目拟建位置;⑶填写选址意见书(一式三份);⑷国土部门出具符合规划的意见。
(二)办理流程:⑴申请人递交申请;⑵规划窗口初审;⑶现场踏勘;⑷城建专题会议初审会;⑸区城建专题会议;⑹窗口办理选址意见书。
三、用地规划许可证(一)需要材料:A、划拨用地项目:⑴用地预审意见;⑵立项审批或备案登记;⑶环保局审查意见;⑷1:500或1:1000地形图电子文件;⑸用地红线图及电子文件;⑹其他材料(如建设项目涉及林业、消防、水利、安全、交通、文物保护等部门的须提供各相关主管部门的审核意见)。
B、招拍挂出让用地项目:国土部门发出《关于办理规划设计条件的函》后,住建局出具用地规划设计条件,土地履行招拍挂出让程序后,建设单位准备材料:⑴土地成交确认书和土地出让合同(验原件留复印件);⑵立项审批或备案登记;⑶环保局审查意见;⑷1:500或1:1000地形图电子文件;⑸用地红线图及电子文件;⑹其他材料(如建设项目涉及林业、消防、水利、安全、交通、文物保护等部门的须提供各相关主管部门的审核意见)。
(二)办理流程:⑴申请人递交申请;⑵规划窗口审查;⑶办理建设用地规划许可证。
四、建设工程规划许可证(一)需要材料:⑴土地证、土地出让合同(验原件留复印件);⑵经批准的规划图、经评审的建筑设计图A4彩图(报审的单体设计方案不少于3套设计方案,建筑规模超过10000平方米的设计方案应实行招标并报模型)及相应的电子文件;⑶经审查的施工图1套加电子文件;⑷规划批前公示照片;⑸其它与项目有关的资料。
上海市建设工程安全质量报监办理程序为做好本市建筑建材业管理信息化建设,简化办事流程,规范办事程序,制定上海市建设工程安全质量监督报监办理程序。
一、建设工程安全质量报监需具备的条件建设工程报建限额(100万元)以上项目,在进行报监前,建设单位需在建筑建材业管理部门办理完成的手续如下:1、建设工程项目报建;2、勘察、设计、监理、施工承发包(招投标);3、施工图设计文件审查4、勘察、设计、监理、施工合同登记备案5、按规定需要进行设备监理的项目,已办理设备监理承发包手续。
报建限额以下项目,应完成相应的合同登记备案,房屋建筑项目需完成施工图设计文件审查。
二、建设工程安全质量监督报监方法本市建设工程安全质量监督报监采用计算机网上申报与书面材料受理相结合的方式进行。
(一)计算机网上申报建设工程报建限额以上项目,建设单位具备安全质量监督报监条件时,凭《上海市建设工程项目卡》上的报建编号和卡号(报建限额以下的项目进行设计合同登记后取得《上海市建设工程项目概况表》,取得报建编号和卡号。
),通过“上海建筑建材业”网站()进行项目报监申报。
网上申报软件系统将进行数据比对,比对通过后,建设单位可以打印带有条形码的《上海市建设工程安全质量监督报监表》(一式两份)(项目建设参与单位中涉及建筑业农民工工资保证金缴纳企业时,同时打印《缴纳建筑业农民工工资保证金告知书》),完成建设工程安全质量报监网上申报。
保密项目直接到上海市建筑建材业受理服务中心窗口进行备案,无需网上申报。
(上海市建设工程安全质量监督申报表)(二)、书面材料提交项目报监需提交以下材料:1、《上海市建设工程项目卡》或《上海市建设工程项目概况表》2、《上海市建设工程安全质量监督报监表》、《单位工程明细表》一式两份;3、建设工程质量人员从业资格审查表(原件一份)4、上海市建设项目防雷工程检测验收登记表(原件一份)5、相应工程项目综合保险预缴费凭证 ( 收据联原件及复印件各一份)6、电梯安装工程报监时须提交电梯销售、安装合同项目建设参与单位中涉及建筑业农民工工资保证金缴纳企业时,缴纳企业应按照《缴纳建筑业农民工工资保证金告知书》的要求,缴纳建筑业农民工工资保证金,并在报监时,提交《农民工工资保证金提交确认函》。
建设工程质量监督机构监督工作指南(建设部建建质〔2000〕38号)建设部建筑管理司关于印发《建设工程质量监督机构监督工作指南》的通知建建质〔2000〕38号各省、自治区、直辖市建委(建设厅),各计划单列市建委(建设局),国务院有关部门建设司:为了进一步规范全国工程质量监督机构的监督工作程序,根据国务院《建设工程质量管理条例》和建设部《关于建设工程质量监督机构深化改革的指导意见》的精神,我司制定了《建设工程质量监督机构监督工作指南》,现印发给你们。
有何问题和建议,请及时告我司质量技术处。
二○○○年十二月六日建设工程质量监督机构监督工作指南根据国务院《建设工程质量管理条例》和建设部《关于质量监督机构深化改革的指导意见》,政府质量监督机构必须建立和遵循严格的工程质量监督程序,以加大建设工程质量监督的力度,保证建设工程质量。
质量监督机构对建设工程质量监督的依据是国家的法律、法规和强制性标准;主要目的是保证建设工程使用安全和环境质量;主要内容是监督工程建设各方主体质量行为和地基、基础、主体结构和使用功能;主要监督方式是巡回抽查,对建设单位组织的竣工验收实施监督。
工程竣工后出具工程质量监督报告。
现将建设工程质量监督机构监督工作指南提出如下,供各地开展工作参考。
一、办理建设工程质量监督手续(一)建设工程质量监督机构是经省级以上建设行政主管部门考核认定具有独立法人资格的事业单位。
根据建设行政主管部门的委托,依法办理建设工程项目质量监督登记手续。
(二)凡新建、改建、扩建的建设工程,在工程项目施工招标投标工作完成后,建设单位申请领取施工许可证之前,应携有关资料到所在地建设工程质量监督机构办理工程质量监督登记手续,填写工程质量监督登记表(见附表1)并按规定交纳工程质量监督费用。
(三)建设单位办理建设工程质量监督登记时,应向工程质量监督机构提交以下有关资料:1、规划许可证;2、施工、监理中标通知书;3、施工、监理合同及其单位资质证书(复印件);4、施工图设计文件审查意见;5、其他规定需要的文件资料。
.处理补办建设工程质量监督登记手续事务工作指南第一章总则第一条为指导各地监督机构依法妥善处理补办监督登记手续事务,根据《建设工程质量管理条例》、《广西壮族自治区房屋建筑和市政基础设施工程质量安全监督管理规定》(桂建质〔2014〕3号)、《建筑工程施工质量验收统一标准》(GB50300-2013)和相关标准,制定本指南。
第二条先施工后补办建设工程质量监督登记手续的行为违反《建设工程质量管理条例》(国务院令第279号),属于违反行政法规的行为,建设工程质量安全监督机构(下文简称“监督机构”)发现时应按《广西壮族自治区房屋建筑和市政基础设施工程质量安全监督管理规定》(桂建质〔2014〕3号)第十七条规定报告当地住房城乡建设行政主管部门(格式参见附件3)。
第二章程序第三条处理补办监督登记手续事务应当遵循下列程序:(一)告知监督机构的受理人告知补办经办人下列内容:1.桂建质〔2014〕3号第十七条的规定;2.《建筑工程施工质量验收统一标准》(GB50300-2013)第5.0.6条、5.0.7条和5.0.8条的规定;Word文档资料3.本《指南》的有关内容。
(二)建设单位开展补办监督登记手续前置工作在补办监督登记手续之前,由建设单位针对工程实体已完工部分组织开展下列工作:1.收集已施工部分的质量控制资料。
2.建设单位组织勘察单位、设计单位、施工单位、监理单位以及有资质的检测机构共同踏勘现场,了解情况,并书面确认已完成的工程项目具体部位、需检测的项目及检测数量。
3.建设单位组织设计单位、检测机构等相关单位共同编制检测方案,检测方案应经参建五方责任主体认可。
4.建设单位与检测机构订立委托检测合同。
5.按本《指南》第四章进行检测和评价。
6.依照有关规定予以相应的行政处罚。
(三)补办条件符合性判定工程质量控制资料完整或基本完整,仅反映出施工过程受控或基本受控并且可以追溯;检测结果合格仅表明所检项目质量合格。
以上2种情形并不表明已施工的工程实体质量全部合格,检测部位的代表性和取样数量是否能反映工程质量的全貌有待评价结论确定。
建设工程质量监督注册登记办理指南(一)受理地点:1、房屋建筑工程(武汉东湖新技术开发区管理委员会公共服务中心7号楼建设管理局4017室,电话:67880070);2、市政工程(武汉东湖新技术开发区管理委员会公共服务中心7号楼建设管理局电话4028室,电话:67880532)(二)办理流程:受理→核查→施工现场踏勘→登记(三)申报资料1、填写完整的《建筑工程质量监督注册登记表》,幕墙工程填写《幕墙工程质量监督注册登记表》。
备注:按单体工程填写,一个单体工程一式4份,附:①施工图设计文件审查合格书,查验原件收复印件;②施工、监理单位招标手续复印件。
省招标项目提供中标通知书;市、区公开招标项目提供招投标情况书面报告;备案项目提供非国有资金投资项目直接发包备案表;其他项目提供建管手续联系单。
2、提交五方责任主体(建设、勘察、设计、施工、监理单位)《项目负责人工程质量终身责任承诺书》及相应的法定代表人授权书(原件各2份);勘察、设计、施工、监理单位资质证书及被受权人员职业资格证书复印件各2份)3、建设、监理和施工单位项目质量管理组织机构和负责人名单(原件)4、现场踏勘建设、监理和施工单位的项目质量管理组织机构及质量保证措施(原件)注:1、2项提交至受理部门,3、4项现场踏勘时提交审查,所有复印件需加盖公章。
(四)办理时限:与安全施工措施登记同时办理;资料齐全5个工作日内完成踏勘,踏勘合格后2个工作日办理登记。
一次性告知书房屋建筑工程质量监督注册登记表工程报建号:工程报监号:次到现场核查后,加盖公章生效。
武汉市建筑工程质量监督站制建筑工程质量监督站幕墙工程质量监督注册登记表工程报建号:工程报监号:幕墙设计审查单位建设单位(开发单位):项目负责人:联系电话:盖章年月日工程质量监督站:联系电话:登记时间:盖章年月日需提交资料范例:1、施工图设计文件审查合格2、其他:勘察单位资质证书设计单位资质证书施工单位资质证书监理单位资质证书项目经理资格证总监资格证勘察单位负责人资格证设计单位负责人资格证建设单位项目负责人工程质量终身责任承诺书工程名称:本人承诺在工程建设过程中和建筑物设计使用年限内,对工程质量承担全面责任。
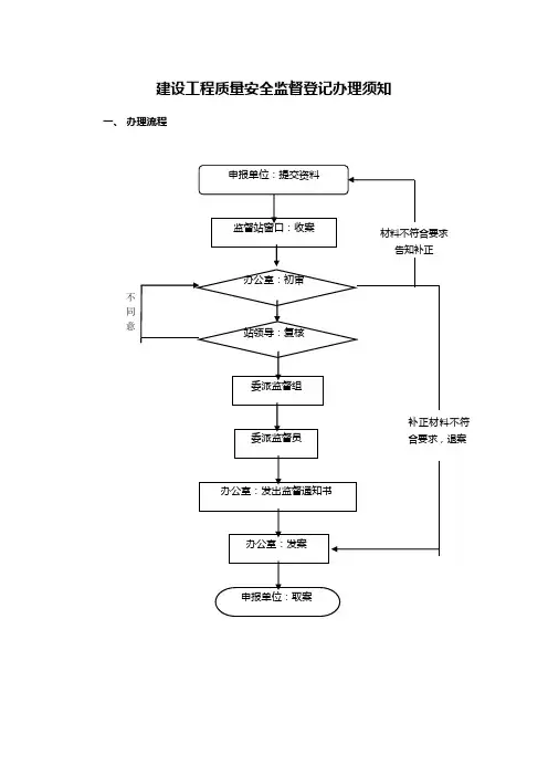
广州市白云区建设工程质量安全监督登记办事指南一、办理对象本区范围内从事新建、改建和扩建的房屋建筑工程和市政基础设施工程的建设单位(国家、省、市重点工程、跨区的工程、临时房屋建筑工程、工程投资额在30万元以下或建筑面积在300平方米以下除外)。
根据《广州市人民政府关于向各区(县级市)下放一批市级管理权限的决定》(穗府[2014]27号),由市级建设行政主管部门负责审批发证的工程,建设单位可以选择到工程所在地的区建设行政主管部门申请办理。
二、办理条件本区范围内从事新建、改建和扩建的房屋建筑工程和市政基础设施工程的建设单位(国家、省、市重点工程、跨区的工程、临时房屋建筑工程、工程投资额在30万元以下或建筑面积在300平方米以下除外),在申请领取施工许可证前,应办理建设工程质量安全监督登记手续,提供工程参建单位及项目负责人员的有关信息、保证工程质量和施工安全的资料。
办理机构核实资料符合要求后,发出《广州市白云区建设工程质量安全监督告知书》。
三、所需材料四、办理流程图五、办理时限:7个工作日六、办事机构:白云区建设工程质量安全监督站(广州市白云区政民路43号2楼)办理时间:周一至周五咨询电话:86350650七、收费标准:无八、收费依据:无九、办理依据1.《建设工程质量管理条例》(国务院令第279号) [《建设工程质量管理条例》(国务院令第279号)第十三条]2.《建设工程安全生产管理条例》 [第四十条、第四十四条]3.《建筑工程施工许可管理办法》 [第二条、第三条]4.《关于印发〈建筑施工企业安全生产管理机构设置及专职安全生产管理人员配备办法〉的通知》 [第十八条]5.《广州市人民政府关于向各区(县级市)下放一批市级管理权限的决定》(穗府[2014]27号)十、备注(一)建设单位凭盖报监专用章后的《广州市白云区建设工程质量安全监督登记申报表》办理施工许可证。
(二)办理流程说明:1.申请单位按招标投标情况备案办事指南取得招标投标情况备案表,不属依法招标项目的,可以不提供,但需出具有关批准文件或书面说明。
建设工程质量安全监督登记办事概述建筑工程质量安全监督是指对建筑工程施工过程和竣工的质量、安全、节能等方面进行监督检查,确保建筑工程的质量安全达到国家规定的标准。
在建筑行业,建筑工程质量和安全是两个永远不会被忽视的重要方面。
建设工程质量安全监督登记办事,是对建筑工程质量和安全提供有效保障的一种方式。
本文将介绍建设工程质量安全监督登记办事的相关知识和流程。
办理流程1. 材料准备在办理建设工程质量安全监督登记之前,需要准备以下材料:1.建设单位的项目概况表;2.工程设计图纸和施工图纸;3.建筑施工许可证及其附件;4.工程质量安全控制方案(简称工程方案);5.各类施工图的复印件;6.建设工程抽查验收或专家检查验收的材料;7.工程竣工验收评定意见。
2. 到现场登记准备好以上材料后,需要到当地建设工程质量安全监督部门现场进行登记。
登记时需要带好以上材料,并填写有关登记表格,提交材料。
经过初步审核后,工作人员会给出审批意见。
3. 安全监督在建设工程实施过程中,建设单位还需要严格遵守工程方案,依据工程方案的要求,做好工程质量、安全和文明施工等各方面措施。
4. 建筑工程竣工验收建筑工程完工后,需要到建设工程质量安全监督部门办理竣工验收。
竣工验收时,需要提供建筑工程项目的结核验收报告、竣工验收委员会的评定意见及有关证明文件等,经过验收后方可正常使用。
注意事项•在施工过程中,必须严格遵守相关法律法规和技术标准,确保施工质量;•建设单位需加强对施工现场的管理和监督,及时发现和解决施工中存在的问题;•建筑工程竣工验收前,必须进行全面的自检和整改工作,确保施工质量符合相关标准和要求。
建设工程质量安全监督登记办事,是对建筑工程质量安全的监督和保障,对于保障建筑工程的质量、安全,确保建筑物能够长期、安全地使用起到了关键作用。
本文介绍了建设工程质量安全监督登记的相关流程和注意事项,相信能够为大家提供一定的帮助。
根据《建设工程质量管理条例》第十三条的规定,建造工程和市政设施工程应接受工程质量监督机构的监督,工程开工前必须办理工程质量监督注册登记手续。
办理建设工程质量监督手续需提交如下文件和资料。
一、建设工程规划许可证;二、施工、监理中标通知书和经审定的施工合同;三、施工图、地质勘察设计报告及勘察、设计审查部门已审定的最终审查批准书、审查报告;四、建造工程五方责任主体项目负责人工程质量终身责任信息登记表;五、五方责任主体法定代表人授权书;六、建设、勘察、设计、施工、检测的项目负责人、监理单位总监理工程师质量终身责任承诺书;七、工程质量常见问题防治任务书;八、建造材料、构配件、预拌砼备案表;九、资格证书1、施工人员(项目经理、技术员、质检员、取样员、施工员)的岗位证书复印件;2、监理人员(总监理工程师及各专业旁站监理工程师)的岗位证书复印件;十、施工组织设计及监理规划(监理细则);十一、监理合同、检测合同、混凝土销售合同;十二、提交施工图设计文件;十三、法律法规规定的其他文件;汪清县建设工程质量监督站建设单位在完成工程设计和合同约定的各项内容,并确认工程质量符合有关法律、法规和工程建设强制性标准,根据《建设工程质量管理条例》规定,应申办工程竣工备案。
办理工程竣工备案需提交如下文件和资料:1、工程竣工验收申请报告;2、工程施工许可证;3、施工图设计文件审查意见;4、单位工程质量综合验收文件(工程质量竣工报告、勘察、设计、监理单位出具的质量评估报告);5、建设工程质量检测报告和功能试验资料(含环境检测报告);6、防雷、热燃、规划、公安消防等部门出具的证明文件或者准许使用文件;7、建设单位与施工单位签署的工程质量保修书;8、建设单位和物业管理部门签署的物业管理合同;9、商品住宅的《住宅质量保证书》和《住宅使用说明书》;10、提交建设工程质量保证金凭证;11、勘察、设计、监理人员注册资格证书,施工单位项目经理证书(复印件);12、建设工程五方责任主体项目负责人质量终身责任信息档案(包括工程质量终身责任信息登记表、工程质量终身责任承诺书、法定代表人授权书);13、竣工铭牌示意图照片;14、工程质量常见问题防治任务书、总结报告、评估报告;15、建造材料、构配件、预拌砼备案表;16、法规、规章、规定必须提供的其他文件。
附件23建设工程质量监督机构监督工作指南建设部建筑管理司文件建建质[2000]38号2000年12月6日根据国务院《建设工程质量管理条例》和建设部《关于质量监督机构深化改革的指导意见》,政府质量监督机构必须建立和遵循严格的工程质量监督程序,以加大建设工程质量监督的力度,保证建设工程质量。
质量监督机构对建设工程质量监督的依据是国家的法律、法规和强制性标准;主要目的是保证建设工程使用安全和环境质量;主要内容是监督工程建设各方主体质量行为和地基、基础、主体结构和使用功能;主要监督方式是巡回抽查,对建设单位组织的竣工验收实施监督。
工程竣工后出具工程质量监督报告。
现将建设工程质量监督机构监督工作指南提出如下,供各地开展工作参考。
一、办理建设工程质量监督手续(一)建设工程质量监督机构是经省级以上建设行政主管部门考核认定具有独立法人资格的事业单位。
根据建设行政主管部门的委托,依法办理建设工程项目质量监督登记手续。
(二)凡新建、改建、扩建的建设工程,在工程项目施工招标投标工作完成后,建设单位申请领取施工许可证之前,应携有关资料到所在地建设工程质量监督机构办理工程质量监督登记手续,填写工程质量监督登记表(见附录1)并按规定交纳工程质量监督费用。
(三)建设单位办理建设工程质量监督登记时,应向工程质量监督机构提交以下有关资料:1.规划许可证;2.施工、监理中标通知书;3.施工、监理合同及其单位资质证书(复印件);4.施工图设计文件审查意见;5.其他规定需要的文件资料。
(四)7个工作日内审核完毕,符合规定由监督机构发给《建筑工程质量监督书》和《工程质量监督计划》(见附录2)。
(五)建设单位凭《建筑工程质量监督书》,向建设行政主管部门申领施工许可证。
二、开工前的监督准备工作(一)确定质量监督工程师质量监督机构实行站长负责制,工程项目质量监督实行监督工程师责任制。
站长根据工程的具体情况,确定以质量监督工程师为工程项目监督负责人的质量监督组,具体承担工程监督任务。
质监安监站办理手续建设工程从立项到竣工所有程序(包括立项审批、规划设计、建设工程报建、建设工程竣工验收)一、立项审批1 、项目立项申请报告书(原件一份)2 、项目建议书或项目可行性研究报告(一份)3 、建设用地的权属文件或建设项目用地预审意见书(一份)4 、项目建设投资概算(一份)5 、银信部门出示的资金证明(原件一份)6 、企业法人营业执照副本(复印件一份);(房地产项目需提供资质证明一份)7 、项目地形图(一份)8 、有关职能部门的意见。
二、规划设计1 、由市规划局根据城市总体规划和立项文件核发勘察设计红线,提供规划设计条件。
2 、建筑设计分为三个阶段,即方案设计、初步设计和施工设计。
3 、市城建局负责联系市有关部门对初步设计进行会审批复。
三、建设工程报建(一)建设工程报建,首先要提供如下资料到建委办理登记手续。
1 、计划部门核发的《固定资产投资许可证》或主管部门批准的计划任务书;2 、规划部门核发的《建设用地规划许可证》和《建设工程规划许可证》;3 、国土部门核发的《国有土地使用证》;4 、符合项目设计资格设计单位设计的施工图纸和施工图设计文件审查批准书;5 、人防办核发的《人民防空工程建设许可证》;6 、消防部门核发的《建筑工程消防设计审核意见书》;7 、防雷设施检测所核发的《防雷设施设计审核书》;8 、地震办公室核发的《抗震设防审核意见书》;9 、建设资金证明;10 、工程预算书和造价部门核发的《建设工程类别核定书》;11 、法律、法规规定的其他资料。
(二)公开招标的建设工程,要补充如下资料到招标办办理手续。
1 、建设单位法定代表人证明或法定代表人委托证明;2 、建设工程施工公开招标申请表;3 、建设工程监理公开招标申请表。
(三)邀请招标的建设工程,要补充如下资料到招标办办理手续。
1 、建设单位法定代表人证明或法定代表人委托证明;2 、建设工程施工邀请招标审批表;3 、建设工程监理邀请招标审批表;4 、工商部门签发的私营企业证明;5 、法人营业执照;6 、其他申请邀请招标理由证明。
办理建设工程质量监督登记手续指南一、设定依据:《建设工程质量管理条例》第13 条:“建设单位在领取施工许可证或者开工报告前,应当按照国家有关规定办理工程质量监督手续”。
二、建设单位在办理建设工程质量监督手续时,应提交下列资料:1.由建设单位填写的《质量监督登记表》(附表一)和施工、监理单位从业人员岗位证书及身份证(原件、复印件各一份);2.建设单位、施工企业、监理单位、勘察单位、设计单位从业人员一览表(附表二、三、四、五、六);3.勘察、设计、施工、监理、图审单位的营业执照、资质证书、进台备案证复印件;4.地质勘察报告;5.施工图纸全套和审查合格书;6.施工、监理合同(已备案);7.施工组织设计和监理规划(监理实施细则);8.高层建筑需提供第三方沉降观测委托协议(10 层及以上或房屋高度大于28 米的住宅建筑结构和大于24 米的其它民用高层建筑结构);9.建筑工程五方主体质量终身责任制承诺书。
注:提供的所有复印件盖公司原件相符专用章(注明与原件相符并签名)。
工程质量监督登记表工程名称工程地点结构层次建设规模建设形式施工承包单位资质等级施工承包单位项目经理项目经理资质勘察单位资质等级资格证书号码注册岩土工程师资格证书号码监理单位资质等级总监理工程师资格证书号码设计单位资质等级项目设计注册建筑师注册登记号码项目设计注册结构师注册登记号码建设单位:法人代表:电话:项目负责人:电话:盖章年月日注:本表一式四份,建设单位、监理单位、施工单位、质监站各一份。
建设工程质量从业人员一览表(建设单位)工程名称建设单位名称建设单位地址建设单位邮编职务姓名专业技术职称签名字样手机项目负责人法人代表管理人员本人对以上人员及签名字样真实性负责。
项目负责人(签名):建设单位法人代表(签名):(单位盖章)年月日年月日附表三:建设工程质量从业人员一览表(施工总包单位、分包单位)单位工程名称施工单位名称施工单位地址施工单位邮编职务姓名签名专业与技术职称岗位证书号办公室电话手机施工员质量员安全员资料员送样员项目技术负责人项目经理企业技术负责人企业经理本人对以上人员真实性负责。
施工单位法人代表(签名):项目负责人(签名):(单位盖章)年月日年月日附表四:建设工程质量从业人员一览表(监理单位)工程名称监理单位名称监理单位地址监理单位邮编专业与岗职务姓名签名字样技术职称办公室电话手机位证书号监理人员见证员项目总监企业技术负责人企业经理本人对以上人员及签名字样真实性负责。
项目总监(签名):监理单位法人代表(签名):(单位盖章)年月日年月日附表五:建设工程质量从业人员一览表(勘察单位)工程名称勘察单位名称勘察单位地址勘察单位邮编职务姓名职称签名字样手机项目负责人报告编写人报告审核人报告审定人总工程师院长本人对以上人员及签名字样真实性负责。
项目负责人(签名):勘察单位法人代表(签名):(单位盖章)年月日年月日附表六:建设工程质量从业人员一览表(设计单位)工程名称设计单位名称设计单位地址设计单位邮编姓职务职称注册资质签字字样手机名建筑设计结构设计给排水设计电气设计暖通设计智能设计注册建筑师注册结构师项目负责人技术负责人院长本人对以上人员及签名字样真实性负责。
项目负责人(签名):设计单位法人代表(签名):(单位盖章)年月日年月日台州市施工项目单位工程一览表填表时间:项目工程信息建设单位建筑总面积工程总造价项目工程名称所属区县建设单位施工标段数项目负责人(㎡)(万元)单位工程信息建筑面积工程造价结构开工计划竣所属施工标段单位工程名称施工企业名称监理单位名称(㎡)(万元)层数日期工日期名称8台州市施工现场关键岗位人员一览表(施工企业)企业名称(全称)填表人填表时间施工企业信息*组织机构代码证号安全生产许可证号*企业性质*企业性质*法人代表*身份证号*安全证书号*联系电话*经理*身份证号*安全证书号*联系电话*分管安全生产副经理*身份证号*安全证书号*联系电话*企业技术负责人*身份证号*安全证书号*联系电话项目工程名称施工标段名称岗位证书号安全证书号手机考勤开始时间(需考勤人员填写)计划考勤结束时间(需考勤人员填写)序号姓名身份证号岗位职务备注项目经理项目技术负责人施工员质量员质量员安全员安全员安全员分包项目经理分包项目经理分包项目经理注:1、在台州市范围内已有在建项目的企业,打“*”的栏目可不填写。
2、安全证书号是指安全生产考核合格证书号。
9台州市施工现场关键岗位人员一览表(监理企业)单位名称(全称)填表人填表时间组织机构代码证号单位性质单位资质法人代表联系电话项目工程名称施工标段名称考勤开始时间计划考勤结束序号姓名身份证号岗位职务注册证书号手机(需考勤人员时间(需考勤备注填写)人员填写)项目总监监理工程师监理工程师监理工程师监理员监理员监理员监理员监理员监理员10办理建设工程安全监督登记手续指南一、设定依据:《建设工程安全生产管理条例》第42 条:“建设行政主管部门在审核发放施工许可证时,应当对建设工程是否有安全施工措施进行审查,对没有安全施工措施的,不得颁发施工许可证”。
二、施工单位在办理建设工程安全监督手续时,应提交下列资料:1.工程建设项目开工安全生产申报备案表(附表一);2.建设工程开工安全生产条件现场验收申报表(附表二、附表五签字盖章);3.企业安全生产许可证和三类人员审查表(附表三);4.安全专项方案(施工用电、模板支撑、起重机械、脚手架);5.企业与项目部签订的安全生产责任书;6.项目负责人、专职安全员、监理人员的任命文件;7.特种作业人员证书复印件;8.安全施工组织设计和安全监理规划;9.危险性较大的(超过一定规模的危险性较大的)分部分项工程清单(附表四)。
注:提供的所有复印件盖公司原件相符专用章(注明与原件相符并签名)。
11附表二:路桥区建设工程开工安全生产条件现场验收申报表申报单位:(公章)工程名称开工日期结构层次建筑面积安全目标建设单位联系电话监理单位联系电话施工单位联系电话项目经理技术负责人安全员现场周边状况工程开工临时设施、五牌二图安全视频监控设置(附表五)生产条件情况施工围墙(公建、住宅工程十百千万廉政文化墙)欠薪保障金、工伤保险监理公司意见总监签字:(公章)年月日验收结论:区建筑工程管理处验签字:(公章)收结论验收日期:年月日注:此表一式二份,附工伤保险办理单。
建工处留档一份、安全监督登记一份。
12附表三:企业安全生产许可证和三类人员审查表工程名称工程地点建筑面积建设单位联系电话施工单位联系电话中标日期合同造价安全生产许可证号法定代表人证号企业经理证号企业副经理证号企业技术负责人证号项目经理证号安全员①证号安全员②证号安全员③证号安全员④证号递交日期递交人签收单位签收人审查意见:年月日注:、附安全生产许可证、三类人员证书和台州市住建局的安全考核证书复印件。
13附表四:工程危险性较大的分部分项工程清单序号分部分项工程内容有无备注1 基坑支护、降水工程2 土方开挖工程开挖深度超过3m(含3m)或虽未超过3m但地质条件和周边环境复杂的基坑(槽)支护、降水工程开挖深度超过3m 3m(含)的基坑(槽)的土方开挖工程(一)各类工具式模板工程:包括大模板、滑模、爬模、飞模等工程3 模板工程及支撑体系(二)混凝土模板支撑工程:搭设高度5m及以上;搭设跨度10m及以上;施工总荷载10kN/m2 及以上;集中线荷载15kN/m22 及以上;集中线荷载15kN/m2及以上;高度大于支撑水平投影宽度且相对独立无联系构件的混凝土模板支撑工程(三)承重支撑体系:用于钢结构安装等满堂支撑体系(一)采用非常规起重设备、方法,且单件起吊重量在10KN4 起重吊装及安装拆卸工程及以上的起重吊装工程(二)采用起重机械进行安装的工程(三)起重机械设备自身的安装、拆卸(一)搭设高度24m及以上的落地式钢管脚手架工程(二)附着式整体和分片提升脚手架工程5 脚手架工程(三)悬挑式脚手架工程(四)吊篮脚手架工程(五)自制卸料平台、移动操作平台工程(六)新型及异型脚手架工程6 拆除、爆破工程(一)建筑物、构筑物拆除工程(二)采用爆破拆除的工程(一)建筑幕墙安装工程(二)钢结构、网架和索膜结构安装工程(三)人工挖扩孔桩工程7 其它(四)地下暗挖、顶管及水下作业工程(五)预应力工程(六)采用新技术、新工艺、新材料、新设备及尚无相关技术标准的危险性较大的分部分项工程建设单位项目负责人( 签字盖章): 施工单位项目负责人( 签字盖章): 年月日年月日14工程超过一定规模的危险性较大的分部分项工程清单序分部分项工程内容有无备号注1 深基坑工程(一)开挖深度超过5m(含5m)的基坑(槽)的土方开挖、支护、降水工程(二)开挖深度虽未超过5m,但地质条件、周围环境和地下管线复杂,或影响毗邻建筑(构筑)物安全的基坑(槽)的土方开挖、支护、降水工程2 模板工程及支撑(一)工具式模板工程:包括滑模、爬模、飞模工程体系(二)混凝土模板支撑工程:搭设高度8m 及以上;2搭设跨度18m 及以上,施工总荷载15kN/m及以上;集中线荷载20kN/m 2 及以上2 及以上(三)承重支撑体系:用于钢结构安装等满堂支撑体系,承受单点集中荷载700Kg 以上3 起重吊装及安装(一)采用非常规起重设备、方法,且单件起吊重量拆卸工程在100kN 及以上的起重吊装工程(二)起重量300kN 及以上的起重设备安装工程;高度200m 及以上内爬起重设备的拆除工程4 脚手架工程(一)搭设高度50m 及以上落地式钢管脚手架工程(二)提升高度150m 及以上附着式整体和分片提升脚手架工程(三)架体高度20m 及以上悬挑式脚手架工程5 拆除、爆破工程(一)采用爆破拆除的工程(二)码头、桥梁、高架、烟囱、水塔或拆除中容易引起有毒有害气(液)体或粉尘扩散、易燃易爆事故发生的特殊建、构筑物的拆除工程(三)可能影响行人、交通、电力设施、通讯设施或其它建、构筑物安全的拆除工程(四)文物保护建筑、优秀历史建筑或历史文化风貌区控制范围的拆除工程6 其它(一)施工高度50m 及以上的建筑幕墙安装工程(二)跨度大于36m 及以上的钢结构安装工程;跨度大于60m 及以上的网架和索膜结构安装工程(三)开挖深度超过16m 的人工挖孔桩工程(四)地下暗挖工程、顶管工程、水下作业工程(五)采用新技术、新工艺、新材料、新设备及尚无相关技术标准的危险性较大的分部分项工程施工单位项目负责人( 签字盖章): 年月日建设单位项目负责人( 签字盖章): 年月日15附表五:台州市建筑工程在线视频监控系统安装告知表项目名称建设地点施工单位项目负责人联系电话2建筑面积m 总造价计划开、竣工日期序号型号规格安装位置计划联机时间计划拆除时间其他情况1 施工单位:2 视频3联系人:监控点安4装情况56电话:7(盖章)8年月日网络运行服务商意见联系人:(盖章)年月日监理单位建设单位意见意见联系人:联系人:电话:电话:(盖章)年月日(盖章)年月日建设工程管理部门意见(盖章)年月日注:1.本表一式 5 份,建工处留档一份、施工单位、监理单位、网络运行服务商和安全监督登记各一份。