3PE防腐工艺流程图
- 格式:doc
- 大小:344.00 KB
- 文档页数:6
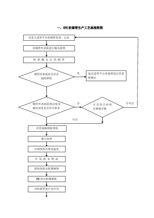
一、3PE防腐管生产工艺流程简图二、按国内标准生产的无缝钢管品种、国内常用牌号(钢级)及相应品种的常用国外标准三、钢管知识--钢管标准中常用术语介绍(1)通用术语①交货状态是指交货产品的最终塑性变形或最终热处理的状态。
一般不经过热处理交货的称热轧或冷拔(轧)状态或制造状态;经过热处理交货的称热处理状态,或根据热处理的类别称正火(常化)、调质、固溶、退火状态。
订货时,交货状态需在合同中注明。
②按实际重量交货或按理论重量交货实际重量--交货时,其产品重量是按称重(过磅)重量交货;理论重量--交货时,其产品重量是按钢材公称尺寸计算得出的重量。
其计算公式如下(要求按理论重量交货者,需在合同中注明):钢管每米的理论重量(钢的密度为7.85kg/dm3)计算公式:W=0.02466(D-S)S式中:W--钢管每米理论重量,kg/m;D--钢管的公称外径,mm;S--钢管的公称壁厚,mm。
③保证条件按现行标准的规定项目进行检验并保证符合标准的规定,称做保证条件。
保证条件又分为:A、基本保证条件(又称必保条件)。
无论客户是否在合同中注明。
均需按标准规定进行该项检验,并保证检验结果符合标准规定。
如化学成分、力学性能、尺寸偏差、表面质量以及探伤、水压实验或压扁或扩口等工艺性能实验,均属必保条件。
B、协议保证条件:标准中除基本保证条件外,尚?quot;根据需方要求,经供需双方协商,并在合同中注?quot;或"当需方要求……时,应在合同中注明";还有的客户,对标准中基本保证条件提出加严要求(如成分、力学性能、尺寸偏差等)或增检验项目(如钢管椭圆度、壁厚不均等)。
上述条款及要求,在订货时,由供需双方协商,签署供货技术协议并在合同中注明。
因此,这些条件又称为协议保证条件。
有协议保证条件的产品,一般均要加价的。
④批标准中的"批"是指一个检验单位,即检验批。
若以交货单位组批,称交货批。
当交货批量大时,一个交货批可包括几个检验批;当交货批量少时,一个检验批可分为几个交货批。
三层聚乙稀(3LPE)管道外防腐生产线及液态环氧涂料(LE)管道内防腐生产线技术方案Three Layer Polyethylene External Pipe Coating Line And Liquid Epoxy Internal Pipe Coating LineTechnology Information日期Data:2011 年10 月27 日1.涂敷工艺流程Pipe Coating Flow chart:1.1 三层PE涂敷工艺流程3PE Pipe Coating Flow chart:进管Pipe Incoming→钢管检查bare pipe inspection→表面预热pipe surface preheat→抛丸除锈pipe blast→管内吹扫pipe internal blow out→除锈检测blasted pipe inspection→废管返回reject pipe return→中频加热induction heat→粉末喷涂FBE Coating→胶粘剂挤出缠绕AD Coating→PE 挤出缠绕PE Coating→水冷却Cooling System→端口打磨End Clean→涂层检验Coated pipeinspection→打标包装mark/packing1.1.1 外防腐生产工艺流程描述:该生产线的工艺流程描述如下(以生产3PE 防腐层为例):a..经过检验合格的钢管从上料台架进入除锈传动线。
除锈传动线驱动钢管旋转前进依次通过预热器和除锈机进行除锈。
西安固锝涂敷设备技术有限公司项目技术方案地址ADD: 中国陕西省西安高新技术开发区科技路37 号B705 邮编P.C.: 710075电话TEL: 86-29-83151959 传真FAX: 86-29-83151958网址WEB: Page 10 of 13 E-mail: fenghongqi@b.中频预热装置可将钢管外表面加热到40℃~60℃,以满足除锈的需要。
钢管3PE防腐兼容泡沫黄夹克保温产品简介胜利油田金岛工程安装有限责任公司胜利油田思远工程安装有限责任公司研发的3PE钢制管道防腐项目在采油厂领导的大力支持下,经过近一年的反复研究、实践和完善,各项技术指标已达到立项时的指标要求,目前产品已经在油田范围投入使用,效果显著。
目前针对油田地质、气候状况,我公司又推出了新的埋地钢管防腐工艺:3PE防腐兼容泡沫黄夹克保温工艺。
一、研发3PE防腐兼容泡沫黄夹克保温工艺的必要性(1)在石油化工领域,原油密度高、粘度大、流动性差,输油管道需要常年保温。
(2)胜利油田地处北方,冬季气温常在零下10摄氏度左右,原油粘度普遍较高,开采难度加大,仅在孤岛采油厂所属部分产油区块原油粘度高达2000Pa.s,尽管采取加热、掺热水等手段,在输送管道长、地况复杂的情况下,热能散失严重,原油流动性差,开采速度还是不尽人意,个别油井甚至出现停产现象。
为降低传热系数以节约能源,稠油集输管道需要保温。
(3)胜利油田地质主要以盐碱地著称,地下水位高,土壤盐碱含量高,电阻率低,造成金属管道的严重腐蚀。
(4)普通黄夹克保温钢管在保温层进水后,保温层内的阻燃剂TCEP的聚氨酯遇水分解会导致管道的腐蚀。
另外,由于保温层外的夹克层具有部分屏蔽作用,会形成阴极保护的死角,因此,外腐蚀控制成为管道重要的腐蚀控制点。
所以,油田埋地钢管在性能上要求具备良好的防腐性能外,还要求管道具有有效的保温性。
在综合了油田地质环境、气候环境和输送介质特点等多方面因素的情况下,我公司针对性地推出2PE或3PE防腐兼容泡沫黄夹克保温的防腐保温技术,以应对油田特殊地况。
二、工艺技术原理及生产流程3PE防腐兼容泡沫黄夹克保温工艺性能稳定,钢管FBE或PE防腐保温层成型一般采用三层PE防腐生产工艺和聚氨酯保温工艺合并来完成,2个工艺的合并是指采用2个独立生产线进行合并,即需要建立一条三层PE防腐层成型生产线和一条内定径一步法保温成型生产线。
3PE防腐管道一、防腐能力简介1、防腐范围3PE、2PE、FBE外防腐生产规格Ф114-Ф1400,长度为8—12米。
螺旋管,直缝管,无缝管2、防腐产量3~6km/d或2500~9000m2/d3、防腐标准3PE/2PE执行SY/T4013-95或SY/T 0413-2002《埋地钢质管道聚乙烯外涂层技术标准》FBE执行SY/T0315—97《钢质管道熔结环氧粉末外涂层技术标准》4、除锈标准钢管外表面喷砂除锈按GB/T8923—1988要求达Sa2.5级,钢管表面的锚纹深度在40-100μm.二、主要性能和特点1.主要性能特征(表1)2.技术参数2.1钢管表面的预处理应符合下列规定。
在防腐层涂敷前,应先清除钢管表面的油脂和污垢等附着物,并对钢管预热后进行表面预处理。
涂敷二层结构防腐和三层结构防腐层时,其表面预处理的质量应分别达到《涂装前钢材表面锈蚀等级和除锈告示级》中规定的Sa2级和S a2.5级要求,三层结构防腐层要求锚纹深度达到50—75μm。
钢管表面的焊渣、毛刺等应清除干净.表面预处理后,应将钢管表面附着的灰尘及磨料清扫干净,并防止涂敷前钢管表面受潮、生锈或二次污染。
2.2聚乙烯表面应平滑、无暗泡、麻点、皱折及裂纹,色泽应均匀.2.3漏点检测:防腐层的漏点采用在线电火花检漏仪检查,检漏电压为25KV,无漏点为合格。
单管有两个或两个以下漏点时,可按本标准的规定进行修补;单管有两个以上漏点时,该管为不合格.2。
4防腐层粘结力应符合SY/T0413-2002标准表1中的第1条的规定。
2.5防腐层的厚度,测量的结果应符合SY/T0413—2002标准的规定。
(表2)2.6留端长度:防腐层涂敷完成后应除去管端部位的聚乙烯层,管端预留长度应为100-150mm,且聚乙烯层端面应小于或大于45º的倒角。
2.7堆放层数: (表3)2。
8补伤:a。
对小于或等于30mm的损伤,用聚乙烯补伤片进行修补。
一、3PE防腐管生产工艺流程简图二、按国内标准生产的无缝钢管品种、国内常用牌号(钢级)及相应品种的常用国外标准三、钢管知识--钢管标准中常用术语介绍(1)通用术语①交货状态是指交货产品的最终塑性变形或最终热处理的状态。
一般不经过热处理交货的称热轧或冷拔(轧)状态或制造状态;经过热处理交货的称热处理状态,或根据热处理的类别称正火(常化)、调质、固溶、退火状态。
订货时,交货状态需在合同中注明。
②按实际重量交货或按理论重量交货实际重量--交货时,其产品重量是按称重(过磅)重量交货;理论重量--交货时,其产品重量是按钢材公称尺寸计算得出的重量。
其计算公式如下(要求按理论重量交货者,需在合同中注明):钢管每米的理论重量(钢的密度为7.85kg/dm3)计算公式:W=0.02466(D-S)S式中:W--钢管每米理论重量,kg/m;D--钢管的公称外径,mm;S--钢管的公称壁厚,mm。
③保证条件按现行标准的规定项目进行检验并保证符合标准的规定,称做保证条件。
保证条件又分为:A、基本保证条件(又称必保条件)。
无论客户是否在合同中注明。
均需按标准规定进行该项检验,并保证检验结果符合标准规定。
如化学成分、力学性能、尺寸偏差、表面质量以及探伤、水压实验或压扁或扩口等工艺性能实验,均属必保条件。
B、协议保证条件:标准中除基本保证条件外,尚?quot;根据需方要求,经供需双方协商,并在合同中注?quot;或"当需方要求……时,应在合同中注明";还有的客户,对标准中基本保证条件提出加严要求(如成分、力学性能、尺寸偏差等)或增检验项目(如钢管椭圆度、壁厚不均等)。
上述条款及要求,在订货时,由供需双方协商,签署供货技术协议并在合同中注明。
因此,这些条件又称为协议保证条件。
有协议保证条件的产品,一般均要加价的。
④批标准中的"批"是指一个检验单位,即检验批。
若以交货单位组批,称交货批。
当交货批量大时,一个交货批可包括几个检验批;当交货批量少时,一个检验批可分为几个交货批。
喀什新海3PE管线施工组织设计一、编制依据1.《涂装前钢材表面锈蚀和除锈等级》GB/T8923—19882.《钢质管道熔结环氧粉末外防腐层技术标准》(SY/T0315—97);3.《埋地钢质管道双层熔结环氧粉末外涂层技术规范》(Q/CNPC38-2002)4.《漆膜硬度测定法、摆杆阻尼试验》GB/T1730—19935. 《电气绝缘涂敷粉末试验方法》GB/T6554—19866《埋地钢质管道聚乙烯防腐层技术标准》SY/T4013-957《涂装前钢材表面锈蚀和除锈等级处理规范》GB8923-19888《输油、输气管道线路工程施工及验收规范》Q/BT 001二、施工部署:做好防腐工程施总体部署是整个防腐工程的主要内容之一,是施工生产中的一个重要阶段,也是关系整个工程能否顺利地、连续地施工,保证工程质量和施工经济效益的重要前提。
施工总体部署可分为阶段性施工部署和作业性施工部署两个方面,而施工技术部署是在工程施工的全过程中。
1、施工工期计划安排:1.1我公司投标的管材防腐工程工期为35个日历日。
1.2防腐厂的建厂时间为20个日历天,争取比建设部门的要求提前3天完成。
2 、技术准备:2.1防腐蚀工程施工,要具有齐全的施工图纸和设计文件。
2.2设计单位要提出明确的防腐蚀施工技术说明,对原材料、半成品、成品提出明确的技术规范和标准。
2.3施工单位要对施工图纸进行自审、会审。
结合工程情况,提出施工方案和技术交底,并应具有书面资料。
2.4构筑物、设备、管子及管件应具有交接证书和出厂合格证。
2.5防腐蚀施工所用原材料应具有出厂合格证和检验资料,对有怀疑者要进行复验,复验单位应具有二级资质证书(国家或省市二级试验单位)。
2.6准备齐全各种施工记录,应将自检记录、气象记录、施工日记与施工同步完成。
3、施工管理体制:防腐蚀工程施工的组织工作非常重要,这是提高工作效率、施工质量和施工安全的必要措施;施工组织应分两个层次:一为管理层,一为生产层。
设备运维178 |2019年6月内腐蚀主要集中在管体的下部,尤其是发生在落差较大、压力较低的低处管线以及经常不活动的死油段,造成内腐蚀的因素有许多,大致可以分为以下几类:(1)现输送油品多含有水,在压力较低时或者经常不活动的死油段,这部分水就沉积下来,与管道中的杂质、金属形成原电池,造成对内壁的腐蚀。
(2)输送的油品除含水外,还含有硫化氢、二氧化硫等腐蚀性介质,如果管线内壁出现防腐层破损,腐蚀性介质就会与管道直接接触,从而造成内腐蚀。
3 管道的防腐蚀措施3.1 外腐蚀的防护目前输油站场内管线主要采用防腐涂层保护,合适的选择和使用防腐涂层能够对管道提供超过保护,与外界环境进行隔离。
公司成立初期的管道大多采用石油沥青防腐技术,随着三层聚乙烯(3PE)和双层熔结环氧粉末(双层FBE)两种防腐层逐渐成为主流,新建的长输管道防腐层材料大多采用熔结环氧粉末、三层聚乙烯。
随着防腐技术的发展,为了提高防腐层的抗化学能力和抗环境的破坏能力,使其具有极强的热稳定性,一些新材料、新技术和新工艺不断出现并得到了广泛应用。
现新建输油站场工艺管道地上部分外防腐层及焊缝补口采用环氧富锌底漆+环氧云铁中间漆+丙烯酸脂肪族聚氨酯面漆防腐;站场内埋地工艺管道外防腐层及焊缝补口采用加强级无溶剂液体环氧涂料防腐;站场内工艺管道出入地面管段地面上下各300mm 范围内,在原有外防腐层外面缠绕铝箔防腐胶带作耐候处理,胶带采用双层结构,下一道胶带与上一道胶带搭接不小于50%。
3.2 内腐蚀的防护内腐蚀的防护主要按照以下3种情况进行处理:(1)新建输油站场工艺管道。
根据输送油品含有腐蚀性物质,在设计时合理选择耐腐蚀材料,在进行管线和管件选择时,考虑腐蚀性,在出厂时要求厂家内涂防护层,将金属与腐蚀性介质隔离开来,实现防止金属腐蚀的目的。
现阶段,较为常见的内涂层包括乙烯粉层与环氧树脂粉层等。
(2)针对现役存在内腐蚀的管道。
可以加入缓蚀剂来减缓腐蚀,降低管道内的二氧化碳对金属的腐蚀速度,从而控制水合物生成,以保护金属管道。
克拉玛依天圣工程建设有限责任公司3PE生产线通用工艺生产技术部二00六年四月一日发布二00六年四月一日实施编制:耿忠志审核:批准:天圣公司3PE生产线通用工艺1、总则1.1为保证3PE生产线的正常生产,保证生产出产品的安全质量,延长防腐钢管的使用寿命,提高经济效益,特制定本工艺。
1.2本工艺适用于环氧粉末防腐、2PE钢管防腐、3PE钢管防腐三种产品的生产、检验和检测,以上产品均用于埋地管道或水下管道设施。
作为环氧粉末的防腐,本工艺适用于一次喷涂成漠,单层结构环氧粉末。
如生产双层结构的环氧粉末,仅作参考之用。
1.3 生产过程中的工艺参数及检验检测数据应予以记录并妥善保管。
2编制依据2.1 GB/T23257-2009 《埋地钢质管道聚乙烯防腐层技术标准》2.2 SY/T0315-2005 《钢质管道熔结环氧粉末外涂层技术标准》2.3 SY/T0407-97 《涂装前钢材表面预处理规范》2.4 GB50235-97 《工业金属管道工程施工及验收规范》2.5 TS/A001-2005 《克拉玛依天圣实业总公司质量健康安全环境管理手册》2.6 TS/B001-2005 《克拉玛依天圣实业总公司质量健康安全环境管理体系程序文件汇编》2.7 TS/GA001-2001 《克拉玛依天圣实业总公司压力管道安装质量保证手册》2.8 TS/GB001~026-2001 《克拉玛依天圣实业总公司压力管道安装质量保证程序文件汇编》3 生产及检验检测工艺流程(见下图)工艺流程说明:上述为完整的3PE防腐管工艺流程,当生产环氧粉末防腐管时,去除粘胶剂和聚乙烯的涂敷工序,当生产2PE防腐管时,去除环氧粉末喷涂工序。
4生产过程控制4.1钢管吊装堆码4.1.1 来场钢管卸车时,应尽可能使用龙门吊,没有条件使用龙门吊的,可采用吊车或抓管机卸管。
4.1.2 钢管起吊应采用尼门吊带或其它不损坏钢管坡口的吊具。
4.1.3 钢管堆码时,钢管有管号等标识的一端应对齐摆放在码垛上,码垛由细土、细沙堆积或采用麻袋等摆放,防止硬物对钢管造成损坏。
浅谈整体包覆式3PE防腐管生产工艺摘要:整体包覆式3PE防腐管和硬质聚氨酯泡沫塑料保温管兼容生产线,是在原有整体包覆式聚氨酯泡沫保温管生产线的基础上改造而成的。
可在一条生产线上分别进行包覆式2PE、3PE、硬质聚氨酯泡沫塑料保温管的生产。
主要解决了以下技术问题:设计各种不同管径的挤出机机头,用来满足不同直径钢管的3PE防腐要求;制作了微小空间内进行粉末自动喷涂系统,使得钢管在直线传动无旋转的环境下实现环氧粉末喷涂的均匀性。
本文以整体包覆式3PE生产为例,介绍了该生产线的工艺流程和主要技术特点。
关键词:3PE防腐管环氧粉末工艺流程3PE防腐层适用于复杂地形、腐蚀严重的管线保护,在油田建设中,3PE防腐管以其高度的耐化学腐蚀特性、绝佳的机械保护特性、使用寿命长等优点目前已在国内油田输油、输水、输气工程的应用中占据主导地位。
为了满足油田需要,同时扩大我厂防腐产品的预制范围,在原有泡夹管生产线的基础上,设计制造了一条集3PE防腐管、2PE防腐管、保温泡夹管兼容生产线,实现了φ219以下整体包覆式3PE防腐管的生产。
通过反复试验,已经试生产3PE防腐管近1km,经检测,产品质量基本符合设计要求。
现将3PE防腐管的结构、工艺流程介绍如下,以供参考。
1、聚乙烯3PE防腐管结构埋地钢质管道三层PE防腐层的结构如图1。
(1)底层:熔结环氧粉末, 厚度≥120μm;(2)中间层:共聚物胶粘剂,厚度≥170μm;(3)外层:高密度聚乙烯, 厚度1.8~3.7μm;3PE防腐层通常采用液体环氧或熔结环氧粉末作底漆,我厂采用熔结环氧粉末作底漆。
环氧粉末通过静电直接涂敷在钢管表面, 其作用是与共聚物胶粘剂形成化学粘接, 具有优秀的耐腐蚀和抗阴极剥离的性能。
中间层为共聚物胶粘剂, 起到与底层环氧粉末和外层聚乙烯防护层粘接的作用,它与环氧粉末底层有极好的化学粘合力, 能够抵抗土壤运动、温度变化引起的剪切力。
外层为高密度聚乙烯防护层,具有优良的抗潮气性能,可以保护环氧粉末底层及胶粘剂层。
天津市惠利丰防腐保温钢管有限公司Tianjin Huilifeng Anti-Corrosion And Insulation Steel Pipe Co,.Ltd3PE防腐工艺流程图3 Layer Polyethylene Anti-corrosion Coating Production Process Chart底层→喷涂→环氧粉末中层→挤出包覆→胶粘剂外层→挤出包覆→PE / PP其中熔结环氧粉末层和胶粘剂层的基本作用是保证整个防腐层对钢体的粘结,聚烯烃层是提供腐蚀防护的主体。
生产中的主要控制点:1、表面处理质量;2、涂装温度和环氧粉末固化时间。
产品主要质量问题:1、防腐层粘接失效;2、焊缝处防腐层减薄;3、气泡。
♦气泡的成因:♦错口,压辊硬度、位置和压力♦压辊问题导致焊缝、管头位置,有时也可以在压边位置,甚至任意部位,产生气泡。
♦错口幅度超过压辊对气泡的排除能力,位置低的管端将产生气泡。
♦弯管防腐问题♦最早热煨弯管的外防腐涂层分别采用进口液体环氧外缠中央制塑聚丙烯增强纤维胶带保护方式。
♦热收缩套♦单层FBE外缠胶带保护♦双层FBE♦综合性能都达不到3PE的防腐水平,造价却高了许多。
三、粉末喷涂3PE技术介绍Z245.21-02 External Polyethylene Coating for PipeThis Standard covers the following coating systems:(a) System A1: a coating that consists of an adhesive and a polyethylene outer sheath;(b) System A2: a coating that consists of an adhesive and a polyethylene outer sheath that has more stringent peel adhesion requirements than those for System A1;(c) System B1: a coating that consists of a liquid or powdered epoxy primer, a polymeric adhesive, anda polyethylene outer sheath; and(d) System B2: a coating that consists of a powdered epoxy primer, a powdered copolymer adhesive,and a powdered polyethylene outer layer.。
三层结构的聚乙烯防腐层简介三层聚乙烯防腐又称3PE防腐,三层结构的底层为环氧类涂料,中间层为胶粘剂,外防护层为聚乙烯。
详见如下介绍:
第一层(底层):溶结环氧(FBE)厚度一般为60—100μm。
以粉末形态进行喷涂并熔融成膜。
这种热固性粉末涂料无溶剂污染,固化迅速,具有极好的粘接性能。
第二层(中层):聚烯烃共聚物.它作为胶粘剂的作用连接底层与外防护层厚度为200—400μm。
防护层聚乙烯是非极性聚合物,它要直接粘结在钢管表面或环氧层上是很困难的,所以中间层粘接剂必须同时具有极性基因和非极性基因,以便实现聚乙烯与环氧之间的化学键合.粘接剂是一种带有极性基因的乙烯共聚物、嵌段共聚物或三聚物(共聚物中有三个单体),通过共聚或嵌段反应,使末端环氧和羟基与未完全固化的环氧底漆发生化学反应,能获得很好的粘结。
同时,粘接剂的非极性链与聚乙烯的化学亲和作用,使其在软化点温度以上熔融粘结,与聚乙烯融为一体,显示出很强的粘接性.所以,三层PE 中的胶粘剂具有粘接性强、吸水率高、抗阴极剥离的优点,而且在施工过程中可以与防护层聚乙烯共同挤出,方便施工。
第三层(防护层):聚烯烃,如低密度聚乙烯、高/中密度聚乙烯,或改性聚丙烯(PP)。
一般厚度为1.8-3。
7mm,或视工程的特殊要求增加厚度。
●工艺与设备钢管3PE外防腐多层聚烯烃涂敷新工艺介绍龙志斌,龙云正,汪 颐,赵建华,葛启维(南京橡塑机械厂有限公司,南京210001)摘 要:介绍了常规的钢管3PE外防腐工艺及其优缺点及目前国内外为提高钢管3PE外防腐质量所采取的有效措施。
重点介绍了一种由环氧粉末喷涂、胶粘剂粉末喷涂、聚烯烃粉末喷涂和聚烯烃挤出缠绕组成的多层聚烯烃涂敷新工艺。
该方法能减少钢管焊道上的涂层减薄,并能消除焊顶、焊脚处出现的空穴,显著减小涂层内的残余应力,从而提高3PE钢管外防腐质量。
关键词:钢管3PE防腐;环氧底漆;多层聚烯烃涂敷中图分类号:TG174.46 文献标志码:B 文章编号:1001-3938(2009)10-0040-03A Newly Approach of3PE P i pe Coa ti n g2m ulti2l ayer Polyolef i n Coa ti n gLONG Zhi2bin,LONG Yun2zheng,WANG Yi,Z HAO J ian2hua,GE Q i2wei(N anjing Rubber and Plastics M achinery Plant Co.,L td.,N anjing210001,China) Abstract:This paper p resents a detailed intr oducti on about the advantages and disadvantages of conventi onal3PE ex2 ternal coating,and the effective measures which are taken by manufactured at home and the abr oad t o i m p r ove3PE ex2 ternal coating quality.A ne wly coating app r oach consisting of epoxy powder s p raying,adhesive powder s p raying,and polyolefin powder s p raying as well as extruded polyolefin wrapp ing was intr oduced.This ne wly coating app r oach can a2 void the weld coating thickness reducing thin,eli m inate cavities appeared on the t op and foot of welding,and signifi2 cantly reduce residual stresses in the coating,s o it can remarkably i m p r ove3PE external coating quality.Key words:steel p i pe3PE coating;epoxy p ri m er;multi2layer polyolefin coating1 常规钢管3PE外防腐工艺简介钢管3PE外防腐系统通过中间层胶粘剂的连接,完美结合了环氧底漆对氧气的低渗透性、与钢管的强粘接性以及抗阴极剥离特性和聚乙烯层对湿气的低渗透性、良好的抗冲击韧性以及低成本特性,被誉为“永不腐蚀的防腐系统”,广泛应用于世界各国的油气输送、输水工程乃至海洋管道工程。
喀什新海3PE管线施工组织设计一、编制依据1.《涂装前钢材表面锈蚀和除锈等级》GB/T8923—19882.《钢质管道熔结环氧粉末外防腐层技术标准》(SY/T0315—97);3.《埋地钢质管道双层熔结环氧粉末外涂层技术规范》(Q/CNPC38-2002)4.《漆膜硬度测定法、摆杆阻尼试验》GB/T1730—19935. 《电气绝缘涂敷粉末试验方法》GB/T6554—19866《埋地钢质管道聚乙烯防腐层技术标准》SY/T4013-957《涂装前钢材表面锈蚀和除锈等级处理规范》GB8923-19888《输油、输气管道线路工程施工及验收规范》Q/BT 001二、施工部署:做好防腐工程施总体部署是整个防腐工程的主要内容之一,是施工生产中的一个重要阶段,也是关系整个工程能否顺利地、连续地施工,保证工程质量和施工经济效益的重要前提。
施工总体部署可分为阶段性施工部署和作业性施工部署两个方面,而施工技术部署是在工程施工的全过程中。
1、施工工期计划安排:1.1我公司投标的管材防腐工程工期为35个日历日。
1.2防腐厂的建厂时间为20个日历天,争取比建设部门的要求提前3天完成。
2 、技术准备:2.1防腐蚀工程施工,要具有齐全的施工图纸和设计文件。
2.2设计单位要提出明确的防腐蚀施工技术说明,对原材料、半成品、成品提出明确的技术规范和标准。
2.3施工单位要对施工图纸进行自审、会审。
结合工程情况,提出施工方案和技术交底,并应具有书面资料。
2.4构筑物、设备、管子及管件应具有交接证书和出厂合格证。
2.5防腐蚀施工所用原材料应具有出厂合格证和检验资料,对有怀疑者要进行复验,复验单位应具有二级资质证书(国家或省市二级试验单位)。
2.6准备齐全各种施工记录,应将自检记录、气象记录、施工日记与施工同步完成。
3、施工管理体制:防腐蚀工程施工的组织工作非常重要,这是提高工作效率、施工质量和施工安全的必要措施;施工组织应分两个层次:一为管理层,一为生产层。
天津市惠利丰防腐保温钢管有限公司
Tianjin Huilifeng Anti-Corrosion And Insulation Steel Pipe Co,.Ltd
3PE防腐工艺流程图
3 Layer Polyethylene Anti-corrosion Coating Production Process Chart
底层→喷涂→环氧粉末
中层→挤出包覆→胶粘剂
外层→挤出包覆→PE / PP
其中熔结环氧粉末层和胶粘剂层的基本作用是保证整个防腐层对钢体的粘结,聚烯烃层是提供腐蚀防护的主体。
生产中的主要控制点:
1、表面处理质量;
2、涂装温度和环氧粉末固化时间。
产品主要质量问题:
1、防腐层粘接失效;
2、焊缝处防腐层减薄;
3、气泡。
♦气泡的成因:
♦错口,压辊硬度、位置和压力
♦压辊问题导致焊缝、管头位置,有时也可以在压边位置,甚至任意部位,产生气泡。
♦错口幅度超过压辊对气泡的排除能力,位置低的管端将产生气泡。
♦弯管防腐问题
♦最早热煨弯管的外防腐涂层分别采用进口液体环氧外缠中央制塑聚丙烯增强纤维胶带保护方式。
♦热收缩套
♦单层FBE外缠胶带保护
♦双层FBE
综合性能都达不到3PE的防腐水平,造价却高了许多。
三、粉末喷涂3PE技术介绍
Z245.21-02 External Polyethylene Coating for Pipe
This Standard covers the following coating systems:
(a) System A1: a coating that consists of an adhesive and a polyethylene outer sheath;
(b) System A2: a coating that consists of an adhesive and a polyethylene outer sheath that has more stringent peel adhesion requirements than those for System A1;
(c) System B1: a coating that consists of a liquid or powdered epoxy primer, a polymeric adhesive, anda polyethylene outer sheath; and
(d) System B2: a coating that consists of a powdered epoxy primer, a powdered copolymer adhesive,and a powdered polyethylene outer layer.。