安全事故隐患处理流程
- 格式:doc
- 大小:254.50 KB
- 文档页数:3
消防安全隐患的防范措施及处理流程消防安全是大事,也是每个物业人经常要面对的事情。
在我们日常要进行的消防设备隐患排查中,不同类型的问题需要不同的处置流程,关于消防安全的管控,一位资深的物业人跟我分享了他的做法,归纳起来,主要就是“3个等级1个流程”。
三个等级根据《消防法》要求,消防设施设备故障的安全隐患程度从高到低分为“一级消防风险”、“二级消防风险”“三级消防风险”三个等级。
一级消防风险:这是最高也是最严重的消防设备安全隐患,主要是消防设备的无法使用的状况。
主要有以下几种类型:室内外消火栓系统管道无水或管道上最不利点的静水压力低于规范值;自动喷水灭火系统管道无水或管道上最不利点的静水压力低于规范值;室内/外消防水泵/喷淋泵任一台功能失效;消防水池/高位消防水箱低于最低有效水位;火灾自动报警系统主机停用、瘫痪或功能失效;所接管项目尚未取得全部区域“建设工程竣工验收消防审核合格意见书”。
二级消防风险:这类消防风险是严重程度较低,主要是消防设备存在故障,但范围不大或仅仅是子系统故障的。
主要有以下几种类型:火灾自动报警系统点位故障达到30%及以上未达到50%;消防水池/水箱储水量低于设计要求下限值;各项目子系统(如: 防排烟、应急照明、疏散指示等) 故障点位达到30%以上。
三级消防风险:这类消防风险相对于上面两个等级的问题来说是影响相对较小的,主要是子系统小范围的故障。
主要是以下类型:项目子系统(如:防排烟、应急照明、疏散指示等)、火灾自动报警系统点位故障达到10%及以上未达到30%。
一个流程针对上面这些消防安全问题,一般来说需要按照不同流程进行专项跟进处理。
一级消防风险,集团跟进。
二级、三级消防风险,区域跟进。
具体的执行流程,可以归纳为消防风险问题处置流程:消控室人员发现风险点后,进行工单报事,现场查看,随后风险评估,根据评估结果决定是进行自主维修还是地产维保单位维修,并进行后续拉通直到风险解除。
根据实际灭火情况,除高层建筑需要设置灭火救援操作场地外,一般建筑均可直接利用消防车道展开灭火救援行动,因此,消防车道与建筑间要保持足够的距离和净空,避免高大树木、架空高压电力线、架空管廊等影响灭火救援作业。
实验室紧急事故报告处理制度为防止重大安全事故发生,完善应急管理机制,迅速有效地控制和处置可能发生的事故,保护研究人员人身安全和实验室财产安全,保障实验室安全和正常运转,特制定本处理制度。
一、实验室安全隐患分析分析实验室存在的安全隐患,易发生的事故类型有:(一)、火灾火灾性事故的发生具有普遍性,几乎所有的实验室都可能发生:1、忘记关电源,致使设备或用电器具通电时间过长,温度过高,引起着火;2、操作不慎或使用不当,使火源接触易燃物质,引起着火;3、供电线路老化、超负荷运行,导致线路发热,引起着火;4、乱扔烟头,接触易燃物质,引起着火。
(二)、爆炸爆炸性事故多发生在具有易燃易爆物品和压力容器的实验室:1、违反操作规程,引燃易燃物品,进而导致爆炸;2、设备老化,存在故障或缺陷,造成易燃易爆物品泄漏,遇火花而引起爆炸。
(三)、中毒毒害性事故多发生在具有化学药品和剧毒物质的化学实验室和具有毒气排放的实验室:1、违反操作规程,将食物带进有毒物的实验室,造成误食中毒;2、设备设施老化,存在故障或缺陷,造成有毒物质泄漏或有毒气体排放不出,酿成中毒;3、管理不善,造成有毒物品散落流失,引起环境污染;4、废水排放管路受阻或失修改道,造成有毒废水未经处理而流出,引起环境污染;5、进行有毒有害操作时不佩戴相应的防护用具;6、不按照要求处理实验三废,污染环境。
(四)、触电1、违反操作规程,乱拉电线等;2、因设备设施老化而存在故障和缺陷,造成漏电触电。
(五)、灼伤皮肤直接接触强腐蚀性物质、强氧化剂、强还原剂,如浓酸、浓碱、氢氟酸、钠、溴等引起的局部外伤:1、在做化学实验时没有根据实验要求配戴护目镜,眼睛受刺激性气体薰染,化学药品特别是强酸、强碱、玻璃屑等异物进入眼内;2、在紫外光下长时间用裸眼观察物体;3、使用毒品时没有配戴橡皮手套,而是用手直接取用化学毒品;4、在处理具有刺激性的、恶臭的和有毒的化学药品时,没有在通风橱中进行,吸入了药品和溶剂蒸气。
安全隐患排查治理工作程序和责任追究制度范文是为了确保企业、组织或单位的安全和稳定运行,以下是一种可能的工作程序和责任追究制度的示例。
一、安全隐患排查治理工作程序:1.组织:设立安全管理部门或委托专业机构负责安全管理工作。
2.排查:定期进行安全隐患排查,包括对设备、设施、环境等进行全面检查,发现问题及时记录。
3.评估:对排查结果进行评估,确定危险性和紧急程度。
4.治理措施:制定相应的治理措施,包括修复、更换设备、修整环境等。
5.实施:组织专业人员或特定部门对治理措施进行实施。
6.再次检查:对治理后的情况进行再次检查,确保隐患得到有效处理。
7.整改报告:制作整改报告,汇总治理情况。
8.备案归档:将整改报告进行备案归档,以备后续监督和管理。
二、责任追究制度:1.领导责任:公司高层领导对安全工作负总责,确保安全工作的重要性得到充分重视。
2.部门责任:各部门负责安全管理工作,落实安全责任制。
3.个人责任:员工对自己的工作区域进行安全隐患排查,并及时上报和处理。
4.监督检查:设立监督检查部门,对安全工作进行定期检查和评估,发现问题及时提出整改要求。
5.违规处罚:对未按照程序进行安全隐患排查治理的人员,给予相应的纪律处分。
6.事故追责:对因未及时发现、处理安全隐患而导致事故的责任人,依法追究责任。
7.奖励机制:对安全工作成绩突出的个人或部门进行奖励,激励安全管理工作的积极性。
以上是一种可能的安全隐患排查治理工作程序和责任追究制度,根据具体情况和需求,可进行适当的调整和完善。
安全隐患排查治理工作程序和责任追究制度范文(2)一、背景和目的安全是企业和社会发展的基石,安全隐患的排查和治理工作是保障人身安全和财产安全的重要举措。
为了规范安全隐患排查治理工作,确保各项安全措施的有效实施,并明确责任,特制定本程序和制度。
二、适用范围本程序和制度适用于所有员工和相关单位,在正常工作和生产活动中发现的安全隐患排查治理工作。
三、基本原则1. 安全第一:将安全放在首位,确保人员和财产的安全。
施工项目安全隐患排查与治理流程
1. 概述
施工项目安全隐患排查与治理流程是为了确保施工过程中的安全,预防事故的发生以及及时处理已存在的安全隐患而制定的一套流程。
2. 流程步骤
2.1 安全隐患排查
1. 制定安全隐患排查计划,明确排查人员及时间节点。
2. 进行现场勘察,查看施工区域的安全环境。
3. 识别潜在的安全隐患,包括但不限于工作场所安全、设备安全、人员操作安全等方面。
4. 记录和整理安全隐患清单,包括隐患的具体描述、位置、级别等信息。
2.2 安全隐患评估
1. 对安全隐患进行评估,确定其危害程度和优先级。
2. 根据评估结果,制定治理方案。
2.3 安全隐患治理
1. 制定治理方案,明确治理人员及时间节点。
2. 对安全隐患进行整改,包括但不限于修复设备、加强操作规范、增加安全设施等。
3. 监督治理过程,确保治理措施的有效实施。
4. 完成治理后,进行复查确认,确保安全隐患得到有效治理。
2.4 安全隐患报告
1. 编写安全隐患报告,包括排查过程、评估结果、治理方案和治理结果等信息。
2. 报告提交给相关部门或责任人,以便后续跟踪和监督。
3. 注意事项
1. 在排查和治理过程中,要确保安全隐患的真实性和准确性,不得隐瞒或夸大事实。
2. 治理过程中要遵守相关法律法规和标准要求,确保治理措施的合法性和有效性。
3. 治理后要进行复查确认,确保安全隐患得到有效消除。
4. 各相关部门和人员要积极配合,及时处理和落实治理措施。
以上是施工项目安全隐患排查与治理流程的简要介绍,希望能对您有所帮助。
1、安全隐患处理(1)施工中应根据安全检查开具隐患记录,进行数据分析,区别"通病"、"顽症"、首次出现、不可抗力等类型,修订和完善安全整改措施。
(2)项目经理部在检查后发出安全隐患通知单。
受检单位应进行安全隐患原因分析,制定纠正和预防措施,经检查单位负责人批准后实施。
(3)对检查出的违章指挥和违章作业行为,安全检查人员应当场指出,限期纠正。
(4)安全员对纠正和预防措施的实施过程和实施效果,应进行跟踪验证,保存验证记录。
2、安全事故处理当出现安全事故时应及时启动安全预案,及时向上汇报和组织抢救。
(1)安全事故处理必须坚持"事故原因不清楚不放过,事故责任者和员工没有受到教育不放过、防范措施不安全到位不放过"的原则。
(2)安全事故处理应按以下程序事故发生后,受伤者或最先发现事故的人员应立即用最快的传递手段,将发生事故的时间、地点、伤亡人数、事故原因等情况,逐级上报至主管部门。
主管部门视事故造成的伤亡人数或直接经济损失情况,按规定向检察院报告。
发生事故后,应首先抢救伤员、排除险情、防止事故蔓延扩大,做好标识,保护好现场。
项目经理部在接到事故报告后,应立即赶赴现场组织抢救工作,指定技术、安全、质量等部门的人员,会同承包人代表组成调查组,开展调查。
重大伤亡事故应按规定报请承包人主管部门,邀请检察院的有关专家参加调查工作。
调查组应迅速抵达事故现场进行调查,做到及时、准确、全面、客观。
调查的主要手段是现场笔录、拍照和绘图。
(3)事故分析应通过现场调查,查明事故经过,弄清造成事故的各种因素,认真、客观、全面、准确地分析,确定事故原因和性质,确定直接责任者和领导责任者。
(4)事故性质应区分以下事故:人的过失造成的责任事故;不可预见或不可抗拒的自然条件造成的非责任事故。
(5)制定措施在分析事故原因之后,应从中接受教训,制定防止类似事故再次发生的纠正和预防措施。
安全指挥中心安全隐患处置流程安全指挥中心是一个综合性的机构,负责指导和协调安全管理工作,并在发生安全事故或突发事件时,组织应急响应和安全处置工作。
为了有效应对安全隐患,确保人民群众的生命财产安全,安全指挥中心需要建立一套科学的安全隐患处置流程。
下面是一个常见的安全指挥中心安全隐患处置流程,供参考:第一步:收集信息安全指挥中心要负责收集与安全隐患相关的信息,包括安全隐患的发生地点、时间、性质、程度等基本信息,以及可能存在的危险因素和可能影响的范围。
这些信息可以通过安全巡检、安全监控、安全风险评估等手段收集得到。
第二步:评估风险安全指挥中心需要对收集到的信息进行综合评估,确定安全隐患的风险等级。
评估的依据可以是国家关于安全隐患风险等级的标准,也可以是自行制定的标准。
通过评估风险,可以确定安全隐患的处理优先级,制定相应的处理措施。
第三步:制定处置方案根据评估结果,安全指挥中心制定相应的安全隐患处置方案。
方案要具体明确,包含处理目标、流程、责任人、资源需求、预计时间等内容。
同时,还需要制定不同风险等级的响应措施,以便在发生安全隐患时能够迅速反应并投入处置工作。
第四步:组织应急响应在发生安全隐患时,安全指挥中心需要迅速组织应急响应。
首先,要根据处置方案,通知相关责任人和应急救援队伍,组织人员和物资的调度和部署。
其次,要及时向上级主管部门和相关单位报告,协调他们的支持和配合。
同时,还需要启动应急预案,并指挥和协调处置工作。
第五步:处置安全隐患安全指挥中心要根据处置方案,组织和指导相关人员和队伍进行安全隐患的处置工作。
这包括现场勘察、事故录像记录、事故复原、现场处置、伤员救治等一系列工作。
同时,要保持与上级主管部门和相关单位的沟通和协调,及时报告处理进展和存在的问题。
第六步:评估总结安全指挥中心要对安全隐患的处置工作进行评估总结。
这包括对处置过程的评估,如指挥调度是否及时准确、处置措施是否得当有效等;对处置效果的评估,如对人员伤亡和财产损失的控制情况;以及对处置经验的总结,如工作中存在的不足、需要改进的地方等。
事故隐患排查与整改的流程规范1. 背景事故隐患排查与整改是企业安全管理的重要组成部分,主要目的是预防和减少事故的发生,保障员工的生命财产安全本流程规范主要目的是为企业提供一套系统的事故隐患排查与整改方法,使其能够有效地识别和控制安全风险2. 事故隐患排查2.1 排查范围企业应全面排查生产设施、作业场所、作业过程及相关的安全设施、设备、器材等,确保排查范围覆盖整个企业2.2 排查内容排查内容包括但不仅限于:•人的不安全行为•物的不安全状态•环境的不安全因素•管理的不安全漏洞2.3 排查频次企业应根据生产实际情况,制定排查计划,明确排查频次一般可分为日常排查、定期排查和专项排查2.4 排查人员企业应指定具备相应资质和经验的安全管理人员、技术人员和岗位员工参与排查2.5 排查方法企业可采用以下方法进行排查:•查阅相关资料:如设计文件、操作规程、事故案例等•现场观察:实地查看设施、设备、作业过程等•访谈:与员工、管理层等进行交流,了解潜在安全隐患•数据分析:统计分析事故、故障、异常等信息,发现潜在安全风险3. 事故隐患整改3.1 整改责任企业应明确事故隐患排查整改的责任主体,确保整改措施的落实3.2 整改措施针对排查出的事故隐患,企业应制定具体的整改措施,包括:•消除隐患:如更换设备、修复设施等•控制风险:如设置安全防护、加强安全管理等•预防措施:如培训教育、制定应急预案等3.3 整改期限企业应根据事故隐患的严重程度,制定合理的整改期限3.4 整改验收企业应组织相关人员对整改措施进行验收,确保整改效果3.5 整改记录企业应对事故隐患排查整改情况进行记录,保存相关资料,以备查阅4. 事故隐患排查与整改的持续改进企业应不断总结事故隐患排查与整改的经验,完善相关制度,提高安全管理水平5. 附则本流程规范自发布之日起实施,如有未尽事宜,企业可根据实际情况予以补充本文章仅为示例,实际应用时请根据企业具体情况调整如有需要,请咨询专业的安全管理顾问事故隐患排查与整改的实施指南1. 背景事故隐患排查与整改是企业安全管理的核心环节,目的在于提前发现潜在的安全风险,及时采取措施,避免事故的发生,保障员工的生命财产安全本指南主要目的是为企业提供一套系统的事故隐患排查与整改方法,以提高企业的安全管理水平2. 事故隐患排查2.1 排查范围企业应全面排查生产设施、作业场所、作业过程及相关的安全设施、设备、器材等,确保排查范围覆盖整个企业2.2 排查内容排查内容包括但不仅限于:•人的不安全行为:如操作不当、违反规程等•物的不安全状态:如设备故障、安全设施缺失等•环境的不安全因素:如作业环境恶劣、安全距离不足等•管理的不安全漏洞:如规程不完善、培训不足等2.3 排查频次企业应根据生产实际情况,制定排查计划,明确排查频次一般可分为日常排查、定期排查和专项排查2.4 排查人员企业应指定具备相应资质和经验的安全管理人员、技术人员和岗位员工参与排查2.5 排查方法企业可采用以下方法进行排查:•查阅相关资料:如设计文件、操作规程、事故案例等•现场观察:实地查看设施、设备、作业过程等•访谈:与员工、管理层等进行交流,了解潜在安全隐患•数据分析:统计分析事故、故障、异常等信息,发现潜在安全风险3. 事故隐患整改3.1 整改责任企业应明确事故隐患排查整改的责任主体,确保整改措施的落实3.2 整改措施针对排查出的事故隐患,企业应制定具体的整改措施,包括:•消除隐患:如更换设备、修复设施等•控制风险:如设置安全防护、加强安全管理等•预防措施:如培训教育、制定应急预案等3.3 整改期限企业应根据事故隐患的严重程度,制定合理的整改期限3.4 整改验收企业应组织相关人员对整改措施进行验收,确保整改效果3.5 整改记录企业应对事故隐患排查整改情况进行记录,保存相关资料,以备查阅4. 事故隐患排查与整改的持续改进企业应不断总结事故隐患排查与整改的经验,完善相关制度,提高安全管理水平5. 附则本指南自发布之日起实施,如有未尽事宜,企业可根据实际情况予以补充本文章仅为示例,实际应用时请根据企业具体情况调整如有需要,请咨询专业的安全管理顾问应用场合各类型企业,尤其是那些涉及高风险操作、复杂设备或多个作业场所的企业它可以帮助这些企业建立一个标准化的事故隐患排查与整改流程,以确保员工安全和减少潜在的经济损失以下是一些具体的应用场合:1.生产制造业:在生产线上,由于机器设备和生产环境的复杂性,事故隐患可能无处不在本文章可以帮助企业系统地识别和消除这些隐患2.建筑行业:建筑工地环境多变,施工过程中使用的设备和材料可能存在安全隐患应用本文章可以帮助建筑企业确保施工安全3.化工行业:化工企业中的化学物质和生产过程可能带来高风险使用本文章可以帮助企业识别和管理这些风险4.服务业:虽然服务业的安全风险可能相对较低,但在某些服务过程中,如餐饮业、旅游业等,仍然可能存在安全隐患本文章可以用于提高这些行业的安全管理水平5.公共设施管理:如学校、医院、商场等公共场所,人员密集,事故隐患管理尤为重要本文章可以帮助管理者更好地识别和控制风险注意事项在应用本文章时,企业需要注意以下几点:1.定制化:虽然本文章提供了一套通用的排查与整改流程,但每个企业都有其独特的操作环境和风险点因此,企业需要根据自身情况对流程进行定制化调整2.培训与教育:确保所有参与事故隐患排查与整改的员工都接受了适当的培训,了解如何识别潜在的安全风险,以及如何采取相应的整改措施3.持续更新:随着生产工艺的改变、设备的更新以及外部环境的变化,事故隐患排查与整改流程需要不断更新,以适应新的安全挑战4.资源投入:确保有足够的资源投入到事故隐患排查与整改工作中,包括人力、物力和财力5.沟通与协调:在排查与整改过程中,需要跨部门沟通与协调,确保整改措施能够得到有效执行6.记录与跟踪:详细记录排查与整改的过程和结果,便于未来分析和改进同时,要跟踪整改效果,确保隐患得到有效控制7.法律遵守:确保排查与整改工作符合国家和地方的安全生产法律法规8.应急准备:在排查出重大隐患时,应立即制定应急计划,以应对可能发生的事故9.文化建设:培养企业内部的安全文化,让每个员工都意识到安全的重要性,并积极参与到事故隐患排查与整改工作中通过遵循本文章,企业可以建立一个有效的安全管理制度,减少事故的发生,保护员工的生命财产安全,同时也能够提高企业的社会责任形象和竞争力。
工程安全事故的分类等级及处理流程一、引言工程安全事故是指在建设、生产和施工过程中,由于违反安全生产规章制度或者存在安全隐患,造成一定人身伤亡和财产损失的突发事件。
工程安全事故的发生对企业和社会都会造成严重的影响,因此在工程管理中,必须要严格控制和预防安全事故的发生。
本文将从工程安全事故的分类等级及处理流程进行全面评估和探讨,帮助大家更全面、深入地了解工程安全事故处理的要点。
二、工程安全事故的分类等级根据工程安全事故的严重程度和影响范围,通常可以将工程安全事故分为轻微、一般、重大和特别重大四个等级。
1. 轻微事故轻微事故是指由于一些小的疏忽或违规操作导致的安全事故,通常情况下不会造成人身伤亡或严重财产损失。
比如意外碰撞、轻微烧伤等。
2. 一般事故一般事故是指一些较为严重的安全事故,可能会导致轻伤或中等程度的财产损失。
比如机械设备故障、建筑物倒塌等。
3. 重大事故重大事故是指导致严重人身伤亡和财产损失的安全事故,可能会对企业和社会产生较大影响。
比如火灾、爆炸等。
4. 特别重大事故特别重大事故是指造成极其严重的人身伤亡和财产损失,对企业和社会造成极大影响的安全事故。
比如重大交通事故、化工厂爆炸等。
三、工程安全事故的处理流程当发生工程安全事故后,企业必须按照规定的安全事故处理流程进行处置,以最大程度减少损失并防止类似事故再次发生。
一般来说,安全事故的处理流程通常包括以下几个步骤:1. 确定事故等级和性质当事故发生后,第一步是要尽快确定事故的等级和性质,以便能够采取相应的措施进行处置。
根据事故的具体情况,可以迅速确定事故等级,并通知相关部门和人员参与应急处理工作。
2. 抢救伤员和降低损失对于人员伤亡比较严重的事故,要第一时间进行现场抢救,保障伤员的生命安全。
要尽快采取措施,限制事故扩大范围,降低财产损失。
3. 启动应急预案根据事故的等级和性质,企业应当启动相应的应急预案,组织相关人员开展应急处理工作。
要设立应急指挥部,明确分工,快速部署,全力以赴进行事故处理。
安全隐患事故处理程序
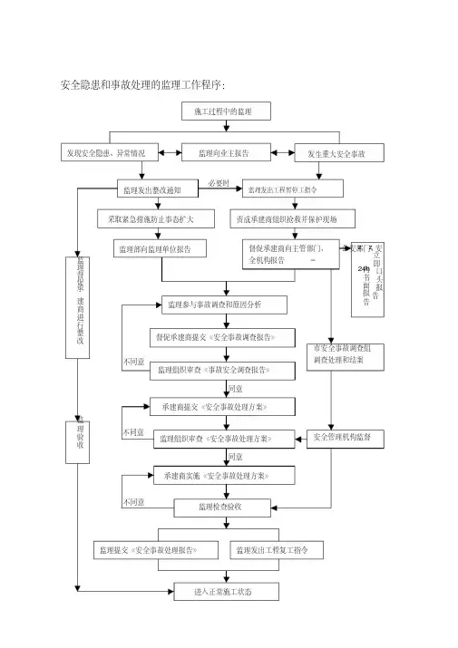
1、当施工现场发生安全事故后,施工单位应迅速控制并保护现场,及时启动安全救援应急预案,采取必要措施抢救人员和财产,防止事态发展和扩大,及时报告施工单位上级部门和现场项目监理部。
2、总监理工程师应及时会同建设单位现场负责人向施工单位了解事故情况,判断事故的严重程度,及时发出监理指令并向监理单位主要负责人报告。
3、当现场发生重伤事故后,总监理工程师应签发《监理通知》,要求施工单位提交事故调查报告,提出处理方案和安全生产补救措施,经监理人员审核同意后实施。
监理工程师应进行复查,并在《监理通知回复单》中签署复查意见,由总监理工程师签认。
4、当现场发生死亡或重大死亡事故后,总监理工程师应签发《工程暂停令》,并及时向监理单位、建设单位及监理工程所在地建设行政主管部门报告;监理单位应指定本单位主管负责人进驻现场,组织监理工程师配合有关主管部门组成事故调查组进行调查;项目监理部按照事故调查组提出的处理意见和防范措施建议,监督检查施工单位对处理意见和防范措施的落实情况;对施工单位填报的《工程复工报审表》,监理工程师进行核查,由总监理工程师签批。
5、现场发生安全事故后,监理单位应立即收集整理与事故有关的安全监理资料。
分析事故原因及事故责任,如实向有关部门报告。
燃气安全事件应急处理流程燃气是一种常用的能源,但如果不加注意地使用,就可能引发安全事件,甚至导致人员伤亡和财产损失。
因此,建立一套燃气安全事件应急处理流程,可以在发生意外情况时迅速采取应对措施,以保护人员的生命财产安全。
下面是燃气安全事件应急处理流程的具体步骤。
一、报警、通知客户1. 如发现燃气泄漏等重大安全隐患,请立即拨打当地有关部门的报警电话,如消防、供气公司、居委会等。
2. 通知燃气使用者或业主,告知燃气泄漏的情况和应急处理措施。
并要求大面积人员撤离,遥控关闭门窗,切勿点燃明火或开关电器等操作。
二、危险源控制1. 燃气泄漏后,应立即排除危险源。
包括关闭止阀、燃气表、调压器等,上锁后标记,辟离危险区域,并用警示带隔离制止通行。
2. 在危险区内起点风机保持开启状态,以加强空气流动并稀释燃气浓度。
如有条件可借助通风设备或散热器加速燃气泄漏的扩散。
三、救援处理1. 针对不同的燃气安全事件需要进行不同的救援处理措施。
如燃气泄漏需采取检测燃气浓度、施救、补气压力等措施。
如燃气爆炸则要进行灭火、搜救、救助伤员等救援处理。
2. 如发生燃气泄漏,需要专业检测人员对危险区进行测试,确定燃气浓度。
一旦燃气浓度高于安全值,应采取施救措施,将危险区域尽快疏散。
同时要注意救援人员自身安全,如佩戴防毒面具、穿上隔离服等防范措施。
3. 如发生燃气爆炸等重大事故,应立即启动应急预案,迅速进行搜救救援处理,保护人员的生命财产安全。
救援人员要严格遵守操作规程,充分利用通信设备和卫星导航以提高救援效率。
四、现场处理1. 在事故现场,要做到先安全后事故。
要尽快控制事故,保护好现场,并保证救援人员的安全和无障碍施救。
2. 如发生燃气泄漏事故,应在现场设置扇风机、氧气和测气仪器等设施,促进燃气的散逸与空气的交流。
同时,可以进行相应的紧急修补或缓解措施,尽量减少人员伤亡和财产损失。
五、后期处理1. 解除应急状态后,应及时开展后期处理工作。
专业安全生产事故处理流程安全生产事故处理流程是企业安全管理的重要组成部分,涉及到多个环节和部门的配合与协调。
以下为一个典型的安全生产事故处理流程,共分为七个步骤:一、事故报告与初步调查:1.人员发现安全生产事故时,及时向上级领导和安全保障部门提供详细的事故报告。
2.安全保障部门及时组织人员进行初步调查,确定事故性质、范围和原因,并收集相关证据及资料。
二、事故报备与启动应急预案:1.安全保障部门将事故情况向上级主管部门报备,并启动应急预案,协调各部门进行紧急处理。
2.按照事故等级和情况的严重程度,成立事故处理小组,明确成员的职责和任务。
三、现场保护与伤员救治:1.事故处理小组组织将现场进行保护,确保事故不扩大,尽量减少次生事故的发生。
2.对受伤人员进行紧急救治,将伤员及时送往医院进行治疗。
四、隐患排查与整改:1.安全保障部门与相关部门组织对事故现场进行全面排查,排除并整改存在的隐患。
2.针对事故原因进行深入分析,完善相关管理制度和操作规程,避免类似事故的再次发生。
五、事故调查与责任追究:1.成立事故调查组,对事故的原因、经过和责任进行深入调查,依法审核并形成调查报告。
2.在事故调查与责任追究过程中,依法依规对相关责任人进行问责和处理。
六、事故后续处理与整改:1.根据事故调查报告,制定相应的事故处理方案,并明确整改措施和时限。
2.对事故的处理情况进行监督和检查,确保整改措施的有效实施,并追踪其效果。
七、事故回顾与经验总结:1.安全保障部门组织开展事故回顾会议,总结事故的教训和经验,并提出改进安全管理的意见和建议。
2.通过内部培训和外部交流,推广事故处理经验和做法,提高全员的安全意识和应急能力。
以上是一个基本的安全生产事故处理流程,企业在实际操作中还需要根据自身特点和需要进行适当的调整和完善。
通过严格执行安全生产事故处理流程,可以及时、科学、高效地处理事故,减少事故对企业和员工的损失,最大程度地保障安全生产和员工健康。
安全质量隐患事故处理流程下载提示:该文档是本店铺精心编制而成的,希望大家下载后,能够帮助大家解决实际问题。
文档下载后可定制修改,请根据实际需要进行调整和使用,谢谢!本店铺为大家提供各种类型的实用资料,如教育随笔、日记赏析、句子摘抄、古诗大全、经典美文、话题作文、工作总结、词语解析、文案摘录、其他资料等等,想了解不同资料格式和写法,敬请关注!Download tips: This document is carefully compiled by this editor. I hope that after you download it, it can help you solve practical problems. The document can be customized and modified after downloading, please adjust and use it according to actual needs, thank you! In addition, this shop provides you with various types of practical materials, such as educational essays, diary appreciation, sentence excerpts, ancient poems, classic articles, topic composition, work summary, word parsing, copy excerpts, other materials and so on, want to know different data formats and writing methods, please pay attention!安全质量隐患事故处理流程在任何工作场所或生活环境中,安全质量隐患事故都可能发生,一旦发生,及时有效地处理将对人员和财产造成的伤害降到最低程度。
安全隐患的处理规定模版处理安全隐患的规定模板一、引言安全隐患是指在各类工作、生活和公共场所中存在的可能导致人身伤害、财产损失、环境破坏等各种风险的潜在问题。
为了保障人民群众的生命安全和财产安全,加强对安全隐患的管理和处理十分必要,本文将就处理安全隐患的规定模板进行详细阐述。
二、前期准备1. 审查与评估:对于可能存在的安全隐患进行全面的审查与评估,包括潜在风险的识别、隐患程度的评估等。
2. 制定处理计划:根据评估结果,制定详细的处理计划,明确隐患的处理目标、时间表、责任人等。
三、处理方法1. 隐患排查与整改a. 排查隐患:通过系统的检查、检测等手段,全面排查各类安全隐患,确保问题的准备识别。
b. 整改措施:针对排查出的隐患问题,制定相应的整改措施,在合理的时间内进行整改和消除。
2. 风险控制与防范a. 风险管控:对已排查出的隐患进行风险评估,尽量避免已知隐患带来的风险。
b. 防范措施:对未排查出的潜在隐患,采取一系列的防范措施,以减少风险发生的概率。
3. 应急预案和演练a. 制定应急预案:针对特定的安全隐患,制定相应的应急预案,明确各个环节的处理措施和责任人。
b. 定期演练:定期进行针对不同安全隐患的演练,提高相关人员在紧急情况下的应变能力。
四、监督与检查1. 内部监督:建立内部监督机制,加强对各个部门或单位隐患处理情况的监督,确保处理过程的规范性和效果。
2. 外部监督:加强对外部评审机构的协调与监察,接受专业机构或第三方的评估和检查,以确保处理安全隐患的公正性与透明度。
五、责任追究与奖惩机制1. 责任追究:对处理安全隐患工作不力或导致严重后果的责任人员,按照相关法律法规进行相应的追究和处罚。
2. 奖惩机制:建立健全奖惩机制,对于在处理安全隐患工作中表现突出或取得显著成效的人员,给予相应的奖励和激励。
六、总结与展望本文阐述了处理安全隐患的规定模板,包括前期准备、处理方法、监督与检查以及责任追究与奖惩机制等方面的内容。
安全事故处理流程I. 事故报告与初步调查安全事故发生后,及时向上级领导或安全管理部门进行报告。
初步调查应该立即展开,以确定事故的性质、规模和原因。
首先,要确保事故现场的安全,采取措施控制事故扩大并避免二次事故发生。
之后,收集相关证据如照片、视频、当事人陈述等以支持后续调查与分析。
II. 事故等级评估根据安全事故的性质、对人员财产的危害程度,对事故进行评估并初步确定事故等级。
通常,可以采用以下等级评估标准:轻微事故、一般事故、重大事故和特别重大事故。
不同等级的事故会对后续的处理程序和管理措施产生影响。
III. 事故调查与分析在事故调查阶段,要以客观、全面、准确的态度收集事故相关数据,并进行分析。
通过分析事故的根本原因、直接原因和隐患因素,找出事故发生的主要问题和管理缺陷。
同时,要查明相关责任人,并了解事故中他们的行为、操作是否存在违规或疏漏。
IV. 制定事故处理方案与措施根据事故调查与分析结果,制定合理有效的事故处理方案与措施。
方案应具体明确,包括事故应对原则、责任分工、处理流程、时间节点和资源保障等。
同时,应结合事故的风险特征,制定预防措施,避免类似事故再次发生。
V. 实施事故处理方案在执行事故处理方案时,要做到全员参与、分工合作。
明确各责任人的职责和权限范围,确保各项措施的贯彻执行。
对于高风险工作环节,要加强监督和检查,确保工作符合相关规章制度要求。
VI. 事故记录与总结记录事故处理的全过程,包括事故报告、调查与分析数据、处理方案与措施、执行情况等。
同时,要进行事故的总结与反思,找出事故处理中的不足与改进之处,以提升事故应对与处置水平。
VII. 事故预警与预防基于事故处理过程中的经验教训,建立健全事故预警机制。
加强对风险源的识别与监测,开展安全隐患排查,及时采取纠正措施。
同时,加强安全培训和教育,提高员工的安全意识和技能,预防事故的发生。
VIII. 安全事故报告与通报在事故处理完毕后,根据不同的等级和性质,向相关部门、组织或单位提交安全事故报告。
燃气安全事故处置流程下载温馨提示:该文档是我店铺精心编制而成,希望大家下载以后,能够帮助大家解决实际的问题。
文档下载后可定制随意修改,请根据实际需要进行相应的调整和使用,谢谢!并且,本店铺为大家提供各种各样类型的实用资料,如教育随笔、日记赏析、句子摘抄、古诗大全、经典美文、话题作文、工作总结、词语解析、文案摘录、其他资料等等,如想了解不同资料格式和写法,敬请关注!Download tips: This document is carefully compiled by theeditor. I hope that after you download them,they can help yousolve practical problems. The document can be customized andmodified after downloading,please adjust and use it according toactual needs, thank you!In addition, our shop provides you with various types ofpractical materials,such as educational essays, diaryappreciation,sentence excerpts,ancient poems,classic articles,topic composition,work summary,word parsing,copy excerpts,other materials and so on,want to know different data formats andwriting methods,please pay attention!燃气安全事故处置流程一、事故预警阶段。
在燃气安全事故可能发生之前,需要做好一系列的预警工作。