电梯报检流程及参考资料
- 格式:doc
- 大小:179.50 KB
- 文档页数:6
电梯监督检验需提供资料清单
办理业务受理时需提供:
1、告知书(原件)
2、制造许可证和安装许可证
3、产品质量合格证
4、安装委托书
5、作业人员证
6、型式试验合格证:①门锁装置②限速器③安全钳④缓冲器⑤含
有电子元件的安全电路(如果有)⑥轿厢上行超速保护装置⑦驱动主机⑧控制柜⑨整机型式试验合格证
7、限速器和渐进式安全钳的调试证书
8、施工方案
9、买卖合同和安装合同
10、机房井道布置图
11、电气原理图(检验室查阅后可退回)
12、安装维护说明书和使用维护说明书(检验室查阅后可退回)申请现场检验时需提供:
13、检验申请表(从网站下载、加盖使用单位公章)
14、自检报告(包括平衡系数表、施工质量证明书见附表一,加盖制造单位公章)
注:上述资料如为复印件,需加盖提供方单位红章。
报检人员要按
上述顺序将资料排放整齐。
附表一
电梯施工质量证明书
使用单位:使用登记编号:
制造单位:制造日期:年月日施工单位:施工单位许可证号:
施工类别:□安装□改造□重大维修施工合同编号:
设备名称:□曳引式客梯□无机房客梯□观光电梯□病床电梯□曳引式货梯□无机房货梯□汽车电梯
规格型号:产品编号:
安装地点:使用单位内部编号:
额定载重量 :kg层站门:层站门额定速度 :m/s控制方式 :
竣工日期:年月日
该电梯施工质量符合电梯安全技术规范TSG T7001-2009《电梯监督检验和定期检验规则—曳引与强制驱动电梯》的规定和电
梯设计文件的要求。
检验(签章):
审核(签章):
施工单位(盖章)
年月日。
电梯报检流程及参考资料一、电梯报检流程1.提交报检申请:用户需要先准备好相关资料,包括电梯使用单位信息、电梯设备信息等,并填写报检申请表。
然后将申请表提交给相关单位,如当地质量监督局、特种设备检测机构等。
2.安排检测时间:相关单位会根据用户提交的报检申请,安排检测时间,并通知用户。
用户需要根据通知进行准备。
3.现场检测:在安排好的时间内,相关单位会派遣工作人员前往现场进行电梯的检测工作。
检测人员会对电梯的各项指标进行检查,并记录检测数据。
4.检测结果评定:相关单位会根据检测数据进行评定,判断电梯是否符合相关标准和要求。
并将评定结果通知用户。
5.报告签发:如果电梯符合相关标准和要求,相关单位会签发检测报告。
用户可以根据需要保留报告。
6.后续处理:如果电梯存在问题或不符合相关要求,相关单位会要求用户进行相应的整改。
用户需要及时整改,并将整改情况通报给相关单位。
二、参考资料国家质量监督检验检疫总局是负责对全国范围内特种设备进行监督管理的机构,网站上可以找到相关政策法规、标准要求等信息。
2.电梯制造商提供的技术资料电梯制造商会提供各个型号电梯的技术资料,包括电梯的配置、性能指标等信息。
用户可以参考这些资料了解电梯的基本情况。
3.电梯使用单位所在地的地方质量监督局、特种设备检测机构等单位提供的相关资料4.电梯维保公司提供的服务资料电梯维保公司一般会提供维保合同、维保记录等服务资料。
用户可以参考这些资料,了解电梯的维保情况。
以上是电梯报检的基本流程及参考资料,用户可以根据实际情况进行相应的操作。
在进行电梯报检时,用户应严格按照相关要求来进行,确保电梯的安全性能和质量达到标准要求。
电梯检验报检流程一、电梯定期检验报检流程图二、安装监督检验流程图三、部分问题解答1、到期未检电梯的处理方式(1)对于超过检验期限三个月以内未检的电梯用户,要写出书面申请,经有关检验科室负责人和业务发展部负责人签字后方可受理报检。
(2)对于超过检验期限三个月以上未检的电梯用户,先到市局特设处或各分局处理后,凭处理单来我院报检,并经有关检验科室负责人和业务发展部负责人签字后方可受理报检。
(3)超过两个月需加收相应检验费。
2、检验报告丢失补办方式(1)在报社刊登遗失广告,广告内容中要写明设备注册代码和报告编号。
(2)补办检验报告书面申请,在申请单上加盖使用单位和维保单位公章,经检验人员、科室负责人、业务发展部负责人、科研技术部负责人、院长签字后方可补办。
附表:1、电梯定期检验申请单2、电梯监督检验申请单3、电梯安装施工前资料确认单4、电梯施工前井道勘查记录(垂直电梯、自动扶梯)5、电梯隐蔽工程记录6、钢结构井道质量验收证明7、限速器校验协议3新安装电梯施工前资料审查确认单新疆维吾尔自治区特种设备检验检验研究院:我单位负责安装的__________________________________________项目______台电梯准备进场施工,现将相关技术资料(具体目录见下表)提交给贵院,请予以审查。
电梯产品出厂编号:2.序号1至8的文件如为复印件应加盖整机制造单位的公章或者检验合格章;对于进口电梯,应加盖国内代理商的公章。
序号9至13的文件如为复印件应加盖安装单位的公章或者检验合格章。
电梯施工前现场勘测记录注:检测结果及结论栏中,打“√”、“╳”、和“/”分别表示“合格”、“不合格”和“无此项”电梯钢结构井道安装质量证明文件。
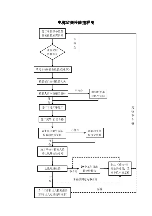
电梯监督检验流程图未直接判定为不合格合 格不合格合格复 检 不 合 格符合不符合符合不符合填写《特种设备检验/受理单》业务受理资料齐全 施工单位准备监督检验报检所需资料检验部门安排检验人员检验人员审查相关资料进行下道工序施工施工完毕,自检合格 施工单位与检验人员确认现场检验时间施工单位提交现场检验前所需资料实施现场检验10个工作日出具检验报告 (同时出具电梯使用标志)到达《通知书》 规定的时限;受检单位申请复检不齐全 通知相关单位提交资料通知相关单位提交资料10个工作日出具检验报告电梯监督检验检验须知根据《中华人民共和国特种设备安全法》,电梯须经监督检验合格后方可投入使用,为方便相关单位,现将电梯监督检验相关事项告知如下:1)电梯施工单位应当在施工前将拟进行的电梯安装、改造、修理情况告知负责特种设备安全监督管理的部门,方可到我院申报监督检验,填写特种设备检验申请/受理单,并提交相关资料(依据相应的电梯检验规程提供资料),资料审查合格后,方可进行施工。
施工单位在前台报检时须提交的资料至少包含以下内容:①电梯制造许可证复印件(盖施工单位公章)②电梯产品合格证复印件(盖施工单位公章)③电梯安装改造维修许可证复印件(盖施工单位公章)④特种设备安装改造维修告知书⑤改造或重大维修施工方案⑥特种设备检验申请/受理单2)现场检验时的条件确认对电梯整机进行检验时,检验现场应当具备以下检验条件:①机房空气温度应保持在5~40℃之间,湿度应保持在电梯及检验所允许的范围内;②电网输入电压应正常,电压波动(包括电梯启制动时)应在额定电压值±7%的范围内;③环境空气中不应含有腐蚀性和易燃性气体及导电尘埃,特种电梯工作环境中腐蚀性和易燃性气体及导电尘埃不应超过该电梯额定指标;④检验现场(主要指机房或者机器设备间、井道、轿顶和底坑)应整洁,没有与电梯工作无关的物品和设备,基站、相关层站等检验现场应放置表明正在进行检验的警示牌;⑤对井道进行了必要的封闭;⑥应有电梯施工单位的2名以上持证专业人员配合检验;⑦特殊情况下,电梯设计文件对温度、湿度、电压、环境空气条件等进行了专门规定的,检验现场的温度、湿度、电压、环境空气条件等应当符合电梯设计文件的规定。
报装报检流程正文第一篇:报装报检流程电梯安装前后处理流程1.告知:(所需材料) (1)《特种设备安装改造维修告知书(TSZS003-2021)》(一式四份),加盖施工单位,超过4台的应提交《特种设备安装改造维修告知书(TSZS002-2021)》; (2)使用单位组织机构代码证复印件; (3)产品合格证、技术特性表复印件;(4)安装改造维修单位资质证书原件和复印件,复印件要加盖施工单位公章;(有备案可省略) (5)安装单位营业执照和组织机构代码证复印件,复印件要加盖施工单位公章;(有备案可省略)2.报检准备资料: (1)特种设备安装告知书及受理回执(2)安装、销售合同(原件和复印件)(3)自检报告及自检记录(4)电梯整机型式试验合格证(5)主要部件(四大部件)型式试验合格证(6)轿厢上行超速保护装置型式试验合格证(7)渐进式安全钳的调试证书(8)驱动主机型式试验合格证(9)控制柜型式试验合格证*(10)改造后的整梯合格证或者重大维修质量证明文件(11)制造许可证(12)安装许可证(13)电梯说明书(14)井道图(15)施工审方案(16)电气原理图(17)出厂合格证(18)生产厂家的营业执照、组织机构代码(19)授权书一份(代表人提供身份证复印件)(2021术咨询服务检验费每台120213.办理电梯操作人员证:相关材料:身份证明(复印件,1份)照片(近期2寸、正面、近期、免冠、白底彩色照片,3张)学历证明(高中以上毕业证复印件,1份)安全教育和培训证明(1份)实习证明(1份)体检报告(1份)联系电话(办证报名费每人450元)4.办理使用登记:(所需材料) (1)《特种设备使用登记申请表》(2)设备《注册登记表》每台设备1份(3)有效期内的营业执照、组织机构代码证复印件(1份) (4)法定代表人(或负责人)身份证复印件(1份)(如委托办理的,需同时提交委托书原件份,受委托人身份证复印件1份)(签名或盖章并注明用途) (5)能证明所使用特种设备的生产合法性,且满足上述特殊条件的有关证明文件及技术资料复印件(1套)(即出厂合格证)(6)作业人员证原件和复印件(对照后复印件留底,作业人员证的”聘用情况”应填上聘用信息并加盖使用单位公章) (7)相关检验和校验报告复印件(1套)(盖章一页就好) (8)相关制度、措施和预案的复印件(1份)(即电梯使用确权承诺书,电梯使用安全管理制度)(9)设备维修保养合同复印件(若免费出示:免费维保合同) 第二篇:报装流程高压业扩工作流程1.1.1流程描述高压业扩工作流程客户申请确定供电方案供电公司受理客户业扩工程申请供电公司组织现场勘查供电公司确定供电方案、答复客户客户委托具有设计资质的单位进行业扩工程设计工程设计审核与施工不合格供电公司对设计单位资质及设计方案进行审核,合格后通知客户客户按设计方案进行工程所需设备材料的采购,委托具有施工资质的单位进行工程安装不合格供电公司对施工安装的中间过程进行检查不合格客户工程竣工后向供电公司报竣工、提供相关资料工程竣工与验收供电公司组织对工程进行验收供电公司验收合格后,与客户签订供用电合同供电公司进行送电前的全面检查,具备送电条件后,装表接电资料归档供电公司将业扩工程的全部资料整理归档,建立用户挡案和设备档案转用电抄核收流程1.1.2 流程说明高压业扩报装工作主要包括:业务受理、现场勘查、确定供电方案及答复、业扩工程设计及审核、施工、中间检查及验收、签订供用电合同、装表接电、资料归档等环节。
电梯监视检验流程图电梯监视检验检验须知根据?中华人民共和国特种设备平安法?,电梯须经监视检验合格前方可投入使用,为方便相关单位,现将电梯监视检验相关事项告知如下:1〕电梯施工单位应当在施工前将拟进展的电梯安装、改造、修理情况告知负责特种设备平安监视管理的部门,方可到我院申报监视检验,填写特种设备检验申请/受理单,并提交相关资料〔根据相应的电梯检验规程提供资料〕,资料审查合格后,方可进展施工。
施工单位在前台报检时须提交的资料至少包含以下内容:①电梯制造答应证复印件〔盖施工单位公章〕②电梯产品合格证复印件〔盖施工单位公章〕③电梯安装改造维修答应证复印件〔盖施工单位公章〕④特种设备安装改造维修告知书⑤改造或重大维修施工方案⑥特种设备检验申请/受理单2〕现场检验时的条件确认对电梯整机进展检验时,检验现场应当具备以下检验条件:①机房空气温度应保持在5~40℃之间,湿度应保持在电梯及检验所允许的范围内;②电网输入电压应正常,电压波动〔包括电梯启制动时〕应在额定电压值±7%的范围内;③环境空气中不应含有腐蚀性和易燃性气体及导电尘埃,特种电梯工作环境中腐蚀性和易燃性气体及导电尘埃不应超过该电梯额定指标;④检验现场〔主要指机房或者机器设备间、井道、轿顶和底坑〕应整洁,没有与电梯工作无关的物品和设备,基站、相关层站等检验现场应放置说明正在进展检验的警示牌;⑤对井道进展了必要的封闭;⑥应有电梯施工单位的2名以上持证专业人员配合检验;⑦特殊情况下,电梯设计文件对温度、湿度、电压、环境空气条件等进展了专门规定的,检验现场的温度、湿度、电压、环境空气条件等应当符合电梯设计文件的规定。
⑧如不符合上述规定检验人员可以中止检验,同时出具?特种设备检验意见通知书?告知使用单位和施工单位。
3〕检验过程中,假如发现以下情况,检验机构应当在现场检验完毕时,向受检单位或及施工单位出具?特种设备检验意见通知书?,提出整改要求:①施工单位的施工过程记录不完好;②电梯存在不合格工程;③要求测试数据工程的检验结果与自检结果存在多处较大偏向,或者其他工程的自检结果与实物状态不一致,质疑相应单位自检才能时;④使用单位存在不符合电梯相关法规、规章、平安技术标准的问题。
电梯年检资料及程序第一篇:电梯年检资料及程序电梯年检所需资料 1.维保合同2.上一年度电梯检验报告;3.单位组织机构代码证复印件4.使用单位电梯人员操作证(司机证及安全管理员证)复印件5.电梯报检申请表使用单位盖章签字并填写使用单位名称、地址、联系人、电话。
6.电梯使用登记证(上面需贴有上一年度检验标志)复印件;(注册过的电梯不带)7.电梯自检报告(检验人员检查时交给他)第二篇:电梯年检资料及程序电梯年检所需资料及程序: 1.上一电梯检验报告;2.电梯使用登记证(上面需贴有上一检验标志)复印件;(如无请到凉山州政务中心3楼质检所窗口办理)。
3.电梯自检报告使用单位盖章签字;4.电梯报检申请表使用单位盖章签字并填写使用单位名称、地址、联系人、电话。
5.使用单位组织机构代码证复印件(如无需提供使用单位法人身份证复印件)。
6.使用单位电梯人员操作证(司机证及安全管理员证)复印件(如无请使用单位安排人员到凉山州特检所4楼找廖姐办理电梯操作证)7.使用单位负责人及安装单位负责人一起办理报检手续,到特检所9楼找徐所长报检,徐所长安装检验人员后交付电梯检验费后才安排检验。
(注:电梯检验费在一楼报检大厅缴纳需带银行卡刷卡缴费,不收现金)8.年检电梯在拿到检验报告时需带上电梯使用登记证原件到凉山州特检所4楼找廖姐在电梯使用登记证原件上贴年检标志。
第三篇:认定资料及程序新认定增值税一般纳税人所需资料1.增值税一般纳税人申请表2.财务负责人和办税人员的身份证明及其复印件;3.会计人员的从业资格证明或者与中介机构签订的代理记账协议及其复印件;4.经营场所产权证明或者租赁协议,或者其他可使用场地证明及其复印件;5.认定增值税一般纳税人申请报告;实地调查内容1、查验《工商营业执照》、《税务登记证》、《企业代码证书》、2、查验企业章程;3、查验企业法人、合伙人(股东)、身份证;4、查验财务会计制度、财务核算方法、会计帐簿的设置情况,财会人员身份证、会计资格证书、电算化证书;5、审查企业建帐及核算情况是否符合一般纳税人建帐及核算要求,实地查验帐帐、帐实是否相符,是否能够正确进销项税额、按期如实申报纳税;6、查验银行开户证明及验资报告;(实物投资需提供合法发票);7、查验银行对帐单及资金往来情况;8、查验生产经营场所、仓库场地来源证明(如:房屋、场地租赁合同、产权证明及租赁发票,工业企业必备的厂房、机器、设备及生产工人);机器、设备购买发票;9、查验有关购、销合同、协议书;10、查验从事货物出口贸易企业的《对外贸易经营者备案登记表》;11、查验其他特许行业相应的经营许可证明;12、查验其他有关资料;工业企业租人机器、设备的需查验:机器、设备租赁合同;租赁机器、设备清单。
电梯施工单位须知国家质检总局以2009年114号公告公布的TSGT7001-2009《电梯监督检验和定期检验规则—曳引与强制驱动电梯》于2010年4月1日起实施,除各电梯检验机构外,各电梯施工单位在进行电梯安装、改造、维修、保养时也必须执行该规则的要求。
根据该规则及TSGT5001-2009《电梯使用管理与维护保养规则》,现将电梯安装、改造、维修、定期检验流程告知如下(仅供参考)。
Ⅰ安装监督检验流程一、安装施工前准备1、安装单位将安装工程按相关规定告知特种设备安全监察机构;2、做好电梯安装施工前的准备工作;安装单位在安装施工前应核查土建图纸并现场检查机房以及其机房通道、机房门、控制柜、紧急操作、维修场所的安全空间、顶层高度、底坑深度、楼层间距、井道内防护、安全距离、安全门设置、井道下方人可以进入的空间等,其设置必须满足相关安全要求,并出具《电梯土建检查合格报告》(附件一)。
如发现土建不符合安装要求,则须土建改建或变更电梯设计直到满足相关安全要求为止;3、安装施工前应携表一中所示1~16项的资料到检验机构申请安装监督检验。
二、施工及自检1、安装单位按图纸及施工方案进行施工;2、安装单位施工过程中必须做好安全防护;3、安装单位相关人员应做好施工过程记录,安装单位专职授权检验人员(以下简称自检人员)对相关项目进行自检并进行记录;4、检验机构监检人员(以下简称监检人员)认为必要时可到现场进行监督检验,安装单位应做好现场配合工作;5、安装完成后由安装单位自检人员进行自检并出具自检报告。
自检报告的检查和试验应项目齐全、内容完整,施工和验收手续齐全,自检报告有合格结论、自检人员签字、安装单位公章或者检验合格章以及竣工日期。
三、现场检验1、申报现场检验时受检单位应向检验机构提供表一所示17~21项资料;2、监检人员进行现场检验时,安装和使用单位应做好现场检验配合工作,如事先准备好砝码等;3、安装人员应随身携带特种设备作业人员证以备查验;四、其它1、检验过程中,如果发现下列情况,监检人员在现场检验结束时,将向受检单位出具《特种设备检验意见通知书》(以下简称《通知书》),提出整改要求;1)安装单位的施工过程记录不完整;2)电梯存在不合格项目;3)要求测试数据项目的检验结果与自检结果存在多处较大偏差,质疑安装单位自检能力时;4)使用单位存在不符合电梯相关法规、规章、安全技术规范的问题。
电梯报装、报检流程办理报装程序:1安装、改造、大修单位在施工前必须到所在地特种设备安全监察机构(安监科)办理告知:1.1.告知书(安装单位盖公章);1.2.特种设备制造许可证(制造单位盖公章);1.3.特种设备安装改造维修许可证(安装单位盖公章);1.4.产品合格证1.5.符合开工条件的证明文件;1.6.施工方案(安装单位盖公章);1.7.委托书(制造单位和安装单位盖公章);1.8.安装合同;1.9.电梯无偿保修保养合同;2.0.操作证复印件(四个) :电梯安全管理证、电梯机械安装维修证、电梯电气安装维修证、电焊证(安装单位公章)2.1特种设备(普查)注册登记表注:报装时,操作证需提供原件,以上资料需提供三份(甲方一份,安监科一份,安装公司一份)。
报装程序:2.1电梯安装调试完成后,向当地特检院申请监督检验;2.2受检单位在电梯安全检验合格有效期届满前一个月申报检验,同时缴纳检验费;2.3检验应提交资料:2.3.1电梯报检申请表;2.3.2电梯资料审查表;2.3.3制造资料:1)制造许可证明文件2)整机型式试验合格证或报告书3)产品质量证明文件4)门锁装置型式试验合格证5)限速器型式试验合格证和调试副本6)安全钳型式试验合格证和渐进式安全钳调试副本7)缓冲器型式试验合格证8)含有电子元件的安全电路型式试验合格证9)上行超速保护装置型式试验合格证10)驱动主机型式试验合格证11)控制柜型式试验合格证12)机房或者机器设备间和井道布置图13)电气原理图,包括动力电路和连接电气安全装置的电路14)安装使用维护说明书,包括安装、使用、日常维护保养和应急救援15)厂检报告2.4.1安装资料:1)安装许可证和告知书2)施工方案3)施工现场作业人员持有的特种设备作业人员证4)施工过程记录和自检报告5)安装质量证明文件2.4.3改造、重大维修资料:1)改造或者重大维修的许可证和告知书2)改造或者重大维修的清单以及施工方案3)更换的安全装置和主要部件的型式试验合格证及相关资料4.施工现场作业人员持有的特种设备作业人员证2.4.4使用资料:1)使用登记资料2)安全技术档案3)电梯运行管理规章制度,包括应急措施、救援预案、电梯钥匙管理4)与取得相应资格单位签订的日常维护保养合同5)电梯安全管理人员和作业人员的特种设备作业人员证2.4.5备注:1)制造资料在安装检验申请时提交,如为复印件则必须经电梯整机制造单位加盖公章或者检验合格章;对于进口电梯,则应当加盖国内代理商的公章。
新梯报装
1.告知表
2.使用单位组织机构代码证或身份证复印件
3.电梯产品合格证原件和复印件
4.聘书(工程师证件复印件)
5.安装维修许可证原件和复印件
6.制造许可证复印件
7.特种设备作业人员证原件和复印件
8.施工方案
9.维保合同(安装、维保合同)
10.安装委托书
新梯报检
1.安装监督检验记录两份
2.申报表
3.告知回执原件和复印件
4.制造许可证复印件
5.整梯型式试验合格证带配置表
6.产品合格证原件和复印件
7.各部件型式试验合格证(曳引机、控制柜、限速器、安全钳、上行超速保护
装置、层门锁/轿门锁、缓冲器)
8.限速器调试证书和复印件
9.渐进式安全钳调试证书和复印件
10.井道图
11.随机资料(电气原理图、安装使用维护说明书、安装调试说明书)
12.安装许可证
13.告知表
14.特种作业人员证复印件
15.施工方案+施工过程记录表
16.安装委托书
17.土建报告
新梯验收
1、安装备忘录
2、交接证明书
3、证明(对讲机需24小时有人)
4、验收检验试验报告单
5、安装质量证明文件
6、作业人员操作证原件
7、目录(电梯日常维护保养记录、应急救援演习记录、电梯钥匙使用管理制度、安全防护措施、电梯运行记录表、电梯运行管理规章制度)
8、维保合同
9、上行超速保护装置试验方法
10、施工过程记录
11、自检报告。
电梯安装、改造、重大维修监督检验报检须知一、报检适用范围本须知适用于在济源市境内安装、改造、重大维修电梯的施工单位。
电梯包括乘客电梯、载货电梯、液压电梯、杂物电梯、自动扶梯和自动人行道。
二、报检分类1、安装监督检验:安装监督检验是指电梯安装过程中,在安装单位自检合格的基础上,由济源市特检分院对安装过程进行的查证性检验。
2、改造监督检验:改造监督检验是指电梯改造过程中,在改造单位自检合格的基础上,由济源市特检分院对改造过程进行的查证性检验。
3、重大维修监督检验:重大维修监督检验是指电梯重大维修过程中,在重大维修单位自检合格的基础上,由济源市特检分院对重大维修过程进行的查证性检验。
三、电梯改造、重大维修、维修、日常维护保养的区别电梯的改造:电梯的重大维修:电梯的维修:电梯的日常维护保养:四、报检时间要求电梯安装、改造或者重大维修施工单位应当在履行告知后、开始施工前(不包括设备开箱、现场勘测等准备工作),向济源市特检分院申请施工监督检验。
五、报检单位安装改造重大维修电梯的施工单位。
六、受理时间要求对于资料齐全能够当场受理的,应当当场受理;不能当场受理的,受理人员应当向报检单位说明不予受理的理由和原因;最迟应在5个工作日内予以受理。
受理后应当向报检单位出具受理回执函。
七、检验时间和报告出具时间要求1、正常情况下,报检受理后10个工作日内,济源市特检分院将与报检单位约定具体检验时间,安排检验人员进行资料审核和现场检验。
特殊情况我所会及时通知报检单位,并说明原因。
2、现场检验完毕后,对于检验人员提出的问题,报检单位应于检验完毕10个工作日(或检验人员限定的整改期限)内将问题整改情况反馈至济源市特检分院。
3、现场检验及对报检单位整改情况确认完成后,或者报检单位在限定的整改期限未将整改情况反馈至我所的,济源市特检分院将在10个工作日内出具检验报告。
八、电梯检验时需携带的资料(注:以下“*”项资料需要准备复印件交我所留存。
电梯检验流程(5篇)第一篇:电梯检验流程电梯检验流程第一检查机房设备:1、检查机房通到是否畅通;2、检查机房门窗,消防设施,固定照明,电流插座是否完好;3、检查控制柜内断相错相保护,电气元件标志,导线端子标号是否完好;4、检查曳引机,制动器工作是否正常;5、检查曳引轮,导向轮防护是否完好;6、检查慢速移动轿厢设备是否完好;7、检查机房设备标志是否完好。
第二检查井通设备:1、检查检修门,井通安全门,话板厅门电气安全装置是否正常;2、检查上下限位开关是否有效;3、检查井通照明是否完好;4、检查各个安全开关是否有效。
第三检查轿厢及对重设备:1、检查照明,检修装置,电流插座是否正常;2、检查安全窗开关是否正常;3、检查各按钮开关是否完好;4、检查轿厢,对重上下磨损件是否完好。
第四检查曳引钢丝绳:1、检查钢丝绳是否磨损;2、检查钢丝绳张力是否均匀;3、检查钢丝绳绳头固定是否完好。
第五检查层站厅门与轿门:1、检查各厅门自动关闭装置是否有效;2、检查防止门夹人保护装置是否有效;3、检查门锁及啮合状况是否有效;4、检查额层门紧急开锁装置是否有效;5、检查呼梯,楼层显示等信号系统是否完好有效。
第六检查底坑设备:1、检查底坑停止开关,插座是否有效;2、检查缓冲器与轿厢,对重撞板距离是否达标;3、检查限速器张紧轮及电器开关是否有效;4、检查底坑各个安全开关是否正常。
第七功能试验:1、电梯满载试验;2、电梯超载试验;3、电梯平层精度是否达标。
第八检查电梯设备文件是否齐全。
第二篇:电梯检验流程无机房曳引式电梯监检流程• 控制柜与紧急操作装置同在顶层层门傍、驱动主机在井道顶、上端站及轿顶是作业场地、液压缓冲器、新安装只检A、B项• 出发前:劳保用品;检验仪器、工具;证件;相关表格准备• 资料审查:安装单位1.2(3~6)(3)施工现场作业人员持有的特种设备作业人员证;(4)施工过程记录和自检报告,检查和试验项目齐全、内容完整,施工和验收手续齐全;(5)变更设计证明文件(如安装中变更设计时),履行了由使用单位提出、经整机制造单位同意的程序;(6)安装质量证明文件,包括电梯安装合同编号、安装单位安装许可证编号、产品出厂编号、主要技术参数等内容,并且有安装单位公章或者检验合格章以及竣工日期。
未直接判定为不合格合格不合格合格复检 不 合 格符合不符合符合不符合填写《特种设备检验/受理单》业务受理 资料齐全施工单位准备监督检验报检所需资料检验部门安排检验人员检验人员审查相关资料进行下道工序施工施工完毕,自检合格施工单位与检验人员确认现场检验时间施工单位提交现场检验前所需资料实施现场检验10个工作日出具检验报告(同时出具电梯使用标志)到达《通知书》 规定的时限;受检单位申请复检不齐全通知相关单位提交资料通知相关单位提交资料 10个工作日出具检验报告根据《中华人民共和国特种设备安全法》,电梯须经监督检验合格后方可投入使用,为方便相关单位,现将电梯监督检验相关事项告知如下:1)电梯施工单位应当在施工前将拟进行的电梯安装、改造、修理情况告知负责特种设备安全监督管理的部门,方可到我院申报监督检验,填写特种设备检验申请/受理单,并提交相关资料(依据相应的电梯检验规程提供资料),资料审查合格后,方可进行施工。
施工单位在前台报检时须提交的资料至少包含以下内容:①电梯制造许可证复印件(盖施工单位公章)②电梯产品合格证复印件(盖施工单位公章)③电梯安装改造维修许可证复印件(盖施工单位公章)④特种设备安装改造维修告知书⑤改造或重大维修施工方案⑥特种设备检验申请/受理单2)现场检验时的条件确认对电梯整机进行检验时,检验现场应当具备以下检验条件:①机房空气温度应保持在5~40℃之间,湿度应保持在电梯及检验所允许的范围内;②电网输入电压应正常,电压波动(包括电梯启制动时)应在额定电压值±7%的范围内;③环境空气中不应含有腐蚀性和易燃性气体及导电尘埃,特种电梯工作环境中腐蚀性和易燃性气体及导电尘埃不应超过该电梯额定指标;④检验现场(主要指机房或者机器设备间、井道、轿顶和底坑)应整洁,没有与电梯工作无关的物品和设备,基站、相关层站等检验现场应放置表明正在进行检验的警示牌;⑤对井道进行了必要的封闭;⑥应有电梯施工单位的2名以上持证专业人员配合检验;⑦特殊情况下,电梯设计文件对温度、湿度、电压、环境空气条件等进行了专门规定的,检验现场的温度、湿度、电压、环境空气条件等应当符合电梯设计文件的规定。
电梯监督检验流程图未直接判定为不合格合不合格合格复 检 不符合不符合符合不符合填写《特种设备检验/受理单》业务受理 施工单位准备监督检验报检所需资料检验部门安排检验人员检验人员审查相关资料进行下道工序施工施工完毕,自检合格施工单位与检验人员确认现场检验时间施工单位提交现场检验前所需资料实施现场检验10个工作日出具检验报告 (同时出具电梯使用标志)到达《通知书》 规定的时限;受不齐全通知相关单位提交资料通知相关单位提交资料10个工作日出具检验报告电梯监督检验检验须知根据《中华人民共和国特种设备安全法》,电梯须经监督检验合格后方可投入使用,为方便相关单位,现将电梯监督检验相关事项告知如下:1)电梯施工单位应当在施工前将拟进行的电梯安装、改造、修理情况告知负责特种设备安全监督管理的部门,方可到我院申报监督检验,填写特种设备检验申请/受理单,并提交相关资料(依据相应的电梯检验规程提供资料),资料审查合格后,方可进行施工。
施工单位在前台报检时须提交的资料至少包含以下内容:①电梯制造许可证复印件(盖施工单位公章)②电梯产品合格证复印件(盖施工单位公章)③电梯安装改造维修许可证复印件(盖施工单位公章)④特种设备安装改造维修告知书⑤改造或重大维修施工方案⑥特种设备检验申请/受理单2)现场检验时的条件确认对电梯整机进行检验时,检验现场应当具备以下检验条件:①机房空气温度应保持在5~40℃之间,湿度应保持在电梯及检验所允许的范围内;②电网输入电压应正常,电压波动(包括电梯启制动时)应在额定电压值±7%的范围内;③环境空气中不应含有腐蚀性和易燃性气体及导电尘埃,特种电梯工作环境中腐蚀性和易燃性气体及导电尘埃不应超过该电梯额定指标;④检验现场(主要指机房或者机器设备间、井道、轿顶和底坑)应整洁,没有与电梯工作无关的物品和设备,基站、相关层站等检验现场应放置表明正在进行检验的警示牌;⑤对井道进行了必要的封闭;⑥应有电梯施工单位的2名以上持证专业人员配合检验;⑦特殊情况下,电梯设计文件对温度、湿度、电压、环境空气条件等进行了专门规定的,检验现场的温度、湿度、电压、环境空气条件等应当符合电梯设计文件的规定。
电梯检验报检流程一、电梯定期检验报检流程图
二、安装监督检验流程图
三、部分问题解答
1、到期未检电梯的处理方式
(1)对于超过检验期限三个月以内未检的电梯用户,要写出书面申请,经有关检验科室负责人和业务发展部负责人签字后方可受理报检。
(2)对于超过检验期限三个月以上未检的电梯用户,先到市局特设处或各分局处理后,凭处理单来我院报检,并经有关检验科室负责人和业务发展部负责人签字后方可受理报检。
(3)超过两个月需加收相应检验费。
2、检验报告丢失补办方式
(1)在报社刊登遗失广告,广告内容中要写明设备注册代码和报告编号。
(2)补办检验报告书面申请,在申请单上加盖使用单位和维保单位公章,经检验人员、科室负责人、业务发展部负责人、科研技术部负责人、院长签字后方可补办。
附表:
1、电梯定期检验申请单
2、电梯监督检验申请单
3、电梯安装施工前资料确认单
4、电梯施工前井道勘查记录(垂直电梯、自动扶梯)
5、电梯隐蔽工程记录
6、钢结构井道质量验收证明
7、限速器校验协议
3
新安装电梯施工前资料审查确认单
新疆维吾尔自治区特种设备检验检验研究院:
我单位负责安装的__________________________________________项目______台电梯准备进场施工,现将相关技术资料(具体目录见下表)提交给贵院,请予以审查。
电梯产品出厂编号:
2.序号1至8的文件如为复印件应加盖整机制造单位的公章或者检验合格章;对于进口电梯,应加盖国内代理商的公章。
序号9至13的文件如为复印件应加盖安装单位的公章或者检验合格章。
电梯施工前现场勘测记录
注:检测结果及结论栏中,打“√”、“╳”、和“/”分别表示“合格”、“不合格”和“无此项”
电梯钢结构井道安装质量证明文件。