数电常用逻辑电路和芯片合集
- 格式:docx
- 大小:43.84 MB
- 文档页数:49
数电基本逻辑电路数电基本逻辑电路是数字电子技术的基础,广泛应用于计算机、通信、控制等领域。
通过组合不同的逻辑门,可以实现各种数字逻辑功能。
本文将介绍几种常见的基本逻辑电路,包括与门、或门、非门、异或门和与非门,希望能够对读者理解数电基础知识起到指导作用。
首先,我们来介绍与门。
与门是最基本的逻辑门之一,它有两个或多个输入信号和一个输出信号。
只有当所有的输入信号都为高电平时,输出信号才为高电平;否则,输出信号为低电平。
与门的逻辑符号为“∧”,逻辑公式为Y=A∧B(其中Y为输出信号,A和B为输入信号)。
接下来是或门。
或门也是常用的逻辑门,它也有两个或多个输入信号和一个输出信号。
只要有任何一个输入信号为高电平,输出信号就为高电平;只有所有输入信号都为低电平时,输出信号才为低电平。
或门的逻辑符号为“∨”,逻辑公式为Y=A∨B。
再来是非门。
非门只有一个输入信号和一个输出信号,它将输入信号取反作为输出信号。
当输入信号为高电平时,输出信号为低电平;当输入信号为低电平时,输出信号为高电平。
非门的逻辑符号为“¬”,逻辑公式为Y=¬A。
异或门是一种常用的逻辑门,它有两个输入信号和一个输出信号。
当输入信号相同时,输出信号为低电平;当输入信号不同时,输出信号为高电平。
异或门的逻辑符号为“⊕”,逻辑公式为Y=A⊕B。
最后是与非门。
与非门是一种特殊的逻辑门,它先进行与运算,然后再进行非运算。
它有两个输入信号和一个输出信号。
当两个输入信号都为高电平时,输出信号为低电平;否则,输出信号为高电平。
与非门的逻辑符号为“⇥”,逻辑公式为Y=(A⋅B)⇥。
以上是数电基本逻辑电路的介绍。
通过组合不同的逻辑门,我们能够实现各种数字逻辑功能,如加法器、减法器、译码器、编码器等。
这些逻辑电路对于计算机的运算和控制起着重要的作用。
在应用中,我们可以通过电路设计软件进行逻辑电路的模拟和验证。
同时,我们还可以根据逻辑功能的需求选择适当的逻辑门进行组合,实现所需的数字逻辑功能。
IC集成电路型号大全及40系列芯片功能大全IC(集成电路)是一种在单一半导体晶圆上集成了数百至数百万个电子元件的微电子元器件。
IC可以实现丰富的功能,从简单的逻辑门到复杂的微处理器,从模拟电路到数字电路等等。
40系列芯片是一种常见的数字逻辑芯片系列,由于功能完善且易于使用而广泛应用。
1.74系列芯片:74系列芯片是最为常见的逻辑芯片,包括多种逻辑门和触发器等基本逻辑功能。
2.555定时器芯片:555芯片是一种通用的定时器,可以提供稳定的时钟信号和可编程的时间延时。
3.741运算放大器芯片:741芯片是一种常见的运算放大器,用于放大模拟信号。
4.4017计数器芯片:4017芯片是一种十进制分频计数器,可用于频率分频、频率测量和计数等应用。
5.4011门芯片:4011芯片是一种四输入门,常用于数字逻辑电路的组合逻辑设计。
6.4511数码管驱动芯片:4511芯片用于驱动共阳极的七段数码管,可在数字显示电路中用来显示数字。
7.4026计数器/分频器芯片:4026芯片是一种十进制计数器和分频器,常用于数字计数和频率分频应用。
8.4093门芯片:4093芯片是一种四反相器门芯片,可用于数字逻辑电路的时钟触发器设计。
9.4051模拟多路复用器芯片:4051芯片是一种模拟信号多路复用器,用于选择多个模拟信号通道中的其中一个。
10.4066开关芯片:4066芯片是一种模拟信号开关,可用于开关模拟信号通路。
11.4029计数器芯片:4029芯片是一种二进制计数器,可用于数字计数和频率测量等应用。
12.4049缓冲器芯片:4049芯片是一种六非门缓冲器,可用于信号放大和驱动等应用。
13.4081门芯片:4081芯片是一种四与门,常用于数字逻辑电路的与门设计。
14.4013触发器芯片:4013芯片是一种D触发器,可用于数字逻辑电路的时钟触发器设计。
15.4050缓冲器/级联器芯片:4050芯片可用于缓冲模拟信号的传输和级联数字逻辑电路。
第一节基本逻辑门电路门电路的概念:实现基本和常用逻辑运算的电子电路,叫逻辑门电路。
实现与运算的叫与门,实现或运 实现非运算的叫非门,也叫做反相器,等等(用逻辑 1表示高电平;用逻辑 0表即只有当输入端 A 和B 均为1时,输出端 丫才为1,不然丫为0.与门的常用芯片型号 有:74LS08,74LS09等.11.3 或门:VD]VD,(b)即当输入端A 和B 有一个为1时,输出端丫即为1,所以输入端A 和B 均为0时,丫才会为O.或门 的常用芯片型号有:74LS32等. _ 11.4 .非门 逻辑表达式一F=T算的叫或门, 示低电平)11.2 逻辑表达式与门:F = A B(b)(c)F = A+ B逻辑表达式A —— A 1——F1_LA——b—F&B——1时,输出端丫才为0,不然丫为1.与非门的常用芯片型号等.即只要输入端A和B中有一个为1.或非门常见的芯片型号有:74LS02等.11.7 .同或门:逻辑表达式F=A B+A B=1 F11.8.异或门:逻辑表达式F=A B+A B=1即输出端总是与输入端相反.非门的常用芯片型号有:74LS04,74LS05,74LS06,74LS14 等.11.5 .与非门逻辑表达式F=ABB均为即只有当所有输入端有:74LS00,74LS03,74S31,74LS13211.6 .或非门: 逻辑表达式F=A+BA”1时,输出端丫即为0.所以输入端A和B均为0时,丫才会为B -------11.9.与或非门:逻辑表逻辑表达式F=AB+CD11.10.RS 触发器:电路结构把两个与非门G1、G2的输入、输出端交叉连接,即可构成基本RS触发器,其逻辑电路如图721.(a)所示。
它有两个输入端R、S和两个输出端Q Q —图7.2.1两与非门组成的基本RS触发器工作原理:Q-SQ基本RS触发器的逻辑方程为:沪根据上述两个式子得到它的四种输入与输出的关系1.当R=1、S=0时,贝U Q=0,Q=1,触发器置1。
常用IC集成电路芯片器件速查大全通用数字电路 11.1 通用数字电路简介 11.2 74系列数字电路引脚及主要特性 17400/74H00/74S00/74L00/74LS00/74HC00/ 74C00/74F00/74ALS00 四2输入与非门 1 7401/74H01/74LS01/74HC01/74ALS01 四2输入与非门(OC) 27402/74L02/74S02/74LS02/74HC02/74ALS02/ 74C02/74F02 四2输入或非门 27403/74L03/74S03/74LS03/74HC03/74ALS03 四2输入与非门(OC) 27404/74L04/74S04/74H04/74LS04/74HC04/ 74C04/74F04/74ALS04 六反相器 37405/74S05/74H05/74LS05/74HC05/74F05/ 74ALS05 六反相器(OC) 37406/74LS06 六反相器缓冲器、驱动器(OC、输出) 37407/74LS07/74HC07 六高压输出缓冲器、驱动器(OC) 47408/74LS08/74HC08/74F08/74S08/74ALS08/ 74C08 四2输入与门 47409/74LS09/74HC09/74F09/74S09/74ALS09/ 74C09 四2输入与门(OC) 47410/74L10/74LS10/74HC10/74F10/74S10/ 74C10/74H10 三3输入与非门 574H11/74LS11/74HC11/74F11/74S11/74ALS11 三3输入与门 57412/74LS12/74ALS12 三3输入与非门(OC) 57413/74LS13 双4输入与非门(施密特触发) 6 7414/74LS14/74HC14/74C14 六反相器(施密特触发) 674H15/74LS15/74S15/74ALS15 三3输入与门(OC) 67416/74LS16 六高压反相输出缓冲器、驱动器(OC) 77417/74LS17 六高压输出缓冲器、驱动器(OC) 774LS18 双4输入与非门(施密特触发) 774LS19 六反相器(施密特触发) 87420/74H20/74L20/74F20/74ALS20/74LS20/ 74S20/74HC20/74C20 双4输入与非门 874H21/74F21/74ALS21/74LS21/74HC21双4输入与门 87422/74H22/74ALS22/74LS22/74S22/74HC22 双4输入与非门(OC) 97423 可扩展双4输入或非门(带选通端G) 974LS24 四2输入与非门(施密特触发) 97425 双4输入或非门(带选通端G) 107426/74LS26 四2输入与非缓冲器(OC、高压输出) 107427/74LS27/74F27/74HC27/74ALS27三3输入或非门 107428/74LS28/74ALS28 四2输入或非缓冲器 11 7430/74LS30/74L30/74H30/74HC30/74ALS30/ 74S30/74C30 8输入与非门 1174LS31 延时电路 117432/74LS32/74ALS32/74S32/74HC32/74C32/ 74F32 四2输入或门 127433/74LS33/74ALS33 四2输入或非缓冲器(OC) 1274HC34/74ALS34 六缓冲器 1274HC36/74F367402/74L02/74S02/74LS02/74HC02/74A 四2输入或非门 137437/74LS37/74F37/74ALS37/74S37 四2输入与非缓冲器 137438/74LS38/74F38/74ALS38/74S38 四2输入与非缓冲器(OC) 137440/74LS40/74H40/74F40/74S40/74ALS40双4输入与非门缓冲器 147442A/74LS42/74L42/74HC42/74C42 BCD——十进制译码器 147443A/74L43 余3码——十进制译码器 14 7444A/74L44 余3格雷码——十进制译码器 15 7445 BCD——十进制译码器/驱动器 157446A/A74L46/74LS47/7447 BCD——七段译码器/驱动器(OC) 1574251/74HC251/74LS251/74F251/74ALS251/ 74S251 8选1数据选择器(三态、原、反码输出) 1674HC253/74LS253/74ALS253/74F253/74S253 双4选1数据选择器(三态) 1774LS256/74F256 双4位可寻址锁存器 1774HC257/74LS257A/74ALS257/74F257/74S257 四2选1数据选择器(三态) 1874HC258/74LS258A/74ALS258/74F258/74S258 四2选1数据选择器(三态、反相) 1874259/74LS259/74F259/74HC259/74ALS259 8位可寻址锁存器 1974LS260/74S260/74F260 双5输入或非门 19 74LS261 2×4位并行二进制乘法器(锁存器输出、可扩展) 1974265 四互补输出单元 2074LS266/74HC266 四2输入异或非门(OC) 20 74273/74LS273/74HC273/74S273/74ALS273/ 74F273 八D型触发器(带清除端) 2074S274 4×位并行二进制乘法器(三态) 2174S275/74LS275 7位片式华莱士树乘法器(三态) 2174276 四J-K触发器 2174278 4位可级联优先寄存器(输出可控) 22 74279 4位可级联优先寄存器(输出可控) 2274LS280/74S280/74F280/74ALS280/74HC280 9位奇偶数产生器/校验器 2374S281 4位并行二进制累加器 2374283/74LS283/74S283/74F283/74HC283 4位二进制全加器(带超前进位) 2474284 4×4位并行二进制乘法器(产生高位积) 2474285 4×4位并行二进制乘法器(产生低位积) 2474AS286 9位奇偶数产生器/校验器(带总线驱动、奇偶I/O接口) 2574290/74LS290 十进制计数器 2574HC292/74LS292 可编程分频器/数字定时器(最大231) 2674293/74LS293 4位二进制计数器 2674HC294/74LS294 可编程分频器/数字定时器(最大215) 2774LS295B 4位双向通用移位寄存器(三态) 2774HC297/74LS297 数字锁相环 2874298/74HC298/74LS298/74F298 四2输入多路转换器(带存储) 2874LS299/74F299/74S299/74ALS299/74HC299 8位双向通用移位/存储寄存器 2974LS320 晶体控制振荡器 2974LS321 晶体控制振荡器 3074LS322/74F322 带符号扩展的8位移位寄存器 3074LS323/74F323/74S323/74ALS323/74HC323 8位双向移位/存储寄存器 3174LS324 压控振荡器(双相输出、允许控制) 3174LS325 双压控振荡器(双相输出) 3274LS326 双压控振荡器(双相输出、允许控制) 3274LS327 双压控振荡器(单相输出) 3274S344 八缓冲器/线驱动器(三态、正相输出) 3274LS347 BCD-七段译码器/驱动器(OC) 3374LS348 8-3线优先编码器(三态) 3374F350/74S350 4位移位器(三态) 3374351 双8选1数据选择器(三态) 3374LS352/74F352/74ALS352/74HC352 双4选1 数据选择器(反相输出) 3474LS353/74F353/74ALS353/74HC353 双4选1 数据选择器(三态、反相) 3474LS354/74LS355/74356 8选1数据选择器(三态、带地址锁存) 3574LS362 4相时钟发生器/驱动器 3674LS363 八D型透明锁存器/边沿触发器(三态) 3674LS364 八D型透明锁存器/边沿触发器(三态、公共时钟、公共控制) 3674365A/366A/74LS365A/366A/74F365/ 366/74HC365/366 六缓冲器/总线驱动器(三态) 3674367A/368A/74LS367A/368A/74F367/ 368/74HC367/368 六缓冲器/总线驱动器(三态) 3774LS373/74ALS373/74HCT373/74HC373/ 74S373/74F373/74C373 八D型锁存器(三态) 3774LS374/74ALS374/74HCT374/74HC374/ 74S374/74F374/74C374 八D型锁存器(三态) 3774LS375/74HC375 4位双稳态D型锁存器 38 74376 4 触发器 3874LS377/74HC377/74S377/74F377 八D型锁存器(三态) 3874LS378/74HC378/74S378/74F378 六D型触发器 3974LS379/74HC379/74S379/74F379 四D型锁存器(互补输出、公共允许、公共时钟) 3974LS381/382/74F381/382/74S381 4位算术逻辑单元/函数发生器 3974LS384/74F384/74HC384 8位×1位补码乘法器 4074LS385/74F385 四串行加法器/减法器 40 74LS386/74HC386 四2输入异或门 4174LS388/74S388 四D触发器 4174390/74LS390/74HC390 双4位十进制计数器 4174393/74LS393/74HC393 双4位二进制计数器(异步清除) 4274LS395A/74F395 4位可级联移位寄存器(三态) 4274LS396 8位存储寄存器 4374LS398/74F398/74S398 四2输入多路转换器(双路输出) 4374LS399/74F399/74S399 四2输入多路转换器(单路输出) 4374S412/74F412 多模式8位缓冲锁存器(三态) 4474LS422 可再触发单稳多谐振荡器(带清除) 4474LS423/74HC423 双可重触发单稳态多谐振荡器(带清除端) 4574425 四总线缓冲器(三态、低允许) 45 74426 四总线缓冲器(三态、高允许) 4574S428/74S438 系统控制器和总线驱动器 45 74S436/437 线驱动器/存储驱动器-MOS存储器接口电路 4674LS440/441/442/443/444/448/74HC442/ 443/444 四总线收发器 4674LS445 BCD-十进制译码器/驱动器(OC) 4774LS447 BCD-七段译码器/驱动器(OC) 4774LS449 四总线发送器(三态) 4774LS465/466/468/74ALS465/466/467/468八总线缓冲器(三态) 4774490/74LS490/74HC490 双4位十进制计数器 4874502/503/74LS502/503 8位逐次逼近寄存器 48 74ALS518/520/521 8位逐次逼近寄存器 4974ALS526/527/528 熔断式可编程恒等比较器 49 74LS533/74HC533/74S533/74ALS533/74F533 八D型触发器(三态、反相) 4974LS534/74HC534/74S534/74ALS534/74F534 八D型触发器(三态、反相) 4974LS540/541/74F540/541/74ALS540/541/74HC540/541 八缓冲器/总线驱动器(三态) 5074LS563/74HC563/74S563/74ALS563/74F563 八D型触发器(三态、反相) 5074LS564/74HC564/74S564/74ALS564/74F564 八D型触发器(三态、反相) 5074LS568/569/74ALS568/569/74F568/569可预置同步可逆计数器(三态) 5074LS573/74ALS573/74HCT573/74HC573/74F573 八D型锁存器(三态) 5174LS574/74ALS574/74HCT574/74HC574/74F574 八D型锁存器(三态) 5174LS575/74ALS575 八D型上升沿触发器(三态) 5174LS576/74ALS576 八D型上升沿触发器(三态、反相) 5274LS577/74ALS577 八D型上升沿触发器(三态、反相、有清除) 5274LS580/74ALS580 八D型锁存器(三态、反相) 5274F588 八双向收发器(三态) 5274HC589 8位输入锁存串行输出移位寄存器(三态) 5274HC590A 8位二进制计数器 5274HC594 8位移位寄存器(带输出锁存) 5374HC595/74LS595 8位移位寄存器(带输出锁存) 5374HC596/74LS596 8位移位寄存器(带输出锁存) 5374HC597 8位输入锁存串行输出移位寄存器(三态) 5474LS620/621/622/623/74HC620/621/622/623/74F620/621/622/623/74ALS620/621/622/623 八双向收发器 5474LS624/625/626/627/628/629 压控振荡器 54 74LS638~645/74ALS638~645/74HC640~645八双向收发器 5574LS646/647/648/649/74ALS646/647/648/649 八双向收发器 5674LS651/652/653/654/74HC651/652/74ALS651/ 652/653/654 总线收发器/寄存器 5674LS668/669/74HC668/669 同步加/减计数器 56 74HC670/74LS670 4×4寄存器阵(三态) 5774LS673/74F673/74HC673 16位串行输入/输出移位寄存器 5774LS674/74F674/74HC674 16位并入串出移位寄存器 5774LS682~689/74ALS682~689/74HC682~688 双8位数值比较器 5874LS690~693/74HC690~693 可预置同步计数器/寄存器 5874LS696~699/74HC696~699 可逆计数器 59 74AS756/757/760/762/763 可逆计数器 59 74LS795/796/797/798 八总线缓冲器(三态) 59 74ALS804A 六2输入与非驱动器 5974ALS805A 六2输入与非驱动器 6074HC808 六2输入与门驱动器 6074AS821 10位总线接口触发器(三态、D型) 6074AS823/74F823 9位总线接口触发器 6174F827/828 10位总线缓冲器/线驱动器(三态) 6174ALS832 六2输入或驱动器 6174ALS857 六2选1通用多路转换器(三态) 6274ALS867/869 8位同步加/减计数器 6274ALS1000A 四2输入与非缓冲器/驱动器 62 74ALS1004 6输入缓冲器/驱动器 6374ALS1032A 四2输入或缓冲器 631.3 4000系列数字电路引脚及主要特性 63 4000 双3输入或非门加1反相器 634001 四2输入或非门 644002 四2输入或非门 644006 18位静态移位寄存器 644007 双互补对和反相器 654008 4位二进制超前进位全加器 654009/4010 六缓冲器/电平变换器 654011 四2输入与非门 664012 四4输入与非门 664013 双D型触发器(带预置、清除端) 66 4014 8位静态移位寄存器 674015/74HC4015 双4位静态移位寄存器 67 4016/74HC4016 四双向模拟开关 674017/74HC4017 十进制计数/分频器 68 4018 可预置I/N计数器 684019 4与/或选择器 694020/74HC4020 14位二进制串行计数器 69 4021 8位静态移位寄存器 694022 八进制计数/分频器 694023 三3输入与非门 704024/74HC4024 7位二进制串行计数器 70 4025 三3输入或非门 714026 十进制计数器/七段译码器 714027 双J-K主从触发器(带置位、复位端) 71 4028 BCD-十进制译码器 724029 4位可预置二进制/十进制可逆计数器 72 4030 四异或门 724031 64位静态移位寄存器 734032 三串行加法器(同相) 734033 十进制计数/七段译码器 734034 8位双向串并行静态总线寄存器 74 4035 4位并入/并出移位寄存器 754038 三串行加法器(反相) 754040/74HC4040 12位二进制串行计数器 75 4041 四同相/反相缓冲器 754042 四D型锁存器 764043 四或非R-S锁存器 764044 四与非R-S锁存器(三态) 764045 COMS 21位计数器 774046/74HC4046 锁相环 774047 单稳态/无稳态多谐振荡器 774048 8输入多功能门(三态、可扩展) 78 4049/4050 六缓冲器/电平变换器 794051/74HC4051 单8通道模拟开关 79 4052/74HC4052 双4通道模拟开关 80 4053/74HC4053 三2通道模拟开关 80 4054 四段液晶显示驱动器 804055 BCD—七段译码器/液晶显示驱动器 81 4056 BCD—七段译码器/液晶显示驱动器 81 4059 1/N计数器 824060/74HC4060 14位二进制串行计数器 82 4063 4位数值比较器 834066/74HC4066 四双向模拟开关 834067 单16通道模拟开关 844068 8输入与非/与门 844069 六反相器 844070 四异或门 854071 四2输入或门 854072 双4输入或门 854073 三3输入与门 854075/74HC4075 三3输入或门 864076 四D型寄存器(三态) 864077 四异或非门 864078/74HC4078 8输入或非/或门 87 4081 四2输入与门 874082 双4输入与门 874085 双2路2输入与或非门 874086 可扩展四2输入与或非门 884089 二进制系数乘法器 884093 四2输入与非施密特触发器 894094 8位移位存贮总线寄存器 894095 3输入J-K触发器(带置位、复位端) 90 4096 3输入J-K触发器(带置位、复位端) 90 4097 双8通道模拟开关 914098 单稳态多谐振荡器 914099 8位可寻址锁存器 9140100 32位静态双向移位寄存器 9240101 9位奇偶发生器/校验器 9240102/40103 8位可预置减法计数器 9340104 4位通用双向移位寄存器 9340105 先进先出寄存器(三态) 9440106 六施密特触发器(反相) 9440107 双2输入与非缓冲器/驱动器(三态) 94 40108 4×4多路寄存器(三态) 9440109 四低到高电平变换器 9540110 十进制可逆计数器/七段译码器/锁存器/驱动器 9640147 10线4线BCD优先编码器 9640160/40161/40162/40163 4位可编程计数器 96 40174 六D型触发器 9740175 四D型触发器 9740181 4位算术逻辑单元 9840182 超前进位发生器 9840192/40193 可预置可逆计数器 9840194 4位双向通用移位寄存器 994502 六反相器/缓冲器 994503 六缓冲器 994504 六电平变换器 1004505 64×1位随机读写存储器 1004508 双4位锁存器 1004510 可预置BCD可逆计数器 1014511 BCD—七段锁存/译码/驱动器 1014512 8选1数据选择器(三态) 1024514/74HC4514/4515 4位锁存/4线-16线译码器 1024516 可预置二进制可逆计数器 1034517 双64位静态移位寄存器 1034518 双BCD同步加计数器 1034519 四2输入多路转换器 1044520 双4位二进制同步加计数器 1044521 24级分频器 1044522/4526 可预置同步1/N减计数器 1044527 BCD系数乘法器 1054528 双可再触发单稳态触发器(带清除端) 1064529 双4通道/单8通道模拟数据开关 106 4532 8位优先编码器 1064536 可编程定时器 1074538 双精密可再触发单稳态触发器 1084541 可编程定时器 1084543/74HC4543 BCD-锁存/七段译码/驱动器 109 4555 双二进制4选1译码器/分配器(输出为高电平) 1104556 双二进制4选1译码器/分配器(输出为低电平) 1104557 1~64位可变长度移位寄存器 1104560 BCD加法器 1114566 工业时基发生器 1114572 四反相/2输入或非门/2输入与非门 111 4581 4位运算逻辑单元 1124585 4位数值比较器 112SN74CB3Q16244 16位FET总线开关 112 SN74AVC20T245 20位双电源总线收发器 113 SN74AUP1G02 低功率单2输入或非门 113 SN74LV8153 串行-并行接口 114SN74LVC1G29 2-3译码器/多路选择器 114 SN74LVC1G34 单缓冲门 114SN74LVC1G373 单D触发器(OC) 115SN74AUC1G74 单正沿触发D触发器 115 SN74LVC1T45 双电源总线收发器 115SN74CB3T3383 10位FET总线开关 115SN74CBT16212C 24位FET总线开关 116小结 116第2章 A/D、D/A转换器 1182.1 A/D、D/A转换器简介 1182.2 A/D、D/A转换器性能指标 1182.3 A/D、D/A转换器分类 1182.4 A/D、D/A转换器引脚及主要特性 118 AD1139 高精度18位D/A转换器 118AD1671 12位A/D转换器 118AD1674 12位A/D转换器 119AD3860 12位D/A转换器 119AD558 8位D/A转换器 119AD5582/5583 四并行输入、电压输出12/10位D/A转换器 120AD561 10位D/A转换器 120AD565 12位D/A转换器 120AD565A/AD566A 高速12位D/A转换器 120 AD567 微处理器兼容12位D/A转换器 121 AD570 8位A/D转换器 121AD571 10位A/D转换器 121AD572 12位逐次逼近A/D转换器 121AD578/579 快速10/12位A/D转换器 122 AD6012 12位D/A转换器 122AD664 四12位D/A转换器 122AD667 微处理器兼容12位D/A转换器 123 AD668 12位高速D/A转换器 123AD669 16位高速D/A转换器 123AD670 8位信号调节A/D转换器 124AD671 单片12位2MHz A/D转换器 124AD673 8位A/D转换器 124AD678 12位A/D转换器 124AD679 14位A/D转换器 125AD7111/AD7111A LC2MOS对数特性D/A转换器 125AD7112 双对数特性D/A转换器 125AD7225 四路8位D/A转换器 125AD7226 LC2MOS四路8位D/A转换器 126 AD7228A LC2MOS八路8位D/A转换器 126 AD7233 LC2MOS迷你型12位D/A转换器 126 AD7242/7244 LC2MOS双12位/14位串行D/A转换器 126AD7243 LC2MOS12位串行D/A转换器 126 AD7245/7248 LC2MOS12位D/A转换器 127 AD7249 LC2MOS双12位串行D/A转换器 127 AD7302 2.7V~5.5V并行输入,双电压输出8位D/A转换器 127AD7303 2.7V~5.5V串行输入,双电压输出8位D/A转换器 127AD7392/AD7393 并行输入10位/12位D/A转换器 128AD7394/AD7395 双串行输入10位/12位D/A转换器 128AD7396/AD7397 双串行输入10位/12位D/A转换器 128AD7398/AD7399 四串行输入10位/12位D/A转换器 129AD7453 12位A/D转换器 129AD7520 10位D/A转换器 129AD7521 12位D/A转换器 129AD7523 8位D/A转换器 130AD7524 CMOS 8位D/A转换器 130AD7527 10位D/A转换器 130AD7528 双8位D/A转换器 130AD7531 12位D/A转换器 131AD7533 10位乘法型D/A转换器 131AD7534 LC2MOS 14位D/A转换器 131AD7535 LC2MOS 14位D/A转换器 131AD7536 LC2MOS 14位D/A转换器 131AD7537 双12位D/A转换器 132AD7538 LC2MOS 14位D/A转换器 132AD7541 12位乘法型D/A转换器 132AD7542 CMOS 12位D/A转换器 133AD7543 CMOS串行输入12位D/A转换器 133 AD7545 CMOS 12位D/A转换器 133AD7546 16位D/A转换器 133AD7547 LC2MOS 双12位D/A转换器 134 AD7548 LC2MOS 12位D/A转换器 134 AD7549 LC2MOS 双12位D/A转换器 134 AD7555 5 1/2位A/D转换器 134AD7564 LC2MOS四12位D/A转换器 135 AD7571 10位A/D转换器 135AD7572A 高速12位A/D转换器 135AD7574 高速12位A/D转换器 136AD7575 8位A/D转换器 136AD7576 8位A/D转换器 136AD7578 12位逐次逼近型A/D转换器 136 AD7579/AD7580 10位抽样A/D转换器 137 AD7581 8位通道A/D转换器 137AD7582 12位逐次逼近型A/D转换器 137 AD766 16位数字信号处理D/A转换器 138 AD767 12位D/A转换器 138AD768 16位D/A转换器 138AD7703 20位单片串行A/D转换器 138AD7712 信号调节A/D转换器 138AD7714 信号调节A/D转换器 139AD7801 并行输入,电压输出8位D/A转换器 139AD7820 8位A/D转换器 139AD7822/AD7825/AD7829 8位抽样A/D转换器 139AD7823 8位A/D转换器 140AD7824/AD7828 高速4&8通道8位A/D转换器 140AD7834/AD7835 四12位D/A转换器 140 AD7837 双12位D/A转换器 140AD7845 12位乘法型D/A转换器 141AD9000 高速6位A/D转换器 141AD9042 12位单片A/D转换器 141AD9050 10位A/D转换器 141AD9071BR 10位A/D转换器 142AD9700 8位视频D/A转换器 142AD9708 8位D/A转换器 142AD9731 10位D/A转换器 143AD9760 10位D/A转换器 143AD9762 12位D/A转换器 143ADC0802/0803/0804/0805 8位A/D转换器 143 ADC0808 8位8通道A/D转换器 144ADC08034 8位高速串行I/O A/D转换器 144 ADC0811 8位A/D转换器 144ADC0816/0817 8位16输入A/D转换器 144 ADC0820 8位高速A/D转换器 145ADC0831/0832/0834/0838 8位串行I/O A/D转换器 145ADC0841 8位A/D转换器 146ADC0844/0848 8位A/D转换器 146ADC1001 8位A/D转换器 146ADC1005 10位A/D转换器 147ADC10154/10158 10位带符号A/D转换器 147 ADC10461/10462/10464 10位A/D转换器 147 ADC10HT 12位A/D转换器 148ADC1210/1211 12位CMOS A/D转换器 148 ADC1225 12位A/D转换器 149ADC207 7位A/D转换器 149ADC300 8位A/D转换器 149ADC5101 8位A/D转换器 149ADC574A 12位A/D转换器 149ADC674A A/D转换器 150ADC700 16位A/D转换器 150ADC71 16位A/D转换器 150ADC7109 12位A/D转换器 150ADC76 16位A/D转换器 151ADC78H89 7通道12位A/D转换器 151 ADC78H90 8通道12位A/D转换器 151 ADC80-10 10位A/D转换器 151AD ADC80 12位逐次逼近型A/D转换器 152 AD ADC84/AD ADC85/AD5240 12位A/D转换器 152ADC804 12位A/D转换器 152ADC810 12位高速A/D转换器 153ADC815 8位高速A/D转换器 153ADC85-10 10位A/D转换器 153ADC85-12 12位A/D转换器 153ADC856 10位A/D转换器 154ADC85C10 10位A/D转换器 154ADC87 12位A/D转换器 154ADC-EH10B 10位A/D转换器 154ADC-EH12B1/B2 12位A/D转换器 155 ADC-EH12B3 12位高速A/D转换器 155 ADC-EH8B 8位A/D转换器 155ADC-EK系列 12位A/D转换器 155ADC-HX(HZ) 12位A/D转换器 156 ADDAC71 16位A/D转换器 156ADDAC80 16位D/A转换器 156AM6108 8位D/A转换器 156AM6148 8位D/A转换器 157AM6856 6位D/A转换器 157CA3300D 6位A/D转换器 157CA3304/3304A 4位A/D转换器 157CA3306/3306A/3306C 6位A/D转换器 157 CA3310/3310A 10位A/D转换器 158CA3318 8位A/D转换器 158CA3338/3338A 8位A/D转换器 158CX20201A-1/-2/-3、CX20202A-1/-2/-310/9/8位D/A转换器 158CXA1016P 8位A/D转换器 159CXA1096P 8位A/D转换器 159DAC08 8位D/A转换器 159DAC1006/1007/1008 10/9/8位D/A转换器 159 DAC10 10位高速D/A转换器 160DAC10HT 12位D/A转换器 160DAC1200 12位D/A转换器 160DAC1208 12位D/A转换器 160DAC1220 20位D/A转换器 161DAC1221 16位D/A转换器 161DAC1230 12位D/A转换器 161DAC1280 12位D/A转换器 161DAC1280-1 12位D/A转换器 161DAC1285 12位D/A转换器 162DAC312 12位高速乘法型D/A转换器 162 DAC56 16位D/A转换器 162DAC562 高性能12位D/A转换器 162DAC608/610/612 D/A转换器 163DAC700 16位D/A转换器 163DAC701/702/703 16位D/A转换器 163DAC707 16位D/A转换器 164DAC712 16位D/A转换器 164DAC714 16位D/A转换器 165DAC715 16位D/A转换器 165DAC716 16位D/A转换器 165DAC725 双16位D/A转换器 165DAC7541A CMOS 12位D/A转换器 165 DAC7545 CMOS 12位D/A转换器 166 DAC7611 12位D/A转换器 166DAC7613 12位电压输出D/A转换器 166 DAC7621 12位并行输入D/A转换器 166 DAC7631 16位D/A转换器 166DAC7644 12位并行输入D/A转换器 167 DAC7714 四12位D/A转换器 167DAC7715 四12位D/A转换器 167DAC7724/7725 12位D/A转换器 167 DAC7731 四12位D/A转换器 168DAC7734 16位D/A转换器 168DAC800(Ⅰ) 12位D/A转换器 168DAC800(Ⅴ) 16位D/A转换器 169DAC812 12位D/A转换器 169DAC813 12位D/A转换器 169DAC82 5位D/A转换器 169DAC8221 双12位CMOS D/A转换器 170 DAC8222 双12位CMOS D/A转换器 170 DAC8228 双8位CMOS D/A转换器 170 DAC8229 双8位CMOS D/A转换器 170 DAC8248 双12位(8位字节)D/A转换器 170 DAC8308 8位视频D/A转换器 171DAC8408 四8位D/A转换器 171DAC850 12位D/A转换器 171DAC8534 16位串行输入D/A转换器 172 DAC8574 四16位D/A转换器 172DAC8800 八8位D/A转换器 172DAC8840 八8位D/A转换器 172DAC90 8位D/A转换器 173DAC-DG12B 12位D/A转换器 173DAC-HA 系列精密乘法型D/A转换器 173 DAC-HF 系列D/A转换器 173DAC-HP16B 16位D/A转换器 174DAC-HZ 系列12位混合D/A转换器 174 DAC-IC10B 10位D/A转换器 174DAC-IC8B 8位D/A转换器 174DAC-UP10B 10位D/A转换器 175DAC-UP8B 8位D/A转换器 175DS2450 四单总线A/D转换器 175DS4201 USB音频D/A转换器 175HA19209 8位D/A转换器 175HAS-1204 超高速12位A/D转换器 176 HDD1015 10位D/A转换器 176HDD1206 12位A/D转换器 176HI5800 12位抽样A/D转换器 177HI5805 12位A/D转换器 177HI5810 12位抽样A/D转换器 177HI5812 12位抽样A/D转换器 177HI5813 12位抽样A/D转换器 178HI5860 12位高速D/A转换器 178ICL7106 3 1/2位LCD显示A/D转换器 178 ICL7107 3 1/2位LED显示A/D转换器 179ICL7109 12位A/D转换器 179ICL7116 3 1/2位LCD显示A/D转换器 179 ICL7117 3 1/2位LED显示A/D转换器 180 ICL7135 4 1/2位BCD输出A/D转换器 180 ICL7136/7137 3 1/2位LCD/LED显示A/D转换器 180ICL7145 16位A/D转换器 181ICL7182 101段LCD条图用A/D转换器 181IR3K02 8位D/A转换器 181IR3K03A 8位A/D转换器 182KSV3208 8位A/D转换器 182LTC1272 12位A/D转换器 182LTC1273 12位A/D转换器 182LTC1274 12位A/D转换器 183LTC1278 12位A/D转换器 183LTC1279 12位A/D转换器 183LTC1290 12位数据采集系统 183LTC1293/1294/1296 12位数据采集系统 184 MAX120/122 12位A/D转换器 184MAX1202/1203 12位A/D转换器 184MAX1240/1241 12位A/D转换器 185MAX1242/1243 10位A/D转换器 185MAX1245 12位A/D转换器 185MAX1246/1247 12位串行A/D转换器 185 MAX1248/1249 10位串行A/D转换器 186 MAX163/164/167 CMOS 12位A/D转换器 186 MAX171 12位带光电隔离串行输出A/D转换器 186MAX180/181 八通道12位数据采集系统 186 MAX182 已校准四通道12位A/D转换器 187MAX183/184/185 高速12位A/D转换器 187 MAX500 CMOS四8位D/A转换器 187 MAX501/502 12位乘法型D/A转换器 188 MAX503 10位D/A转换器 188MAX509 串行8位D/A转换器 188MAX528/529 八路8位D/A转换器 188 MAX543 12位串行输入乘法型D/A转换器 189 MB40166 1通道6位A/D D/A转换器(带箝位电路) 189MB4052 8位A/D转换器 189MB40528 1通道8位A/D转换器 189MB4056 8位A/D转换器 190MB40578 1通道8位视频A/D转换器 190 MB40730 1通道10位D/A转换器 190MB40748/40788 10位D/A转换器 190MB40760 1通道10位D/A转换器 191MB40778 1通道10位D/A转换器 191MC10319 8位A/D转换器 191MC10322 8位视频D/A转换器 191MC10324 8位视频D/A转换器 192MC1408 8位D/A转换器 192MC14433 3 1/2位A/D转换器 192MN3850 12位D/A转换器 192MN502 8位A/D转换器 193MN5100 8位A/D转换器 193MN5120 8位A/D转换器 193MN5130 8位A/D转换器 193MN5150 8位A/D转换器 193MN5210系列 12位军用A/D转换器 194MN5284系列 16位A/D转换器 194MN5295/5296 16位A/D转换器 194MP7683 8位A/D转换器 194MP7684 8位A/D转换器 195MP7685 11位A/D转换器 195MPC800 多路转换器 195MPC8C/MPC4D 多路转换器 195MSM6219AS 6位A/D转换器 195MX7537/MX7547 双12位CMOS并行输入A/D转换器 196NE5034 6位A/D转换器 196PCM52JG-V 16位音频用D/A转换器 196 PCM53-I 16位D/A转换器 197PCM53KP-I/PCM53KP-V 16位D/A转换器 197 PCM54 16位音频用D/A转换器 197PCM56P/56U 16位串行输入D/A转换器 197 SDA8005 8位D/A转换器 198SDA8010 8位D/A转换器 198SP9756-6 6位A/D转换器 198TC35094P 8位A/D转换器 198TC35095P 8位A/D转换器 199TC5091AP 8位A/D转换器 199TDC1014J 6位A/D转换器 199TDC1021J 4位A/D转换器 199TDC1029 6位A/D转换器 199TL32088 差动模拟缓冲放大器 200TLC1542/1543 差动模拟缓冲放大器 200TLC1549 串行控制A/D变换器 200TLC1550/1551 并行控制A/D变换器 200TLC2543 串行控制A/D变换器 201TLC29321 锁相环 201TLC32047 A/D、D/A转换器 201TLC320AC02 音频A/D、D/A转换器 202 TLC320AD50C 音频A/D、D/A转换器 202 TLC320AD55C A/D、D/A转换器 202 TLC320AD56C 音频A/D、D/A转换器 203 TLC320AD57C 立体声A/D转换器 203 TLC320AD58C 立体声A/D转换器 203 TLC540/541 串行控制A/D转换器 203 TLC542 串行控制A/D转换器 204TLC5510/5510A A/D转换器 204TLC5602 视频D/A转换器 204TLC5617 可编程双D/A转换器 205TLC5618M 可编程双D/A转换器 205 TLC7226 四D/A转换器 205TLC7528 双8位D/A转换器 205TLC7628 双8位D/A转换器 206TLC876 并行输出A/D转换器 206TLC876M 并行输出A/D转换器 206TLV0834/0838 串行控制A/D转换器 207 TLV1543 串行控制A/D转换器 207TLV1544/1548 串行控制A/D转换器 207 TLV1570 串行控制A/D转换器 208TLV5510 高速8位A/D转换器 208TLV5619 12位并行D/A转换器 208TLV5620 12位并行D/A转换器 209TLV5621 四8位D/A转换器 209TLV5628 八8位D/A转换器 209TMS57014A 双音频D/A转换器 209μAB1005 4位A/D转换器 210μPC603 6位D/A转换器 210μPC624C 8位D/A转换器 210μPC646D 积分式4 1/2位A/D转换器 210μPC648C 12位D/A转换器 210μPD6325C 6位D/A转换器 211μPD6900C 8位D/A转换器 211μPD7003C 8位D/A转换器 211μPD7004C 10位A/D转换器 211MAX1040~MAX1049 10位多通道ADC/DAC 212MAX1363/MAX1364 4通道、12位系统监视器 212MAX1338 14位、4路、软件可编程、多量程、同时采样ADC 213MAX1070/MAX1071 1.5Msps、单电源、低功耗、真差分、10位ADC 214MAX1224/MAX1225 1.5Msps、单电源、低功耗、真差分、12位ADC 214MAX1447/MAX1496/MAX1498 3位半和4位半、单片ADC,带有LED驱动器 214 MAX1415/MAX1416 16位、低功耗、2通道、Σ-Δ ADC 215MAX1304~MAX1306/MAX1308~MAX1310/ MAX1312~MAX1314 8/4/2通道、12位、同时采样ADC,提供±10V、±5V或0至+5V模拟输入范围 215MAX5510/MAX5511 +1.8V至+5.5V、超低功耗、8位电压输出DAC 216MAX5512~MAX5515 双路、超低功耗、8位、电压输出DAC 217小结 217第3章存储器电路 2193.1 存储器电路简介 2193.2 存储器电路引脚及主要特性 21924AA00/24LC00/24C00 128Bit串行EEPROM 21924AA01/02 1K/2K串行EEPROM 21924AA04/08/16 4K/8K/16K串行EEPROM 220 24AA32 32K串行EEPROM 22024AA32A 32K串行EEPROM 22024AA64/24LC64/24C64 64K串行EEPROM 221 24AA65 64K串行EEPROM 22124AA128/24LC128/24C128 128K串行EEPROM 22224AA164 16K串行EEPROM 22224AA174 16K串行EEPROM 22224AA256/24LC256/24C256 256K串行EEPROM 22324AA512/24LC512/24FC512 512K串行EEPROM 22324C01A/02A/04A 1K/2K/4K串行EEPROM 223 24C01B/02B 1K/2K串行EEPROM 22424C08B/16B 8K/16K串行EEPROM 22424C32 32K串行EEPROM 22524C32A 32K串行EEPROM 22524C65 64K串行EEPROM 22524FC32 32K串行EEPROM 22624FC65 64K串行EEPROM 22624LC01B/02B 1K/2K串行EEPROM 22724LC024/025 2K串行EEPROM 22724LC04B/08B/16B 4K/8K/16K串行EEPROM 22724LC21 1K串行EEPROM 22824LC21A 1K串行EEPROM 22824LCS21 1K串行EEPROM 22824LCS21A 1K串行EEPROM 22924LC32 32K串行EEPROM 22924LC32A 32K串行EEPROM 22924LC41 1K/4K串行EEPROM 23024LC41A 1K/4K串行EEPROM 23024LCS41 1K/4K串行EEPROM 23124LCS41A 1K/4K串行EEPROM 23124LCS52 16K串行EEPROM 23124LCS61/62 1K/2K串行EEPROM 232 24LC65 64K串行EEPROM 23224LC164 16K串行EEPROM 23224LC174 16K串行EEPROM 23325AA040/25LC040/25C040 4K串行EEPROM 23325AA080/160 8K/16K串行EEPROM 233 25AA320 32K串行EEPROM 23425AA640/25LC640/25C640 64K串行EEPROM 23425AA128/25LC128/25C128 128K串行EEPROM 23525AA256/25LC256/25C256 256K串行EEPROM 23525C080/160 8K/16K串行EEPROM 236 25C320 32K串行EEPROM 23625LC080/160 8K/16K串行EEPROM 237 25LC320 32K串行EEPROM 23727C64 64K CMOS EPROM 23827C128 128K CMOS EPROM 23827C256 256K CMOS EPROM 23927C512A 512K CMOS EPROM 24027LV64 64K CMOS EPROM 24027LV256 256K CMOS EPROM 24128C04A 4K CMOS EEPROM 24228C16A 16K CMOS EEPROM 24228C17A 16K CMOS EEPROM 24328C64A 64K CMOS EEPROM 24428LV64A 64K CMOS EEPROM 24537LV36/65/128 36K/64K/128K串行EPROM 245 93AA46/56/66 1K/2K/4K串行EEPROM 24693AA76/86 8K/16K串行EEPROM 24693C06/46 256Bit/1K串行EEPROM 24793C56A/B 2K串行EEPROM 24793C66A/B 4K串行EEPROM 24793C76/86 8K/16K串行EEPROM 24893LC46/56/66 1K/2K/4K串行EEPROM 24893LC76/86 8K/16K串行EEPROM 24993LCS56/66 2K/4K串行EEPROM 249AT29C010A 1M Flash PEROM 250AT29C020 2M Flash PEROM 250AT29C040A 4M Flash PEROM 251AT29C256 256K Flash PEROM 252AT29C257 256K Flash PEROM 252AT29C512 512K Flash PEROM 253AT29C1024 1M Flash PEROM 254DS1220AB/AD 16K NV SRAM 254DS1225AB/AD 64K NV SRAM 255DS1230Y/AB 256K NV SRAM 255DS1230W 256K NV SRAM 256DS1245Y/AB 1M NV SRAM 256DS1245W 1M NV SRAM 257DS1249Y/AB 2M NV SRAM 258DS1249W 2M NV SRAM 258DS1250Y/AB 4M NV SRAM 258DS1250W 4M NV SRAM 259DS1251Y 4M NV SRAM 260DS1258Y/AB 2M NV SRAM 260DS1258W 2M NV SRAM 261DS1265Y/AB 8M NV SRAM 261DS1270Y/AB 16M NV SRAM 261DS1543P 64K NV SRAM 262DS1543WP 64K NV SRAM 262DS1553P 64K NV SRAM 263DS1553WP 64K NV SRAM 264DS1642 16K NV SRAM 264DS1643/1643P 64K NV SRAM 264DS1644/1644P 256K NV SRAM 265DS1646/1646P 1M NV SRAM 265DS1647/1647P 4M NV SRAM 266DS2016 16K SRAM 266DS2064 64K SRAM 267DS2404 4K 经济型RAM 267DS2404S-C01 4K双端口存储器带定时 268 DS2422/2423 1K/4K一线串行RAM 268 DS2430A 256bit一线串行EEPROM 268 DS2433 4K一线串行EEPROM 269DS2501/2-UNW 512bit/1K专用只加EPROM 269DS2502 1K只加EPROM 270DS2505 16K只加EPROM 270DS2505/6-UNW 16K/64K专用只加EPROM 271DS2506 64K只加EPROM 271FM1608 64K FRAM 271FM1808 256K FRAM 272FM24C04 4K串行FRAM 272FM24C16 16K串行FRAM 273FM24C256 256K串行FRAM 273FM24C64 64K串行FRAM 273FM24CL16 16K串行FRAM 274FM24CL64 64K串行FRAM 274FM25040 4K串行FRAM 274FM25160 16K串行FRAM 275FM25C160 16K串行FRAM 275KM416C1000C/1200C、KM416V1000C/1200C 16M DRAM 275KM416C254D/DL、KM416V254D/DL4M DRAM 276KM416C256D/DL、KM416V256D/DL4M DRAM 277KM416C4000B/4100B 64M DRAM 277KM416C4004B/4104B 64M DRAM 278KM416S1020C 16M SDRAM 278KM416S1021C 16M SDRAM 279KM416S16230A 256M SDRAM 279KM416S4020B 64M SDRAM 280KM416S4021B 64M SDRAM 280KM416S4030B 64M SDRAM 281KM416S4031B 64M SDRAM 282KM416S8030 128M SDRAM 282KM416V4000C/4100C 64M DRAM 283KM416V4004C/4104C 64M DRAM 283KM41C16000C、KM41V16000C16M DRAM 284KM41C4000D、KM41V4000D 4M DRAM 284 KM432C515/V515 16M DRAM 284KM432S2020B 64M SDRAM 285KM44C1000D、KM44V1000D 4M DRAM 286 KM44C1003D 4M DRAM 286KM44C1004D、KM44V1004D 4M DRAM 286 KM44C1005D 4M DRAM 287KM44C16000B、KM44C16100B64M DRAM 287KM44C16004B、KM44C16104B64M DRAM 287KM44C4000C/4100C、KM44V4000C/4100C 16M DRAM 288KM44C4003C/4103C 16M DRAM 288KM44C4004C/4104C、KM44V4004C/4104C 16M DRAM 289KM44C4005C/4105C 16M DRAM 289KM44S16020B 64M SDRAM 290KM44S16030C 64M SDRAM 290KM44S32030 128M SDRAM 291KM44S4020C 16M SDRAM 292KM44S64230A 256M SDRAM 292KM44V16000C、KM44V16100C64M DRAM 293KM44V16004C、KM44V16104C64M DRAM 293KM48C2000C/2100C、KM48V2000C/2100C 16M DRAM 293KM48C2004C/2104C、KM48V2004C/2104C 16M DRAM 294KM48C512D 4M DRAM 294KM48C514D/V514D 4M DRAM 295KM48C8000B/8100B、KM48V8000B/8100B 64M DRAM 295KM48C8004B/8104B、KM48V8004B/8104B 64M DRAM 296KM48S16030 128M SDRAM 296KM44S2020C 16M SDRAM 297KM48S32230A 256M SDRAM 297KM48S8020B 64M SDRAM 298KM48S8030C 64M SDRAM 298MCM2814 2M串行EEPROM 299MCM6256B 256K DRAM 299MSM27C1652CZ 16M PROM 300MSM27C401CZ 4M PROM 301MSM27C402CZ 4M PROM 301MSM27C452CZ 4M PROM 302MSM27C802CZ 8M PROM 303MSM511000C/CL 1M DRAM 304MSM5116160B 16M DRAM 305MSM5116165B 16M DRAM 305MSM5116400C 16M DRAM 306MSM5116405C 16M DRAM 306MSM511664C/CL 1M DRAM 307MSM511666C/CL 1M DRAM 308MSM5116800C 16M DRAM 309MSM5116805C 16M DRAM 309MSM5117400C 16M DRAM 310MSM5117405C 16M DRAM 310MSM5117800C 16M DRAM 311MSM5117805C 16M DRAM 312MSM5118160B 16M DRAM 312MSM5118165B 16M DRAM 313MSM514100D/DL 4M DRAM 314MSM514221B/MSM514222B 1M场存储器 315 MSM514223B 1M场存储器 315MSM514252A 1M多端口DRAM 316MSM514256C/CL 1M DRAM 316MSM514260C/CSL 4M DRAM 317MSM514265C/CSL 4M DRAM 318MSM514800C/CSL 4M DRAM 319MSM514900C/CSL 4.5M DRAM 319W24010 1M SRAM 319W24010A 1M SRAM 320W24011A 1M SRAM 321W24100 1M SRAM 321W241024A 1M SRAM 321W24129A 128K SRAM 322W24256 256K SRAM 322W24256A 256K SRAM 323W24257 256K SRAM 323W24257A 256K SRAM 324W24258 256K SRAM 324W24512A 512K SRAM 325W2465 64K SRAM 325W2465A 64K SRAM 326W24L01 1M SRAM 326W24L010A 1M SRAM 327W24L011A 1M SRAM 327W24L04 4M SRAM 328W24L10 1M SRAM 328W24L11 1M SRAM 329W24L25 256K SRAM 329W24L257A 256K SRAM 330W24257AJ-8N 256K SRAM 330W24LH8 256K SRAM 331W24V04 4M SRAM 331W27C010 1M EPRAM 332W27C020 2M EPRAM 332W27C257 256K EPRAM 333W27C4096 4M EPRAM 333W27C512 512K EPRAM 334W27E040 4M EPRAM 334W27L520 512K EPRAM 335DS1270W 3.3V、16Mb非易失SRAM 335 DS4902 双路、非易失、可变电阻器,带有用户EEPROM 336DS1994 4Kb及时钟存储器iButton 336DS3816C-512 16M位、高级非易失SRAM, 带有时钟 337MR2A16A 256K×16位3.3V异步MRAM 338 DS1220AB/AD 16K非易失SRAM 338小结 339。
常用逻辑芯片常用逻辑芯片是指在数字电路设计中常用的一类集成电路芯片,用于实现逻辑功能。
常用的逻辑芯片包括与门、或门、非门、异或门、与非门、或非门、异或非门等。
1. 与门(AND Gate):与门是最基本的逻辑门之一,它接收两个输入信号,只有当两个输入信号同时为高电平时,输出信号才为高电平;否则输出信号为低电平。
与门的符号是一个大写字母“AND”。
2. 或门(OR Gate):或门也是常用的逻辑门,它接收两个输入信号,只要有一个输入信号为高电平,输出信号就为高电平;只有当两个输入信号都为低电平时,输出信号才为低电平。
或门的符号是一个大写字母“OR”。
3. 非门(NOT Gate):非门是最简单的逻辑门,它只有一个输入信号,输出信号与输入信号相反,即当输入信号为高电平时,输出信号为低电平;当输入信号为低电平时,输出信号为高电平。
非门的符号是一个小写字母“NOT”。
4. 异或门(XOR Gate):异或门接收两个输入信号,只有当两个输入信号不相同时,输出信号才为高电平;当两个输入信号相同时,输出信号为低电平。
异或门的符号是一个大写字母“XOR”。
5. 与非门(NAND Gate):与非门是与门和非门的组合,即先进行与门操作,然后对结果取反。
与非门接收两个输入信号,只有当两个输入信号同时为高电平时,输出信号为低电平;否则输出信号为高电平。
与非门的符号是一个大写字母“NAND”。
6. 或非门(NOR Gate):或非门是或门和非门的组合,即先进行或门操作,然后对结果取反。
或非门接收两个输入信号,只有当两个输入信号都为低电平时,输出信号为高电平;否则输出信号为低电平。
或非门的符号是一个大写字母“NOR”。
7. 异或非门(XNOR Gate):异或非门是异或门和非门的组合,即先进行异或门操作,然后对结果取反。
异或非门接收两个输入信号,只有当两个输入信号相同时,输出信号为高电平;当两个输入信号不相同时,输出信号为低电平。
或门芯片型号或门芯片是一种逻辑门电路,常用于数字电路中,其功能是判断输入信号中是否存在至少一个高电平信号。
下面介绍若干种常见的或门芯片型号。
1. 74LS3274LS32是一种四输入或门芯片。
它具有四个输入端口(A、B、C和D)和一个输出端口(Y)。
当其中任意一个输入端口接收到高电平信号时,输出端口Y将置为高电平。
该芯片采用低功耗S型技术,可配合其他TTL逻辑门芯片工作。
2. 74HC3274HC32是一种四输入或门芯片。
与74LS32类似,它可以接受四个输入信号,只要其中一个信号为高电平,输出端口Y就会置为高电平。
不同的是,74HC32采用了CMOS技术,具有低功耗和较高的工作速度。
3. 74HC407574HC4075是一种三输入或门芯片。
它与上述的74LS32和74HC32不同之处在于它只有三个输入端口(A、B和C),但输出端口Y的功能和上述芯片相同。
该芯片采用了低功耗CMOS技术,适合于数字系统中的应用。
4. CD4072CD4072是一种双四输入或门芯片。
它具有两个相互独立的4输入或门电路,每个电路有四个输入端口(A1、B1、C1和D1,A2、B2、C2和D2)和一个输出端口(Y1、Y2)。
当任意一个电路的输入端口接收到高电平信号时,对应的输出端口将置为高电平。
该芯片采用CMOS技术,功耗较低。
以上仅列举了几种常见的或门芯片型号,每种型号都有自己特定的工作电压、逻辑电平和功耗等特性,可以根据具体的应用需求选择适合的型号。
同时,使用这些芯片需要一定的电路设计和连接知识,建议在使用前参考相关的技术文档和数据手册。
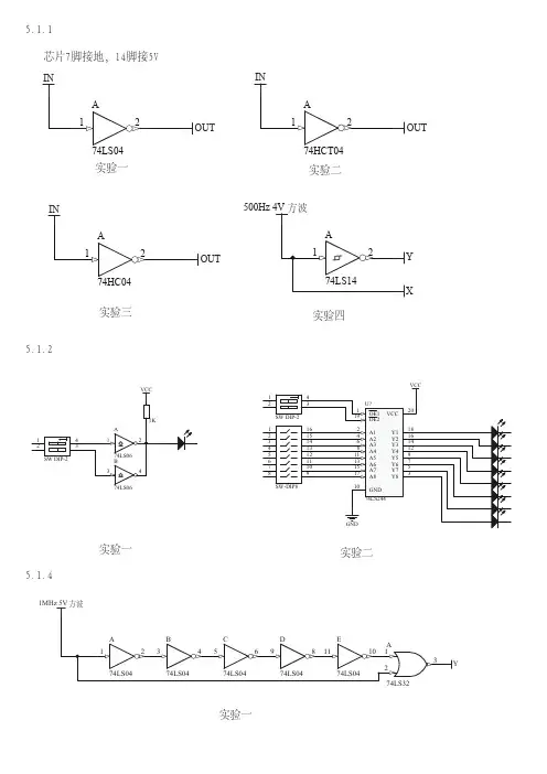
5.1.1YX 实验一实验二实验三实验四芯片7脚接地,14脚接5V5.1.2实验一实验二5.1.4实验一实验三实验一 138、148译码编码5.1.5实验二 138、20一位全加器全加和进位实验四 双153实现8选一数据选择器实验三 153一位全加器进位5.1.6实验一 D触发器逻辑功能八分频十六分频实验一 D触发器分频器(使用1KHz方波)实验二 JK触发器逻辑功能实验四 JK触发器转换D触发器(使用单脉冲)实验五 JK触发器转换T触发器(使用1Hz脉冲或单脉冲)5.1.8实验一 192实现7进制清零法加法计数器(QA、QB、QC、QD接入数码管接口) 权位:QA-1、QB-2、QC-4、QD-8实验二 161实现7进制清零法加法计数器(Q1、Q2、Q3、Q4接入数码管接口) 权位:Q1-1、Q2-2、Q3-4、Q4-8 实验二 161实现7进制置数法加法计数器(Q1、Q2、Q3、Q4接入数码管接口) 权位:Q1-1、Q2-2、Q3-4、Q4-8实验三 双390实现24进制清零法加法计数器 权位:从左到右1、2、4、8、1674LS194功能表H-高电平 L-低电平 X-任意电平 ↑-低到高电平跳变a-d-A-D端的稳态输入电平Q A0-Q D0-规定的稳态条件建立前Q A-A D的电平Q An-Q Dn-时钟最近的↑前Q A-A D的电平实验五 194环形移位寄存器5.1.9实验一 74LS123方波转窄脉冲电路 74LS122方波转窄脉冲电路 (使用1KHz方波)实验二 74LS121脉冲整形或展宽电路 使用1KHz方波 R=1k 0.7uF <C<1.4uF t=0.7RC5.1.10实验一 NE555单稳态触发器 R=100k C=4.7uF 使用单脉冲实验二 NE555单稳态触发器 R=1k C=0.1uF f=1KHz实验三 NE555多谐振荡器R1接1k电阻 R2接4.7K滑动变阻器实验四 NE555施密特触发器。
常用集成门电路芯片及其应用引言集成门电路芯片是数字逻辑电路中常见的元件,它能够实现逻辑运算,如与、或、非、异或等。
本文将介绍一些常用的集成门电路芯片及其应用,帮助读者了解它们在数字电路设计中的重要性。
1. 与门〔AND Gate〕与门是最根本的逻辑门之一,它的输出只有在所有输入均为高电平〔逻辑“1〞〕时才为高电平,否那么为低电平〔逻辑“0〞〕。
常见的与门芯片有 7408、7411 等。
应用例如与门可以用于实现以下功能: - 将两个信号进行逻辑与运算,用于控制两个信号的联合条件。
- 实现译码器和多路选择器等复杂逻辑功能。
2. 或门〔OR Gate〕或门是另一个根本的逻辑门,它的输出只要有任何一个输入为高电平时就为高电平。
常见的或门芯片有 7402、7432 等。
应用例如或门可以用于实现以下功能: - 多个输入信号的逻辑或运算。
- 组合多个信号的状态。
3. 非门〔NOT Gate〕非门是一个非常简单的逻辑门,它只有一个输入和一个输出。
输出为输入的逻辑反.应用例如非门可以用于实现以下功能: - 实现逻辑反转功能,将输入信号取反。
异或门是一种特殊的逻辑门,它的输出在所有输入中仅在奇数个输入为高电平时为高电平。
异或门常用于数据比拟和校验等应用场景。
应用例如异或门可以用于实现以下功能: - 数据比拟,判断两个数据是否相等。
- 错误校验,检测数据传输过程中的错误。
5. 与非门〔NAND Gate〕与非门是与门和非门的组合,它的输出为与门输出取反。
常见的与非门芯片有 7400、7404 等。
应用例如与非门可以用于实现以下功能: - 除了实现与门的功能外,还可以实现逻辑非门的功能。
或非门是或门和非门的组合,它的输出为或门输出取反。
常见的或非门芯片有 7402、7403 等。
应用例如或非门可以用于实现以下功能: - 除了实现或门的功能外,还可以实现逻辑非门的功能。
7. 三态门〔Tri-state Gate〕三态门是一种特殊的逻辑门,它的输出可以处于高电平、低电平或高阻态。
GDOU-B-11-112广东海洋大学学生实验报告书(学生用表)实验名称课程名称课程号学院(系) 专业班级学生姓名学号实验地点实验日期实验2 组合逻辑电路——138芯片一、实验目的1、掌握中规模集成译码器的逻辑功能和使用方法2、熟悉数码管的使用二、实验原理译码器是一个多输入、多输出的组合逻辑电路。
它的作用是把给定的代码进行“翻译”,变成相应的状态,使输出通道中相应的一路有信号输出。
译码器在数字系统中有广泛的用途,不仅用于代码的转换、终端的数字显示,还用于数据分配,存贮器寻址和组合控制信号等。
不同的功能可选用不同种类的译码器。
译码器可分为通用译码器和显示译码器两大类。
前者又分为变量译码器和代码变换译码器。
1、变量译码器(又称二进制译码器),用以表示输入变量的状态,如2线-4线、3线-8线和4线-16线译码器。
若有n个输入变量,则有2n个不同的组合状态,就有2n个输出端供其使用。
而每一个输出所代表的函数对应于n个输入变量的最小项。
以3线-8线译码器74LS138为例进行分析,图6-1(a)、(b)分别为其逻辑图及引脚排列。
其中 A2、A1、A0为地址输入端,0Y~7Y为译码输出端,S1、2S、3S为使能端。
表6-1为74LS138功能表当S1=1,2S+3S=0时,器件使能,地址码所指定的输出端有信号(为0)输出,其它所有输出端均无信号(全为1)输出。
当S1=0,2S+3S=X时,或 S1=X,2S+3S=1时,译码器被禁止,所有输出同时为1。
(a) (b)图6-1 3-8线译码器74LS138逻辑图及引脚排列表6-1件就成为一个数据分配器(又称多路分配器),如图6-2所示。
若在S1输入端输入数据信息,2S=3S=0,地址码所对应的输出是S1数据信息的反码;若从2S端输入数据信息,令S1=1、3S=0,地址码所对应的输出就是2S端数据信息的原码。
若数据信息是时钟脉冲,则数据分配器便成为时钟脉冲分配器。
数电逻辑门电路
逻辑门电路是数字电路中最基本的组成部分,它执行基本的逻辑运算,如 AND、OR、NOT 等。
常见的逻辑门
•AND 门:只有当所有输入都为高电平时,输出才为高电平。
•OR 门:只要有一个输入为高电平时,输出就为高电平。
•NOT 门:当输入为高电平时,输出为低电平,反之亦然。
•NAND 门:与 AND 门相同,但输出取反。
•NOR 门:与 OR 门相同,但输出取反。
•XOR 门:只有当输入不同时,输出才为高电平。
•XNOR 门:只有当输入相同时,输出才为高电平。
逻辑门符号
每个逻辑门都有一个标准符号,用于表示其功能和输入/输出关系。
逻辑门特性
•逻辑电平:逻辑门通常使用高电平和低电平表示二进制信号。
•传递延迟:逻辑门之间有延迟时间,称为传递延迟。
•扇出:逻辑门可以驱动多个其他逻辑门,其数量称为扇出。
•功耗:逻辑门消耗功率,这取决于其尺寸、类型和开关频率。
逻辑门应用
逻辑门电路用于各种数字系统中,包括:
•计算机
•智能手机
•数字仪表
•控制系统
•数据通信
逻辑门实现
逻辑门电路可以通过以下方式实现:
•分立器件:使用晶体管、电阻器和二极管等分立器件构建。
•集成电路(IC):将多个逻辑门集成到一个单一的 IC 芯片中。
•现场可编程门阵列(FPGA):提供可编程逻辑,允许用户配置自定义逻辑门电路。
逻辑芯片常用型号
逻辑芯片是一种用于执行逻辑运算的集成电路。
常用的逻辑芯片型号包括但不限于以下几种:
1. 74系列,这是最常见的逻辑芯片系列,包括74LS、74HC、74HCT等型号。
比如74LS00是四个二输入与门,74LS04是六个反相器等等。
这些芯片广泛用于数字逻辑电路设计中。
2. 4000系列,这个系列的芯片通常用于低功耗应用,比如4011是四个二输入与非门,4027是双JK触发器等。
3. 74F系列,这个系列的芯片具有更快的速度和更低的功耗,适合一些高性能的应用。
4. 74HC系列,这个系列的芯片结合了74系列和4000系列的特点,具有广泛的工作电压范围和较高的抗干扰能力。
5. 74HCT系列,这个系列的芯片结合了74系列和74HC系列的特点,具有广泛的工作电压范围和较高的抗干扰能力,同时还具有CMOS的输入特性。
这些是常见的逻辑芯片型号,不同的型号适用于不同的应用场景,设计者可以根据具体的需求选择合适的型号来完成数字逻辑电路的设计。
一.代码转换器
1.1受控反相器电路
1.2二进制比较系统
1.3奇偶校验发生器
4位偶校验发生器4位奇校验发生器
8位偶校验发生器5为偶校验检验器
1.4 74HC280/奇偶校验器(74280)
其中前8个位数居输入端,第9个输入端用于输入奇偶校验位,若为偶校验,则9位之和为偶数.
1.58位偶校验纠错系统
1.6半加器和全加器电路
1.半加器
2. 全加器
3. 全加器的逻辑图
1.774HC283/4位全加器
1. 7483逻辑符号
2. 应用两个74HC283 IC实现的8位二进制加法器
3. 8位二进制补码加法器/减法器实现减法42-23=19
4. BCD码加法器实现7+6=13
1.8算术/逻辑单元(74181或74HC181)
M为高电平表示逻辑运算,低电平表示算术运算.
M为高电平时,所有内部进位端失效.
M位低电平时,内部进位端使能,超前进位由G和P输出,进位输入端和进位输出端低电平有效;算数逻辑单元产生的结果为二进制补码形式,输入进位端为高电平(无进位)是为上图结果,当输入进位端位低电平时,所有结果自动加1;plus表示算数和.
1.97485 / 4位数值比较器
1. 结构图
2. 8位二进制数值比较器
1.1074138八进制译码器
2. 138的应用
1.117442-BCD-十进制译码器
1.1274154 十六进制译码器
1.1374147 十-BCD编码器优先编码器
1.1474148 八-二进制编码器优先编码器
1.逻辑符号和功能表
2. 74148的应用
使用74148编码器来监视8个化学罐的液位,如任一化学罐超标,报警器向编码器输出低电平信号,编码器将有效输入编码为微控制器读取的3位二进制代码.
1.15格雷码
1.格雷码对应二进制和格雷码转轮
2. 格雷码和二进制码之间的转换
1.1674151 / 8线多路转换器
1.逻辑符号和逻辑图
2. 构成16线多路转换器
1.17多路分配器
1.双4线多路分配器74139逻辑符号和逻辑图
2. 输入数据信号由输出端5输出的74154多路分配器电路连接
1.18多路转换器/多路分配器4051。