建设工程施工邀请招标程序流程图
- 格式:doc
- 大小:44.50 KB
- 文档页数:9
建设工程施工招标流程图一、引言建设工程施工招标流程图是指在建设工程项目中,为了确保公平竞争和高质量的施工,按照一定的程序和规定,通过招标的方式选择合适的施工单位进行工程的承包和施工。
本文将详细介绍建设工程施工招标的流程图。
二、流程图以下是建设工程施工招标的流程图:1. 确定招标需求项目业主或建设单位确定招标需求,包括工程的规模、类型、工期、预算等,并编制招标文件。
2. 发布招标公告招标人发布招标公告,公告内容包括招标项目的基本情况、投标人资格要求、报名截止时间等,并在指定的媒体或招标平台上发布。
3. 报名资格审查投标人根据招标公告要求,提交报名文件,招标人对报名文件进行资格审查,确定符合资格的投标人。
4. 发送招标文件招标人将招标文件发送给符合资格的投标人,招标文件包括工程的详细说明、施工图纸、技术要求、合同条款等。
5. 投标准备投标人根据招标文件进行工程量清单的编制、成本估算、施工方案的制定等准备工作。
6. 投标文件递交投标人将投标文件按照规定的时间和地点递交给招标人,投标文件包括投标报价、施工方案、施工组织设计、施工进度计划等。
7. 开标招标人在规定的时间和地点进行开标,公开拆封投标文件,并记录投标人的报价、技术方案等内容。
8. 技术评审招标人组织技术评审委员会对投标文件进行评审,评审内容包括施工方案的可行性、技术指标的符合性等。
9. 经济评审招标人组织经济评审委员会对投标文件中的报价进行评审,评审内容包括报价的合理性、成本的可控性等。
10. 中标确定招标人根据技术评审和经济评审的结果,确定中标人,并公示中标结果。
11. 签订合同招标人与中标人进行合同谈判,达成一致后,签订施工合同。
12. 履约保证金中标人按照合同要求,向招标人缴纳履约保证金,作为履行合同的保证。
13. 施工准备中标人根据合同要求,进行施工组织、人员配备、材料采购等准备工作。
14. 施工实施中标人按照合同约定的工期和质量要求,进行施工实施。
工程招投标流程图工作阶段招标人投标人政府部门公开招票或邀请招标1、确定招标方式招标人自行办理招标事宜的,按规定向建设行政主管部门备案;委托代理招标事宜的应签订委托代理合同建设行政主管部门接受备案2、招标资格与备案3、发布招标公告或投标邀请书实行公开招标的,应在国家或地方指定的报刊、信息网或其他媒介公告,公告期不得少于5个工作日,实行邀请招标的,应向3个以上符合资质条件的投标人发送投标邀请书获取招标项目信息4、编制、发布资格预审文件和递交资格预审申请书(邀请招标的可采用资格后审)采用资格预审的,编制资格预审文件,向参加投标的申请人发放资格预审文件获取资格预审文件投标人按资格预审文件要求填报的资格预审申请书,并提交接收资格预审申请书审查、分析投标申请人所报资格预审申请书的内容5、资格预审,确定合格的投标申请人确定合格投标申请人合格的投标申请人获得资格预审合格通知书,并提交资格预审合格通知书的书面回执向合格投标申请人发放资格预审合格通知书编制招标文件6、发售招标文件建设行政主管部门接受招标文件的备案将招标文件发放给合格的投标申请人、被邀请投标人,招标文件发售最短不得少于2个工作日(自招标文件发出之日起至招标文件要求提交投标文件截止之日止,不得少于15日),同时向建设行政主管部门备案获取招标文件回执开始准备投标文件、搜集有关资料和相关信息现场踏勘组织投标人踏勘现场7、踏勘现场8、投标预备会1、以书面形式提出问题获取问题解答回执2、答疑会前在的时间前以书面形式提交质疑问题获取答疑纪要回执接受问题,准备解答8.1以书面形式以书面形式向所有投标人发放答疑纪要并同时向建设行政主管部门备案8.2答疑会招标文件的澄清、修改(应当在招标文件要求提交投标文件截止时间7天前)接受问题,准备解答建设行政主管部门接受答疑纪要备案答疑会解答,会后将问题解答以书面形式发放给投标人并同时向建设行政主管部门备案获取澄清、修改文件回执建设行政主管部门接受招标文件澄清、修改备案招标文件的澄清、修改编制投标文件办理投标担保招标人接收投标文件记录接受日期、时间逾期投标文件退回回执9、签收投标文件退回逾期送达的投标文件开标前妥善保存投标文件招标文组织并主持开标、唱标投标单位参加开标10、开标招标人依法律法规和规章的规定,组建评标委员会11、组建评标委员会评标委员会评标符合性鉴定技术标评审商务标评审资格审查(后审)12、评标12、定标完成评标推荐中标后选人或确定中标人编写评标报告对评标小组的澄清内容进行书面澄清答复或答疑评标小组就投标文件的内容进行澄清和答疑完成评标推荐中标候选人或确定中标人,编写评标报告13、招标投标情况书面报告及备案建设行政主管部门接受备案招标人编写招标投标书面情况报告,确定中标人15日内向建设行政主管部门备案中标单位接受中标通知书、未中标单位接受中标结果通知书招标人向中标人发出中标通知书同时向未中标人发出中标结果通知14、发出中标通知书办理、提交履约担保建设行政主管部门接受备案办理合同备案接受投标保证金回执退回中标人以及未中标人投标保证金招标人与中标人签署合同协议办理、提交支付担保15、签署合同协议。
建筑工程招标招标工作流程图标题:建筑工程招标招标工作流程图引言概述:建筑工程招标是建筑行业中非常重要的环节,招标工作流程图是指整个招标过程中各个环节的流程图表,通过流程图可以清晰地了解招标的具体步骤和流程,有利于提高招标工作的效率和准确性。
一、准备工作1.1 制定招标计划:确定招标的具体时间、范围、内容和方式。
1.2 确定招标方式:包括公开招标、邀请招标、竞争性谈判等。
1.3 确定招标文件:包括招标公告、招标文件、技术规范等。
二、发布招标公告2.1 制作招标公告:包括项目名称、招标范围、招标方式、招标文件获取方式等。
2.2 发布招标公告:通过各类媒体、招标网站等发布招标公告。
2.3 接受投标申请:接受符合条件的投标人的申请,并提供招标文件。
三、评标和定标3.1 组织评标委员会:确定评标委员会成员,包括专家、业主代表、监理等。
3.2 评标过程:根据招标文件要求进行评标,综合考虑技术、价格等因素。
3.3 确定中标单位:根据评标结果确定中标单位,并签订合同。
四、履约阶段4.1 履约监督:监督中标单位按合同要求履行工程建设。
4.2 质量验收:对工程质量进行验收,确保符合规定标准。
4.3 结算支付:根据合同约定进行工程结算和支付。
五、总结反馈5.1 总结经验教训:总结招标过程中的经验和教训,为下次招标提供参考。
5.2 收集反馈意见:收集相关各方对招标过程的反馈意见,不断改进招标工作。
5.3 完善流程图:根据实际情况不断完善和优化招标工作流程图,提高招标效率和质量。
结语:建筑工程招标招标工作流程图对于建筑工程的顺利进行非常重要,只有通过规范的流程和程序,才能确保工程的质量和效率。
希望以上内容能够帮助大家更好地了解建筑工程招标工作流程图。
公开邀请招标流程图招标是指通过公开邀请,邀请潜在供应商或承包商参与竞标,以确定最佳的供应商或承包商的过程。
在招标过程中,流程图是一种常用的工具,用于可视化展示招标的各个步骤和环节。
下面是一份标准格式的公开邀请招标流程图,详细描述了招标的各个阶段和相关活动。
流程图如下:1. 确定招标需求- 制定招标需求和规格书- 确定项目目标和要求- 确定招标范围和时间安排2. 准备招标文件- 编制招标公告- 编制招标文件- 准备标书模板和相关表格3. 发布招标公告- 在适当的媒体上发布招标公告- 在相关网站或平台上发布招标信息- 向潜在供应商或承包商发送招标邀请函4. 接收潜在供应商或承包商的申请- 收集潜在供应商或承包商的申请材料- 确认申请材料的完整性和合规性- 给予潜在供应商或承包商确认函5. 评审和筛选- 设立评审委员会- 对申请材料进行评审和筛选- 确定符合要求的潜在供应商或承包商名单6. 发送招标文件- 将招标文件发送给符合要求的潜在供应商或承包商 - 解答潜在供应商或承包商的问题和疑虑7. 提交标书- 潜在供应商或承包商按要求提交标书- 确认标书的完整性和合规性- 给予潜在供应商或承包商确认函8. 开标和评审- 在规定的时间和地点进行开标- 对提交的标书进行评审- 确定最佳的供应商或承包商9. 签订合同- 与最佳供应商或承包商进行谈判- 确定合同条款和条件- 签订正式合同10. 公告结果- 在适当的媒体上公告招标结果- 通知所有参与招标的供应商或承包商- 进行项目启动和执行以上是一份标准格式的公开邀请招标流程图,可以根据具体的需求和情况进行调整和修改。
招标过程中,确保透明、公正和公平是非常重要的,同时也需要遵守相关的法律法规和规定。
招标流程图的目的是为了帮助参与招标的各方更好地理解和遵循招标的规则和步骤,以确保最佳的供应商或承包商能够被选定并顺利执行项目。
建设工程施工招标流程图引言概述:建设工程施工招标流程图是指在建设工程项目中,为了确保公平竞争和选择最优质的施工单位,采用招标方式进行施工承包的流程图。
本文将详细介绍建设工程施工招标流程图的四个部份,包括招标准备、招标公告、投标评审和中标结果公示。
一、招标准备:1.1 制定招标文件:招标人根据工程项目的具体要求,制定招标文件,包括招标公告、招标文件、技术规范、施工图纸等。
1.2 确定招标方式:根据工程项目的性质和规模,招标人确定采用公开招标、邀请招标还是竞争性谈判等方式进行招标。
1.3 确定招标条件:招标人确定投标人资格要求、投标保证金、投标文件的递交时间和地点等招标条件。
二、招标公告:2.1 发布招标公告:招标人通过媒体、互联网等渠道发布招标公告,公告内容包括工程项目的基本情况、招标方式、投标人资格要求等。
2.2 报名资格审查:投标人按照招标文件要求,递交报名材料,招标人对报名材料进行资格审查,确定符合条件的投标人。
2.3 发放招标文件:招标人向符合条件的投标人发放招标文件,投标人根据招标文件准备投标文件。
三、投标评审:3.1 投标文件评审:招标人组织评标委员会对投标文件进行评审,评审内容包括投标人的资质、施工方案、价格等。
3.2 技术交底和询价:评标委员会对符合要求的投标人进行技术交底,并进行价格询价,以确定最终中标单位。
3.3 编制评标报告:评标委员会根据评审结果编制评标报告,包括中标单位的名称、中标价格等,并提交给招标人。
四、中标结果公示:4.1 中标结果公示:招标人根据评标报告,公示中标单位的名称、中标价格等信息,同时公示未中标单位的名称。
4.2 中标通知和合同签订:招标人向中标单位发出中标通知,并与中标单位签订施工合同。
4.3 投标保证金退还:对于未中标的投标人,招标人按照招标文件的规定,及时退还其投标保证金。
总结:建设工程施工招标流程图是一个重要的工程管理工具,它确保了建设工程项目的公平竞争和施工质量的提高。
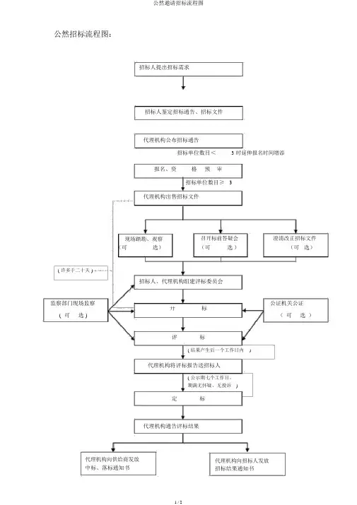
公然招标流程图:招标人提出招标需求招标人鉴定招标通告、招标文件代理机构公布招标通告招标单位数目<3 时延伸报名时间增添报名、资格 预 审招标单位数目≥ 3代理机构出售招标文件 现场踏勘、观察(可 选)召开标前答疑会(可 选)澄清改正招标文件(可 选)( 许多于二十天 )招标人、代理机构组建评标委员会监察部门现场监察标公证机关公证( 可开( 可 选 )选 )评 标( 结果产生后一个工作日内 )代理机构将评标报告送招标人( 公示期七个工作日, 期满无怀疑、无投诉 )定 标代理机构通告评标结果代理机构向供给商发放中标、落标通知书代理机构向招标人发放招标结果通知书邀请招标流程图:招标人、用户方向招标代理机构发出招标拜托函招标代理机构依据用户方需求编制招标文件用户鉴定、确认招标文件向三个以上具备肩负招标项目的能力,资信优秀的招标代理机构向合格供给商发出招标邀请书法人或其余组织招标人报名,代理机构出售招标文件现场踏勘、召开标前答澄清改正招疑会(可选)观察(可选)标文件(可(可选)(可选)选)招标人招标缴纳招标保证金招标文件发出至招标保证金须于提交招标文件截依法组建评标委员会招标文件规定的止之日止,最短不截止日前到账得少于二十天开标、唱标、评标失败失败改正招标文件招标成功否改正招标方式从头招标从头招标由评标委员会介绍中标候选人公示期 3个招标代理机构公布预告中标通告日历日用户方确认评标结果、定标招标代理机构公布中标通告及发送中标通知书招标代理机构向招标商退还招标保证金和收取中标服务费。
建设工程施工招标流程图一、招标准备阶段1. 项目立项:确定建设工程项目,并进行可行性研究、初步设计等工作。
2. 招标文件编制:根据项目需求,编制招标文件,包括招标公告、招标文件、技术规范、合同范本等。
3. 招标代理机构选择:依据相关规定,选择符合要求的招标代理机构,负责招标过程的组织和监督。
二、招标公告发布阶段1. 招标公告发布:招标人通过指定的媒体或渠道发布招标公告,公告内容包括项目基本信息、招标条件、投标截止时间等。
2. 技术交流会:招标人组织技术交流会,向潜在投标人提供项目相关信息,并解答疑问。
3. 投标文件购买:潜在投标人购买招标文件,并缴纳一定的文件费用。
三、投标文件编制阶段1. 投标准备:潜在投标人认真研究招标文件,了解项目要求,并组织相应的技术、财务、管理人员进行投标准备工作。
2. 投标文件编制:潜在投标人编制投标文件,包括技术方案、施工组织设计、工程量清单、报价等内容。
3. 投标文件提交:潜在投标人在规定的投标截止时间前将投标文件递交给招标人,并按要求缴纳投标保证金。
四、开标评标阶段1. 开标准备:招标人组织开标评标工作,包括成立开标评标委员会、准备开标评标场地和设备等。
2. 开标过程:开标评标委员会在公开场合按照规定程序开启投标文件,并逐一宣读投标人名称、报价、技术方案等内容。
3. 评标过程:开标评标委员会对投标文件进行评审,根据评标标准对各项指标进行评分,并确定中标候选人。
4. 中标公示:招标人在指定媒体或渠道公示中标结果,并公布中标候选人的相关信息。
五、中标及合同签订阶段1. 中标通知:招标人书面通知中标候选人,并要求其按规定时间前来签订合同。
2. 合同谈判:招标人与中标候选人进行合同谈判,明确工程范围、工期、质量标准、支付方式等合同条款。
3. 合同签订:双方达成一致后,签署正式合同,并按照约定支付中标保证金。
4. 未中标通知:招标人书面通知未中标的投标人,并说明未中标原因。
建筑工程招标招标工作流程图建筑工程招标工作流程图一、招标准备阶段在建筑工程招标工作开始之前,需要进行一系列的准备工作,确保招标过程的顺利进行。
以下是建筑工程招标招标准备阶段的工作流程:1. 确定招标方式根据招标项目的性质和规模,确定适合的招标方式,常见的招标方式有公开招标、邀请招标和竞争性谈判等。
2. 编制招标文件招标文件是招标过程中的重要文件,包括招标公告、招标文件、技术规范、合同草案等。
编制招标文件需要明确工程的范围、要求和标准,确保投标人能够准确理解招标项目的需求。
3. 发布招标公告根据招标方式,发布招标公告,公告内容包括项目名称、招标方式、投标截止时间等。
公告可以通过媒体、招标网站等渠道发布,以吸引潜在的投标人参与。
4. 筛选投标人资格根据招标文件要求,对投标人进行资格审查,确保其具备相应的资质和经验。
资格审查包括查看投标人的注册资格、工程业绩、信誉记录等。
5. 签发招标文件将编制好的招标文件发放给符合资格要求的投标人,确保他们能够准确了解招标项目的要求。
二、投标阶段经过招标准备阶段的工作,进入了投标阶段。
以下是建筑工程招标投标阶段的工作流程:1. 投标准备投标人在投标前需要进行一系列的准备工作,包括仔细阅读招标文件、了解工程要求、编制投标书等。
投标人还需要考虑工期、造价、技术方案等因素,以确定最终的投标策略。
2. 编制投标书投标书是投标人向招标方提交的正式文件,包括投标函、技术方案、施工组织设计、报价单等。
投标书需要按照招标文件的要求进行编制,确保投标人的方案能够满足工程需求。
3. 递交投标文件投标人按照招标文件要求的时间和地点,递交投标文件给招标方。
投标文件通常需要密封,并在封面上标明投标人的名称和投标截止时间等信息。
4. 开标开标是指招标方在规定的时间和地点,公开拆开投标人递交的投标文件,并记录相关信息。
开标过程需要有招标方的代表和投标人的代表共同参与,确保公开、公正、公平的原则。
建设工程施工招标流程图一、概述建设工程施工招标是指根据招标法规定,通过公开竞争的方式选择最合适的施工单位进行工程建设的过程。
本文将详细介绍建设工程施工招标的流程图及各个环节的具体内容。
二、流程图以下是建设工程施工招标的流程图:1. 编制招标文件招标人根据工程的具体要求和招标法规定,编制招标文件。
招标文件包括招标公告、招标文件、技术规范、合同样本等。
2. 发布招标公告招标人通过各种途径发布招标公告,包括媒体发布、网站公告等。
招标公告应包含工程的基本信息、投标要求、开标时间和地点等。
3. 资格预审投标人按照招标文件的要求,提交资格预审文件。
招标人组织专家对资格预审文件进行评审,确定符合资格的投标人名单。
4. 发放招标文件招标人将招标文件发放给符合资格的投标人,并收取一定的文件费用。
5. 投标准备投标人根据招标文件的要求,准备投标文件。
投标文件包括技术方案、施工组织设计、施工进度计划、人员配置、材料供应计划等。
6. 投标递交投标人将投标文件按要求递交给招标人,包括纸质文件和电子文件。
7. 开标开标是指招标人在规定的时间和地点,公开拆开投标文件,并记录投标人的基本信息。
8. 评标招标人组织评标委员会对投标文件进行评审,根据技术方案、施工能力、价格等因素进行综合评定。
9. 中标公示招标人根据评标结果,公示中标单位的名称,并公布中标结果。
10. 中标通知招标人将中标通知书发送给中标单位,并与中标单位进行合同谈判。
11. 签订合同招标人与中标单位签订施工合同,明确工程的具体要求、工期、质量标准、支付方式等。
12. 施工管理中标单位按照合同的要求,进行施工管理和监督,确保工程按时、按质量完成。
13. 工程验收工程竣工后,招标人组织专家对工程进行验收,确认工程达到规定的质量标准。
14. 支付结算招标人根据合同约定,按照工程的进度和质量完成情况,支付中标单位相应的工程款项。
15. 完工验收招标人组织终验收,确认工程完工,并进行最终结算。
建设工程招标流程图___ 行业主管部门现场监督___注1:涉及当局性资金的工程须颠末此流程。
注2:重大建设工程同时报区开展和鼎新局存案,以行业主管部分为招标人的工程由区招标办审核存案。
工作内容打点部分建设工程工程报建———→建设行政主管部分或招标打点机构↓审查建设单元资质—————————→招标打点机构审查↓招标申请————————→招标打点机构审查↓资格预审文件、招标文件的编制与送审—————→招标打点机构审查↓工程标底价格的编制↓登载资审布告、招标布告↓资格预审———————————→招标打点机构审查↓发放招标文件↓勘察现场↓招标预备会——————————→招标打点机构监督↓投标文件的编制递交↓工程标底价格的报审————————→招标打点机构审定↓开标——————↓评标—————→招打点机构全过程监督↓中标——————↓合同签订一、建设工程工程报建1.建设工程工程的立项批准文件或年报投资方案下达后,按照工程建设工程报建打点方法规定具备条件的,须向建设行政主管部分报建存案。
2.建设工程工程报建工程报建范围:各类房建筑〔包罗新建、改建、扩建、翻建、大修等〕、土木工程〔包罗:道路、桥梁、房屋根底打桩〕,设备安装、管道线路敷设、装设、装饰装修等建设工程。
3.建设工程工程报建内容主要包罗:工程名称、建设地址、投资规模、资金来源、当年投资额、工程规模、布局类型、发包方式、方案开竣工日期、工程筹建情况等。
4.打点工程报建时应交验的文件资料:4.1 立项批准文件或年度投资方案;4.2 固定资产投资许可证;4.3 建设工程规划许可证;4.4 资金证明。
5.工程报建程序:建设单元填写统一格式的“工程建设工程报建登记表〞〔附件一〕,有关上级主管门的需经其批准同意后,连同应交验的文件资料一并报建设行政主管部分。
* 建设工程工程报建存案后,具备了工程建设施工招标投标打点方法中规定招标条件的建设工程工程,可开始打点建设单元资质审查。
建造工程招标招标工作流程图建造工程招标工作流程图一、招标准备阶段在建造工程招标工作开始前,需要进行一系列的准备工作,确保招标过程的顺利进行。
1.1 确定招标目标和需求在这一阶段,需要明确招标的目标和需求,包括工程的规模、类型、技术要求、工期等。
同时,还要确定招标的范围,确定需要招标的分包工程或者专业。
1.2 编制招标文件根据招标目标和需求,编制招标文件。
招标文件包括招标公告、招标文件、技术规范、合同范本等。
招标文件需要详细说明工程的要求和标准,以及投标人需要提供的资格要求和文件。
1.3 确定招标方式根据工程的特点和招标的要求,确定招标的方式。
常见的招标方式包括公开招标、邀请招标、竞争性谈判等。
确定招标方式后,需要制定相应的招标策略和方案。
1.4 确定招标时间和地点根据工程的计划和进度,确定招标的时间和地点。
同时,还需要确定开标时间和地点,并通知相关的招标人和投标人。
二、招标公告发布阶段在招标准备阶段完成后,需要发布招标公告,邀请潜在的投标人参预招标。
2.1 招标公告发布招标人将招标公告发布在指定的媒体、网站或者平台上,以公开向社会各界宣布工程招标的信息。
招标公告需要包括工程的基本情况、招标方式、投标人资格要求、招标文件领取方式、开标时间和地点等重要信息。
2.2 招标文件领取潜在的投标人可以根据招标公告的要求,到指定的地点领取招标文件。
领取招标文件需要缴纳一定的文件费用,并提供相应的资格证明文件。
2.3 技术交流会议为了解投标人对工程的要求和技术细节,招标人可以组织技术交流会议,与投标人进行沟通和交流。
技术交流会议的内容应在招标文件中明确规定。
三、投标阶段在招标公告发布后,投标人可以准备投标文件,并在规定的时间和地点提交。
3.1 投标文件准备投标人根据招标文件的要求,准备投标文件。
投标文件包括投标函、技术方案、施工组织设计、施工进度计划、报价单等。
投标文件需要详细说明投标人的资质、经验、技术能力和报价等内容。
建设工程施工邀请招标程序流程图一、建设工程项目报建1、建设工程项目的立项批准文件或年度投资计划下达后,按照《工程建设项目报建管理办法》规定具备条件的,须向建设行政主管部门报建备案。
2、建设工程项目报建范围:各类房屋建筑(包括新建、改建、扩建、翻建、大修等)、土木工程(包括:道路、桥梁、房屋基础打桩)、设备安装、管道线路敷设、装饰装修等建设工程。
3、建设工程项目报建内容主要包括:工程名称、建设地点、投资规模、资金来源、当年投资额、工程规模、结构类型、发包方式、计划开竣工日期、工程筹建情况等。
4、办理工程报建时应交验的文件资料:4.1立项批准文件或年度投资计划;4.2固定资产投资许可证;4.3建设工程规划许可证;4.4资金证明。
5、工程报建程序:建设单位填写统一格式的“工程建设项目报建登记表”(附件一),有上级主管部门的需经其批准同意后,连同应交验的文件资料一并报建设行政主管部门。
*建设工程项目报建备案后,具备了《工程建设施工招标投标管理办法》中规定招标条件的建设工程项目,可开始办理建设单位资质审查。
二、审查建设单位资质1、建设单位办理招标应具备以下条件:1.1是法人、依法成立的其他组织;1.2有与招标工程相适应的经济、技术管理人员;1.3有组织编制招标文件的能力;1.4有审查投标单位资质的能力;1.5有组织开标、评标、定标的能力。
不具备上述1.2至1.5 项条件的建设单位,须委托具有相应资质的中介机构代理招标,建设单位与中介机构签订委托代理招标的协议,并报招标管理机构备案。
2、建设单位或中介机构以下称“招标单位”。
三、招标申请1、招标单位填写“建设工程施工招标申请表”(附件二),有上级主管部门的需经其批准同意后,连同“工程建设项目报建登记表”报招标管理机构审批。
招标申请表包括以下内容:工程名称、建设地点、招标建设规模、结构类型、招标范围、招标方式、要求施工企业等级、拟邀请的投标单位名称、施工前期准备情况(土地征用、拆迁情况、勘察设计情况、施工现场条件等)、招标机构组织情况等。
2、一般结构不太复杂及中小型工程应采用邀请招标。
3、采用邀请招标的,招标单位应对拟邀请参加投标的施工单位资格进行认真的审查,在招标申请表中填报选定的拟邀请投标的施工单位名称。
拟邀请投标的施工单位不应少于3 家。
*招标单位的招标申请得到招标管理机构批准同意后,可进行编制招标文件。
四、招标文件的编制与送审1、招标文件招标单位应根据工程项目的具体情况,参照《招标文件范本》编写招标文件,并报招标管理机构审查,同意后方可向邀请参加投标的施工单位发放。
招标文件应包括以下内容:1.1投标邀请书;1.2投标须知前附表和投标须知;1.3合同条件;1.4合同协议条款;1.5合同格式;1.6技术规范;1.7图纸;1.8投标文件参考格式:投标书及投标附录;工程量清单与报价表;辅助资料表。
2、招标文件部分内容编写说明2.1 评标原则和评标办法2.2投标价格2.2.1一般结构不复杂或工期在12个月以内的工程,可以采用固定的价格,考虑一定的风险系数。
2.2.2结构较复杂或大型工程,工期在12 个月以上,应采用调整价格。
价格的调整方法及调整范围应在招标文件中明确。
2.3投标价格计算依据在招标文件中应明确投标价格计算依据,主要有以下方面:2.3.1工程计价类别;2.3.2执行的定额标准及取费标准;2.3.3执行的人工、材料、机械设备政策性调整文件等;2.3.4材料、设备计价方法及采购、运输、保管的责任;2.3.5工程量清单。
2.4质量标准必须达到国家施工验收规范合格标准,对于要求质量达到优良标准的,应计取补偿费用,补偿费用的计算方法应按国家或地方有关文件规定执行,并在招标文件中明确。
2.5招标文件中的建设工期应参照国家或地方颁发的工期定额来确定,如果要求的工期比工期定额缩短20% 以上(含20%)的,应计算赶工措施费。
赶工措施费如何计取应在招标文件中明确。
2.6由于施工单位原因造成不能按合同工期竣工时,计取赶工措施费的须扣除,同时还应赔偿由于误工给建设单位带来的损失。
其损失费用的计算方法或规定应在招标文件中明确。
2.7如果建设单位要求按合同工期提前竣工交付使用,应考虑计取提前工期奖,提前工期奖的计算办法应在招标文件中明确。
2.8投标准备时间招标文件中应明确投标准备时间,即从开始发放招标文件之日起,至投标截止时间的期限。
招标单位根据工程项目的具体情况,确定投标准备时间为28 天以内。
2.9投标保证金2.9.1在招标文中应明确投标保证金数额,一般投标保证金数额不超过投标总价的2% 。
投标保证金可采用现金、支票、银行汇票。
也可以是银行出具的银行保函。
2.9.2投标保证金的有效期应超过投标有效期的28 天。
2.10履约担保中标单位应按规定向招标单位提交履约担保,履约担保可采用银行保函或履约担保书。
履约担保比率为:2.10.1银行出具的银行保函为合同价格的5% ;2.10.2履约担保书为合同价格的10% 。
2.11投标有效期投标有效期的确定应视工程情况而定,结构不太复杂的中小型工程的投标有效期可定为2 8 天以内;结构复杂的大型工程投标有效期可定为56 天以内。
2.12材料或设备采购供应材料或设备采购、运输、保管的责任应在招标文件中明确,如建设单位提供材料或设备,应列明材料或设备名称、品种或型号、数量,及提供日期和交货地点等;还应在招标文件中明确招标单位提供的材料或设备计价和结算退款的方法。
2.13工程量清单招标单位按国家颁布的统一工程项目划分,统一计量单位和统一的工程量计算规则,根据施工图纸计算工程量,提供给投标单位作为投标报价的基础。
结算拨付工程款时以实际工程量为依据。
2.14合同协议条款的编写招标单位在编制招标文件时,应根据《中华人民共和国经济合同法》、《建设工程施工合同管理办法》的规定和工程具体情况确定“招标文件合同协议条款”内容:2.14.1在编写招标文件时,应依据有关法律、法规及国家对建筑市场管理的有关规定,结合建设工程项目的具体情况,并依据“招标文件合同条件”中应条款的规定,编写招标文件中“合同协议条款”的具体内容。
2.14.2投标单位在编制“投标文件”时,应认真考虑“招标文件合同协议条款”中对工程具体要求的规定。
并在投标文件中明确对“合同协议条款”内容的响应。
2.14.3建设单位与中标单位双方应按招标文件中提供的“合同协议书格式”签订合同。
*招标文件经招标管理机构审查同意后,招标单位可向具有承担本合同工程施工能力的施工单位发出投标邀请书。
五、发出投标邀请书1、发出“投标邀请书”招标单位可通过建设工程交易中心发布信息;向有能力承担本合同工程的施工单位发出投标邀请书。
投标邀请书格式见(附件三)。
2、收到投标邀请书的施工单位应于7 月内以书面形式进行确认,说明是否愿意参加投标。
六、工程标底价格的编制1、工程标底价格的编制程序当招标文件中的商务条款一经确定,即可进入标底价格编制价段。
1.1确定标底价格的编制单位标底价格由招标单位自行编制或委托经建设行政主管部门批准具有编制标底价格资格和能力的中介机构代理编制。
1.2提供以下资料1.2.1全套施工图纸及现场地质、水文、地上情况的有关资料;1.2.2招标文件;1.2.3领取标底价格计算书、报审的有关表格;1.3参加交底会及现场勘查标底价格编、审人员均应参加施工图交底、施工方案交底以及现场勘查、投标预备会,便于标底价格的编、审工作。
1.4标底价格的编制标底价格编制人员应严格按照国家的有关政策、规定,科学公正的编制标底价格。
2、标底价格的编制原则2.1根据国家公布的统一工程项目划分、统一计量单位、统一计算规则以及施工图纸、招标文件、并参照国家制订的基础定额和国家、行业、地方规定的技术标准规范,以及要素市场的价格确定工程量和编制标底价格。
2.2标底价格的计价内容、计价依据应与招标文件的规定完全一致。
2.3标底价格价格作为招标单位的期望计划价,应力求与市场的实际变化吻合,要有利于竞争和保证工程质量。
2.4标底价格应由成本、利润、税金等组成,一般应控制在批准的总概算(或修正概算)及投资包干的限额内。
2.5一个工程只能编制一个标底价格。
3、标底价格的编制依据3.1招标文件的商务条款。
3.2工程施工图纸、工程量计算规则。
3.3施工现场地质、水文、地上情况的有关资料。
3.4施工方案或施工组织设计。
3.5现行工程预算定额、工期定额、工程项目计价类别及取费标准、国家或地方有关价可知调整文件规定等。
3.6招标时建筑安装材料及设备的市场价格。
4、标底价格的计价方法及组成内容根据我国现行的工程造价计算方法又考虑到与国际惯例靠拢,所以在工程量清单的配价上采用以下两种方法:4.1.1工料单价:工程量清单的单价,按照现行预算定额的工、料、机消耗标准及预算价格确定。
其他直接费、间接费、利润、材料计划内调价、材料差价、税金等按现行的计算方法计取列入其他相应标底价格计算表中。
4.1.2综合单价:工程量清单的单价综合了直接费、间接费、工程取费、有关文件规定的调价、材料差价、利润、税金、风险等一切费用。
4.1.3工程量清单的配价方法可以采用工料单价或综合单价,应在招标文件中明确。
4. 2标底价格的组成内容4.2.1标底价格的综合编制说明:4.2.2标底价格审定书、标底价格计算书、带有价格的工程量清单、现场因素、各种施工措施费的测算明细以及采用固定价格工程的风险系数测算明细等;4.2.3主要材料用量;4.2.4标底附件:如各项交底纪要、各种材料及设备的价格的来源、现场的地质、水文、地上情况的有关资料、编制标底价格所依据的施工方案或施工组织设计等。
七、发放招标文件1、招标文件、图纸和有关技术资料发放给被邀请的,并且愿意参加投标的投标单。
投标单位收到招标文件、图纸和有关资料后,应认真核对,核对无误后应以书面形式予以确认。
2、招标单位对招标文件所做的任何修改或补充,须报招标管理机构审查同意后,在投标截止日期之前,同时发给所有获得招标文件的投标单位,投标单位应以书面形式予以确认。
3、修改或补充文件做为招标文件的组成部分,对投标单位起约束作用。
4、投标单位收到招标文件后,若有疑问或不清的问题需澄清解释,应在收到招标文件后7 日内以书面形式向招标单位提出,招标单位应以书面形式或投标预备会形式予以解答。
八、勘察现场1、招标单位组织投标单位进行勘察现场的目的在于了解工程场地和周围环境情况,以获取投标单位认为有必要的信息。
为便于投标单位提出问题并得到解答,勘察现场一般安排在投标预备会的前1 ~2天。
2、投标单位在勘察现场中如有疑问问题,应在投标预备会前以书面形式向招标单位提出,但应给招标单位留有解答时间。
3、招标单位应向投标单位介绍有关现场的以下情况:3.1施工现场是否达到招标文件规定的条件;3.2施工现场的地理位置和地形、地貌;3.3施工现场的地质、土质、地下水位、水文等情况;3.4施工现场气候条件,如气温、湿度、风力、年雨雪量等;3.5现场环境,如交通、饮水、污水排放、生活用电、通信等;3.6工程在施工现场中的位置或布置;3.7临时用地、临时设施搭建等。