基层党支部党务工作流程图-共14项
- 格式:doc
- 大小:166.50 KB
- 文档页数:16
19项基层党建工作流程图
1、基层党组织组建流程图
2、基层党组织换届(改选)流程图
3、支部党员大会流程图
4、支部委员会会议流程图
5、党小组会议流程图
6、党课教育流程图
7、民主评议党员流程图
8、党务公开流程图
9、发展党员流程图
10、党员日常管理工作流程图
11、无职党员设岗定责流程图
12、流动党员管理流程图
13、不合格党员处置流程图
14、党员联系和服务群众工作流程图
15、村党支部“两推一选”(公推直选)流程图
16、四议两公开流程图四议程序
两公开程序
17、党员组织关系接转工作流程图
18、党组(党委)民主生活会流程图
精彩文档
19、党员群众服务中心工作流程图。
党支部经常性工作程序图表1、召开支部党员大会的一般程序2、召开党支部委员会的一般程序3、支部委员民主生活会一般程序注:支委民主生活会、党员民主生活会一般每半年一次;支委要过好双重民主生活。
4、党支部换届选举工作程序5、民主评议党员工作程序6、评选优秀党员工作程序1、党支部进行评优动员2、个人准备总结材料3、党小组组织党员交流4、党支部汇总党小组意见5、将支部建议返回小组6、召开支部党员大会7、将评优情况报上级党组织 8、接受上级党组织考察 9、材料归档7、处置不合格党员工作程序1、确定不合格党员条件 2、查清事实,提出处置建议 3、支委会研究4、召开支部党员大会5、报上级党组织审批或备案6、做好相关工作8、发展党员工作程序9、党课教育程序1、党支部制订计划2、授课人准备教案3、党支部组织授课4、党支部进行考试5、党支部有关材料归档10、党支部思想政治工作程序1、党支部建立过硬的队伍2、党支部、党小组及时发现问题3、思想政治工作者弄清思想情况4、思想政治工作者如何向党支部汇报7、党支部、党小组对群众进行重点教育8、党支部、党小组正确解决思想问题9、党支部总结推广经验11、处分违纪党员程序1、党支部进行调查核实2、党支部草拟决定3、党支部将处分决定和事实材料4、党支部让违纪党员当事人在处分同当事人见面 材料上签署意见5、党支部召开支部大会6、党支部整理材料上报7、上级党委或纪委批复 8、党支部宣布执行12、讨论处分违纪党员支部大会程序1、会议主持人说明大会内容2、纪检委员介绍违纪党员的错误事实及支委会意见3、听取违纪党员当事人申辩4、党员讨论发言5、党员进行表决6、党员大会形成决定。
党支部基本工作流程图××××××厅20××年××月××日目录党支部党员大会 (3)党支部委员会 (4)党小组会 (5)党课 (6)组织生活会 (7)民主评议党员工作 (8)发展党员工作 (9)谈心谈话 (10)党支部委员会换届选举 (11)党日活动 (12)党费收缴 (13)党支部党员大会做好会前准备召开支部党员大会做好会后工作支委会确定议题、时间将议题、时间和要求通知全体党员 支委会准备决议或决定的初步意见和方案统计到会人数,宣布会议是否有效提出议题, 展开讨论对相关议题表决,形成决议 做好会议 记录必要时报告上级党组织 会议记录 整理归档党支部委员会35会前准备会议记录 整理归档分工贯彻 落实决议必要时向上级党组织汇报做好记录开会会后工作根据实际确定议题、时间 通知各委员 提前准备 准备初步意见 或方案宣布议题 展开讨论 形成决议明确分工党小组会形成结论明确分工 会议记录整理归案适时进行督促检查组织实施向党支部汇报统一思想展开讨论 宣布议题 重要问题听取意见提前通知党员做好准备客观分析党小组 情况与党支部沟通确定会议会后工作开会会前准备党课制定党课教育计划 做好记录适时讲评个别辅导组织讨论主题突出启发诱导解答疑难生动授课针对选题准备针对性强的 素材 统计人数通知全体党员课程安排编写教材,认真备课 确定内容,拟定提纲 课后工作上课课前准备组织生活会会后工作总结会议情况制定整改措施做好思想政治工作向上级党组织报告情况重点剖析,解决引导开展批评与自我批评组织学习统一思想定期检查整改情况征求意见相互谈心宣布议题提前通知,撰写简要对照检查材料深入调查,研究议题与上级党组织沟通开会会前准备民主评议党员工作对评议出的优秀党员进行表彰,处理不合格党员 综合分析,支委会提出评定意见有关材料整理归档向上级党组织报告情况相互评议自我评价党员准备评议材料组织动员学习教育制定实施方案评议后工作民主评议准备工作流程图7发展党员工作2.党组织派人谈话 16.上级党委派人谈话15.支部大会讨论14.填写入党志愿书13.上级党委预审 11.开展短期 集中培训 10.进行政治审查9.确定入党 介绍人8.上级党委备案7.确定发展对象6.培养教育 考察 5.指定培养联系人 4.上级党委备案五、预备党员的教育考察和转正四、预备党员的接收三、发展对象的确定和考察 12.支委会审查 3.推荐和确定入党积极分子 一、申请入党1.递交入党申请书 25.材料归档24.上级党委审批二、入党积极分子的确定和培养教育 23.支部大会讨论22.提出转正申请 21.继续教育考察20.入党宣誓19.编入党支部和党小组 18.再上一级党委组织部门备案17.上级党委审批流程图8谈心谈话总结填写谈话情况登记表并进行归档及时总结谈心的经验与不足针对不同情况采取措施,巩固谈心成观察谈心对象的情绪与表现恰当运用谈心情感,掌握谈心的语言艺术。
基层党建工作流程图1、基层党组织组建流程图
2、基层党组织换届(改选)流程图
3、支部党员大会流程图
4、支部委员会会议流程图
5、党小组会议流程图
6、党课教育流程图
7、民主评议党员流程图
8、创先争优活动流程图
9、党务公开流程图
10、发展党员流程图
11、党员日常管理工作流程图
12、无职党员设岗定责流程图
13、流动党员管理流程图
14、不合格党员处置流程图
15、党员联系和服务群众工作流程图
16、村党支部“两推一选”(公推直选)流程图
17、五议五公开流程图五议程序
五公开程序
18、推荐优秀团员作党的发展对象流程图
19、党员组织关系接转工作流程图
. 学习参考. 20、党组(党委)民主生活会流程图
.
21、
党员群众服务中心工作流程图。
基层党建工作流程图1、基层党组织组建流程图
2、基层党组织换届(改选)流程图
3、支部党员大会流程图
4、支部委员会会议流程图
5、党小组会议流程图
6、党课教育流程图
7、民主评议党员流程图
8、创先争优活动流程图
11、党员日常管理工作流程图
12、无职党员设岗定责流程图
13、流动党员管理流程图
14、不合格党员处置流程图
15、党员联系和服务群众工作流程图
16、村党支部“两推一选”(公推直选)流程图
17、五议五公开流程图五议程序
五公开程序
18、推荐优秀团员作党的发展对象流程图
19、党员组织关系接转工作流程图
—21 —
20、党组(党委)民主生活会流程图
—22 —
21、党员群众服务中心工作流程图
—23 —。
19项基层党建工作流程图
1、基层党组织组建流程图
2、基层党组织换届(改选)流程图
3、支部党员大会流程图
4、支部委员会会议流程图
5、党小组会议流程图
6、党课教育流程图
7、民主评议党员流程图
8、党务公开流程图
9、发展党员流程图
10、党员日常管理工作流程图
11、无职党员设岗定责流程图
12、流动党员管理流程图
13、不合格党员处置流程图
14、党员联系和服务群众工作流程图
15、村党支部“两推一选”(公推直选)流程图
16、四议两公开流程图四议程序
两公开程序
17、党员组织关系接转工作流程图
18、党组(党委)民主生活会流程图
文案大全
19、党员群众服务中心工作流程图。
党支部委员会会议程序
召开支部党员大会工作程序
党支部组织生活内容及要求
支委会向支部大会报告工作
支委民主生活会内容及程序
支委理论学习内容和要求
党员思想汇报的内容
民主评议党员工作程序及要求
党支部书记的工作内容
组织委员的工作内容及要求
宣传委员的工作内容和要求
贯彻上级指示的程序和要求
支部工作总结的步骤和程序
党小组会内容和工作程序
发展党员的步骤和工作程序
接收预备党员转和转正决议内容和程序
预备党员转正程序及要求
召开入党宣誓大会工作程序
接转党员组织关系的程序
交缴党费的程序和要求
党课教育的程序和要求
党务工作流程图目录
1、党支部委员会会议程序
2、召开支部党员大会工作程序
3、党支部组织生活内容及要求
4、支委会向支部大会报告工作程序
5、支委民主生活会内容及程序
6、支委理论学习内容及要求
7、党员思想汇报内容
8、民主评议党员工作程序及要求
9、党支部书记的工作内容
10、组织委员的工作内容及要求
11、宣传委员的工作内容及要求
12、贯彻上级指示的程序及要求
13、支部工作总记得步骤和程序
14、党小组会内容和程序
15、发展党员的步骤和工作程序
16、接受预备党员或转正决议的内容和程序
17、预备党员转正程序及要求
18、召开入党宣誓大会工作程序
19、接转组织关系的程序
20、缴交党费的程序及要求
21、党课教育的程序及要求。
基层党建工作流程图1、基层党组织组建流程图2、基层党组织换届(改选)流程图3、支部党员大会流程图4、支部委员会会议流程图5、党小组会议流程图6、党课教育流程图7、民主评议党员流程图8、创先争优活动流程图11、党员日常管理工作流程图12、无职党员设岗定责流程图13、流动党员管理流程图14、不合格党员处置流程图15、党员联系和服务群众工作流程图16、村党支部“两推一选”(公推直选)流程图17、五议五公开流程图五议程序五公开程序18、推荐优秀团员作党的发展对象流程图19、党员组织关系接转工作流程图—21 —20、党组(党委)民主生活会流程图—22 —— 23 —21、党员群众服务中心工作流程图合同管理制度本标准规定了龙腾公司合同管理工作的管理机构、职责、合同的授权委托、洽谈、承办、会签、订阅、履行和变更、终止及争议处理和合同管理的处罚、奖励;本标准适用于龙腾公司项目建设期间的各类合同管理工作,厂内各类合同的管理,厂内所属各具法人资格的部门,参照本标准执行。
《中华人民共和国合同法》《龙腾公司合同管理办法》定义、符号、缩略语 总经理:龙腾公司经营管理的法定代表人。
负责对厂内各类合同管理工作实行统一领导。
以法人代表名义或授权委托他人签订各类合法合同,并对电厂负责。
工程部:是发电厂建设施工安装等工程合同签订管理部门;负责签订管理基建、安装、人工技术的工程合同。
经营部:是合同签订管理部门,负责管理设备、材料、物资的订购合同。
合同管理部门履行以下职责:建立健全合同管理办法并逐步完善规范;参与合同的洽谈、起草、审查、签约、变更、解除以及合同的签证、公证、调解、诉讼等活动,全程跟踪和检查合同的履行质量;来人来电、问明事由直接办理流程咨询协调类流程 代办服务流程群众申请代办服务代办证件和其它事项群众提出直办事项群众来信来访及 诉求突发性事件群众咨询登记当事人交来资料、告知当事人补充资料和收费标准审阅、补充直办材料证件登 记依据政策解答履行出证、签字、盖章手续 现场解释、 说明、调解 登陆服务中心网站 或电话联系相关部门查找信息 村(社区)干部到乡镇服务大厅或部门办理告知当事人协调实情、通知当事人领取证件当事人领证签字记录代办结果交给群众办齐的材料证件 记录办理结果报告村(社区)领导和乡镇服务中心答复咨询、指导群众办事(证)记录答复处理结果—24 —。
基层党建21个流程图基层党建工作流程图1、基层党组织组建流程图党支部组建的程序包括以下几个步骤:1.提出建议方案,并报上级党委审批。
2.召开会酝酿方案。
3.向上级党委呈报方案请示。
4.进行选举教育。
5.酝酿、确定支委候选人。
6.酝酿、讨论选举办法。
7.制作选票。
8.宣布开会,清点到会人数。
9.通过选举办法。
10.召开会选举产生支部书记、副书记。
11.召开支部委员会,委员分工。
12.报请上级党委审批发文。
13.划分党小组,建立党员名册。
14.档案整理归档。
2、基层党组织换届(改选)流程图基层党组织换届(改选)的程序包括以下几个步骤:1.支委会议研究换届的日期、议程等有关事项;研究呈报换届方案。
2.第一次全体会议开幕,通过会议议程,党支部书记作工作报告。
3.党小组会议讨论工作报告,讨论选举办法,酝酿候选人。
4.支委会议听各党小组酝酿候选人情况汇报,确定候选人名单(含20%的差额),修改选举办法。
5.选举大会清点到会人数,通过选举办法,通过监票人,投票表决,宣布选举结果。
6.第一次支委会议选举产生支部书记、副书记,委员分工。
7.划分党小组,档案整理归档。
3、支部会流程图支部会的程序包括以下几个步骤:1.支委商讨确定大会的议题、时间、地点。
2.会前准备准备会议材料和会场。
3.会议通知向全体党员通知会议时间、地点。
4.会议开幕,宣布会议开幕,书记主题报告。
5.开展讨论,全体党员围绕会议议题开展讨论,阐述个人意见。
6.形成决议,书记提请与会党员表决,以少数服从多数的原则形成决议。
7.对会议记录进行整理归档,形成决议材料。
8.对研究讨论的重大事项形成文字,对可以公开的事项在一定范围内公示。
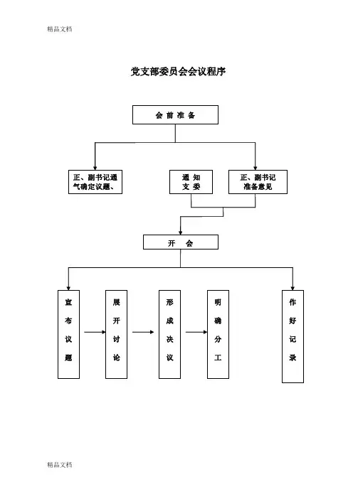
4、支部委员会会议流程图支部委员会会议的程序包括以下几个步骤:1.按照上级指示精神和本单位实际情况,书记确定议题。
2.会前沟通,时间、地点和议题通知各个委员。
3.展开讨论,围绕议题,充分发表自己的意见。
4.形成决议,在需要对议题形成决定,到会人数超过支委半数时,由支部书记提出表决,按少数服从多数的原则作出决定。
党支部委员会会议程序
召开支部党员大会工作程序
党支部组织生活内容及要求
支委会向支部大会报告工作
支委民主生活会内容及程序
支委理论学习内容和要求
党员思想汇报的内容
民主评议党员工作程序及要求
党支部书记的工作内容
组织委员的工作内容及要求
宣传委员的工作内容和要求
贯彻上级指示的程序和要求
支部工作总结的步骤和程序
党小组会内容和工作程序
发展党员的步骤和工作程序
接收预备党员转和转正决议内容和程序
预备党员转正程序及要求
召开入党宣誓大会工作程序
接转党员组织关系的程序
交缴党费的程序和要求
党课教育的程序和要求
党务工作流程图目录
1、党支部委员会会议程序
2、召开支部党员大会工作程序
3、党支部组织生活内容及要求
4、支委会向支部大会报告工作程序
5、支委民主生活会内容及程序
6、支委理论学习内容及要求
7、党员思想汇报内容
8、民主评议党员工作程序及要求
9、党支部书记的工作内容
10、组织委员的工作内容及要求
11、宣传委员的工作内容及要求
12、贯彻上级指示的程序及要求
13、支部工作总记得步骤和程序
14、党小组会内容和程序
15、发展党员的步骤和工作程序
16、接受预备党员或转正决议的内容和程序
17、预备党员转正程序及要求
18、召开入党宣誓大会工作程序
19、接转组织关系的程序
20、缴交党费的程序及要求
21、党课教育的程序及要求。
目录
召开党支部委员会会议程序图 (1)
召开党小组会程序图 (2)
上党课程序图 (3)
支委会向支部党员大会报告工作程序图 (4)
召开党支部委员民主生活会程序图 (5)
党员思想汇报程序图 (6)
民主评议党员程序图 (7)
支部委员换届选举程序图 (8)
发展党员工作程序图 (9)
举行入党宣誓仪式程序图 (10)
预备党员转正流程图 (11)
处置不合格党员程序图 (12)
党员鉴定程序图 (13)
交缴党费程序图 (14)
XXXXXX
召开党支部委员会会议程序图
召开党小组会程序图
上党课程序图
支委会向支部党员大会报告工作程序图
召开党支部委员民主生活会程序图
党员思想汇报程序图
民主评议党员程序图
注:民主评议党员,一般结合每年“七一”进行,也可以结合年终工作总结进行。
支部委员换届选举程序图
发展党员工作程序图
举行入党宣誓仪式程序图
预备党员转正程序图
处置不合格党员程序图
党员鉴定程序图
缴纳党费程序图
注:预备党员从支部大会通过其为预备党员之日起交纳党费。
对无正当理由连续六个月不交纳党费的,按自行脱党处理。