便民服务站流程图
- 格式:doc
- 大小:49.00 KB
- 文档页数:7
基层便民服务工作流程图
群众申办事项
楼院咨询
网格代办
社区
服务
中心
一口
受理
街道服务中心
归口办理
公共事务由楼院
议事会商议解决
解决
个人事务咨
询楼院长
解决
生活服务代办
行政事务代办
(对照服务手册)
联系社会组织负责人
组织志愿者直接办理
不符合代办条件
告知申请人到有关部门办理
符合代办条件的
送服务中心办理
资料不全的一次性告知
补正事项并发给告知单
不属于服务中心受理范围的
告知申请人到有关单位办理
即办件
承诺件
上报件
街道有关部门
区服务中心
审
批
反
馈
综
合
评
价
即时办理
按承诺时间程序办理
受理窗口报街道中心办理
手续齐全。
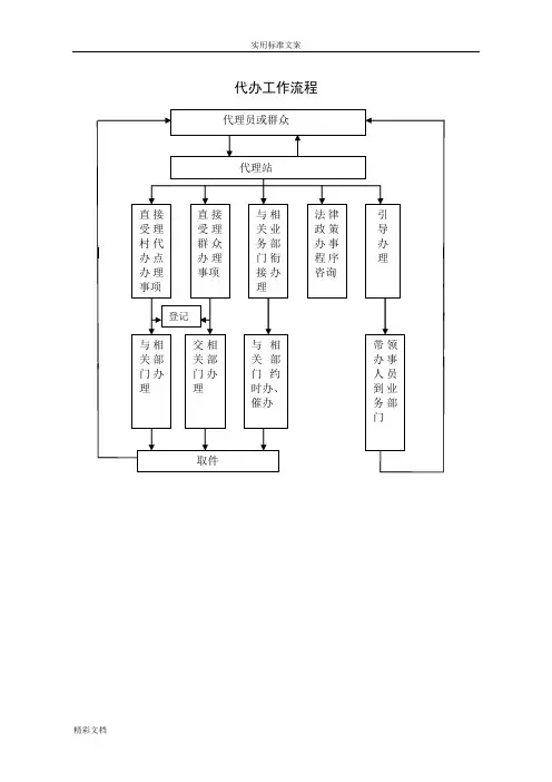
代办工作流程群众工作服务内容一、贯彻执行党的群众路线、方针、政策和上级部门对群众工作的新要求。
二、负责办理本辖区群众来信来访的接待、登记、承办、答复、协调衔接信访人反映问题有关工作。
三、承办上级交办和领导批示交办的信访案件,同时配合各办事处处理有关信访案件,调解民事纠纷,化解各类矛盾。
四、在镇党委、政府领导下负责处理本辖区越级上访、群体性及突发性事件。
五、负责收集、排查本辖区不稳定因素,按时向上级信访部门报告情况,为镇党委、政府当好群众工作参谋。
六、负责收集本辖区群众工作各类信息并及时处理。
七、按照上级信访部门和维稳部门的要求,抓好各类业务工作,按时按要求上报各类情况。
八、负责指导、协调督促各办事处、各村(居)抓好信访维稳工作。
九、承办镇党委、政府交办的其他工作。
工作流程计生事项服务内容一、开展人口与计划生育宣传,宣传邓小平人口理论和计划生育法律法规,引导群众少生优生快富奔小康。
二、贯彻执行《中华人民共和国人口与计划生育法》、《四川省人口与计划生育条例》,根据上级下达的目标任务结合实际拟定实施意见。
三、建立健全内部工作制度,依法行政,严格管理。
四、摸底调查、编报人口、指导各村(居)实行人口与计划生育村(居)民自治。
五、组织已婚育龄妇女接受“三查”,为落实节育措施对象提供优质服务。
六、严密组织对人口与计划生育工作的阶段和年终考核,坚持“一票否决”,奖惩逗硬。
七、加强对计划生育宣传技术服务站的管理,提高技术服务水平和质量。
八、完成镇党委政府和上级主管部门交办的其他工作任务。
工作流程劳动保障事项服务内容一、贯彻执行劳动保障工作方针政策、法律法规,开展劳动保障政策法规宣传和咨询。
二、组织开展辖区城乡劳动者职业培训、就业和再就业服务工作。
三、协助开展辖区内城乡居民基本养老、基本医疗、失业、工伤、生育保险经办服务工作。
四、协助开展辖区内农民工职业培训、农村富余劳动力转移和劳务输出。
工作流程零就业家庭申报认定业务流程 办理《再就业优惠证》业务流程 职介补贴业务流程小额担保贷款申办业务流程职业培训补贴申办业务流程申报公益性岗位补贴业务流程城镇失业人员《就业失业登记证》办理《再就业优惠证》年检业务流程(一)街道、区内外组织关系接转1、业务流程图2、工作内容及要求(1)申请申请人根据申请办理的业务内容提供相应的资料。
便民服务工作管理制度和流程图第一篇:便民服务工作管理制度和流程图便民服务工作管理制度首问负责制1、单位和个人到中心办事,第一个接待的工作人员为首问负责人。
2、首问责任人必须对前来办事的人员热情接待,主动了解办理事项,认真给予答复,不得推诿。
3、职责范围内的服务事项,若来访人手续完备,应限时办理;若手续不完备,应一次性告知来访人全部办理要求和所需的文书材料;对不属于自己职责范围内的事情,要介绍到相关窗口,直接落实具体接待人员。
4、如果相关窗口工作人员不在岗时,要做好登记,及时联系具体承办人员,确定办理时间、办理要求和联络方式。
5、违反本制度,依照过错责任追究的规定,追究有关直接责任人的责任。
一次性告知制度1、对服务对象,要一次性明确告知所办理或咨询的事项需要提交的有关材料、办理程序、承诺时限、收费标准和办事依据。
2、对于申报材料不齐需补办收件的事项,要一次性告知服务对象所需补充的有关材料。
3、对于联办件,牵头责任人对各联办部门要求提供的有关材料一次性告知服务对象。
4、对不符合批准条件作退回件办理的,以书面形式一次性告知退回的原因。
投诉制度1、便民服务中心办公室负责受理服务对象对中心工作人员的投诉。
2、投诉可采用口头、电话或书面形式。
涉及重大事项的投诉,应采用书面形式。
3、接待投诉者要礼貌、热情、诚恳,认真做好记录或登记,仔细分析材料,区别情况认真处理。
对投诉人及投诉事项予以保密。
4、中心对投诉行为调查核实后,按中心制度规定,对相关问题及负责人作出处理,并将处理意见及时反馈给投诉人。
5、口头投诉以口头答复为主。
书面投诉必须书面答复。
重大投诉事项应及时向“中心”领导和上级纪检部门汇报,按规定程序查处。
值班制度1、便民服务中心设立A、B岗,一般由村会计或者大学生村官兼任。
2、A、B岗工作人员必须安排好值班制度,确保周一至周日都有人在岗,方便群众办事。
3、对来中心办事的群众要热情接待,接受咨询,负责办理。
- 1 -页
岳西县为民服务全程代理流程图
申 请 人
乡镇为民服务中心
村为民服务中心
回 复
回 复
县政务服务中心窗口
在本级能够 办理的,予以办理
在本级不能 办理的,予以上报
属于受理范围、 资料齐全,受理
属于受理范围,但
资料不全,一次性 告知补正材料
不属于受理范围,告知向相关单位申请
回 复
回 复
为民服务中心即时办理事项登记表
序号申请人
姓名
住址联系方式申办事项
办件
来源
申办
日期
承办
部门
承办人
办理
结果
申请人
签字
- 2 -页
村(社区)为民服务中心全程代理事项转办登记表
序号
申办人申办事项
乡镇中心(部门)
接收登记
从乡镇中心(部门)
领回登记
姓名联系电话项目名称材料数
收费
金额
接收人
接收
日期
移交人领回人
领回
日期
- 3 -页。
代办工作流程群众工作服务内容一、贯彻执行党的群众路线、方针、政策和上级部门对群众工作的新要求。
二、负责办理本辖区群众来信来访的接待、登记、承办、答复、协调衔接信访人反映问题有关工作。
三、承办上级交办和领导批示交办的信访案件,同时配合各办事处处理有关信访案件,调解民事纠纷,化解各类矛盾。
四、在镇党委、政府领导下负责处理本辖区越级上访、群体性及突发性事件。
五、负责收集、排查本辖区不稳定因素,按时向上级信访部门报告情况,为镇党委、政府当好群众工作参谋。
六、负责收集本辖区群众工作各类信息并及时处理。
七、按照上级信访部门和维稳部门的要求,抓好各类业务工作,按时按要求上报各类情况。
八、负责指导、协调督促各办事处、各村(居)抓好信访维稳工作。
九、承办镇党委、政府交办的其他工作。
工作流程计生事项服务内容一、开展人口与计划生育宣传,宣传邓小平人口理论和计划生育法律法规,引导群众少生优生快富奔小康。
二、贯彻执行《中华人民共和国人口与计划生育法》、《四川省人口与计划生育条例》,根据上级下达的目标任务结合实际拟定实施意见。
三、建立健全内部工作制度,依法行政,严格管理。
四、摸底调查、编报人口、指导各村(居)实行人口与计划生育村(居)民自治。
五、组织已婚育龄妇女接受“三查”,为落实节育措施对象提供优质服务。
六、严密组织对人口与计划生育工作的阶段和年终考核,坚持“一票否决”,奖惩逗硬。
七、加强对计划生育宣传技术服务站的管理,提高技术服务水平和质量。
八、完成镇党委政府和上级主管部门交办的其他工作任务。
工作流程劳动保障事项服务内容一、贯彻执行劳动保障工作方针政策、法律法规,开展劳动保障政策法规宣传和咨询。
二、组织开展辖区城乡劳动者职业培训、就业和再就业服务工作。
三、协助开展辖区内城乡居民基本养老、基本医疗、失业、工伤、生育保险经办服务工作。
四、协助开展辖区内农民工职业培训、农村富余劳动力转移和劳务输出。
工作流程零就业家庭申报认定业务流程 办理《再就业优惠证》业务流程 职介补贴业务流程小额担保贷款申办业务流程职业培训补贴申办业务流程申报公益性岗位补贴业务流程城镇失业人员《就业失业登记证》办理《再就业优惠证》年检业务流程(一)街道、区内外组织关系接转1、业务流程图2、工作内容及要求(1)申请申请人根据申请办理的业务内容提供相应的资料。
社区便民服务站操作流程下载温馨提示:该文档是我店铺精心编制而成,希望大家下载以后,能够帮助大家解决实际的问题。
文档下载后可定制随意修改,请根据实际需要进行相应的调整和使用,谢谢!并且,本店铺为大家提供各种各样类型的实用资料,如教育随笔、日记赏析、句子摘抄、古诗大全、经典美文、话题作文、工作总结、词语解析、文案摘录、其他资料等等,如想了解不同资料格式和写法,敬请关注!Download tips: This document is carefully compiled by theeditor.I hope that after you download them,they can help yousolve practical problems. The document can be customized andmodified after downloading,please adjust and use it according toactual needs, thank you!In addition, our shop provides you with various types ofpractical materials,such as educational essays, diaryappreciation,sentence excerpts,ancient poems,classic articles,topic composition,work summary,word parsing,copy excerpts,other materials and so on,want to know different data formats andwriting methods,please pay attention!社区便民服务站操作流程一、服务项目了解1.1 熟悉服务项目1.1.1 了解便民服务站提供的服务项目,如快递收发、充值缴费、生活用品购买等二、服务对象接待2.1 接待服务对象2.1.1 对进入便民服务站的居民进行接待,提供热情周到的服务2.2 询问服务需求2.2.1 了解居民的服务需求,以便提供针对性的服务三、服务项目操作3.1 办理服务项目3.1.1 根据居民的服务需求,办理相应的服务项目3.2 记录服务过程3.2.1 对服务过程进行记录,确保服务可追溯性四、服务满意度调查4.1 调查满意度4.1.1 了解居民对服务的满意度,以便进行服务改进4.2 收集反馈意见4.2.1 收集居民对服务的反馈意见,以便进行服务改进五、服务项目宣传5.1 制作宣传材料5.1.1 制作便民服务站的服务项目宣传材料,提高居民对服务的认知度5.2 宣传服务项目5.2.1 通过社区公告栏、社交媒体等方式,宣传便民服务站的服务项目六、设备与物资管理6.1 设备维护6.1.1 对便民服务站的设备进行定期维护,确保设备正常运行6.2 物资管理6.2.1 对便民服务站的服务物资进行管理,确保物资充足和质量七、人员培训与考核7.1 培训员工7.1.1 对便民服务站的员工进行培训,提高员工的服务水平7.2 考核员工7.2.1 对员工的服务质量和态度进行考核,确保服务质量八、服务项目优化与改进8.1 分析服务问题8.1.1 分析服务过程中出现的问题,以便进行服务改进8.2 制定改进措施8.2.1 根据分析结果,制定服务项目的改进措施,提高服务质量。
便民服务中心流程图信访服务中心工作流程出师表两汉:诸葛亮先帝创业未半而中道崩殂,今天下三分,益州疲弊,此诚危急存亡之秋也。
然侍卫之臣不懈于内,忠志之士忘身于外者,盖追先帝之殊遇,欲报之于陛下也。
诚宜开张圣听,以光先帝遗德,恢弘志士之气,不宜妄自菲薄,引喻失义,以塞忠谏之路也。
宫中府中,俱为一体;陟罚臧否,不宜异同。
若有作奸犯科及为忠善者,宜付有司论其刑赏,以昭陛下平明之理;不宜偏私,使内外异法也。
侍中、侍郎郭攸之、费祎、董允等,此皆良实,志虑忠纯,是以先帝简拔以遗陛下:愚以为宫中之事,事无大小,悉以咨之,然后施行,必能裨补阙漏,有所广益。
将军向宠,性行淑均,晓畅军事,试用于昔日,先帝称之曰“能”,是以众议举宠为督:愚以为营中之事,悉以咨之,必能使行阵和睦,优劣得所。
亲贤臣,远小人,此先汉所以兴隆也;亲小人,远贤臣,此后汉所以倾颓也。
先帝在时,每与臣论此事,未尝不叹息痛恨于桓、灵也。
侍中、尚书、长史、参军,此悉贞良死节之臣,愿陛下亲之、信之,则汉室之隆,可计日而待也。
臣本布衣,躬耕于南阳,苟全性命于乱世,不求闻达于诸侯。
先帝不以臣卑鄙,猥自枉屈,三顾臣于草庐之中,咨臣以当世之事,由是感激,遂许先帝以驱驰。
后值倾覆,受任于败军之际,奉命于危难之间,尔来二十有一年矣。
先帝知臣谨慎,故临崩寄臣以大事也。
受命以来,夙夜忧叹,恐托付不效,以伤先帝之明;故五月渡泸,深入不毛。
今南方已定,兵甲已足,当奖率三军,北定中原,庶竭驽钝,攘除奸凶,兴复汉室,还于旧都。
此臣所以报先帝而忠陛下之职分也。
至于斟酌损益,进尽忠言,则攸之、祎、允之任也。
愿陛下托臣以讨贼兴复之效,不效,则治臣之罪,以告先帝之灵。
若无兴德之言,则责攸之、祎、允等之慢,以彰其咎;陛下亦宜自谋,以咨诹善道,察纳雅言,深追先帝遗诏。
臣不胜受恩感激。
今当远离,临表涕零,不知所言。
便民服务中心工作流程便民服务中心工作流程一、告知1、服务部门按照中心规定的统一格式印制《服务指南》及明白纸,并摆放在窗口的显要位置,供申办人查询。
2、《服务指南》及明白纸的告知内容包括:申办事项名称、申办程序、提交材料、办理时限、收费标准及依据、联系电话。
3、申办人要求对申办事项的有关内容等予以解释的,工作人员应当耐心解释,不得拒绝。
二、受理1、工作人员受理申办事项后,打印《受理通知书》交服务对象。
2、受理通知书包括以下内容:受理编号;申办方姓名、名称;申办方联系人及联系电话;申办事项名称;受理时间;承诺办理时间;补办、退回原因;需补充说明内容;参与联办单位;3、申办事项涉及两个以上部门的,由中心负责协调,确定牵头部门。
4、申办人提交的材料不全或不符合要求的,工作人员一次性告知申办人需要补齐或补正的全部材料,并打印或填写《补办通知书》。
申办人补齐或补正材料之日为该申办事项正式受理之日。
5、属国家明令禁止和不符合国家政策的事项,不予办理,并打印或填写《退回件通知书》,当面交付申办人,明确告知不予办理的原因。
三、办理对纳入的办理事项,根据不同情况,按即办件、承诺件、上报件、联办件、补办件、退回件管理。
1、程序简便、资料齐全、符合规定,可当场或当天办结的一般性事项,均属即办件,实行即收即办,基本程序为:申办人按规定提交材料及相关资料;工作人员受理并对提交材料进行审查;工作人员根据审查情况当即予以办理。
2、一个部门负责办理,但程序较为复杂、不能即时办结,需要现场勘察或当天不能办结的申办事项, 均属承诺件,实行限时承诺办理。
基本程序为:申办人按规定提交材料及相关资料;工作人员受理后,填写《承诺件通知书》,交申办人;在承诺时限内组织审核或勘察,根据审核或勘察情况,进行办理。
3、须经街道主要领导或上级主管部门审批的申办事项,属上报件。
基本程序为:申办人按规定提交申请材料及相关资料;工作人员受理后,对申办材料进行初审,同时,填写《上报件通知书》,交申办人;在承诺时限上报主要领导或主管部门,并积极与主要领导或上级主管部门联系,主要领导或上级部门批准后,及时通知申办人来取件。
一、登录插入已绑定 UKEY 证书,在 IE 中输入 https://211.156.219.88/pcpost 或已设置自动打开 https://211.156.219.88/pcpost,选择证书文件,点“确定”,进入系统登录界面。
输入 8 位数字的管理机构代码;4 位字母加数字的操作员号;6 位数字的密码,登录。
二、卡折充值充值业务—卡折充值—输入金额—提交。
注意:在进行交易前,要先进行卡折充值,确保便民服务站系统账户有相应额度(即余额),加盟商在额度内做交易。
三、缴费业务(一)移动业务:移动业务—移动查询缴费—输入移动手机—核对用户信息—输入缴费金额—提交—打印发票移动业务—移动撤销缴费—输入缴费手机号、原交易流水号、交易金额—提交注意:1、只能缴XX市当地的手机号。
2、缴费金额不能低于欠费金额。
3、便民服务站打印的发票不可报销,如需要报销的客户,可持便民服务打印的小票到邮政网点打印发票。
(二)电费业务电力业务—电力查询缴费—输入用户编号(户号)—核对用户信息—输入缴费金额—提交—打印发票电力业务—移动撤销缴费—输入用户编号、原交易流水号、交易金额—提交注意:只能缴各个地方的电费,市区不可代收各县的电费,各县之间也不可相互代收。
四、综合管理(一)柜员扎账普通柜员进行该柜员当天各类业务的收款金额的汇总查询,一天之内可进行多次扎账。
综合管理—柜员扎账。
注意:无打印功能(二)网点扎账综合柜员汇总查询本网点当天的业务,通过网点扎账形成的网点扎账单确认网点各营业人员的营业款是否与网点扎账数据相符。
综合管理—网点扎账(三)柜员营业日报普通柜员进行本柜员营业日报的查询,可汇总显示该柜员当天各类业务的营业日报。
柜员在一日内可进行多次营业日报的查询。
综合管理—柜员营业日报—选择柜员—点击“查询”。
(四)网点营业日报网点综合柜员查询打印当日本网点的营业交易情况,营业日报按业务种类进行汇总统计,营业日报同时提供打印功能。
附件:1附件:2社区服务中心工作流程图附件:3社区服务中心工作职责1、综治警务服务职责:做好区域内综治警务、司法调解、信访接待等工作,积极开展平安创建活动,督促村规民约的执行,维护区域内的社会稳定。
2、城管服务职责:做好区域内城管工作,秉公办事、廉洁勤政,自觉接受群众监督,加强社区管理力度。
3、外来人口管理职责:做好区域内外来人口登记办证、信息维护等工作,时刻掌握外来人口的动态状况。
4、劳动保障服务职责:做好区域内劳动保障、职业推介工作,采集就业岗位信息,努力做好职业介绍、就业援助、培训引导、用工登记、劳动合同签证等一系列就业和再就业服务工作;全面了解和掌握享受社会保险(障)待遇人员的动态状况和变化情况,并及时向有关部门报送变动信息。
5、民政帮扶工作职责:做好区域内民政帮扶、慈善、残联等工作,组织、落实社会救助工作和社会帮困活动。
6、文体教育工作职责:做好区域内群众性文化、教育、体育等工作,组织社区成员开展丰富多彩的群众文化、教育和体育活动,提高广大社区成员的综合素质,营造温馨祥和的社区氛围。
7、计划生育工作职责:做好区域内的计划生育管理和服务工作,开展经常性的有关计划生育工作的宣传教育。
建立健全辖区内婚育龄妇女信息档案,加强流动人口计划生育管理,努力创建优质服务先进村。
8、环境卫生和保洁工作职责:做好区域内环境卫生、绿化、动态保洁等工作,保持村容村貌整洁,保障群众身体健康。
9、社区建设工作职责:做好区域内土地管理和规划、建房审批等工作,配合上级部门督促农村(社区)合法、合理地利用土地。
10、资料汇编、档案管理工作职责:做好各类档案和资料的汇编、整理,信息网络维护等工作,使各类资料、信息储存有序、便于利用。
附件:4社区服务中心主任岗位职责1、全面负责社区服务中心的工作,主持服务中心的日常工作。
2、贯彻落实党的路线、方针、政策,组织工作人员理论、业务学习,不断提高工作人员的政治思想、业务素质。
3、组织拟定社区服务中心工作计划,落实工作任务。
1.灵川镇下尾村便民服务站
2.灵川镇便民服务站办事指南
(一)农村低保申请和审批(二)灾民救助款领取
二、办理需要提供材料:
1、出院小结;
2、疾病证明书;
3、住院发票;
4、医嘱单复印件;
5、住院费用汇总清单或处方复印件;
6、区级以上或区外住院治疗的需提供转院证明;
7、新型农村合作医疗证;
8、本人身份证或户口簿。
三、办结时限:以区合医中心审批时间为准。
注:灵川镇合作医疗报账中心设在灵川镇卫生院
(六)农村村民住宅用地与建设办理
一、办理程序:
1、申请人身份证复印件两份;
2、家庭户口簿正本及复印件两份(申报表中各成员);
3、旧房集体土地使用证正本及复印件两份,若集体土地使用证得权属人与申请人不同的,应提供关系证明(村委会盖章)及转让协议书;
4、经村委会盖章的公示证明(应在村务公开栏中公开七天,属翻建的公示内容中应含有:“该户审批后只有此一处住宅”;属新建的公示内容中应含有“拟建房地点、四邻位置、该户审批后只有此一处住宅”等内容);
5、四邻无争议证明,除非在村委会审批意见栏中已写明“四邻无争议”;
6、翻建的提供旧房原始照片两张,新建的提供拟新建位置处原始照片一张;
7、若在别人田地或购买地上建房的,要提供书面土地转让协议书,村委会盖章。
在呈报时,应事先告知,不得隐瞒。
三、办理期限
1、村委会:7个工作日或依法召开村民代表会议15个工作日内审核。
2、镇村镇规划建设服务中心与国土资源所:5个工作日内实地踏勘审查,3个工作日内划定红线图,共8个工作日内办结。
3、镇人民政府审核:5个工作日内审核。
4、翻建的,送区建设局、区国土资源分局备案:2个工作日办理。
5、新建的,先送区建设局审批:5个工作日内审批;后送区国土资源分局审批:5个工作日内审批;再送区人民政府签署意见:5个工作日内签署。
6、镇人民政府核发建设许可证并组织放样划定四至范围:1个工作日办结。
七、一孩《生育服务证》领取
一、办理程序:
二、提供材料:
1
2、结婚证及复印件;
3、夫妻二寸合照免冠相片一张;
4、育龄妇女近期孕检及未产式检查证明;
5、婚育情况核实反馈书;
6、新婚夫妇培训合格证(每月最后一个星期天培训)。
三、办理时限:
1、对于材料齐全、有效的,应当场发证并登记造册,特殊原因不能当场
发放的,自收齐材料之日起二十日内送证上门,或委托村委会送证上门。
2、对材料不齐全或不符合法定形式的,应自收到材料之日起当场或五日
内一次性告知当事人需要补齐的全部材料。
3、不符合生育条件的,应当向当事人说明理由。
八、《独生子女父母光荣证》办理
一、办理程序:
二、提供材料:
1
2、独生子女出生证明(或者收养证)及复印件;
3、夫妻二寸合影相片一张;
4、夫妻双方所在单位或者家庭所在村委会意见;
5、独生子女不是当年度出生的需提供计划生育证明书一份。
三、办理时限:
1、经核实申请材料齐全、有效的,应在当事人所在单位或村委会张榜公布期限
10日。
2、群众无异议的,自期限届满后十五日内发证机关或者其委托的基层单位应将独生子女父母光荣证送达当事人。
3对于不符合领证条件的,应当自收到当事人申请材料之日起三十日内向当事人说明不予发证的理由。
九、二孩《生育证》申请办理
一、办理程序:
1
2、必须经过张榜公布,群众监督无异议;
3、女方年龄必须达24周岁零2个月以上;
4、第一孩必须达3周岁零2个月以上;
5、批准前无怀孕。
三、提交材料:
1、填写再生育审批表(一式三份);
2、夫妻双方及孩子户口簿及复印件或户籍证明;
3、结婚证及复印件;
4、夫妻双方身份证及复印件或户籍证明;
5、育龄妇女近期查环查孕证明;
6、夫妻二寸合影免冠照片一张;
7、计生证明一份;
8、一孩生育服务证及复印件或社会抚养费征收票据;
9、夫妇领取生育服务证合同书;
10、城厢区关于认定农村人口调查报告单;
11、村级担保书、镇级调查报告、个人声明。
四、办理时限:
1、对于书面材料不齐全或不符合法定形式的,自收到材料之日起当场或五日内一次性告知当事人需要补齐的全部材料,并限期补齐;
2、自收齐材料之日起二十日内完成初步审查、签署意见,上报区计生局;
3、以区计生局审批办理时间为准。
十、服务事项:办理《流动人口婚育证明》
凡18周岁至49周岁之间的育龄妇女,离开户籍所在地,外出前应到镇计生办办理《流动人口婚育证明》。
一、办理程序:
二、提交材料:
1
2、村委会或所在单位出具的婚育情况证明书;
3、本人近期1寸正面免冠照片2张;
4、填写申请表,并签订合同书;
5、政策外生育的,应提交处理执行情况证明。
三、办理时限
1、对于材料齐全的,当场给予办理。
2、暂缓或者不予办理《流动人口婚育证明》的几种情形:
①申请人未能按规定提供有关证明材料的;
②申请人政策外生育而拒绝执行对其处理决定的;
③申请人弄虚作假、隐瞒婚育真实情况的;
④申请人按规定应落实避孕节育措施而未落实的。
十一、50年以上党龄困难党员生活补助
一、办理程序:
1
2、党员档案复印件;
3、申办人身份证、户口簿复印件各两份,近期一寸照片三张;
4、家庭收入情况或相关证明材料。
十二、党组织关系接转办理
一、党组织关系转入
1、办理程序:
党员固定在灵川镇辖区内某个地方和单位长达6个月以上的,须持党员原所在的党支部开具的《中国共产党党员组织关系介绍信》到镇党务办办理转入手续,并将其编入相应的党支部。
2、须提供下列材料:
①中国共产党党员组织关系介绍信(转入单位应写明中共灵川镇委员会);
②个人身份证;
③预备党员需要带上党员档案。
二、党组织关系转出
1、办理程序:
党员应在所在支部将党费缴至转移当月,持村党支部开具《中国共产党党员组织关系介绍信》,到镇党务办办理转出手续。
2、须提供下列材料:
①调动通知或劳动合同等相关材料;
②个人身份证
十三、流动党员活动证办理
一、办理程序
短期外出(6个月以内)或长期外出但暂无法转移组织关系的党员,由所在党支部出具证明,持本人近期免冠一寸照片2张,到镇党务办办理流动党员活动证。
二、须提供下列材料
1、所在支部出具证明;
2、近期免冠一寸照片2张;
3、个人身份证。