财务网上报销系统预算管理流程图
- 格式:docx
- 大小:128.77 KB
- 文档页数:6
宁波大学网上自助报账系统用户手册本手册随系统改进将作相应修改,仅供参考。
宁波大学计划财务处目录第一部分网上自助报账系统流程图 (3)第二部分登录系统 (4)第三部分网上自助报账系统 (5)一、“我的项目”模块 (5)二、“系统管理”模块 (10)三、“日常报销”模块 (10)四、“差旅费报销”模块 (17)五、“借款”模块 (21)六、报销单和原始票据传递方式 (24)第一部分网上自助报账系统流程图网上自助报账系统流程图第二部分登录系统登录方式一:1、登录宁波大学信息门户,输入用户名、密码,点击【登录】。
输入用户名、密码,点击【登录】2、登录后在“办事大厅”选择“自助报账”。
点击进入登录方式二:登录账号、密码与信息门户登录的用户名、密码相同。
输入账号、密码、验证码,点击登录第三部分网上自助报账系统宁波大学网上自助报账系统分“日常报销”、“差旅费报销”、“借款”、“我的项目”、“系统管理”五个模块。
一、“我的项目”模块“我的项目”模块分“我的项目”、“项目授权”、“项目取消授权”、“查看项目授权日志”。
“我的项目”:项目负责人可以查看所有项目的项目编号、项目名称、项目余额、授权使用截止日期、项目报销记录、额度信息。
同时可以通过“待修改业务”、“待提交业务”、“已提交业务”、“已完成业务”、“失败业务”查看或修改网上自助报账业务。
“项目授权”:项目负责人可以通过该功能将项目网上自助报账权限授权给被授权人。
“项目取消授权”:项目负责人可以通过该功能取消已授权的项目。
“查看项目授权日志”:项目负责人可以通过该功能查看所授权及取消授权的项目记录。
1、点击右上角“我的项目”,对负责人的所有负责项目进行管理。
点击这里2、点击“待修改业务”,对待修改的业务进行修改或删除。
1、点击这里2、进行修改或删除3、点击“待提交业务”,对待提交的业务进行“返回修改”或“确认提交”。
1)、点击“返回修改”后可在“待修改业务”查询到该项业务。
财务报销规定及系统操作流程一、财务报销、借款1、报销流程:每校区所有支出,由文员填报,校长审核,总经理审批,总部财务审核并付款。
分公司支付的各项费用,分公司出纳填报,总经理审批,总部财务审核并付款。
2、借款流程:每个校区根据规模大小,可预支借款1000—2000元,此款用于零时紧急使用。
各项开支应及时申报。
特殊事项,需借支款项,由分公司经理批准,借款事项完成后,及时报销冲帐。
各分公司出纳可借支5000元,用于紧急支付款项。
借款审批流程与报销审批流程相同。
3、工作流程:文员(出纳)整理好报销单据,由校长签字后,登录网上报销系统填报,校长登录审核,分公司总经理登录审批,总部付款。
月底,出纳到各校区收取单据,或校长将单据带到分公司总部,由出纳登录系统一一核对原始单据及校长签字,然后报给分公司总经理,在单据上补签字(分公司经理,登录系统,查询本月所有网上签出费用并和单据一一核对,并在单据上补签字)。
出纳将分公司经理签好的单据整理装订后,报名思总部。
总部财务登录系统,一笔笔审核各分公司的单据与网上报销的情况。
二、单据填报规范(一)、书面填报规范1、报销单上整体字迹要清楚,不得潦草。
2、报销人必须取得相应的原始票据,且在发票背面有经办人签名,报销人将原始票据粘贴规整后,填制费用报销单。
费用报销单上需写明报销人、费用发生日期、报销日期、报销人所属部门、报销内容(事由、用途说明)、后附单据数量及报销金额。
其中报销金额大小写须相符,且费用报销单表面不得涂抹。
3、报销单上填写报销的内容应清楚,完整,如有支付时间段的费用应注明起止时间段(如:新街口校区房租2011年8月--10月)。
报销内容的项目数不得超过序号栏的数目,如超过,应另填一张。
(注:购买办公用品必须附有物品详细清单)4、报销单上的合计金额和大写金额应一致。
如金额有错误,须重填。
5、所有的报销单上至少要有两人以上的签字,如费用经办人,报销人、审批人。
6、如报销票据是复印件,须说明原件去向,并将复印件复印清晰,品名、金额不清晰,须重新复印或用原件报销。
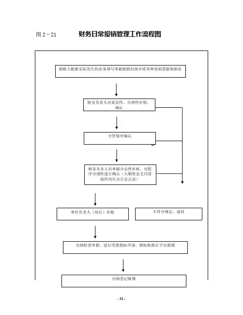
图2-21 财务日常报销管理工作流程图B报账人根据实际发生的业务填写单据报销封面并将各种原始票据粘贴好 股室负责人对真实性、合理性审核、确认 财务负责人对单据合法性审核、对程序合规性进行确认(大额资金支付需提供局长办公会记录)单位负责人(局长)审批不符合规定,退回 出纳检查单据,进行用款指标申请,指标批准后予以报销分管领导确认出纳登记账簿图2-22 财务内部审计工作流程图接到人事、纪检监察部门提出对领导干部进行任期经济责任审计的建议(通知)抽调有关人员或委托中介机构组成审计组进行审计,并与中介机构签订审计服务合同向被审计的领导干部所在单位送达审计通知书,同时抄送被审计的领导干部本人牵头召开审计工作会,被审计的领导干部、被审计单位、审计组等人员参加被审计领导干部于审计工作开始后三日内向审计组送交任职期间的述职报告被审计单位如实提供审计资料审计组依法实施审计在征求被审计单位的领导干部本人及其所在单位意见后,出具审计报告审计报告报送局领导、人事、纪检监察部门审计报告送交被审计领导干部本人和所在单位审计报告归档图2-23 社会保障、公积金办理工作流程图接到有关部门对社会保障、公积金调整通知到公积金中心和社保中心拷贝原始数据按上年12月份工资单调整基数提交局领导批准后报公积金中心和社保中心审核、批准基数及时办理临时增加或减少的情况根据批准后的新标准进行工资代扣发放公积金中心和社保中心年度对账单图2-24 财务资产管理工作流程图资产管理人员采购(政府采购等)后,填报资金支付申请单财务根据办公会议记录、资产领用单据、合法发票进行审核经单位负责人审批后,在行政事业单位资产管理系统中进行资产增加录入卡片,登记账簿领用科室使用,资产管理人员进行日常管理资产管理人员对不能使用或报废资产按程序进行处理财务根据办公会记录和资产处理相关资料进行审核经单位负责人审批后,在行政事业单位资产管理系统中进行资产减少图2-25 大额资金支付管理工作流程图相关股室向局长办公会提交大额资金支出申请,并阐明具体事由局长办公会研究通过发生实际支出,获取票据,经办人填写相关报账单据,并附上局长办公会研究通过的相关会议记录股室负责人审核分管领导审批财务负责人审批单位负责人审批财务付款并入账。
网上报账系统操作流程第一步报账教师登录财务综合服务平台后,选择“网上报帐系统”第二步进入网上报账系统“我的项目”页面该页面显示登录人负责的所有项目信息,可查询本人负责(或被他人授权)项目的余额和发生额。
点击“查看”可显示“项目收支明细账”和“预算控制余额表”等信息。
在“我的项目”页面菜单中,有“负责项目”、“待修改业务”、“待提交业务”、“已提交业务”、“已完成业务”、“失败业务”六个子菜单。
第三步,选择网报支出类型“网上报账系统”包括日常报销、差旅报销、借款三类,这些分类在填写报销单时输入的内容是不相同的。
一、日常报销业务1.老师对“日常报销”提交申请,可进行报销单的新增、修改以及删除操作。
点击“日常报销”,进入日常报销页面后,点击“新业务填报”2.输入部门编号、输入或选择项目编号后,点击“下一步(报销费用明细)”3.根据报销项目填写报销具体内容,在填写“报销内容”时,先在网页的表格中找到你要报销的内容,并阅读报销内容的“描述”部分以防止填错位置。
输入“关键字摘要”、“金额”、“单据数”,系统会将您填写的金额与项目当前余额对比分析,如果超支将显示预警信息。
确认无误后点击“下一步(支付方式)”。
“重置”按钮可以清空所填写内容。
4.选择支付方式。
“支付方式”包括“冲借款、对公支付、对私支付、网银对公”等多种选择(项目转帐目前不开放),系统会将您选择的支付方式打印在“报销单”上。
如果选择“冲借款”,系统会显示登录人的借款信息,可以在“金额”列填写本次要冲销的金额(冲销金额等于报销金额减去其它支付方式的支付金额),其它支付方式可以在对应行的输入框填写支付信息。
5.提交正确录入支付方式后,进入“下一步(提交)”。
6.打印日常报销单。
报销人需要将“报销单”打印出来,在粘贴好原始单据后,持此打印后的“报销单”找相关领导签字,所需手续与原纸质报销单相同。
报账人在财务处规定的时间内到财务处提交领导审批过的报销单据即可。
财务付款报销制度流程图摘要本文主要介绍财务付款报销制度的流程图。
此流程图展现了企业内部财务付款报销的标准化流程,以供企业内部人员参考,并且可以用于公司内部培训。
流程图st=>start: 开始op=>operation: 申请报销cond1=>condition: 报销单是否完成op1=>operation: 交给主管审批cond2=>condition: 审批是否通过op2=>operation: 报销单提交给财务op3=>operation: 财务统计核算op4=>operation: 进行预算控制op5=>operation: 记账和付款e=>end: 结束st->op->cond1cond1(yes)->op1->cond2cond1(no)->opcond2(yes)->op2->op3->op4->op5->econd2(no)->op1流程解析1.开始:首先需要申请报销,填写报销单。
2.报销单:报销单需要填写详细的申请报销信息,包括过程、费用、日期等。
3.报销单是否完成:检查报销单是否填写完整,如有遗漏,请补齐后重新提交。
4.提交主管:报销单需要交给所负责部门的主管进行审批。
5.审批是否通过:审核人员要判断报销合理性,是否符合公司标准,最终审核结果分为通过和不通过。
6.报销单提交给财务:审核通过之后,需要将报销单提交财务确认。
7.财务统计核算:财务需要验证报销账单的正确性,防止企业财务损失。
8.预算控制:财务需要进行预算控制,防止超支。
9.记账和付款:确认报销单正确后,以账务为基础进行逐笔记录,直至付款。
10.结束:报销流程结束。
适用范围此财务付款报销制度流程图适用于企业内部各行业人员及其部门内部流程,例如:人事行政、销售、采购、财务等部门。
结论本文介绍了财务付款报销制度的标准流程,此流程图可以作为规范企业内部流程的参考,以提高企业内部管理和流程统一化的水平,有效规避企业财务风险的发生。
财务报销制度及报销流程图财务报销制度及报销流程为了加强公司部管理,规公司财务报销行为,倡导一切以业务为重的指导思想,合理控制费用支出,特制定本制度。
本制度根据相关的财经制度及公司的实际情况,将财务报销分为日常办公费用、工薪福利及相关费用、税费支出、工程相关支出及专项支出等,以下分别说明报销相关的借款流程及各项支出具体的财务报销制度和报销流程。
第一部分借支管理规定及借支流程一、借款管理规定(一) 出差借款:出差人员在钉钉中填写《出差申请表》并在钉钉系统中填写《出差借款单》,财务部凭审批后的《出差申请表》和按批准的《出差借款单》办理借款,出差人员出差返回在5个工作日办理报销还款手续。
(二) 其他临时借款,如业务费、周转金等,借款人员应及时在钉钉中填报,除周转金外其他借款原则上不允许跨月借支。
(三) 各项借款金额超过2000元应提前一天通知财务部备款。
(四) 借款销账规定:(1) 借款销帐时应以借款申请单为依据,据实报销,超出申请单围使用的,须经主管领导批准,否则财务人员有权拒绝销帐;(2)冲销市外差旅费借款的要严格按照出差明细表填写,明确出差时间、地点和所产生的各项费用及客户信息和达成的意向性合作容(详见出差明细表),报销差旅费时须将《出差报销明细表》附在报销单后财务进行审核,公司领导批准后才能冲销借款。
(3)借款未还者原则上不得再次借款,逾期未还借支者转为个人借款从次月工资中扣回。
第二部分差旅费及日常费用报销标准及流程日常费用主要包括差旅费、费、交通费、办公费、低值易耗品及备品备件、业务招待费、培训费、资料费等。
在一个预算期间,各项费用的累计支出原则上不得超出预算。
一、借款流程(一) 借款人按规定在钉钉中填写《借款单》,注明借款事由、借款金额(大小写须完全一致,不得涂改)、转帐或现金。
(二) 审批流程:主管部门经理审核签字→财务复核→总经理审批。
(三) 财务付款:财务凭审批签字完后的借款单在钉钉中打印出来办理领款手续,现金借款需借款人在借款单的领用人处签字后才能领款,银行转款如不能到财务部签字,财务凭转款依据入账。
网约报销系统3.0版使用指南一、登录软件 (1)二、预约管理 (1)2.1 预约报销单 (2)2.1.1 报销单管理 (2)2.2各业务界面填写说明 (4)2.2.1 日常报销业务 (4)2.2.2 国内旅费业务 (5)2.2.3 暂借款业务 (6)2.2.4 酬金申报业务 (6)2.2.5 因公出国业务 (7)2.2.6 境外专家来访业务 (9)2.2.7 主办会议费业务 (10)2.2.8 校内经费转账业务 (10)2.3 特殊预约业务 (11)2.4支付页面 (12)2.4.1 校内人员转卡 (12)2.4.2 汇款 (13)2.4.3 混合支付 (13)2.4.4 内部结算 (15)2.5 预约确认单 (15)2.6 历史报销单 (16)2.7 历史报销单 (18)附件一 (19)酬金申报业务流程 (19)附件二 (23)网上报销系统操作使用流程图 (23)一、登录软件使用IE8或以上版本浏览器或谷歌等其他浏览器,登录本软件,用户名为一卡通号,密码为高级财务管理平台密码(也可以通过信息门户的财务服务按钮登录)。
二、预约管理登录软件后默认进入如下界面。
点击此处进行财务查询点击此处开始预约点击【高级财务查询】即可查询我的项目、收入、收费、往来等财务信息。
点击【网上预约报销】2.1 预约报销单2.1.1 报销单管理点击【申请报销单】即可进入报销单申请流程。
点击此处进行申请2.1.1.1 “报销项目号”(必填项):经费负责人点击输入框后的按钮可以选择所负责的项目号,其他人员可以手动录入项目号2.1.1.2 “项目负责人”(必填项):填写项目号第一负责人2.1.1.3 “申请人工号”(必填项):当前操作员一卡通号2.1.1.4 “申请人姓名”(必填项):当前操作员姓名2.1.1.5 “实际报销人”(必填项):默认为当前操作人姓名,可修改2.1.1.6 “电话”:输入固定电话号码,便于联系2.1.1.7 “手机”(必填项):输入手机号码,便于联系2.1.1.8 “电子邮件”:可填可不填2.1.1.9 “附件张数”(必填项):填写附件张数2.1.1.10 “摘要”:不填2.1.1.11 “选择支付方式”(必填项):支付方式有以下几种:a、校内人员转卡:通过填写一卡通号自动关联对应的银行卡号,支持同时给多个校内人员打卡。
财务报销制度与报销流程图财务报销制度及报销流程目录第一章总则第二章费用报销凭证的规范第三章内部控制及一般流程第四章借款管理规定及借款流程第五章日常费用报销及流程第六章工薪福利及相关费用支出制度及流程第七章专项支出财务报销制度及流程第八章报销时间的具体规定第九章附则第一章总则第一条、为了加强公司财务管理,规范公司财务报销行为,合理控制费用支出,提高资金使用效益,根据国家有关法律、法规和各项财政政策,结合本公司的具体情况特制定本制度。
第二条、本制度根据相关的财经制度及公司的实际情况,将财务报销分为日常办公费用、工薪福利及相关费用等,以下分别说明报销相关的借款流程及各项支出具体的财务报销制度和报销流程。
第三条、本制度适用公司全体员工。
第二章费用报销凭证的规范第四条、报销单填写1.费用报销单需填写完整:包括部门、日期、内容、大小写金额、合计数.附件张数、报销人及审批人员的签字;注:金额处不能留有空格,金额要完整到元、角、分,在财务有借款的需注明。
2.金额大写要准确:零壹贰叁肆伍陸柒捌玖拾佰仟万亿。
报销原始凭证的要求1. 当事人应充分取得费用的相关单据,如:合同或协议、合法的票据等,合法(被税务机关认可)的票据,原则上必须是发票才能报销。
2.可使用的收据:购农产品及废旧品收入时可用收据入帐。
3.车费:所有的车票上都必须注明出发地和目的地,以及乘坐日期。
4.打车时,燃油费附加的票据也应该有,即凡是报的数额都必须有发票,同时金额有小数位数的,需注明实际支付的金额。
5.报销车票时,有同行者,必须注明同行者是谁。
6.其他票据也应同时注明费用的用途及时间,如招待费需注明招待的日期、招待的对象及招待的人数。
7.摘要栏必须清晰的写明费用的原因及用途。
8.外出公差的需附有外出公差申请单,公差申请单上需有公司及部门领导审批。
9.当月费用当月报销。
第五条、贴票方法和要求1.原始发票单据及附件应按照报销的经费项目进行分类整理,如办公费、招待费、差旅费、住宿费等等,应按照类别分别粘贴,把相同经费项目的原始凭证粘贴在一起。
完 完 完 完 完吐哈油田 财务资产处MP02.09.02 财务报销及财务网 上报销系统运维财务审核已通过01判断生成凭证的方式手工方式02在FMIS 系统中手 工编制记账凭证中油财务管理 信息系统 FMIS7.0原始凭证报销单04会计核算中心 费用核算科 费用核算岗位中油财务管理 信息系统 FMIS7.0原始凭证报销单05财务资产处 FMIS 财务复核在财务网上保险报 销系统自动生成F MIS 记账凭证财务网上报销系统生成凭证...会计核算中心 费用核算科 费用核算岗位会计核算中心 费用核算科 费用核算岗位 会计核算中心 费用核算科 费用核算岗位 完 完 完 完 完打印记账凭证相关科室系统方式原始凭证报销单..完 完03(1) F1记账凭证编制错误(K )(1) F1.1K 财务资产处各科室科长或制定负责人进行以下检查: 1、检查会计处理方法 和会计政策选用是否适当; 2、检查记账凭证借贷方会计科目及辅助核算; 3、检查借贷 方金额; 4、检查附件是否齐全; 4、检查签字是否齐全 (适用于凭证编制(先编制凭 证后收付款)和凭证编制(先收付款后编制凭证)流程)(2) F1.1M 财务资产处各科室科长或制定负责人进行以下检查: 1、检查会计处理方法 和会计政策选用是否适当; 2、检查记账凭证借贷方会计科目及辅助核算; 3、检查借贷 方金额; 4、检查附件是否齐全; 5、检查签字是否齐全 (适用于凭证编制(先编制凭 证后收付款)和凭证编制(先收付款后编制凭证)流程)完 完 完 完 完财务资产处 FMIS 财务复核中油财务管理 信息系统 FMIS7.0FK1原始凭证报销单财务复核已完成 且尚未收付款MP02.01.08.05 财务报销收付款相关科室 科长 完 完 完 完 完 F1.1M F1MP02.01.08.05 财务报销收付款MP02.09.02 财务报销及财务网上报销系统运维操作岗位/部门会计核算中心 费用核算科 费用核算岗位会计核算中心 费用核算科 费用核算岗位会计核算中心 费用核算科 费用核算岗位会计核算中心 费用核算科 费用核算岗位财务资产处 相关科室 科长原始凭证;报销单报销单;原始凭证报销单;原始凭证报销单;原始凭证编号 业务活动MP02.01.08.05 财务报销收付款MP02.09.02 财务报销及财务网上报销系统运维01 判断生成凭证的方式02 在FMIS 系统中手工编制记账凭证在财务网上保险报销系统自动生成 03FMIS 记账凭证04 打印记账凭证05 FMIS 财务复核业务表单 描述。
吐哈油田
财务资产处选择机构
财务资产处
预算管理科
预算管理岗位
财务网上报销系统
€
02
______
判断系统是否已定
义预算名称
财务资产处
预算管理科
预算管理岗位
04
03
05
9
05 定义二级预算名称 财务资产处
预算管理科 预算管理岗位
财务网上报销系
统
预算名称定义已 完成 7^7 7^7 7^7
完完完完完
J ___________________________________________________ J
EL
06 选择机构
财务资产处 预算管理科 预算管理岗位
财务网上报销系
统
选择预算名称、录、 入预算额度选择预
算控制方式
财务资产处 预算管理科 预算管理岗位
财务网上报销系
统
是否统管预算
财务资产处 预算管理科 预算管理岗位
预算是否需要下拨
财务资产处 预算管理科 预算管理岗位
3•流程步骤
4•流程接口
无。