岩棉保温装饰一体板施工工序
- 格式:docx
- 大小:13.57 KB
- 文档页数:1
岩棉保温施工工序流程
岩棉保温施工工序流程:
①施工准备与材料检验:
- 确认岩棉保温板及配套材料到场,检查出厂合格证、检验报告单。
- 进场材料复试合格后方可使用。
②基层处理:
- 清理墙面基层,去除灰尘、油渍等杂质,保证表面平整、干净。
③测量放线与定位:
- 根据设计图纸,弹出墙体的控制线与安装定位线,预留伸缩缝位置。
④安装龙骨系统:
- 按照设计要求铺设龙骨,完成龙骨结构的组装与固定,为保温层铺设做准备。
⑤铺设钢丝网:
- 在龙骨间隙或特定区域安装钢丝网,增强保温层的整体稳固性。
⑥裁切与安装岩棉板:
- 根据墙面尺寸裁剪岩棉保温板,确保尺寸适配,紧密拼接安装。
⑦固定岩棉板:
- 使用专用固定件(如膨胀螺栓、卡钉等)将岩棉板固定于龙骨或墙体上,确保牢固。
⑧涂抹粘结剂:
- 在板间缝隙或需要密封的部位涂抹粘结剂,增强保温层的密实度与密封性。
⑨铺设防火隔离带:
- 按规范要求铺设防火隔离带,确保保温系统的防火性能。
⑩安装饰面层:
- 在岩棉板表面安装饰面层材料,如抹灰、贴砖或安装外墙挂板等。
⑪质量检查与修补:
- 对已完成的保温层进行全面检查,对不达标或破损处进行及时修补。
⑫成品保护:
- 施工完成后,采取措施保护保温层不受后续施工损坏,如覆盖保护膜。
⑬竣工验收:
- 组织相关人员进行最终验收,确保岩棉保温工程符合设计要求与规范标准。
岩棉板外墙保温施工工艺一、引言岩棉板作为一种优质的保温材料,被广泛应用于建筑行业,在外墙保温工程中具有较高的热阻性能和良好的隔热性能。
本文将介绍岩棉板外墙保温施工的工艺流程,包括准备工作、基层处理、施工步骤以及施工注意事项等。
二、准备工作1. 材料准备:准备岩棉板、胶粘剂、固定设备、压条、密封胶、网格布等施工所需材料。
2. 工具准备:准备切割工具、铅垂线、尺子、水平仪、扫帚、刷子等施工所需工具。
三、基层处理1. 检查基层:对待施工外墙基层进行检查,确保基层无明显开裂、松动、掉渣等现象。
2. 清洁基层:使用扫帚和刷子将基层表面上的尘土、灰尘以及其他杂物进行清理。
3. 基层处理:对于基层存在明显的裂缝或凹凸不平的情况,可以使用砂浆进行修补和平整处理。
四、施工步骤1. 布置压条:在基层表面按照设计要求用胶粘剂将压条定位,并使用固定设备将压条固定在基层上。
2. 切割岩棉板:根据墙体尺寸,使用切割工具对岩棉板进行切割,确保尺寸合适。
3. 喷涂胶粘剂:将胶粘剂均匀喷涂在岩棉板的四周边缘和正中央,确保岩棉板与基层之间达到良好的粘结。
4. 安装岩棉板:在基层上将预先切割好的岩棉板按照顺序平整地粘贴,注意保持板与板之间的间距均匀。
5. 框架加固:在岩棉板的四角和边缘处使用网格布进行加固,提高墙体整体的强度和稳定性。
6. 粘贴密封胶:在岩棉板的边缘和接缝处使用密封胶进行密封,避免冷风、雨水等外部因素的侵入。
7. 冲角处理:对于外墙的突出角部位,使用岩棉板进行修补,使其与主墙体保持一致。
8. 表面涂料:完成岩棉板的安装后,根据设计要求使用适当的涂料进行表面装饰和保护。
五、施工注意事项1. 施工环境:施工过程中要确保环境干燥、无尘、无风,并避免施工过程中的高温、低温或强阳光。
2. 施工顺序:按照从下到上、从内到外的顺序进行施工,确保每一步的工作完成后再进行下一步的施工。
3. 施工质量:保持施工过程中的质量控制,确保岩棉板与基层粘结牢固、平整整齐、表面平滑。
外墙岩棉保温板施工工艺流程外墙岩棉保温板施工工艺流程主要分为以下几个步骤:一、基层处理在施工前,需要对基层进行处理,包括清理表面杂物、修补裂缝、处理凹凸不平的部位等。
如果基层表面不平整,需要进行找平处理,以保证保温板施工的平整度和牢固度。
二、预埋件安装在基层处理完毕后,需要安装预埋件。
预埋件的作用是固定岩棉保温板,避免其在使用过程中出现脱落现象。
预埋件的数量和位置需要根据保温板的规格和要求进行安排。
三、涂胶在预埋件安装完毕后,需要在基层表面涂上专用的粘结剂。
涂胶的目的是增强保温板与基层之间的黏合力,确保保温板施工后的牢固度和平整度。
四、保温板安装在涂胶完成后,需要将岩棉保温板按照预先设计的位置进行安装。
保温板的安装需要注意保温板之间的接缝处,确保接缝处的平整度和牢固度。
同时,还需要注意保温板的垂直度和水平度,以确保整个保温系统的平整度和美观度。
五、封边处理保温板安装完成后,需要对其进行封边处理。
封边处理的目的是增强保温板的密封性和美观度。
封边处理可以采用专用的封边条或者涂上专用的密封胶进行处理。
六、网格布安装在保温板安装完毕后,需要在其表面涂上专用的网格布。
网格布的作用是增强保温系统的抗拉强度和抗裂性能,确保整个保温系统的稳定性和耐久性。
七、涂面层在网格布安装完毕后,需要在其表面涂上专用的面层。
面层的作用是保护保温系统,增强其耐久性和美观度。
涂面层的材料可以根据实际需要选择,一般可以选择涂料、石材等材料。
以上就是外墙岩棉保温板施工工艺流程的详细介绍,希望对您有所帮助。
外墙保温装饰一体板施工步骤及注意事项西北工程人 2019-07-22 09:05:43外墙保温装饰一体板施工步骤及注意事项一、施工流程1、基层处理,弹线排版确定基层墙体无脱层、空鼓、裂缝等后,根据设计方案弹水平垂直控制线。
2、切割开槽,粘贴上墙打孔埋置锚栓,固定锚固件。
根据尺寸裁板、开刀边槽,在板面布60%以上粘结剂。
3、锚固安装L型锚固件与H型挂件的连接件通过膨胀螺栓固定。
4、填塞填缝材料在分隔缝内填充泡沫条,然后在缝的两过粘贴美纹纸。
5、勾缝处理枪嘴伸入缝隙4mm以上挤注硅酮密胶,随后修刮平整。
6、揭下美纹纸安装完成后,揭下美纹纸,随后去除保护膜。
一体板分层展示保温装饰一体板又称为外墙保温一体板、保温装饰板是一种较新颖的外墙外保温用产品,其特点是装饰类型多种(天然石材、仿石漆、真石漆、氟碳漆、陶瓷薄板等),保温材料(EPS,PS,PUR,岩棉等)应用灵活,并且节省造价、节省时间而被市场广泛接受,应用案例增长迅速。
其中仿石漆、真石漆、氟碳漆保温一体板是应用最多的一个类型,将以上涂料喷涂在硅酸钙板上作为基层。
二、保温装饰一体板A级防火新趋势随着生产生活质量的提高,国家对外墙保温材料防火等级的规范制定也在相应提高,在最新的国家建筑设计防火规范GB50016-2014中规定:与基层墙体、装饰层之间无空腔的建筑外墙外保温系统,其保温材料应符合下列规定:1住宅建筑:1)建筑高度大于100m时,保温材料的燃烧性能应为A级;2)建筑高度大于27m但不大于100m时,保温材料的燃烧性能不应低于B1级;3)建筑高度不大于27m时,保温材料的燃烧性能不应低于B2级;2除住宅建筑和设置人员密集场所的建筑外,其他建筑:1)建筑高度大于50m时,保温材料的燃烧性能应为A级;2)建筑高度大于24m,但不大于50m时,保温材料的燃烧性能不应低于B1级;3)建筑高度不大于24m时,保温材料的燃烧性能不应低于B2级。
除设置人员密集场所的建筑外,与基层墙体、装饰层之间有空腔的建筑外墙外保温系统,其保温材料应符合下列规定:1建筑高度大于24m时,保温材料的燃烧性能应为A级;2建筑高度不大于24m时,保温材料的燃烧性能不应低于B1级。
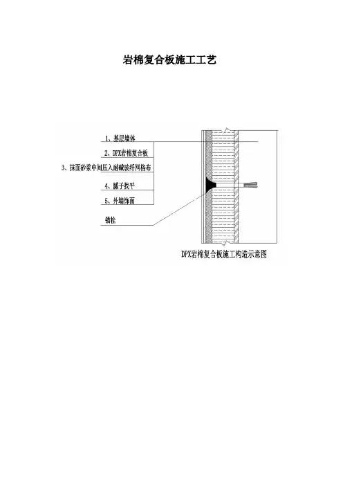
岩棉复合板施工工艺岩棉复合板施工工序1.基层处理基层必须结构完整,满足相应的规范要求,检查墙面时将多余砂浆清理干净,墙面基层不得出现油渍,清扫基层浮尘等,墙面不得有油、浮尘、脱模剂、风化物、涂料、蜡、防水剂、潮气、霜、泥土等污软物或其它妨碍粘结的材料,墙面松动、空鼓、风化部分应剔除干净,并用水泥砂浆填实后找平使其清洁平整,必要时用水冲洗墙面。
经冲洗的墙面必须晾干后方可进行下道工序的施工。
墙表面凸起物大于10mm时应剔除。
新建建筑,建议每10mm厚的水泥砂浆基层至少养护20天。
如果基底暴晒在阳光下,可用水湿润以减缓水泥砂浆里的水分快速蒸发。
堵脚手眼和废弃的孔洞时,应将洞内杂物、灰尘等清理干净,浇水湿润,然后用1:3水泥砂浆将其补齐砌严。
对墙体垂直度、平整度进行检测,需用2m靠尺检查,最大偏差值大于4mm时应用1:3水泥砂浆进行找平,垂直度、平整度差距过大时,及时与相关负责人沟通商议。
施工作业时环境温度不应低于5℃,风力应不大于5级,风速不宜大于10m/s。
严禁雨天施工,雨季施工时应做好防雨措施。
2.粘贴DPX岩棉复合板DPX岩棉复合板具有恒久稳定的隔热防火性,以及优良的抗拉抗压和抗剪切强度,是性能优良的保温材料,为达到理想的保温较果,DPX岩棉复合板可做到30mm~120mm厚。
墙面上做好控制线。
根据建筑物高度确定放线的方法,高层建筑及超高层建筑可利用墙大角、门窗口两边,用经纬仪打直线找垂线。
多层建筑或中高层建筑,可从顶层用大线坠吊垂直,绑铁丝找规矩,横向水平线可依据楼层标高或施工±0.000向上500mm线为水平基准线进行交圈控制。
根据调垂直的线及保温板厚度,每步架大角两侧弹上控制线,再拉水平通线做标志块。
把专用粘接砂浆掺水,用电动搅拌器搅拌成均匀、无粉粒呈膏糊状,静置3-5分钟后再略作搅拌,即可使用,并应在2小时内用完。
在首层阳角处按垂直控制线和+500mm线粘贴角部复合板。
粘结时应注意复合板应交叉探出墙体一个保温层总厚度,保证阳角为错槎粘贴。
保温装饰一体板施工方案保温装饰一体板是一种新型的建筑材料,它是在保温板的基础上增加了装饰层。
它具有隔热、保温、防潮、防火、防震、防患、隔音等功能,可以有效改善建筑物的保温性能和外观效果。
下面将详细介绍保温装饰一体板的施工方案。
一、施工前准备工作首先,需要对施工区域进行清理,清除杂物和污物。
同时,需将施工区域的电源和水源接通,并确保供电足够。
其次,还需要对施工现场进行勘察,了解土壤情况、地势状况和外墙结构等。
根据勘察结果,确定施工的具体方案和所需材料。
二、材料准备1.保温层材料:根据建筑设计要求和保温性能要求,选择合适的保温材料。
常用的保温材料有聚苯板、聚氨酯板、岩棉板等。
2.胶粘剂:选择高强度、高粘度的胶粘剂,确保保温层与装饰层的牢固性。
3.装饰层材料:根据建筑风格和设计要求,选择合适的装饰材料。
常用的装饰材料有瓷砖、石材、玻璃幕墙等。
4.辅助材料:施工需要使用一些辅助材料,如连接件、螺栓、胶带等。
三、施工步骤1.基层处理:将建筑外墙表面清理干净,清除灰尘、油污等。
如果基层存在裂缝或凹凸不平的情况,需进行修补。
2.固定保温板:将选用的保温板用胶粘剂固定在墙体上,确保保温板与墙体之间没有空隙。
同时,将保温板之间的连接处用连接件连接起来,以增加整体的稳定性。
3.施工装饰层:选用合适的装饰材料,将其粘贴在保温板表面。
同时,按照设计要求进行施工,确保装饰层与保温层的结合紧密,并达到装饰的效果。
4.检验和修整:施工完成后,对整个保温装饰一体板进行检验。
检查是否存在松动、损坏等情况,如有问题需及时修整。
5.防水处理:在保温装饰一体板施工完成后,进行防水处理。
可以在装饰层表面涂刷防水涂料,或进行其他防水处理方式。
四、施工注意事项1.保持施工环境的通风良好,以免有害气体聚集。
2.严格按照施工工艺和操作规范进行施工,确保施工质量。
3.严禁乱堆放材料,保持施工区域整洁。
4.施工过程中要注意安全防护,做好施工人员的安全培训和防护工作。
岩棉一体板的施工工艺岩棉一体板是一种常用的建筑隔热材料,具有优异的保温、隔音和防火性能。
在建筑施工中,岩棉一体板的正确施工工艺非常重要,可以保证施工质量,提高建筑物的隔热效果。
本文将详细介绍岩棉一体板的施工工艺。
一、材料及设备准备在开始施工前,首先需要准备好所需的材料和设备。
主要的施工材料包括岩棉一体板、粘结剂、防火涂料、密封胶、抗裂网、角线和固定件等。
施工设备主要包括切割机、涂刷刷子、模板、铅笔和量具等。
二、表面处理施工地面必须坚实、平整、干燥、无尘、无油污,并且符合设计要求。
若地面有脱模剂、浮灰或水泥层,则需要进行清理。
为了保证岩棉一体板的粘结性能,还需将地面用化学溶剂清洗干净。
三、基层打底在地面进行处理后,需要进行基层打底。
首先,用清水将地面湿润,然后使用与粘结剂相混合的水泥砂浆进行涂抹。
砂浆层的厚度一般控制在5mm-10mm之间。
砂浆干燥后,应确保表面平整、无杂质。
四、板材定位根据设计要求,将岩棉一体板逐片定位在基层上。
板材之间的缝隙一般控制在2mm以内,且应保证板材之间的纵、横向对齐。
需要注意的是,板材的末端要预留一定的间距,以确保后续的胶缝施工。
五、板材固定将岩棉一体板使用固定件固定在基层上。
固定件一般使用石膏封固件或者金属夹子等。
固定件的数量和位置需根据板材的尺寸和要求进行确定,以确保板材的牢固度。
六、板材连接在两片板材之间的缝隙处进行胶缝施工,以确保板材之间的连接紧密、不漏风。
首先,在板材的缝隙处涂抹一层防火密封胶,然后将抗裂网粘贴在胶缝上。
最后,再次涂抹一层防火密封胶,确保胶缝的牢固性。
七、防火处理施工完毕后,对岩棉一体板进行防火处理,保证建筑物的防火安全性。
首先,使用防火涂料对岩棉板进行涂刷;其次,对岩棉板表面进行防火保护,防止火灾发生。
八、工艺检查施工完成后,需要进行工艺检查,确保施工质量。
主要检查项目包括板材的定位、连接、固定、防火处理和施工工艺等。
如有发现问题,及时进行整改。
岩棉保温一体板工程做法岩棉保温一体板工程是一种常见的建筑保温材料,下面我将介绍一下岩棉保温一体板工程的具体做法。
1.确定施工范围:首先需要确定要进行岩棉保温一体板工程的具体施工范围,包括建筑墙体、屋面、地面等。
2.准备工作:在进行施工前,需要进行一些准备工作,包括清理施工区域,清除施工区域上的杂物和灰尘,以确保施工的整洁和安全。
3.框架搭建:根据建筑的结构和设计要求,搭建适当的框架支撑,确保岩棉板的固定和安装。
4.基层处理:在进行岩棉保温一体板安装前,需要先对基层进行处理。
清除表面的浮尘、油污等杂物,确保基层平整、牢固。
如果基层存在裂缝或凹陷,需要进行修补。
5.粘结胶水涂布:使用专用的岩棉板粘结胶水,在基层表面均匀涂布。
纵横交叉涂布,以增强粘结的效果。
6.岩棉板固定:在涂布的胶水还未干燥之前,将岩棉保温一体板按顺序固定在基层上。
注意要将岩棉板与基层完全贴合,避免出现空隙。
7.缝隙处理:在岩棉板安装完成后,对板缝和边缘进行处理。
用专用胶水填充岩棉板之间的缝隙,以增强保温效果。
同时,对板边的空隙进行密封处理,防止冷热桥的发生。
8.表面处理:对岩棉板的表面进行处理,包括涂刷防水涂料、涂料或其他保护层,以增加岩棉板的耐候性和防潮性。
9.后续处理:在完成岩棉保温一体板工程后,需要进行清理施工现场,清除施工区域上的杂物和垃圾,并检查施工质量。
通过以上几个步骤,岩棉保温一体板工程的安装就可以完成。
需要注意的是,在施工过程中,要保证施工环境通风,并注意安全措施,确保施工质量和施工人员的安全。
同时,施工过程中要按照岩棉保温一体板的相关施工规范进行操作,以确保施工效果符合设计要求。
岩棉复合一体板施工工艺
施工工艺:
一、基础准备工作:
1.施工前,仔细检查墙体基础表面及施工环境是否平直、清洁、无
砂砾、无碎料,表面要留出20mm宽度的接缝缝隙;
2.现场要具备清水和湿润剂,如涂料溶剂中添加少量乙醇可以改善
粘合剂的粘接性能;
3.如果需要施工岩棉一体板的情况,要准备混凝土防水层:有两种
施工方法:一是前施工混凝土止水层,二是后施工混凝土止水层,施工前
应根据实际情况选择,两种止水层施工厚度10-15mm;
二、岩棉复合一体板施工步骤:
1.拆除防水层:防水层拆除时,要避免损坏墙体粘附底板;
2.处理底板表面:对要施工岩棉复合一体板的墙体表面,要刮清灰尘,清洁干净,湿润;
3.施工铺贴:用水泥粘合剂将岩棉板分散地均匀铺贴在墙体表面上,需要用手拍打压实,注意铺贴时,防止空洞、气泡等;
4.石膏线施工:用石膏粉勾勒出墙体表面的石膏线,用塑料板平滑
表面;
5.混凝土浆施工:用混凝土浆料铺贴和内嵌岩棉复合板,其有效厚
度不低于3mm;
6.表面除尘:用湿布擦拭表面,去除尘斑,以达到更好的外观效果;。
保温装饰一体板施工方案97145一、前期准备工作1.确定施工图纸:根据建筑设计要求确定需要进行保温装饰的部位,并制定详细的施工图纸。
2.材料准备:根据施工图纸确定需要使用的保温装饰一体板的品种、规格和数量,并进行材料采购。
二、基层处理1.检查基层:对待施工的基层材料进行检查,确保基层的平整度和结构强度符合要求。
2.清洁基层:清除基层上的灰尘、油污等杂物,保证基层干净。
3.涂布底漆:根据基层情况涂布底漆,提高保温装饰一体板与基层的粘结力。
三、板材安装1.测量尺寸:根据施工图纸测量需要安装的板材尺寸,保证精准安装。
2.切割板材:使用电锯或手工工具按照尺寸要求将板材切割成需要的尺寸。
3.涂胶:在板材背面以及要安装的基层上涂布专用胶粘剂,提高板材与基层的粘结力。
4.安装板材:将板材按照预定位置逐个安装在基层上,保证板材之间的缝隙均匀、平整。
四、接头处理1.密封处理:对板材之间的接缝处进行密封处理,防止水分渗入。
2.修整接缝:使用刮刀或涂料刷修整板材接缝处,保证接缝的平整度。
五、装饰面处理1.涂装面漆:在板材表面涂布装饰面漆,提高板材的美观度和防水性能。
2.二次修整:对涂装面漆进行二次修整,保证涂层的均匀、光滑。
六、验收及维护1.验收:施工完成后进行验收,检查装饰一体板的安装质量和效果是否符合要求。
2.维护:定期检查保温装饰一体板的使用情况,及时处理表面的污染和损坏。
保温装饰一体板的施工方案主要包括前期准备工作、基层处理、板材安装、接头处理、装饰面处理以及验收及维护等内容。
在施工过程中,需要严格按照施工要求进行操作,确保施工质量。
通过以上施工方案,可以有效提高保温装饰一体板的使用寿命和装饰效果,满足建筑装饰的需求。
岩棉装饰一体板施工工艺岩棉装饰一体板施工工艺一、岩棉装饰一体板简介岩棉装饰一体板是由岩棉作为芯材,彩钢板作为表层,中间夹层填充胶水而制成。
它具有良好的隔音、保温、防火等性能,适用于各种建筑装饰场所。
由于其具有较高的性价比和施工便捷性,岩棉装饰一体板在现代建筑装饰中得到广泛应用。
二、岩棉装饰一体板施工准备工作 1. 施工前应检查材料,确保材料的质量和数量符合要求。
2. 按照设计图纸和要求对施工现场进行清理和布置。
3. 准备施工所需工具和设备,如电钻、切割机、压工机等。
三、岩棉装饰一体板施工步骤1. 基层处理:首先对基层进行清理和处理,确保基层的平整和牢固。
如有不平整的地方,应进行批刮修缮,以保证岩棉装饰一体板的平整度。
2. 定位和测量:根据设计要求和图纸,在基层上标明定位线,确定岩棉装饰一体板的安装位置。
然后使用水平仪或墨线进行测量和标记,确保板材的水平和垂直度。
3. 剪切板材:根据标记的位置和尺寸,使用切割机等工具剪切岩棉装饰一体板。
注意剪切时应平直、不折断,边缘应平整。
4. 搭接安装:将剪好的岩棉装饰一体板按照定位线进行搭接安装,使用螺丝固定板材,确保板材安装牢固。
板材的搭接宽度通常为50mm以上,两板材的搭接部位应封闭,不露背胶。
5. 贴胶封边:在板材搭接处涂抹胶水,再压上彩钢板,使其牢固粘贴。
然后用胶枪将快干胶沿着板材边缘均匀涂抹,压紧边缘,确保胶水的密实性。
6. 接缝处理:岩棉装饰一体板的接缝处需要进行密封处理,使用天猫胶或硅胶进行填充。
填充后可以使用抹刮板将表面抹平。
7. 预埋件安装:根据需要,在岩棉装饰一体板上安装预埋件,以便后续的设备安装。
预埋件的安装位置应与设计要求一致。
8. 孔洞开孔:根据设计要求,在岩棉装饰一体板上进行孔洞开孔工作,用于通风、排水、线缆等。
开孔时应注意保持板面平整,并及时清理孔洞周围的杂物。
四、岩棉装饰一体板施工注意事项1. 施工过程中要做好防护措施,避免板材表面被划伤或污染。
第1篇一、施工准备1. 材料准备:根据工程需求,准备足够的岩棉板、粘结剂、界面剂、网格布、锚固件、膨胀螺栓等材料。
2. 工具准备:准备切割机、抹子、水桶、刮板、卷尺、水平尺、锤子、钻头、电钻等施工工具。
3. 人员准备:组织施工人员,进行技术交底,确保施工人员了解施工工艺和操作要点。
二、施工步骤1. 基层处理:对墙体进行清理,剔除墙体流坠及不平处,修补脚手眼、槽钢洞、穿墙件等孔洞。
对墙体孔洞用相同的基层墙体材料分两次进行填补,并用1:3防水水泥砂浆抹平,表面刷防水涂料一道。
2. 基层墙面验收:检查基层墙面是否坚实、平整,若偏差过大,则应抹砂浆找平。
3. 安装控制线:在墙体上弹出水平线、垂直线,作为安装岩棉板的基准线。
4. 岩棉板双面涂刷界面剂:将合格的岩棉板两侧表面涂刷界面剂,界面剂能增加保温板的表面强度,起到与基层更好的粘接,提高施工质量。
5. 粘贴岩棉板:将岩棉板粘贴在墙体上,从勒脚部位开始,或从每个墙面上的一个角落开始。
确保岩棉板与基层墙面紧密贴合,表面平整。
6. 抹抗裂砂浆:在岩棉板表面抹一层抗裂砂浆,厚度约为2-3mm。
7. 铺设第一层玻纤网:将玻纤网铺设在抗裂砂浆上,用抹子压实。
8. 安装锚固件:在岩棉板与基层墙面的交界处,按照设计要求安装锚固件。
9. 抹抗裂砂浆:在玻纤网上抹一层抗裂砂浆,厚度约为2-3mm。
10. 铺设第二层玻纤网:将玻纤网铺设在抗裂砂浆上,用抹子压实。
11. 验收:对岩棉保温系统进行验收,检查表面平整度、阴阳角方正垂直、锚固件安装等是否符合要求。
12. 面层施工:根据设计要求,进行面层施工,如涂料、瓷砖等。
三、施工注意事项1. 施工过程中,注意安全,佩戴防护用品。
2. 岩棉板安装时,注意板与板之间的缝隙,确保缝隙严密。
3. 施工过程中,注意保温材料的厚度和密度,确保保温效果。
4. 施工完成后,进行验收,确保保温工程质量。
5. 施工过程中,注意天气变化,避免在雨雪天气施工。
岩棉一体板的施工工艺流程岩棉一体板是一种新型的建筑材料,由岩棉板和建筑面板组成,具有优异的保温隔热性能和防火性能。
岩棉一体板的施工工艺流程包括材料准备、基础处理、布棉工序、面板安装和收尾工作等几个重要环节。
首先,材料准备是岩棉一体板施工的第一步。
这包括采购所需的岩棉板和建筑面板,并对材料进行检查和验收。
材料检查主要包括检查板材的规格尺寸、平整度、表面质量和防火性能等指标,确保材料的质量。
第二步是基础处理。
在进行岩棉一体板的施工前,需要对基础进行处理,包括清洁、修补和处理基层状况等。
清洁基层可以采用清扫、拆除杂物等方式,修补则是对基层存在的损伤和不平整进行修补,以保证岩棉一体板的安装质量。
第三步是布棉工序。
在进行布棉工序前,需要确定好岩棉板的安装位置和数量。
首先,根据设计要求和实际情况,在基层上进行网格线划线,确定岩棉板的安装位置。
然后,根据岩棉板的尺寸进行切割,将岩棉板固定在基层上。
在固定岩棉板时,应采用专用的固定点或胶粘剂,确保板材的稳固性和紧密性。
第四步是面板安装。
岩棉板的安装完成后,需要进行建筑面板的安装。
建筑面板可以采用彩钢板、铝板、玻璃钢板等材料,根据设计要求进行选择。
在进行面板安装前,需要根据岩棉板的尺寸进行面板的切割和加工,确保面板与岩棉板的拼接紧密。
然后,将面板固定在岩棉板上,并进行连接、封缝等处理,确保面板的稳固性和防水性。
最后,进行收尾工作。
收尾工作包括对岩棉一体板进行清洁、检查和保养等。
清洁工作主要包括对岩棉板表面的灰尘、杂物等进行清理,保持表面干净整洁。
检查工作主要是对岩棉一体板进行检查,查看是否出现松动、开裂、变形等情况,及时进行维修和补救。
保养工作则是对岩棉一体板进行保养,采取防水、防火等措施,延长使用寿命。
总的来说,岩棉一体板的施工工艺流程包括材料准备、基础处理、布棉工序、面板安装和收尾工作等几个重要环节。
合理的施工流程和正确的施工方法,可以确保岩棉一体板的施工质量和使用效果。
保温一体板的施工工艺保温一体板是一种常用的建筑材料,广泛应用于墙体或屋顶的保温工程中。
其施工工艺至关重要,直接影响保温效果和工程质量。
本文将详细介绍保温一体板的施工工艺,包括施工前的准备工作、施工步骤和注意事项等。
一、施工前的准备工作1.1 设计方案确认:在施工前,需与设计单位确认保温一体板的施工方案,包括材料要求、施工步骤等。
1.2 材料准备:根据设计方案,提前准备好所需的保温一体板、胶粘剂、固定件及配套辅助材料等。
1.3 基层处理:确保基层平整、洁净,若有破损或异物,需提前修补或清除。
1.4 水电布置:如有需要,提前设置水、电管道等,并与相关部门协调。
1.5 防护措施:在施工前,要做好周边环境的防护措施,避免施工过程中对其他设备或人员造成伤害。
二、施工步骤2.1 剪切保温一体板:根据实际尺寸要求,使用专用切割工具将保温一体板进行剪切。
2.2 定位方位:根据设计要求,使用丝线或水平仪进行基准线的绘制,确定保温一体板的水平和垂直定位。
2.3 粘贴保温一体板:将胶粘剂均匀地涂布在基层表面和保温一体板背面上,然后将保温一体板固定在基层上,并用专用工具进行压实,确保牢固粘贴。
2.4 固定保温一体板:在保温一体板上预留固定孔位,根据需要将固定件与基层连接,确保保温一体板的稳固。
2.5 补充填缝:在保温一体板之间以及与周边构件之间进行填缝处理,确保保温层的连续性和完整性。
2.6 表面处理:保温一体板施工后,根据设计要求进行表面处理,如刮涂、糊贴等。
三、注意事项3.1 施工环境条件:施工过程中要注意环境温度和湿度的控制,一般要求环境温度在5℃以上,湿度在80%以下。
3.2 施工质量控制:施工过程中要严格按照设计方案进行施工,保证施工质量和施工进度。
3.3 施工安全:施工过程中要遵守相关安全规范,确保施工人员的人身安全。
3.4 工艺记录:施工过程中要做好工艺记录,包括施工时间、施工人员、材料使用情况等,以备后期验收和追溯。
岩棉保温装饰一体板施工工序岩棉保温装饰一体板施工工序岩棉保温装饰一体板又叫岩棉复合保温装饰一体板,是一种以岩棉为保温材料的保温装饰一体化板。
岩棉保温装饰一体化板是置于建筑物墙体表面的保温及装饰系统保温效果优秀并且长期,热桥作用少,节能保温效果好。
下面白稀节能小编就简单总结岩棉保温装饰一体板施工工序1、基层检查墙体的水泥砂浆有一定的厚度,表面应清洁无灰尘,无油迹,无青苔等杂质。
面层无空鼓,起沙,剥离,爆灰等现象。
¨墙体平整度,大角垂直度,窗边线直线度等综合规范要求达到中级抹灰标准,即用2m直尺检查检查墙面平整度,误差4mm 窗台、檐口、装饰线条,女儿墙压顶等部位,要有坡度。
墙体无搭架空。
2、基层墙体处理检查原有外墙面砖的情况,将空鼓的部分凿出.用草酸或其它清洁剂清洗墙面,保证面砖表面清洁、无污迹。
对墙体孔缝进行填补采用专用的粘贴界面剂进行涂刷,完全覆盖面砖墙面,并且确保平整度达到中级抹灰标准。
3、放基准线基准线是施工开始后在纵横两个方向作为施工起点的最初施工线,并使四面墙的图形保持相对位置不变的标准线。
一般施工纵向的基准线应放在建筑物的上面,施工横向的基准线放在阴阳角轮廓线和有特征的轮廓处。
基准线要用墨线弹在墙体上,每个连接施工面均要弹线。
4、裁切一体板按照设计要求,并结合施工现场的实际要求,将地平线板材切成规定的尺寸大小保温装饰一体板的尺寸及数量与排版一致,每块板的背部标上位置及编号以保证施工的准确性。
5、配置专用粘结剂选用适合的容器,先将粘结砂浆倒入容器内,再倒入清水,一边倒入一边搅拌,充分搅拌均匀。
根据现场气温高低适当调节清水添加量,以便刮涂流畅。
粘结砂浆应随用随搅拌,搅拌好的粘结砂浆应在两个小时之内用完。
岩棉复合一体板施工工艺流程岩棉复合一体板是一种以岩棉为核心材料,外层覆盖有钢板或其他环保材料的墙板。
这种墙板具有隔音、隔热、防火和保温等特点,被广泛应用于住宅、商业建筑和工业厂房等领域。
下面是岩棉复合一体板施工的一般工艺流程:1.准备工作在施工前,需要做好准备工作,包括材料的采购、尺寸的测量和工具的准备等。
同时,还需要对施工现场进行清理和整理,确保施工区域的整洁和安全。
2.布置安全防护措施施工现场需要布置安全防护措施,包括设置警示标志、悬挂安全网和提供安全用具等,以确保施工人员的安全。
3.打线根据设计图纸和实际需求,使用墨线或水平仪在施工墙面上打出参考线。
这些参考线将用于确定墙板的位置和墙角的垂直度。
4.安装钢架在墙体打线上,使用专用工具将钢架固定在墙面上。
钢架的安装应严格按照设计要求进行,确保钢架稳固可靠。
5.安装岩棉板在钢架上安装岩棉板,将岩棉板按照设计要求进行剪裁和排列,使用专用的胶水或螺丝将岩棉板固定在钢架上。
同时,需要注意岩棉板的接缝处要紧密贴合,以确保墙体的隔热和防火性能。
6.封边处理在岩棉板安装完成后,需要对板材的四周进行封边处理。
封边可以使用专用的防火胶、密封胶或装饰条进行,以增加墙面的美观性和整体效果。
7.完善细节处理在墙板的安装过程中,需要对墙角、门窗口和管道等细节部分进行特殊处理。
例如,可以使用角铁和角码来强化墙角的稳固度,使用密封胶或防火材料对门窗口和管道进行隔热和防火处理。
8.进行验收和修整墙板安装完成后,进行整体验收,检查墙板的安装质量和固定牢固度。
如果发现问题,及时进行修整和调整,确保墙板的整体质量。
9.后续处理施工完成后,需要进行后续处理,包括清理施工现场、处理废弃材料和收拾工具等。
同时,还需要对墙板进行表面处理和装饰,以满足设计要求和使用需求。
总之,岩棉复合一体板的施工工艺流程主要包括准备工作、布置安全防护措施、打线、安装钢架、安装岩棉板、封边处理、完善细节处理、进行验收和修整、后续处理等步骤。
岩棉复合一体板施工工艺流程1.材料准备阶段:在施工前,首先需要购买所需的岩棉复合一体板材料,并对材料进行验收。
同时,还需要准备好所需的施工工具和设备,如锤子、电钻、尺子、刷子等。
2.基层处理阶段:在施工前,需要对基层进行处理,确保基层平整、干净、牢固。
如有裂缝或凹凸不平的地方,需要进行修补或打磨,以确保基层的平整度。
3.固定龙骨:固定龙骨是岩棉复合一体板施工中的重要环节。
首先,根据设计要求和施工图纸,在墙体上标出龙骨的位置和间距。
然后,使用螺钉或专用的龙骨固定件将龙骨固定在墙体上。
4.粘贴岩棉板:将岩棉板放置在地面上,根据实际需要切割成所需尺寸,然后使用专用的胶水将岩棉板粘贴到龙骨上。
在粘贴过程中,需注意控制胶水的用量,确保胶水均匀涂抹于岩棉板的背面,以确保良好的粘接效果。
5.封口处理:在岩棉板粘贴完成后,需要进行封口处理,以增强板材的整体性能。
常用的封口方法有热熔封口和胶水封口两种。
其中,热熔封口适用于室内墙体和屋面,胶水封口适用于室外墙体和屋面。
6.表面处理:岩棉复合一体板施工完成后,需要对其表面进行处理,以确保其美观和耐久性。
常用的表面处理方法有涂刷和贴面两种。
涂刷适用于室内墙体和隔墙,贴面适用于室内屋面和室外墙体。
在表面处理过程中,可根据实际需要选择不同的装饰面材料,如涂料、瓷砖、木材等。
7.清理和检查:在施工完成后,需要对施工现场进行清理,清除杂物和垃圾,并对施工质量进行检查和验收。
如有施工质量问题,需要及时整改和修复。
总结:岩棉复合一体板施工工艺流程包括材料准备、基层处理、固定龙骨、粘贴岩棉板、封口处理、表面处理、清理和检查等环节。
在施工过程中,需要严格按照施工工艺流程进行操作,以确保施工质量和工程效果。
岩棉保温装饰一体板施工工序
岩棉保温装饰一体板又叫岩棉复合保温装饰一体板,是一种以岩棉为保温材料的保温装饰一体化板。
岩棉保温装饰一体化板是置于建筑物墙体表面的保温及装饰系统保温效果优秀并且长期,热桥作用少,节能保温效果好。
下面白稀节能小编就简单总结岩棉保温装饰一体板施工工序
1、基层检查
墙体的水泥砂浆有一定的厚度,表面应清洁无灰尘,无油迹,无青苔等杂质。
面层无空鼓,起沙,剥离,爆灰等现象。
¨墙体平整度,大角垂直度,窗边线直线度等综合规范要求达到中级抹灰标准,即用2m直尺检查检查墙面平整度,误差4mm 窗台、檐口、装饰线条,女儿墙压顶等部位,要有坡度。
墙体无搭架空。
2、基层墙体处理
检查原有外墙面砖的情况,将空鼓的部分凿出.用草酸或其它清洁剂清洗墙面,保证面砖表面清洁、无污迹。
对墙体孔缝进行填补采用专用的粘贴界面剂进行涂刷,完全覆盖面砖墙面,并且确保平整度达到中级抹灰标准。
3、放基准线
基准线是施工开始后在纵横两个方向作为施工起点的最初施工线,并使四面墙的图形保持相对位置不变的标准线。
一般施工纵向的基准线应放在建筑物的上面,施工横向的基准线放在阴阳角轮廓线和有特征的轮廓处。
基准线要用墨线弹在墙体上,每个连接施工面均要弹线。
4、裁切一体板
按照设计要求,并结合施工现场的实际要求,将地平线板材切成规定的尺寸大小保温装饰一体板的尺寸及数量与排版一致,每块板的背部标上位置及编号以保证施工的准确性。
5、配置专用粘结剂
选用适合的容器,先将粘结砂浆倒入容器内,再倒入清水,一边倒入一边搅拌,充分搅拌均匀。
根据现场气温高低适当调节清水添加量,以便刮涂流畅。
粘结砂浆应随用随搅拌,搅拌好的粘结砂浆应在两个小时之内用完。