项目分包招标工作流程及流程图
- 格式:doc
- 大小:73.50 KB
- 文档页数:3
完整版工程招标流程图一、招标准备阶段:在开始招标流程之前,需要进行一系列的准备工作,包括确定招标项目、编制招标文件、发布招标公告等。
1. 确定招标项目:根据工程项目的需求,确定需要进行招标的具体项目。
这包括项目的名称、规模、地点、施工内容、工期等信息。
2. 编制招标文件:招标文件是招标过程中最重要的文件之一,它包含了招标要求、技术规范、合同条款等内容。
招标文件的编制需要详细描述工程项目的要求和要求供应商提供的材料、设备、工艺等。
3. 发布招标公告:招标公告是向潜在投标人宣传工程项目的重要途径。
招标公告应包含项目的基本信息、招标文件的获取方式、投标截止日期等内容。
公告可以通过媒体发布、网站发布、招标平台发布等方式进行。
二、投标阶段:在投标阶段,供应商可以根据招标文件的要求进行投标,并提交相关资料和文件。
1. 投标文件的准备:供应商需要仔细阅读招标文件,确保了解项目的要求和投标的条件。
然后,根据招标文件的要求,准备投标文件,包括技术方案、报价单、资质证明、经验介绍等。
2. 投标文件的递交:供应商需要将准备好的投标文件按照招标文件要求递交给招标方。
通常情况下,投标文件需要密封,并在密封处加盖供应商的公章。
3. 投标文件的开标:在投标截止日期之后,招标方会组织开标会议,公开拆封供应商递交的投标文件。
开标会议需要邀请招标方的代表、供应商的代表和相关监督人员参加。
三、评标阶段:在评标阶段,招标方会对递交的投标文件进行评审,并选定中标人。
1. 投标文件的评审:评标委员会根据招标文件的要求,对投标文件进行评审。
评审内容包括技术方案的合理性、报价的合理性、供应商的资质和经验等。
2. 中标候选人的确定:评标委员会根据评审结果,确定中标候选人。
中标候选人通常是综合考虑技术方案和报价等因素后确定的。
3. 中标通知:招标方会向中标候选人发出中标通知书,通知其中标并要求签订合同。
四、合同签订阶段:在确定中标候选人后,招标方和中标候选人会进行合同的签订。
工程招标流程图工程招标流程图是指在进行工程招标过程中,按照一定的步骤和流程进行操作和管理的图表。
下面是一份标准格式的工程招标流程图,详细描述了工程招标的各个环节和流程。
一、项目准备阶段1. 确定招标项目:根据工程需求和项目计划,确定需要进行招标的具体工程项目。
2. 编制招标文件:制定招标文件,包括工程说明、技术规范、合同条款、投标文件要求等内容。
3. 发布招标公告:通过媒体、网站等渠道发布招标公告,公告中包括项目名称、招标范围、投标截止日期等信息。
二、投标准备阶段1. 获取招标文件:投标人根据招标公告要求,到指定地点购买或下载招标文件。
2. 技术准备:投标人根据招标文件要求,准备相关技术方案、施工计划、人员配置等资料。
3. 资金准备:投标人评估项目成本,准备投标保证金和履约保证金等资金准备工作。
三、投标阶段1. 编制投标文件:投标人根据招标文件要求,编制投标文件,包括技术方案、商务报价、施工计划等内容。
2. 递交投标文件:投标人将编制好的投标文件按照招标文件要求的格式和截止日期递交给招标人。
3. 开标:招标人在规定的时间和地点公开开标,招标人和投标人代表出席,招标人公开评审投标文件。
四、评标阶段1. 文件审查:招标人对投标文件进行审查,核对文件的完整性和符合性。
2. 技术评审:对符合文件审查要求的投标人进行技术方案的评审,评估技术的可行性和符合性。
3. 商务评审:对技术评审通过的投标人进行商务报价的评审,评估报价的合理性和竞争力。
五、中标阶段1. 中标公示:招标人根据评标结果,公示中标结果,公示内容包括中标人名称、中标金额等信息。
2. 中标通知:招标人向中标人发出中标通知书,通知中标人履行合同的相关事宜。
3. 签订合同:中标人和招标人签订正式合同,明确工程的具体要求、工期、付款方式等条款。
六、履约阶段1. 工程施工:中标人按照合同要求,组织施工队伍,按照工期和质量要求进行工程施工。
2. 工程验收:招标人对工程进行验收,评估工程的质量和合格性。
完整版工程招标流程图一、招标准备阶段1.确定招标项目:根据工程项目需求和预算,确定需要进行招标的工程项目。
2.编制招标文件:招标文件包括招标公告、招标文件、技术规范、合同草案等,编制招标文件需要明确工程的要求、标准、时间和地点等。
3.发布招标公告:在指定的媒体上发布招标公告,公告内容包括招标项目的基本信息、投标截止时间、地点等。
二、投标准备阶段1.获取招标文件:投标人需要到招标人指定的地点购买或者下载招标文件,并支付相应的费用。
2.研究招标文件:投标人需要子细研究招标文件,包括工程要求、技术规范、合同条款等,确保理解并满足招标要求。
3.准备投标文件:根据招标文件的要求,投标人需要准备投标文件,包括技术方案、报价单、施工计划等。
4.报名参预投标:投标人需要按照招标文件的要求,填写相关表格并提交给招标人,以正式报名参预投标。
三、投标递交阶段1.投标文件的密封和标识:投标人需要将投标文件密封,并在封面上标明招标项目名称、投标人名称等必要信息。
2.递交投标文件:投标人需要将密封的投标文件按照招标文件要求的时间和地点递交给招标人。
3.开标:招标人组织开标会议,公开拆封投标文件,并记录相关信息,如投标人名称、报价等。
四、评标阶段1.评标委员会组建:招标人组建评标委员会,由专业人员组成,确保评标的公正性和专业性。
2.评标准备工作:评标委员会对投标文件进行初步审核,确认投标人是否满足资格要求,并对投标文件进行编号和归档。
3.评标过程:评标委员会根据招标文件的评标标准,对符合资格的投标文件进行评分,评审技术方案、报价、施工计划等内容。
4.评标结果:评标委员会根据评分结果确定中标候选人,并按照招标文件的规定进行公示。
五、中标和合同签订阶段1.中标通知:招标人向中标候选人发出中标通知书,通知中标人参预后续的合同签订工作。
2.合同谈判:招标人与中标人进行合同谈判,明确工程的具体要求、合同条款、付款方式等内容。
3.合同签订:双方达成一致后,签订正式合同,并支付相应的保证金或者预付款。
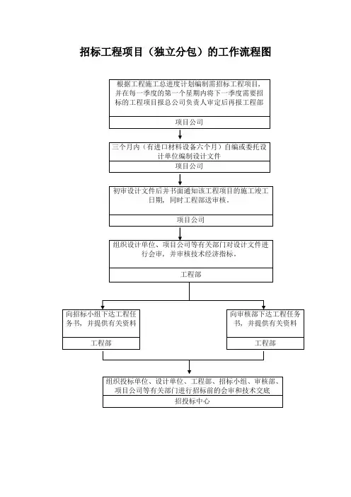
项目分包招标工作流程及流程图
1.流程名称
公司项目分包招标流程
2.流程编制部门
公司
3.流程适用部门、单位
公司所有部门
4.流程概述
该流程用于公司项目工程分包工作,由公司总经理进行审核和审批。
5.流程说明
0)开始事件。
1)公司项目部根据项目总体进度要求,提出项目分包计划。
2)公司总经理审核和审批项目分包计划。
3)公司项目部编制分包商务招标文件,主要包括招标商务文件、合格分包商名单、成立招议标小组及人员(含纪检审计)名单。
4)专业设计所编制招议标技术要求。
5)公司总经理审查批准招标文件,未通过返回编制人员,通过执行招议标工作。
6)招标小组进行招议标活动、无记名评分、编制评标报告。
7)招标小组根据评标报告和业主等工程实际情况推荐预中标建议。
8)公司主管副总经理审核预中标建议,未通过返回招标小组,通过报公司总经理批准。
9)公司总经理审核未通过,返回招标小组,通过公布招标结果。
10)公司公布招标结果,发放中标通知书。
11)结束事件。
6.流程关键控制点
1)设备采购必须符合国家、集团公司、公司的有关规定。
2)工程分包必须征求业主的意见,并获得业主的认可。
7.流程图
项目分包招标流程图。
济南市建委市场处招标项目招标程序流程图一、项目准备阶段:1. 确定招标项目:济南市建委市场处根据需求确定需要进行招标的项目。
2. 制定招标文件:根据项目需求,编制招标文件,包括招标公告、招标文件、技术规范、合同范本等。
3. 审核招标文件:招标文件需经过市场处内部审核,确保招标文件符合法律法规和相关政策要求。
4. 定义招标方式:确定招标方式,可以是公开招标、邀请招标、竞争性谈判等。
5. 确定招标范围:明确招标项目的具体范围和要求,包括工程量、技术要求、交付时间等。
二、公告发布阶段:1. 编制招标公告:根据招标文件内容,编制招标公告,包括项目名称、招标范围、招标方式、投标截止时间等信息。
2. 发布招标公告:将招标公告发布在指定的媒体上,如政府网站、报纸、招标网站等,确保公告能够被相关投标人员获取。
三、投标阶段:1. 投标准备:投标人根据招标文件的要求,准备投标所需的文件和资料,如投标书、资质证明、技术方案等。
2. 投标递交:投标人在规定的投标截止时间前将投标文件递交给济南市建委市场处。
3. 投标文件开标:市场处组织相关人员对递交的投标文件进行开标,记录投标人信息和投标文件的基本情况。
四、评标阶段:1. 评标准备:市场处组织评标委员会,制定评标办法和评标标准,并对评标人员进行培训。
2. 评标过程:评标委员会根据招标文件的要求,对投标文件进行评审,评分并进行综合评定。
3. 确定中标候选人:评标委员会根据评审结果,确定中标候选人,并进行公示。
五、中标和合同签订阶段:1. 中标通知:济南市建委市场处向中标候选人发出中标通知书,确认中标结果,并通知中标候选人参预合同谈判。
2. 合同谈判:市场处与中标候选人进行合同谈判,商讨合同细节,如价格、工期、履约保证金等。
3. 合同签订:双方达成一致后,签订正式合同,并按照合同要求履行。
六、履约阶段:1. 监督管理:市场处对中标单位进行履约管理和监督,确保合同的执行情况。
工程招标流程图一、引言工程招标是指由招标人通过公开、公平、公正的方式,邀请符合条件的承包商或供应商参与投标,以确定最佳的合作伙伴。
本文将详细介绍工程招标的流程图及各个环节的具体要求和步骤。
二、工程招标流程图以下是工程招标的标准流程图:1. 招标准备阶段- 确定招标项目的需求和目标- 制定招标文件,包括招标公告、招标文件、投标文件等- 确定招标的时间、地点和方式- 确定招标的资格要求和评标标准2. 招标公告发布阶段- 在指定的媒体上发布招标公告,包括项目的基本信息、招标要求和截止时间等- 同时将招标公告发送给潜在的投标人,以便他们了解招标项目的详细信息3. 投标准备阶段- 投标人获取招标文件,并进行仔细研究和理解- 投标人与招标人进行沟通,解答疑问并获取补充文件(如有)- 投标人准备投标文件,包括技术方案、工程量清单、施工计划、人员组织等4. 投标文件提交阶段- 投标人将投标文件按要求提交给招标人- 招标人对投标文件进行接收和登记,并给予投标人回执5. 评标阶段- 招标人组织评标委员会,对投标文件进行评审和比较- 评标委员会根据招标文件中规定的评标标准,对投标人进行综合评价- 根据评标结果,确定中标人或候选人名单6. 中标公示阶段- 招标人在指定的媒体上公示中标结果,包括中标人的名称、中标金额等- 同时将中标结果通知给所有投标人,并提供未中标的原因7. 中标合同签订阶段- 招标人与中标人进行合同谈判,明确合同条款和条件- 双方达成一致后,签订正式的中标合同- 中标人按合同要求履行工程建设或供应任务8. 工程实施阶段- 中标人按照合同要求,组织实施工程建设或供应任务- 招标人对工程实施进行监督和验收9. 工程结算阶段- 中标人提交工程结算报告,并提供相关的资料和证明文件- 招标人对工程结算进行审核,并支付相应的款项10. 工程总结和评估阶段- 招标人对工程质量、进度和成本进行总结和评估- 中标人对工程招标过程进行反馈和改进三、总结本文详细介绍了工程招标的流程图及各个环节的具体要求和步骤。
工程招标流程图一、招标准备阶段:在工程招标流程中,招标准备阶段是非常重要的,它包括以下几个步骤:1. 确定招标需求:首先,需要明确招标的目的和需求,确定需要招标的工程项目的规模、类型、技术要求、预算等。
2. 编制招标文件:根据招标需求,编制招标文件,包括招标公告、招标文件、技术规范、合同草案等。
3. 审批招标文件:招标文件需要经过相关部门的审批,确保招标文件的合法性和准确性。
4. 发布招标公告:招标公告是向潜在投标人宣布招标信息的重要方式,可以通过媒体、网站等渠道发布。
5. 技术交底和现场踏勘:在招标准备阶段,可以组织技术交底会,向潜在投标人介绍工程项目的具体情况,并安排现场踏勘,让投标人了解工程现场的实际情况。
二、投标阶段:1. 投标准备:投标人在投标前需要准备相关材料,包括注册资质、技术方案、报价等。
2. 投标递交:投标人按照招标文件的要求,将投标文件递交给招标人指定的地点和时间。
3. 开标:开标是指在规定的时间和地点,公开拆开和记录投标文件的过程,确保公开透明。
4. 投标评审:评标委员会根据招标文件的要求,对投标文件进行评审,包括技术评审、商务评审等。
5. 中标公示:评标委员会根据评审结果,确定中标人,并进行中标公示,公示的时间普通为7天。
三、合同签订阶段:1. 中标通知:招标人向中标人发出中标通知书,通知中标人进入合同签订阶段。
2. 合同谈判:中标人与招标人进行合同谈判,明确双方的权益和责任,并达成一致意见。
3. 合同签订:经过合同谈判后,中标人与招标人正式签订合同,确保合同的合法性和有效性。
四、履约阶段:1. 施工准备:中标人按照合同要求,进行施工准备工作,包括人员组织、材料采购、施工方案制定等。
2. 施工过程:中标人按照合同要求,进行工程施工,确保按时、按质、按量完成工程项目。
3. 工程验收:工程竣工后,招标人组织验收,对工程项目进行质量、安全等方面的检查,确保符合合同要求。
4. 结算支付:经过验收合格后,招标人按照合同约定,向中标人支付工程款项,完成工程项目的结算。
项目招投标管理业务流程图节点说明第一阶段:招标准备阶段节点B2,确定项目1.总经理根据公司管理委员会的决策,确定拟建项目。
2.接“项目决策流程”。
节点C3,申请招标1.工程副总向市政府的招标管理机构申请招标。
2.根据市政府招标管理机构的要求,提供相关文件。
节点A3,招标机构审批1.市政府的招标管理机构根据我公司提供的相关文件进行详细审查。
2.如获得批准,应下达有关文件。
节点A4,组建招标机构1.由市政府的招标管理机构牵头,组织我公司及其他相关部门如建行、建委等机构组成招标机构。
2.为招标机构设立办公条件,如办公室、设备等,使招标机构投入运作。
节点A5,选定招标方式1.由组建的招标办公室和招标参与单位联合讨论招标方式。
2.招标方式可分为:(1)公开招标 (2)邀请招标 (3)议标(4)选标3.对上述招标方式进行讨论,以确定采用哪种方式。
节点D5、E5,准备招标文件1.我公司工程部、造价部联合准备招标文件。
2.招标文件包括:(1)招标书 (2)图纸 (3)承包商编制标书的其他格式性文件。
3.将上述文件全部打印装订成册,按照预定的投标商数目准备相应份数的文件。
节点E6,编制标底1.预算工程师根据图纸和省、市所颁布的定额计算出本项目的标底。
2.在编制标底中,建设机构工程师、水暖电安装工程师要相互配合,避免重复和漏项。
3.编制完成的标底应由造价部经理统一组织互审、核对。
4.向招标机构申报的标底应在公司内部通过工程总监的审核、总经理的审批。
5.所有参与审核标底的人应对标底保密。
节点A6,招标机构审核标底1.对房地产公司上报的标底,根据图纸和定额进行详细审核。
2.在核对无误时,标底应密封保存,以在开标时应用。
3.所有参与审核标底的人应对标底保密.节点A7,发布招标广告1.政府机构对该项目的招标发布广告。
2.广告可通过以下形式:(1)媒体公开公布 (2)对相关单位发邀请函。
第二阶段:资格预审阶段节点F7,索购资审文件1.有资格的建筑工程公司在看到招标广告或收到邀请函后,讨论是否参加投标,确定投标意向。
建筑工程招标招标工作流程图建筑工程招标工作流程图建筑工程招标是指为了选择合适的承包商或供应商,通过公开招标的方式进行的工程项目投标过程。
下面是建筑工程招标工作的详细流程图:1. 需求确认阶段:- 项目需求确认:确定建筑工程的规模、类型、预算等基本要求。
- 招标文件准备:编制招标文件,包括招标公告、招标文件、技术规范、合同草案等。
2. 招标准备阶段:- 招标公告发布:将招标公告发布在相关媒体、网站上,吸引潜在投标人。
- 技术交流会议:组织技术交流会议,向潜在投标人解释招标文件的内容和要求。
- 投标文件购买:潜在投标人购买招标文件,并进行详细研究。
3. 投标准备阶段:- 投标准备:投标人根据招标文件的要求,准备投标文件,包括技术方案、施工计划、预算报价等。
- 投标保证金:投标人缴纳一定金额的投标保证金,作为投标的诚意保证。
4. 投标提交阶段:- 投标截止时间:确定投标截止时间,并在截止前接收投标文件。
- 投标文件评审:评审委员会对收到的投标文件进行评审,包括技术方案的可行性、报价的合理性等。
5. 中标确定阶段:- 中标公示:评审委员会根据评审结果,确定中标候选人,并进行公示。
- 中标通知:向中标候选人发出中标通知书,确认中标事宜。
- 签订合同:中标候选人与招标人进行合同谈判,并最终签订合同。
6. 履约阶段:- 工程施工:中标人按照合同约定开始进行工程施工。
- 进度管理:招标人对工程进度进行监督和管理,确保合同的履行。
- 质量验收:工程完工后,进行质量验收,确保工程质量符合要求。
7. 结算阶段:- 结算审核:招标人对工程进度、质量进行审核,确认结算金额。
- 结算支付:招标人按照合同约定,支付中标人工程款项。
8. 项目验收阶段:- 项目验收:招标人对工程进行最终验收,确保工程符合合同要求。
- 完工结算:招标人与中标人进行最终结算,结清工程款项。
以上是建筑工程招标工作的流程图,每个阶段都有具体的任务和责任人,确保整个招标过程的顺利进行。
附件1-001:招标项目内部审批表常用附件:附件1-002:招标(采购)文件确认书附件1-003:购买招标(采购)文件登记表附件1-004:出售招标(采购)文件汇总表附件1-005:质疑投诉过程记录表附件1-006:抽取评审专家申请表附件1-007:专家抽取记录表附件1-008:交易结果确认书附件1-009:服务费通知单附件1-010:中标(成交)通知书附件1-011:资料汇编目录附件1-012:顾客满意度调查表附件1-013:归档资料登记表……如有质询如有修改处理完毕如有如需如有处理质疑答疑、补遗距截标时间不得少于法定天数项目开始确定项目经理签订代理协议项目立项申请编号 (填写并提交《项目内部审批表》)招标前期资料准备(包括资质要求、技术要求、招标公告的形式、内容、标段的划分等)编制、修改招标公告和文件并内部互审管理部审核招标公告、招标文件管理部审定终版文件(填写并提交《项目内部审批表》)发布招标公告/邀请书接受报名,发售文件(自行项目报名结束后1个工作日内提交出售招标文件汇总表)专家抽取(自行项目见专家抽取流程图)开标、评标、定标开标不足三家(流标)评标后不足三家(废标)重大问题重新招标)终止招标管理部审核评标报告及附件(《项目内部审批表》签字)招标人结果确认(交易结果确认书)中标公示(告)向管理部提交服务费通知单、中标通知书(项目内部审批表,项目经理同时提交OA回款单)管理部通知交费(发出中标通知书)财务退未中标保证金整理归档资料项目结束管理部归档备案(按《归档资料登记表》审核)招标人及监管部门备案(同时向招标人索取《顾客满意度调查表》)招标人与中标人签订合同财务收取代理费(退还中标单位保证金)投标人编制投标文件财务核实标书款及保证金招标人确认招标公告及文件(对招标文件加盖齐缝章或在招标文件确认书上盖章)招标全过程流程图。
建造工程招标招标工作流程图建造工程招标工作流程图建造工程招标是指在建造项目启动前,通过公开招标的方式选择合适的承包商来执行工程。
招标工作流程图是描述招标工作的各个环节和流程的图表,下面是一个建造工程招标工作流程图的详细描述:1. 项目立项阶段:- 招标需求确认:确定建造项目的招标需求,包括工程规模、工期、预算等。
- 编制招标文件:根据需求编制招标文件,包括招标公告、招标文件、技术规范、合同模板等。
2. 招标准备阶段:- 发布招标公告:将招标公告发布在合适的媒体平台上,吸引潜在的承包商参预招标。
- 技术交底会:组织技术交底会,向潜在的承包商详细介绍工程要求和技术规范。
- 答疑与变更:接受潜在承包商的疑问和建议,并根据需要对招标文件进行适当的变更。
3. 投标阶段:- 投标准备:潜在承包商准备投标文件,包括技术方案、施工方案、预算报价等。
- 投标截止:规定投标截止时间,潜在承包商需要在截止时间前将投标文件递交给招标方。
- 开标:在规定的时间和地点,公开开启投标文件,记录投标人的姓名、报价等信息。
4. 评标阶段:- 技术评审:评审委员会对投标文件进行技术评审,包括技术方案的合理性、施工方案的可行性等。
- 商务评审:评审委员会对投标文件进行商务评审,包括预算报价的合理性、合同条款的符合性等。
- 综合评审:综合考虑技术和商务评审结果,对各投标人进行综合评分。
5. 中标与合同签订阶段:- 中标通知:根据评审结果,确定中标人,并向中标人发出中标通知书。
- 合同谈判:与中标人进行合同谈判,商讨合同条款、付款方式、工期等细节。
- 合同签订:根据谈判结果,双方签署正式合同,并支付履约保证金。
6. 履约阶段:- 工程施工:中标人按照合同约定进行工程施工。
- 监理与验收:招标方组织监理人员对工程进行监督和验收,确保工程质量符合要求。
- 结算与支付:根据工程进度和合同约定,进行工程结算并支付承包商相应款项。
以上是建造工程招标工作流程图的详细描述,通过明确的步骤和流程,可以确保招标工作的公正性和透明度。
招标工作流程图一、招标工作流程概述招标工作是指在项目或采购过程中,通过发布招标公告,邀请潜在供应商或承包商参与竞标,最终选择最合适的供应商或承包商的过程。
招标工作流程图是用来描述招标工作的各个阶段和流程的图表,有助于管理人员和参与者清晰了解整个招标流程。
二、招标工作流程图详细描述1. 需求确认阶段- 项目或采购部门与相关部门共同讨论和确认需求,明确需要采购的产品或服务的具体要求和规格。
- 编制需求确认报告,包括需求描述、规格要求、采购数量等信息。
2. 招标准备阶段- 根据需求确认报告,编制招标文件,包括招标公告、招标文件、合同草案等。
- 制定招标计划,明确招标时间、地点、方式等。
- 确定招标评标委员会成员,包括项目负责人、采购专员、技术专家等。
3. 招标公告发布阶段- 在指定的媒体或平台上发布招标公告,包括项目或采购的基本信息、招标文件获取方式、截止时间等。
- 同时将招标公告通知相关潜在供应商或承包商。
4. 招标文件获取阶段- 潜在供应商或承包商根据招标公告的要求,获取招标文件。
- 招标文件包括招标说明、技术要求、商务要求、评标标准等详细信息。
5. 投标准备阶段- 潜在供应商或承包商仔细阅读招标文件,了解招标要求。
- 准备投标文件,包括技术方案、商务报价、合同草案等。
- 如果有需要,潜在供应商或承包商可以提出问题或咨询,以便更好地理解招标要求。
6. 投标递交阶段- 潜在供应商或承包商按照招标文件的要求,准备好投标文件。
- 在规定的截止时间前,将投标文件递交给招标方。
- 投标文件通常以密封信封形式提交,确保投标内容不被泄露。
7. 投标评审阶段- 招标评标委员会对递交的投标文件进行评审。
- 根据招标文件中规定的评标标准,对技术方案、商务报价等进行评分。
- 评审结果通常以评审报告的形式记录下来。
8. 中标确定阶段- 招标评标委员会根据评审结果,确定中标候选人。
- 通常会对中标候选人进行更详细的调查和核实,以确保其具备履约能力。
分包招标流程一、背景介绍分包招标是指在一个大型工程项目中,将工程的一部份或者多个部份委托给其他承包商进行施工。
分包招标流程是指在选择分包承包商的过程中所需要遵循的一系列规定和步骤。
本文将详细介绍分包招标流程的各个环节。
二、招标准备1.明确分包范围:在招标前,项目管理团队需要明确哪些工作可以进行分包,以及具体的分包范围。
2.编制招标文件:招标文件是招标过程中的重要文件,包括工程说明书、技术规范、施工图纸等。
招标文件需要详细描述工程的要求和条件。
3.发布招标公告:招标公告是向潜在承包商发布招标信息的重要途径。
公告应包含项目的基本信息、招标范围、要求和截止日期等。
三、招标过程1.资格预审:潜在承包商需要提交资格预审申请,包括公司资质、工程经验和财务状况等。
项目管理团队会对申请进行评估,筛选出符合要求的承包商。
2.招标文件领取:符合资格预审要求的承包商可以领取招标文件,并进行详细的研究和分析。
3.技术投标:承包商需要根据招标文件的要求,编制技术投标书,详细说明自己的施工方案、技术能力和资源配置等。
4.商务投标:承包商需要编制商务投标书,包括报价、工期、支付方式等商务条款。
5.开标评标:开标是指在规定的时间和地点公开拆开技术投标和商务投标文件,并进行评标。
评标委员会会根据招标文件的要求,对各个投标进行评分和排名。
6.中标公示:评标委员会根据评标结果,确定中标人,并进行公示。
公示期普通为7天,期间接受投诉和异议。
7.签订合同:中标人与项目管理团队进行合同谈判,并最终签订合同。
四、合同履行1.项目启动:合同签订后,项目管理团队与承包商进行项目启动会议,明确工作计划、目标和责任。
2.施工过程:承包商按照合同要求,组织施工队伍、采购材料、安排施工进度等。
项目管理团队进行监督和检查,确保施工质量和进度。
3.质量验收:施工完成后,项目管理团队进行质量验收,确认工程符合合同要求。
4.支付结算:项目管理团队根据合同约定,进行支付和结算,包括工程款、材料款等。
分包招标流程一、背景介绍分包招标是指在一个大型项目中,将工程的某些部份或者专业性较强的工作交由其他企业或者个人承担。
分包招标流程是确保分包工程能够按照规定程序进行的关键步骤,下面将详细介绍分包招标流程的标准格式。
二、分包招标流程标准格式1. 项目信息在分包招标流程的标准格式中,首先需要提供项目的基本信息,包括项目名称、项目地点、项目规模、项目周期等。
这些信息可以根据实际情况进行编写。
2. 招标公告发布招标公告是通知潜在投标人参预分包招标的重要文件。
在招标公告中,需要包括以下内容:- 项目名称和招标编号- 招标范围和要求- 投标截止时间和地点- 投标文件获取方式和费用- 投标人资格要求- 招标文件的发售和查阅方式3. 投标文件准备投标文件是投标人向招标方提交的详细工程报价和相关资料。
在投标文件准备阶段,需要完成以下工作:- 确定投标文件的组成和格式要求- 准备技术性文件,包括施工方案、工程进度计划等- 准备商务性文件,包括报价单、合同条款等- 准备资质文件,如企业营业执照、资质证书等- 对投标文件进行内部审核和校对4. 投标文件递交投标文件递交是将准备好的投标文件提交给招标方的过程。
在投标文件递交阶段,需要完成以下步骤:- 按照招标文件要求,将投标文件密封并标明投标人名称和标识- 按照要求将投标文件递交给招标方,可以通过快递、挂号信等方式进行5. 开标评标开标评标是招标方对递交的投标文件进行公开评审和比较,最终确定中标人的过程。
在开标评标阶段,需要完成以下工作:- 在规定的时间和地点,公开拆封投标文件- 对投标文件进行评审,包括技术评审和商务评审- 根据评审结果确定中标人,签订合同6. 中标通知和合同签订中标通知是招标方将中标结果通知中标人的文件。
在中标通知和合同签订阶段,需要完成以下步骤:- 发送中标通知给中标人,通知其中标并要求签订合同- 确定合同条款和签订合同- 在合同签订后,按照合同要求进行后续工作的准备7. 分包工程实施分包工程实施是根据合同要求,由中标人承担的具体工程实施过程。
分包招标流程标题:分包招标流程引言概述:分包招标是建筑工程中常见的一种方式,通过分包可以将工程分解成若干个小包,由不同的承包商承担不同的工作内容。
分包招标流程是指在建筑工程中进行分包招标的具体步骤和程序。
本文将从分包招标的定义、分包招标的意义、分包招标的流程、分包招标的注意事项以及分包招标的优势等方面进行详细介绍。
一、分包招标的定义1.1 分包招标是指将整个工程项目按照不同的专业或工种进行划分,然后通过公开招标的方式选择合适的承包商承担相应的工程内容。
1.2 分包招标是建筑工程中的一种管理方式,可以有效分担总承包商的工作量,提高工程质量和效率。
1.3 分包招标的目的是为了确保工程的顺利进行,保证各个工程环节的质量和进度。
二、分包招标的意义2.1 降低总承包商的风险:通过分包招标,可以将工程风险分散到不同的承包商,降低总承包商的风险承担。
2.2 提高工程质量:分包招标可以选择专业性更强的承包商,提高工程质量和技术含量。
2.3 提高工程效率:通过分包招标,可以将工程分解成更小的工作包,提高施工效率和管理效率。
三、分包招标的流程3.1 制定分包计划:根据工程项目的特点和要求,确定分包的范围、分包的专业和工种等内容。
3.2 发布招标公告:根据分包计划,发布招标公告,吸引合适的承包商参与竞标。
3.3 评标和中标:对参与竞标的承包商进行评标,确定中标者,签订合同并正式启动分包工程。
四、分包招标的注意事项4.1 选择合适的承包商:在进行分包招标时,要选择信誉良好、技术过硬的承包商,确保工程质量和进度。
4.2 合理划分工程范围:分包招标时,要根据工程的实际情况和需求,合理划分工程范围,避免出现工程范围交叉或漏项。
4.3 确定合理的分包合同:在分包招标中,要明确分包合同的内容和责任,确保各方权益得到保障。
五、分包招标的优势5.1 降低总承包商的风险:分包招标可以将工程风险分散到不同的承包商,降低总承包商的风险承担。
分包招标流程第一篇:分包招标流程分包招标流程1、招标实施申请:向分局申报《招标实施申请表》。
(为争取时间可同时上报招标文件、分包合同范本)2、投标人选择:优先从公司合格分包商资源库中选择符合分包条件的分包商参加竞标。
不在库分包商需申请入库(由分包商自行申请)。
对投标人进行资格预审,要满足资质要求。
3、招标文件编制:原则上,招标文件采用范本文件,各单位可根据项目特点对主要商务内容和技术内容进行合理调整,招标文件的编写应满足招标(含报批)所需合理时间。
招标工程必须设置招标限价。
4、发标:招标文件经审核后方可用于招标。
5、答疑:原则上,招标项目采用函件往来形式进行答疑,确有必要的可以召开招标答疑会。
投标人的提问及我方答复均应在两个工作日内形成书面答疑文件,发送所有投标人。
答疑文件作为招标文件的组成部分。
6、开标:在招标文件规定的提交投标文件截止时间的同一时间公开进行。
6.1 招标人签收投标人递交的投标文件在开标当日且在开标地点递交的投标文件的签收应当填写《标书送达登记表》。
在招标文件规定的截标时间后递交的投标文件不得接收,由招标人原封退还给有关投标人。
在截标时间前递交投标文件的投标人少于三家的,招标无效,开标会即告结束,招标人应当依法重新组织招标。
6.2、投标人出席开标会的代表签到投标人授权出席开标会的代表本人填写开标会签到表,招标人专人负责核对签到人身份,应与签到的内容一致。
6.3、开标会主持人宣布开标会开始、主持人宣布开标人、唱标人、记录人和监督人员开标人一般为招标人或招标代理机构的工作人员,唱标人可以是投标人的代表或者招标人或招标代理机构的工作人员,记录人由招标人指派,市监督部门、中心工作人员进行现场监督。
6.4、开标会主持人介绍主要与会人员主要与会人员包括到会的招标人代表、招标代理机构代表、各投标人代表、监督人员等。
6.5、主持人宣布开标会程序、开标会纪律和当场废标的条件开标会纪律一般包括:1、场内严禁吸烟;2、凡与开标无关人员不得进入开标会场;3、参加会议的所有人员应关闭通讯设备,开标期间不得高声喧哗;4、投标人代表有疑问应举手发言,参加会议人员未经主持人同意不得在场内随意走动。
项目分包招标工作流程及流程图
1.流程名称
公司项目分包招标流程
2.流程编制部门
公司
3.流程适用部门、单位
公司所有部门
4.流程概述
该流程用于公司项目工程分包工作,由公司总经理进行审核和审批。
5.流程说明
0)开始事件。
1)公司项目部根据项目总体进度要求,提出项目分包计划。
2)公司总经理审核和审批项目分包计划。
3)公司项目部编制分包商务招标文件,主要包括招标商务文件、合格分包商名单、成立招议标小组及人员(含纪检审计)名单。
4)专业设计所编制招议标技术要求。
5)公司总经理审查批准招标文件,未通过返回编制人员,通过执行招议标工作。
6)招标小组进行招议标活动、无记名评分、编制评标报告。
7)招标小组根据评标报告和业主等工程实际情况推荐预中标建议。
8)公司主管副总经理审核预中标建议,未通过返回招标小组,通过报公司总经理批准。
9)公司总经理审核未通过,返回招标小组,通过公布招标结果。
10)公司公布招标结果,发放中标通知书。
11)结束事件。
6.流程关键控制点
1)设备采购必须符合国家、集团公司、公司的有关规定。
2)工程分包必须征求业主的意见,并获得业主的认可。
7.流程图
项目分包招标流程图。