国有控股上市公司股权激励操作流程
- 格式:docx
- 大小:12.09 KB
- 文档页数:5
国企股权激励方案第1篇国企股权激励方案一、方案背景随着我国经济体制改革的不断深入,国有企业改革已成为当前经济发展的重要任务。
为激发国有企业活力,提高企业核心竞争力,优化人才结构,本方案旨在制定一套合法合规的股权激励措施,促使国有企业核心人才与企业发展形成利益共同体,共享发展成果。
二、激励目标1. 提高企业核心人才的工作积极性和创新能力,促进企业可持续发展。
2. 建立健全激励与约束机制,实现企业利益与核心人才利益的紧密结合。
3. 优化人才结构,吸引和留住优秀人才,提升企业整体竞争力。
三、激励对象本方案激励对象主要包括:1. 企业高级管理人员。
2. 核心技术人才。
3. 关键岗位人才。
四、激励方式1. 限制性股权激励:对激励对象授予一定数量的限制性股权,设定相应的解锁条件,激励对象在满足解锁条件后,方可获得股权。
2. 股票期权激励:对激励对象授予股票期权,行权价格、行权期限等条件根据企业实际情况确定。
3. 虚拟股权激励:设立虚拟股权,激励对象享有虚拟股权所带来的收益分配权,但不享有实际所有权。
五、激励额度1. 激励总额度:根据企业规模、盈利能力、人才结构等因素,合理确定激励总额度。
2. 个人激励额度:根据激励对象的职位、贡献、能力等因素,合理分配个人激励额度。
六、解锁条件1. 业绩考核:以企业年度业绩为考核依据,设定相应的业绩指标,如净利润增长率、营业收入增长率等。
2. 个人绩效:激励对象需完成年度个人绩效目标,包括但不限于技术创新、管理改进等方面。
3. 企业合规:激励对象在解锁期内,企业需遵守相关法律法规,未发生重大违法违规行为。
七、激励计划实施1. 制定方案:根据本方案,结合企业实际情况,制定具体的激励计划。
2. 审批流程:激励计划需提交企业董事会、股东大会审议,并报相关部门审批。
3. 股权授予:审批通过后,与激励对象签订股权激励协议,明确双方权利义务。
4. 激励对象解锁:在满足解锁条件后,按照约定比例对激励对象进行股权解锁。
公司股权激励申报流程
一、准备阶段
1.确定股权激励计划的目的和方案,包括激励对象、激励方式、激励数量、行权价格等。
2.完成相关法律、财务等方面的尽职调查,确保符合相关法律法规和监管要求。
3.确定股权激励计划的考核指标和标准,如公司业绩指标、个人绩效指标等。
二、申报阶段
1.制定股权激励计划的具体方案和申报材料,并提交给中国证监会及交易所进行审核。
2.申报材料应包括股权激励计划书、股东大会决议、董事会决议、监事会决议、独立财务顾问报告等。
3.等待审核结果,如有问题及时进行修改和完善。
三、实施阶段
1.通过审核后,按照股权激励计划的具体方案进行实施,包括授权、行权、解锁等环节。
2.定期进行信息披露,包括股权激励计划的实施进展、公司业绩指标和个人绩效指标的完成情况等。
3.根据实际情况及时调整和优化股权激励计划,提高激励效果。
四、总结与反思
1.在股权激励计划结束后,对其实施效果进行评估和总结,分析激励效果是否达到预期。
2.对整个申报和实施过程进行反思和总结,发现问题及时改进,为今后的股权激励计划提供经验和教训。
总之,公司股权激励申报流程需要经过准备、申报、实施和总结四个阶段,每个阶段都有具体的要求和注意事项。
公司应该根据实际情况制定符合自身需求的股权激励计划,并按照相关法律法规和监管要求进行申报和实施,确保激励效果的最大化。
国有控股上市公司实施股权激励工作指引第一章总则第一条为加强指导和规范国有控股上市公司实施股权激励,完善股权激励审核和备案程序,强化政策执行和监管力度,依据《中华人民共和国公司法》、《中华人民共和国企业国有资产法》等法律,以及国务院国资委、财政部《关于印发<国有控股上市公司(境外)实施股权激励试行办法>的通知》(胱史⒎峙洹2021〕8号)、《关于印发〈国有控股上市公司(境内)实施股权激励试行办法〉的通知》(胱史⒎峙洹2021〕175号)和《关于规范国有控股上市公司实施股权激励制度有关问题的通知》(胱史⒎峙洹2021〕171号)等有关文件的规定,制定本指引。
第二条本提示适用于于股票在中华人民共和国境内、境外上市的国有控股有限公司上市公司(以下缩写上市公司)。
第三条上市公司国有控股股东应当依法履行出资人职责,按照本指引要求指导上市公司制订规范的股权激励计划,并根据履行国有资产出资人职责的机构意见,审议表决上市公司股权激励计划。
第四条本提示所表示股权激励,就是指上市公司以本公司股票或者其他派生权益为标的,对上市公司董事、高级管理人员及其他技术骨干和管理骨干实行的中长期鞭策。
第五条上市公司实行股权激励应遵从以下指导原则:(一)坚持依法规范,公开透明,遵循相关法律法规和上市公司章程规定;(二)秉持保护股东利益、公司利益和鞭策对象利益,推动国有资本保值变现,确保中小股东利益,维持上市公司的可持续发展;(三)秉持鞭策与约束结合,风险与收益相对表示,适当加强对上市公司管理层的鞭策力度;(四)秉持从实际启程,谨慎起步,循序渐进,不断完善。
第六条境内、境外上市公司实施股权激励应当分别具备胱史⒎峙洹2021〕175号、胱史⒎峙洹2021〕8号文件规定的条件,同时还应当按照胱史⒎峙涫保除考虑限制性股票赠与部分的当期价值(授予价格与个人认购价格的差额)外,还应当考虑赠与部分未来增值收益。
上市公司实行业绩股票激励方式的,应当按照业绩股票的授予价格确定单位业绩股票的公允价值。
关于印发《国有控股上市公司(境内)实施股权激励试行办法》的通知(国务院国有资产监督管理委员会、财政部国资发分配[2006]175号)各省、自治区、直辖市及计划单列市、新疆生产建设兵团国资委、财政厅(局),各中央企业:为指导国有控股上市公司(境内,以下简称上市公司)规范实施股权激励制度,建立健全激励与约束相结合的中长期激励机制,进一步完善公司法人治理结构,充分调动上市公司高级管理人员和科技人员的积极性、创造性,规范上市公司拟订和实施股权激励计划,根据《中华人民共和国公司法》、《中华人民共和国证券法》、《企业国有资产监督管理暂行条例》(国务院令第378号),我们制定了《国有控股上市公司(境内)实施股权激励试行办法》(以下简称〈试行办法〉)。
现印发给你们,请结合实际,认真遵照执行。
现将有关事项通知如下:一、国有控股上市公司实施股权激励是一项重大制度创新,政策性强,操作难度大。
为规范实施股权激励制度,对国有控股上市公司试行股权激励实施分类指导。
对中央企业及其所出资企业控股的上市公司,其股权激励计划在报股东大会审计表决前,由集团公司按照《试行办法》规定的程序抱履行国有资产出资人职责的机构或部门审核;对中央企业所出资三级以下企业控股的上市公司,其股权激励计划在上市公司股东大会审议前,报履行国有资产出资人职责的机构或部门备案。
履行国有资产出资人职责的机构或部门自从收到完整的股权激励计划申报材料之日起,20个工作日内出具审核意见,未提出异议的,国有控股股东可按申报意见参与股东大会审议股权激励计划。
二、地方国有控股上市公司试行股权激励办法,应严格按《试行办法》规定的条件执行。
在试点期间,上市公司股权激励计划由各省、自治区、直辖市、计划单列市及新疆生产建设兵团国资委或财政厅(局)统一审核批准后,报国务院国资委和财政部备案。
三、对在《试行办法》出台之前已经公告或实施了股权激励的国有控股上市公司,要按照《试行办法》予以规范,对股权激励计划修订完善并履行相应的审核或者备案程序。
上市公司股权激励操作流程
上市公司股权激励的操作流程一般包括以下步骤:
1.确定激励对象:根据公司的战略发展需要和经营业绩状况,确定
是否实施股权激励计划以及激励对象的选择。
2.制定股权激励方案:由董事会提出一个初步的实施方案(草案),
经股东大会通过后形成正式的《股票期权与限制性股票管理暂行办法》。
3.确定激励数量:根据公司的财务状况、激励对象的贡献以及市场
情况等因素,确定激励股票的数量。
4.确定行权价格:根据公司的财务状况、市场情况以及激励对象的
贡献等因素,确定激励股票的行权价格。
5.确定行权条件:根据公司的战略发展需要和经营业绩状况,确定
激励股票的行权条件。
6.确定激励期限:根据公司的战略发展需要和经营业绩状况,确定
激励股票的激励期限。
7.申请备案和报批:向证监会申请备案和报批,获得批准后才能实
施股权激励计划。
8.实施股权激励计划:按照批准的股权激励计划,向激励对象授予
股票期权或限制性股票,并确定行权价格和行权条件。
9.持续监督和管理:对股权激励计划进行持续监督和管理,确保其
合规性和有效性。
需要注意的是,以上流程仅为一般性的描述,具体的操作流程可能因公司的具体情况而有所不同。
同时,实施股权激励计划需要遵守相关法律法规和监管要求,确保其合法性和合规性。
上市公司员工股权激励最完整版在当今竞争激烈的商业世界中,上市公司为了吸引、留住优秀人才,激发员工的积极性和创造力,常常采用员工股权激励这一策略。
员工股权激励不仅是一种薪酬激励手段,更是一种将员工利益与公司长期发展紧密结合的有效方式。
接下来,让我们详细了解一下上市公司员工股权激励的方方面面。
一、什么是上市公司员工股权激励上市公司员工股权激励,简单来说,就是公司给予员工一定数量的公司股票或股票期权,使员工能够以股东的身份参与公司的决策和分享公司的利润,从而将员工的个人利益与公司的整体利益紧密联系在一起。
二、上市公司员工股权激励的主要形式1、股票期权股票期权是指公司授予员工在未来一定时期内以预先确定的价格和条件购买公司一定数量股票的权利。
员工在达到规定的行权条件后,可以按照约定的价格购买公司股票。
2、限制性股票限制性股票是指公司按照预先确定的条件授予员工一定数量的公司股票,但员工在一定期限内不得出售这些股票。
只有在满足解锁条件后,员工才能自由处置这些股票。
3、股票增值权股票增值权是指公司授予员工一种权利,当公司股票价格上涨时,员工可以获得股票价格上涨所带来的收益,但并不实际拥有公司股票。
三、上市公司员工股权激励的优点1、吸引和留住人才在人才竞争激烈的市场环境中,股权激励能够为公司吸引到具有创新能力和发展潜力的优秀人才,并留住公司内部的核心员工。
2、激励员工积极性员工成为公司的股东后,其工作积极性和责任心会大大增强,因为他们的个人利益与公司的业绩直接挂钩。
3、降低代理成本通过股权激励,使员工与股东的利益趋于一致,减少了股东与管理层之间的利益冲突,降低了代理成本。
4、提升公司价值股权激励能够激发员工的创造力和创新精神,推动公司的业绩增长,从而提升公司的市场价值。
四、上市公司员工股权激励的实施流程1、制定股权激励计划公司管理层需要根据公司的战略目标、财务状况、市场环境等因素,制定详细的股权激励计划,包括激励对象、激励形式、授予数量、行权价格、解锁条件等。
国有控股上市公司(境外)实施股权激励方案一、背景和目的为了提高员工的积极性和创造性,增强公司的凝结力和竞争力,促进公司的长远发展,本公司制定了国有控股上市公司(境外)实施股权激励方案。
二、方案内容2.1 激励范围本方案合用于本公司在岗员工,并以股权及其衍生品等方式进行激励。
2.2 激励形式(1)股票期权:公司负责向员工提供股票期权,并确定行权价格及行权期限,员工获得期权的行权时间和方式应受到限制。
(2)股票奖励:公司按照一定比例向员工发放股票奖励。
(3)股票持有计划:公司制定股票持有计划,员工购买公司股票后,在特定条件下享有卖出或者转让的权利。
2.3 激励对象所有在公司正式注册的在岗员工均可申请参预本方案,但公司保留最终决策权。
2.4 激励数额公司将根据员工的职位、个人表现和贡献度等因素来确定激励数额。
2.5 激励期限本方案的激励期限为三年。
2.6 行权及解除机制(1)股票期权行权机制:公司将根据股票市场价格,决定员工所持股票期权是否行权。
(2)股票奖励解除机制:员工在特定时偶尔事件后可以将持有的股票出售或者转让。
2.7 税务政策公司将按照国家有关税收政策对员工的激励所得进行扣减个人税收。
三、实施细则3.1 申请参预激励的程序员工应向公司提交书面申请,公司将根据员工的申请情况和激励标准进行审核。
3.2 协议签署公司将与员工签订激励协议,明确各项权益和义务。
3.3 股票期权管理公司将建立股票期权管理制度,监督员工行权情况,并保证员工所持股票期权的合法性和有效性。
四、方案评估公司将定期对股权激励方案进行评估,包括激励效果、员工满意度以及对公司业绩的影响等方面。
五、方案总结国有控股上市公司(境外)实施股权激励方案,可有效提高员工的积极性和创造性,增强公司的凝结力和竞争力,促进公司的长远发展。
本方案的实施需要遵循相关法律法规和公司制度,确保合法、公平、公正。
1、列举本文档所涉及简要注释如下:(1)股权激励:一种以股票或者股票衍生品作为激励方式的员工激励计划。
国有控股上市公司员工股权激励问题研究随着我国国有控股企业改革、上市和市场化的进程不断深入,企业员工股权激励制度成为一个备受关注的话题。
作为企业治理结构的一部分,员工股权激励在一定程度上可以提高员工对企业的归属感,促进企业的稳定发展。
本文主要研究国有控股上市公司员工股权激励问题。
1、股权激励范围狭窄国有控股上市公司的员工股权激励主要是通过股票期权和限制性股票等手段实现。
但是,在绝大多数国有控股上市公司中,员工股权激励只面向管理层和高管人员,而普通员工很难获得股权激励。
2、股权激励政策不够完善目前,国有控股上市公司的股权激励主要依靠《公司法》、《证券法》等法律法规进行规范。
但是,在实际操作过程中,因为这些法律法规的条文还不够明确和具体,导致国有控股上市公司的股权激励政策也存在着不少问题,如激励权益计算方法不统一、股权激励期限过长等。
一些国有控股上市公司在制定员工股权激励计划时,缺乏完备的制度设计和实施方案,不仅使得员工参与度较低,也不利于公司股东的利益最大化。
针对上述问题,国有控股上市公司可以从以下几个方面入手,制定具体的对策:在国有控股上市公司中,应当积极推动股权激励计划的范围扩大,让更多的员工能够享受到股权激励。
从长远来看,股权激励计划的扩大不仅可以提升员工的积极性,还可以促进公司的稳定发展。
在制定股权激励政策时,国有控股上市公司应该加强与股东关系的沟通,在政策规划、设立激励计划的层面上与股东达成共识,为员工提供更加合理的激励机制。
3、推动股权激励计划的实施国有控股上市公司应加强对员工股权激励计划的宣传和落实,同时采取有效的措施,如可行性评估和监控机制等,确保计划得以顺利实施。
此外,还可以采取股权激励平台的方式,将股东、管理层和员工之间的利益关系更好地协调起来,以实现共赢。
总之,国有控股上市公司员工股权激励是一项重要的制度安排,旨在提高员工的归属感和企业的竞争力。
通过深入挖掘员工的激励机制,提高员工参与度,相信会对国有控股上市公司的稳定发展起到重要的推动作用。
国有控股上市公司(境内)实施股权激励试行办法第一章总则第一条为指导国有控股上市公司(境内)规范实施股权激励制度,建立健全激励与约束相结合的中长期激励机制,进一步完善公司法人治理结构,依据《中华人民共和国公司法》、《中华人民共和国证券法》、《企业国有资产监督管理暂行条例》等有关法律、行政法规的规定,制定本办法。
第二条本办法适用于股票在中华人民共和国境内上市的国有控股上市公司(以下简称上市公司)。
第三条本办法主要用于指导上市公司国有控股股东依法履行相关职责,按本办法要求申报上市公司股权激励计划,并按履行国有资产出资人职责的机构或部门意见,审议表决上市公司股权激励计划。
第四条本办法所称股权激励,主要是指上市公司以本公司股票为标的,对公司高级管理等人员实施的中长期激励。
第五条实施股权激励的上市公司应具备以下条件:(一)公司治理结构规范,股东会、董事会、经理层组织健全,职责明确。
外部董事(含独立董事,下同)占董事会成员半数以上;(二)薪酬委员会由外部董事构成,且薪酬委员会制度健全,议事规则完善,运行规范;(三)内部控制制度和绩效考核体系健全,基础管理制度规范,建立了符合市场经济和现代企业制度要求的劳动用工、薪酬福利制度及绩效考核体系;(四)发展战略明确,资产质量和财务状况良好,经营业绩稳健;近三年无财务违法违规行为和不良记录;(五)证券监管部门规定的其他条件。
第六条实施股权激励应遵循以下原则:(一)坚持激励与约束相结合,风险与收益相对称,强化对上市公司管理层的激励力度;(二)坚持股东利益、公司利益和管理层利益相一致,有利于促进国有资本保值增值,有利于维护中小股东利益,有利于上市公司的可持续发展;(三)坚持依法规范,公开透明,遵循相关法律法规和公司章程规定;(四)坚持从实际出发,审慎起步,循序渐进,不断完善。
第二章股权激励计划的拟订第七条股权激励计划应包括股权激励方式、激励对象、激励条件、授予数量、授予价格及其确定的方式、行权时间限制或解锁期限等主要内容。
国资委关于印发《中央企业控股上市公司实施股权激励工作指引》的通知文章属性•【制定机关】国务院国有资产监督管理委员会•【公布日期】2020.04.23•【文号】•【施行日期】2020.04.23•【效力等级】部门规范性文件•【时效性】现行有效•【主题分类】考核评价正文关于印发《中央企业控股上市公司实施股权激励工作指引》的通知各中央企业:为深入贯彻落实习近平新时代中国特色社会主义思想,建立健全生产要素由市场评价贡献、按贡献决定报酬的机制,推动中央企业实施中长期激励,国资委在总结中央企业控股上市公司股权激励工作的基础上,制定了《中央企业控股上市公司实施股权激励工作指引》,现印发给你们,供参考。
国资委2020年4月23日中央企业控股上市公司实施股权激励工作指引第一章总则第一条为进一步推动中央企业控股上市公司建立健全长效激励约束机制,完善股权激励计划的制定和实施工作,充分调动上市公司核心骨干人才的积极性,促进国有资产保值增值,推动国有资本做强做优做大,根据《中华人民共和国公司法》、《中华人民共和国企业国有资产法》、《关于修改<上市公司股权激励管理办法>的决定》(证监会令第148号)和国有控股上市公司实施股权激励的有关政策规定,制定本指引,供企业在工作中参考使用。
第二条本指引适用于国务院国有资产监督管理委员会(以下简称国资委)履行出资人职责的中央企业及其各级出资企业控股或实际控制的上市公司(以下简称上市公司)。
第三条本指引所称股权激励,是指上市公司以本公司股票或者其衍生权益为标的,对其董事、高级管理人员及管理、技术和业务骨干实施的长期激励。
第四条本指引用于指导中央企业、上市公司国有控股股东依法履行出资人职责,按照本指引及相关规定指导上市公司科学制定股权激励计划、规范履行决策程序,做好股权激励计划的实施管理工作。
第五条上市公司实施股权激励应当遵循以下原则:(一)坚持依法规范,公开透明,遵循法律法规和公司章程规定,完善现代企业制度,健全公司治理机制。
关于印发《国有控股上市公司实施股权激励试行办法国有控股上市公司实施股权激励试行办法简介及探讨引言:随着中国国有企业改革的推进,国有控股上市公司的股权激励问题逐渐受到关注。
为了激发国有控股上市公司的活力和创新能力,2016年,中国证监会发布了《国有控股上市公司实施股权激励试行办法》,旨在规范和推动国有企业的股权激励机制。
本文将简要介绍该办法的主要内容,并对其实施过程进行探讨,以期为国有控股上市公司的管理者和投资者提供一定的参考。
印发《国有控股上市公司实施股权激励试行办法》的背景:国有控股上市公司作为国民经济的重要组成部分,一直承担着中国经济发展的重要责任。
然而,由于其体制和管理上的特殊性,其激励机制相对落后,导致管理者创新意识不强,员工激励不足,无法充分发挥国有企业的优势。
为此,中国证监会制定了《国有控股上市公司实施股权激励试行办法》,希望通过股权激励机制的引入,激发国有企业的活力,提高其市场竞争力。
主要内容:该办法主要包括以下几个方面的内容:1. 推动国有控股上市公司实施股权激励的目标和原则;2. 确定股权激励的激励对象、内容和方式;3. 设定股权激励计划的审核程序和要求;4. 规范股权激励实施过程中的信息披露和监管要求。
探讨:1. 对于国有控股上市公司来说,股权激励的实施是一个非常复杂的过程。
在制定股权激励计划时,公司需要同时考虑到国家利益和公司利益的平衡。
因此,政府和公司管理者必须共同努力,在法律、财务等方面进行细致考量,确保股权激励的公平性和合法性。
2. 在股权激励试行办法实施过程中,政府和管理者需要制定明确的考核和激励机制,以确保股权激励的有效性。
首先,需要建立完善的绩效考核体系,将股权激励与公司的发展目标相结合,使员工的激励与公司的利益保持一致。
其次,应对激励计划进行科学评估,及时调整和改进,以适应市场环境的变化。
3. 股权激励试行办法的实施应注重公众的监督和参与。
管理者和投资者应积极参与股权激励计划的制定和实施,提出建设性意见,并通过信息披露等方式,保障公众对公司治理的知情权和参与权。
20XX 标准合同模板范本PERSONAL RESUME甲方:XXX乙方:XXX2024年股权激励计划实际操作指导手册本合同目录一览第一条:股权激励计划的目的与原则1.1:目的1.2:原则第二条:股权激励计划的适用对象2.1:适用对象范围2.2:排除对象范围第三条:股权激励计划的激励方式3.1:股票期权3.2:限制性股票3.3:其他激励方式第四条:股权激励计划的授予条件4.1:业绩条件4.2:服务期限条件4.3:其他条件第五条:股权激励计划的授予程序5.1:提名5.2:审批5.3:授予第六条:股权激励计划的归属与解锁6.1:归属期限6.3:解锁程序第七条:股权激励计划的终止与取消7.1:终止条件7.2:取消程序第八条:股权激励计划的调整8.1:调整条件8.2:调整程序第九条:股权激励计划的执行与管理9.1:执行主体9.2:管理责任第十条:股权激励计划的会计处理10.1:会计政策10.2:会计处理方法第十一条:股权激励计划的税务处理11.1:税务责任11.2:税务申报第十二条:股权激励计划的风险管理12.1:风险识别12.2:风险控制第十三条:股权激励计划的争议解决13.1:争议类型第十四条:股权激励计划的变更与终止14.1:变更条件14.2:终止程序第一部分:合同如下:第一条:股权激励计划的目的与原则1.1:目的本股权激励计划的目的是为了激励公司员工更好地为公司的发展和长期利益做出贡献,通过给予员工一定的股权激励,使员工的利益与公司的利益紧密结合,共同实现公司的长远发展。
1.2:原则本股权激励计划遵循公平、公正、公开的原则,确保激励计划的实施符合国家法律法规、证监会的相关规定,并充分尊重员工的意愿,保护员工的合法权益。
第二条:股权激励计划的适用对象2.1:适用对象范围本股权激励计划适用于公司任职满一定期限的核心管理人员、核心技术人才和业务骨干。
2.2:排除对象范围下列人员不适用本股权激励计划:(1)公司董事、监事、高级管理人员;(2)公司章程、法律法规规定不得参与股权激励的人员;(3)公司认为不适用本股权激励计划的其他人员。
国务院国有资产监督管理委员会、财政部关于规范国有控股上市公司实施股权激励制度有关问题的通知文章属性•【制定机关】国务院,财政部,国务院国有资产监督管理委员会•【公布日期】2008.10.21•【文号】国资发分配[2008]171号•【施行日期】2008.10.21•【效力等级】部门规范性文件•【时效性】现行有效•【主题分类】证券正文国务院国有资产监督管理委员会、财政部关于规范国有控股上市公司实施股权激励制度有关问题的通知(国资发分配〔2008〕171号)各省、自治区、直辖市及计划单列市和新疆生产建设兵团国资委、财政厅(局),各中央企业:国资委、财政部《关于印发<国有控股上市公司(境外)实施股权激励试行办法>的通知》(国资发分配〔2006〕8号)和《关于印发<国有控股上市公司(境内)实施股权激励试行办法>的通知》(国资发分配〔2006〕175号)印发后,境内、外国有控股上市公司(以下简称上市公司)积极探索试行股权激励制度。
由于上市公司外部市场环境和内部运行机制尚不健全,公司治理结构有待完善,股权激励制度尚处于试点阶段,为进一步规范实施股权激励,现就有关问题通知如下:一、严格股权激励的实施条件,加快完善公司法人治理结构上市公司国有控股股东必须切实履行出资人职责,并按照国资发分配〔2006〕8号、国资发分配〔2006〕175号文件的要求,建立规范的法人治理结构。
上市公司在达到外部董事(包括独立董事)占董事会成员一半以上、薪酬委员会全部由外部董事组成的要求之后,要进一步优化董事会的结构,健全通过股东大会选举和更换董事的制度,按专业化、职业化、市场化的原则确定董事会成员人选,逐步减少国有控股股东的负责人、高级管理人员及其他人员担任上市公司董事的数量,增加董事会中由国有资产出资人代表提名的、由公司控股股东以外人员任职的外部董事或独立董事数量,督促董事提高履职能力,恪守职业操守,使董事会真正成为各类股东利益的代表和重大决策的主体,董事会选聘、考核、激励高级管理人员的职能必须到位。
上市公司股权激励操作程序和方案国家对上市公司股权激励做了较为详细的规定,主要的几个规范性文件有:1. 2005年12月31日中国证监会制定的《上市公司股权激励管理办法》2.2006年9月30日国资委制定《国有控股上市公司(境内)实施股权激励实行办法》3.2006年1月27日国资委制定《国有控股上市公司(境外)实施股权激励实行办法》4.2008年5月7日中国证监会在其官方网站上公布的两份备忘录:《证监会股权激励有关事项备忘录1号》,《证监会股权激励有关事项备忘录2号》以上规范性文件中主要对股票期权和限制性股票作出了规范,实践中采用最多的也是这两种方式,所以以下我对这两种方式的操作程序和激励计划中的相关要素予以说明。
(一) 股票期权1. 股票期权实施程序实施之前的审核流程:(1)董事会薪酬与考核委员会拟定股权激励计划草案(2)董事会审议股权激励计划草案(3)董事审议通过后,公告董事会决议、股权激励计划草案摘要、独立董事意见、律师法律意见(4)董事会报中国证监会备案,同时抄送证券交易所及公司所在地的证监局(5)证监会自受到备案材料之日起20个工作日内未提出异议,召开股东大会审议(6)股东大会审议通过后实施实施流程:(1)激励对象授予股票期权(2)激励对象等待行权(3)行权条件成就,激励对象申请行权,董事会审核确认,证券交易所确认,证券登记结算机构办理登记结算事宜(4)条件不成就,本期股票期权取消2.股票期权股权激励计划的要点设计(1)定人:激励对象:激励对象可以包括:董事、高级管理人员、中级管理人员、核心技术(业务) 人员、公司认为应当激励的其他员工。
不能成为激励对象的人:A.独立董事,外部董事(国有控股企业),B.监事(备忘录1号最新规定)C.持股5%以上的主要股东或实际控制人原则上不得成为激励对象,除非股东大会表决通过D.激励对象不得同时参加两个或两个以上的上市公司的股权激励计划(2)定来源:股票来源用于激励的股票来源主要有:A.公司向激励对象定向增发股票(使用最多):要注意:公司不得提取激励基金资助激励对象购买股票期权,激励对象要自己出钱购买(备忘录1号)B.公司二级市场回购本公司股票:首先从公司税后利润中提取激励基金,委托信托公司在二级市场回购本公司股票并代公司持有,等激励对象行权时再过户到激励对象名下。
国有控股上市公司(境外)实施股权激励试行办法-颁布单位:国务院国有资产监督管理委员会;中华人民共和国财政部颁布日期:2006.01.27实施日期:2006.03.01第一章总则第一条为指导国有控股上市公司(境外)依法实施股权激励,建立中长期激励机制,根据《中华人民共和国公司法》、《企业国有资产监督管理暂行条例》等法律、行政法规,制定本办法。
第二条本办法适用于中央非金融企业改制重组境外上市的国有控股上市公司(以下简称上市公司)。
第三条本办法所称股权激励主要指股票期权、股票增值权等股权激励方式。
股票期权是指上市公司授予激励对象在未来一定期限内以预先确定的价格和条件购买本公司一定数量股票的权利。
股票期权原则上适用于境外注册、国有控股的境外上市公司。
股权激励对象有权行使该项权利,也有权放弃该项权利。
股票期权不得转让和用于担保、偿还债务等。
股票增值权是指上市公司授予激励对象在一定的时期和条件下,获得规定数量的股票价格上升所带来的收益的权利。
股票增值权主要适用于发行境外上市外资股的公司。
股权激励对象不拥有这些股票的所有权,也不拥有股东表决权、配股权。
股票增值权不能转让和用于担保、偿还债务等。
上市公司还可根据本行业和企业特点,借鉴国际通行做法,探索实行其他中长期激励方式,如限制性股票、业绩股票等。
第四条实施股权激励应具备以下条件:(一)公司治理结构规范,股东会、董事会、监事会、经理层各负其责,协调运转,有效制衡。
董事会中有3名以上独立董事并能有效履行职责;(二)公司发展战略目标和实施计划明确,持续发展能力良好;(三)公司业绩考核体系健全、基础管理制度规范,进行了劳动、用工、薪酬制度改革。
第五条实施股权激励应遵循以下原则:(一)坚持股东利益、公司利益和管理层利益相一致,有利于促进国有资本保值增值和上市公司的可持续发展;(二)坚持激励与约束相结合,风险与收益相对称,适度强化对管理层的激励力度;(三)坚持依法规范,公开透明,遵循境内外相关法律法规和境外上市地上市规则要求;(四)坚持从实际出发,循序渐进,逐步完善。
关于印发《国有控股上市公司(境内)实施股权激励试行办法》的通知(国务院国有资产监督管理委员会、财政部国资发分配[2006]175号)各省、自治区、直辖市及计划单列市、新疆生产建设兵团国资委、财政厅(局),各中央企业:为指导国有控股上市公司(境内,以下简称上市公司)规范实施股权激励制度,建立健全激励与约束相结合的中长期激励机制,进一步完善公司法人治理结构,充分调动上市公司高级管理人员和科技人员的积极性、创造性,规范上市公司拟订和实施股权激励计划,根据《中华人民共和国公司法》、《中华人民共和国证券法》、《企业国有资产监督管理暂行条例》(国务院令第378号),我们制定了《国有控股上市公司(境内)实施股权激励试行办法》(以下简称〈试行办法〉)。
现印发给你们,请结合实际,认真遵照执行。
现将有关事项通知如下:一、国有控股上市公司实施股权激励是一项重大制度创新,政策性强,操作难度大。
为规范实施股权激励制度,对国有控股上市公司试行股权激励实施分类指导。
对中央企业及其所出资企业控股的上市公司,其股权激励计划在报股东大会审计表决前,由集团公司按照《试行办法》规定的程序抱履行国有资产出资人职责的机构或部门审核;对中央企业所出资三级以下企业控股的上市公司,其股权激励计划在上市公司股东大会审议前,报履行国有资产出资人职责的机构或部门备案。
履行国有资产出资人职责的机构或部门自从收到完整的股权激励计划申报材料之日起,20个工作日内出具审核意见,未提出异议的,国有控股股东可按申报意见参与股东大会审议股权激励计划。
二、地方国有控股上市公司试行股权激励办法,应严格按《试行办法》规定的条件执行。
在试点期间,上市公司股权激励计划由各省、自治区、直辖市、计划单列市及新疆生产建设兵团国资委或财政厅(局)统一审核批准后,报国务院国资委和财政部备案。
三、对在《试行办法》出台之前已经公告或实施了股权激励的国有控股上市公司,要按照《试行办法》予以规范,对股权激励计划修订完善并履行相应的审核或者备案程序。
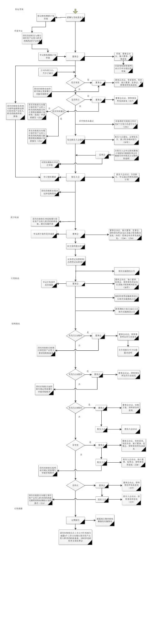
国有控股上市公司股权激励操作流程
国有控股上市公司股权激励操作流程
一、背景介绍
•国有控股上市公司股权激励是一种通过给予公司内部员工股权激励,提高员工积极性和参与度的制度安排。
下面将详细介绍国有控股上市公司股权激励的操作流程。
二、准备工作
1.公司董事会确定股权激励计划的指导意见,包括激励的目标、方
式、期限等。
2.确定参与股权激励的员工范围和比例,一般包括中高级管理人员
和关键技术人员。
3.编写股权激励计划,明确参与员工的股权比例、解锁条件、行权
期限等细则。
三、方案审核与批准
1.内部审核:由内部相关部门对股权激励计划进行审核,确保计划
的合规性和可行性。
2.董事会审核:董事会对股权激励方案进行审议,包括方案内容、
员工范围、股权比例等进行讨论和决策。
3.股东大会表决:将股权激励方案提交给股东大会进行表决,决定
是否通过并实施。
四、方案公告与员工确认
1.公告发布:将通过的股权激励方案公告于公司内部,告知员工相
关情况。
2.方案说明会:公司组织员工参与方案说明会,详细解释方案的内
容、权益和行权流程,并解答员工的疑问。
3.员工确认:员工需在一定期限内向公司回复是否愿意参与股权激
励,并提交必要的申请材料。
五、股权授予与行权
1.股权授予:根据方案规定,公司向符合条件的员工授予相应的股
权,包括股票、期权或其他形式。
2.解锁条件:设定股权解锁的条件,如员工服务年限、业绩目标等,
并在一定条件满足后解锁相应股权。
3.行权流程:员工在行权期限内,根据规定的程序进行股权行权,
可以选择以现金或股票形式实现权益。
六、股权退出与回购
1.员工退出:员工在特定情况下离职或解除合同,需按照方案规定
的程序将未行权的股权进行退出。
2.股权回购:公司在特定条件下,可以按照方案约定的价格回购员
工行权的股权。
3.股权注销:股权回购完成后,公司根据规定将回购的股权进行注
销,从而恢复公司原有的股权结构。
七、激励效果评估与改进
1.效果评估:公司定期对股权激励方案的实施效果进行评估,包括
员工激励效果、业绩改善情况等。
2.改进措施:根据评估结果,公司可以对股权激励方案进行调整和
改进,以实现更好的效果和目标。
以上是国有控股上市公司股权激励的操作流程,通过规范的流程和制度,可以实现员工的激励和公司的发展。
通过股权激励,可以提高员工的积极性和创造力,为公司的长期发展打下坚实的基础。
(以上内容仅供参考,具体操作流程应根据公司实际情况进行调整。
)
八、风险管理与监督
1.风险评估:公司需对股权激励方案可能带来的风险进行评估,包
括激励效果不如预期、员工流失等风险。
2.风险控制:采取措施控制风险,如设定合理的激励条件、制定员
工流失补偿等政策。
3.监督机制:建立有效的内部监督机制,确保股权激励方案的合规
性和公正性。
九、信息披露与透明度
1.公司应按照相关法规要求,及时披露股权激励方案的具体细节和
执行情况。
2.员工也应对方案细则进行了解,并了解股权激励的相关权益和义
务。
3.公司应建立信息沟通渠道,解答员工相关疑问,确保信息的透明
度和可及性。
十、经验总结与分享
1.公司应定期总结经验并进行分享,以提高激励效果和方案的可行
性。
2.可以与其他公司或专业机构开展交流,学习其他公司的成功经验
和创新做法。
3.在实施过程中,注意及时反馈员工的意见和建议,并予以合理的
改进和反馈。
以上是国有控股上市公司股权激励的操作流程和一些相关注意事项。
在实施股权激励计划时,公司需要严格按照规定的流程进行,同时注意风险管理和信息披露的工作,以确保方案的执行效果和公司的长期发展。
(以上内容仅供参考,具体操作流程和注意事项应根据公司实际情况进行调整和确定。
)。