流程管理-员工出差管理流程 精品
- 格式:doc
- 大小:30.54 KB
- 文档页数:1
公司出差流程管理制度第一章总则为规范公司员工出差行为,提高出差效率,保障员工安全,特制定本制度。
第二章出差申请1.员工在需要出差时,需提前向所在部门领导提交出差申请,注明出差目的、出差时间、地点、预计费用等信息。
2.领导审核通过后,员工须填写出差申请表并提交人力资源部备案。
3.出差申请需提前至少5个工作日提交,紧急情况除外。
4.领导需核实出差行程是否符合公司规定,出差费用是否合理。
第三章出差资金审批1.出差费用包括交通、住宿、餐饮、通讯、资料等费用。
2.员工需提前根据行程计划,估算出差费用,并在申请表中提出。
3.财务部门根据规定标准,审核出差费用报销申请,领导审批后确认。
4.员工需保留出差行程中的所有小票和发票,并在回公司后及时提交报销。
第四章出差保险1.公司为员工出差提供必要的保险保障,包括意外伤害险、医疗保险等。
2.员工在出差前需确认所需要的保险种类,并在出差期间注意保障个人财产安全。
3.如有发生意外或健康问题,员工应第一时间联系公司人力资源部,并及时就医。
第五章出差安全管理1.员工在出差期间需注意个人安全,避免非必要的夜间外出活动。
2.出差地点需提前了解当地环境和交通情况,确保自身安全。
3.如在出差途中遇到问题,需及时与公司领导或同事联系并报告。
第六章出差后评估1.员工在出差归来后,需向领导提交出差总结报告,包括出差收获、存在问题及建议等。
2.公司人力资源部将对出差总结报告进行评估,并做出必要的改进和调整。
3.员工应根据出差总结报告的反馈,不断提高出差经验和管理能力。
第七章附则1.本制度自颁布之日起施行,如有更新或修订,将提前通知全体员工。
2.员工如有不遵守本制度或出现违规行为,公司将按规定予以处理。
3.出差流程管理制度解释权归公司人力资源部所有。
以上为公司出差流程管理制度的内容,希望全体员工认真遵守,确保出差行为规范、安全有序。
一、目的为规范公司员工出差管理,提高工作效率,降低成本,确保出差工作的顺利进行,特制定本制度。
二、适用范围本制度适用于公司全体员工因公出差的管理。
三、出差审批流程1. 出差申请(1)出差人员应提前3个工作日向部门负责人提交书面《出差申请表》,详细说明出差事由、时间、地点、行程安排及预算等。
(2)部门负责人对《出差申请表》进行审核,如符合出差条件,签署意见后报送至人力资源部。
2. 出差审批(1)人力资源部对《出差申请表》进行审核,如符合出差条件,签署意见后报送至总经理审批。
(2)总经理对《出差申请表》进行审批,审批通过后,人力资源部将审批结果通知出差人员。
3. 出差通知(1)人力资源部将《出差通知单》发放给出差人员,明确出差期间的工作安排、报销标准及注意事项。
(2)出差人员需在收到《出差通知单》后2个工作日内,将《出差通知单》及《出差申请表》复印件交至财务部门。
四、出差费用报销1. 出差费用报销标准(1)交通费:根据出差地点、交通工具及实际发生的费用报销。
(2)住宿费:按照公司规定的住宿标准报销。
(3)伙食补助费:根据出差地点及实际天数,按照公司规定的标准报销。
(4)通讯费:按照公司规定的标准报销。
2. 出差费用报销流程(1)出差人员返回公司后,将发票、报销单据等报销材料整理齐全,提交至财务部门。
(2)财务部门对报销材料进行审核,确认无误后,办理报销手续。
(3)报销款项在审核无误后,及时支付给出差人员。
五、出差纪律1. 出差人员应严格遵守国家法律法规,遵守公司规章制度,维护公司形象。
2. 出差期间,出差人员应保持通讯畅通,及时向部门负责人汇报工作进展。
3. 出差人员应妥善保管公司财物,不得私自携带公司物品。
4. 出差人员应合理安排行程,确保工作顺利进行。
六、附则1. 本制度由人力资源部负责解释。
2. 本制度自发布之日起施行,原有规定与本制度不一致的,以本制度为准。
3. 本制度如有未尽事宜,由公司另行规定。
一、目的为了规范出差人员的管理,提高出差效率,降低差旅成本,保障公司业务顺利进行,特制定本制度。
二、适用范围本制度适用于公司全体出差人员。
三、出差申请1. 出差人员需提前向部门负责人提出出差申请,填写《出差申请表》,详细说明出差地点、目的、行程安排、交通工具及预计差旅费用等。
2. 《出差申请表》经部门负责人签署意见后,报分管领导审批。
3. 经审批同意的出差申请,由部门负责人转交财务部备案。
四、借支差旅费1. 出差人员凭审批通过的《出差申请表》及借款申请,向财务部申请借支差旅费。
2. 财务部根据出差申请和借款申请,按照公司差旅费标准,办理借款手续。
3. 出差人员应妥善保管借款凭证,并按规定使用借款。
五、出差期间1. 出差人员应遵守国家法律法规和公司规章制度,确保出差期间的安全。
2. 出差人员应按照出差申请的行程安排,合理使用交通工具和住宿。
3. 出差人员应节约开支,合理使用公款,不得擅自改变出差地点、行程或交通工具。
4. 出差人员应主动向部门负责人汇报出差进展情况,确保出差任务的顺利完成。
六、报销流程1. 出差人员返回公司后,应在五个工作日内提交报销申请,填写《差旅费报销单》,并附上相关票据。
2. 部门负责人对《差旅费报销单》进行审核,签署意见。
3. 财务部对《差旅费报销单》进行审核,确认无误后,办理报销手续。
4. 出差人员应按照报销流程及时领取报销款项。
七、费用核销1. 出差费用核销以实际发生为准,不得虚报、冒领。
2. 对于虚报、冒领的差旅费用,公司将依法追究相关责任。
八、附则1. 本制度由公司行政部门负责解释。
2. 本制度自发布之日起施行。
欢迎阅读员工外出管理制度1、目的为规范员工外出及出差行为,实时掌握员工去向与工作动态;使外出及出差行为目标明确,办事时效合理,成本可控,特制订本制度。
2、适用范围:全体员工3、职责3.1行政部负责本制度的编制、修订;5.2.2中途休息时间外出的员工,需在下个班次开始前及时返岗。
如若迟到,需在保安岗登记返厂时间后方可进入车间(准时返岗者无需在离岗登记本登记)。
5.2.3离岗登记本的记录同样做为考勤核算的依据,迟到的时间一律按考勤制度处理。
5.3办公室员工因公外出(公出)5.3.1部门直属领导,对本部门员工之外出行为负责,对本部门员工之去向负责,如不掌握讯息,负连带责任(此款同样适用于车间)。
5.3.2各部门的负责人外出,需向常务副总申报,包括口头、电话、微信、QQ等形式,征得同意后,在前台外出登记本上登记后方可离开。
5.3.3普通职员因公外出,需填写外出申请单,部门领导签批后,在前台处登记后方可离开(部门需评估外出的必要性,大致需用时长)。
5.3.4员工外出返厂后,需在登记本上登记返厂时间,前台应加以监督。
5.3.5员工公出,不论是在下班前返岗,还是在下班后返岗,均需打下班卡。
否则,依据考勤管理制度,按异常签卡或旷工处理。
④出差返回后,应及时报帐,否则,财务按照“前款不清,后款不借”的原则,不予以下次出差借款的核发。
6.4出差人员应将每日工作向部门领导或总经办汇报。
返回后,如有必要,需形成书面的出差报告(如市场考察分析,客户意向等)。
6.5严禁假公济私,以出差名义办理私人事务。
一经查处所有费用自行承担。
6.6出差过程中,如遇特殊情况需延误行程、需更改行程线路、或根据实际工作需要延长出差时间,均需事先向公司申报,否则,未经公司允许产生的费用,一律不予报销。
6.7员工在外出差,需注意人身财产安全,如夜晚在外游荡遭受伤害,本人承担责任;禁止在外从事抢劫、偷窃、诈骗、酗酒、斗殴、贩毒、赌博、招嫖等与公司业务无关损害公司形象的个人不法行为,违者立即开除,公司不承担任何责任。
出差管理制度规范员工出差流程和费用报销随着企业的发展,员工出差已成为工作中常见的一部分。
为了统一管理和规范员工出差行为,提高效率和控制费用支出,公司决定制定出差管理制度。
本制度旨在规定员工出差前的申请和批准流程、出差期间的注意事项以及费用报销要求。
以下是具体内容:一、出差前的申请和批准流程1. 员工出差申请流程:员工需要提前向所在部门或直接上级提交出差申请。
出差申请应包括以下信息:出差目的、出差日期、出差地点、预计出差天数、交通方式、住宿需求及预算情况等。
2. 部门批准及管理:所在部门负责审核员工的出差申请,确保出差目的明确、合理,并核实预算是否合理。
部门负责人在出差申请中批注同意或拒绝,并将批注结果及原因告知员工。
3. 高级管理层审批:对于重要的、费用较高的出差活动,需要高级管理层审批。
高级管理层应对申请进行综合评估,并决定是否批准出差。
4. 出差计划和行程安排:一旦出差申请获得批准,员工应制定详细的出差计划和行程安排,并将其报备部门。
出差计划应包括出发时间、交通工具、住宿安排、工作安排以及紧急联系方式等。
二、出差期间的注意事项1. 安全措施:员工在出差期间应对自身安全负责,要提高安全意识,遵守当地法律法规和公司规定。
在出差地点,员工应注意保管个人财物,避免发生意外损失。
2. 工作安排:员工在出差期间需按照公司要求完成工作任务。
如果出差期间需要与外部合作伙伴会面或参加会议,员工应提前安排,确保会议时间和地点准确无误。
3. 沟通与报告:员工在出差期间应及时与所在部门保持联系,定期向上级汇报工作进展以及遇到的问题。
同时,应保留出差期间的相关资料和凭证,以备后续工作需要。
三、费用报销要求1. 费用报销范围:公司将根据员工的实际出差需要报销相关费用,包括但不限于交通费、住宿费、伙食费、通讯费和出差期间的其他必要费用。
费用报销需符合公司相关政策和标准。
2. 报销流程:员工在返回公司后应及时提交费用报销申请,同时附上相关的费用凭证和明细清单,如发票、机票、酒店账单等。
员工出差管理制度(经典版)编制人:__________________审核人:__________________审批人:__________________编制单位:__________________编制时间:____年____月____日序言下载提示:该文档是本店铺精心编制而成的,希望大家下载后,能够帮助大家解决实际问题。
文档下载后可定制修改,请根据实际需要进行调整和使用,谢谢!并且,本店铺为大家提供各种类型的经典范文,如工作计划、工作总结、合同协议、条据书信、规章制度、应急预案、策划方案、教学资料、作文大全、其他范文等等,想了解不同范文格式和写法,敬请关注!Download tips: This document is carefully compiled by this editor. I hope that after you download it, it can help you solve practical problems. The document can be customized and modified after downloading, please adjust and use it according to actual needs, thank you!Moreover, our store provides various types of classic sample essays, such as work plans, work summaries, contract agreements, document letters, rules and regulations, emergency plans, planning plans, teaching materials, complete essays, and other sample essays. If you want to learn about different sample formats and writing methods, please pay attention!员工出差管理制度员工出差管理制度(精选12篇)下面是本店铺整理的员工出差管理制度(精选12篇)供大家赏析。
员工出差管理制度(11篇范文)(实用版)编制人:__________________审核人:__________________审批人:__________________编制单位:__________________编制时间:____年____月____日序言下载提示:该文档是本店铺精心编制而成的,希望大家下载后,能够帮助大家解决实际问题。
文档下载后可定制修改,请根据实际需要进行调整和使用,谢谢!并且,本店铺为大家提供各种类型的实用资料,如管理制度、企业管理、岗位职责、心得体会、工作总结、工作计划、演讲稿、合同范本、作文大全、其他资料等等,想了解不同资料格式和写法,敬请关注!Download tips: This document is carefully compiled by this editor.I hope that after you download it, it can help you solve practical problems. The document can be customized and modified after downloading, please adjust and use it according to actual needs, thank you!And, this store provides various types of practical materials for everyone, such as management systems, enterprise management, job responsibilities, experiences, work summaries, work plans, speech drafts, contract templates, essay compilations, and other materials. If you want to learn about different data formats and writing methods, please pay attention!员工出差管理制度(11篇范文)【导语】员工出差管理制度怎么写受欢迎?本为整理了11篇优秀的出差员工管理制度,为便于您查看,点击下面《目录》可以快速到达对应范文。
员工出差及报销管理制度一、背景介绍在现代企业中,员工出差是一项常见的工作安排。
出差不仅可以促进企业的业务发展,也可以增强员工的学习和成长。
然而,出差过程中的费用报销管理是一个需要严格规范的重要环节。
为了确保公司财务的正常运作和员工权益的保障,制定员工出差及报销管理制度就显得尤为重要。
二、出差流程管理1. 出差申请员工需要在出差前提前向所在部门递交出差申请,包括出差目的、出差时间、出差地点等详细信息。
申请需要经过部门领导的审核并获得批准后方可进行。
2. 出差安排部门领导根据员工的职责和出差目的进行出差安排,包括出差日程安排、行程预订、住宿安排等。
同时,还应提供相关的出差注意事项和行为规范,确保员工在出差期间遵守公司的规定和形象。
3. 出差前准备员工需要在出差前进行出差行李准备,包括工作物品、必备文档、费用预支等。
同时,还应做好行程规划,确保出差期间工作的高效和顺利。
4. 出差过程员工在出差期间应按照出差计划进行工作,并及时与所在部门保持沟通。
同时,需要妥善保管好费用发生的相关凭证和票据,以备日后报销使用。
5. 出差总结员工在出差结束后需要向所在部门提交出差总结报告,包括出差期间的工作成果、遇到的问题和建议等。
通过总结经验和不足,促进员工的成长和工作的进步。
三、费用报销管理1. 报销范围公司制度明确规定了可以报销的费用范围,包括交通费、住宿费、餐饮费、通讯费、办公用品费等。
员工在出差期间发生的相关费用必须在规定范围内,并且符合实际情况。
2. 报销凭证员工在出差过程中需要妥善保管好费用发生的相关凭证,如发票、收据等。
报销时需要提交清晰、有效的凭证,确保报销的合法性和准确性。
3. 报销流程员工需要按照公司规定的报销流程进行申请,包括填写报销申请单、提交相关凭证、填写报销说明等。
报销申请需要经过部门领导审核,并提交财务部门进行核实和审批。
4. 报销时限公司规定了报销的时限,员工在出差结束后应尽快进行费用报销申请,避免超出规定的时限。
公司流程出差管理制度一、总则为规范公司员工出差行为,提高出差效率和工作效率,保障员工出差期间的安全和财产安全,特制定本制度。
二、适用范围本制度适用于公司内所有员工出差行为。
三、出差申请流程1. 出差计划确定:员工应根据工作需要和实际情况,提前制定出差计划,并与直接上级沟通确认。
2. 出差申请填写:员工在出差前应填写出差申请表,包括出差时间、地点、目的、费用预算等信息,并请示所在部门负责人审批。
3. 出差审批流程:部门负责人审批后,出差申请表交至人事部门进行审批,人事部门审核通过后,将出差行程通知员工,并确认行程细节。
4. 出差报销规定:员工在出差归来后,应按照公司相关规定及时提交出差报销单,报销单须包括所有费用明细及相应发票。
四、出差安排1. 交通工具安排:根据出差地点和时间,选择合适的交通工具,确保出差顺利。
2. 住宿安排:员工出差期间,公司将负责提供住宿,员工应根据公司规定选择住宿地点并确保安全。
3. 饮食安排:公司将提供出差期间的饮食费用,员工应合理安排饮食,并注意节约。
4. 招待礼物安排:出差期间需要招待客户或合作伙伴时,应根据公司规定选择合适的礼物,礼物费用可报销。
五、出差注意事项1. 行为规范:员工出差期间应遵守公司的各项规章制度,提高自身素质和形象。
2. 安全注意:员工在出差期间应注意自身安全,注意防范盗抢等意外事件。
3. 财务管理:员工在出差期间应合理控制费用开支,遵守公司的财务管理规定。
4. 沟通协调:员工应随时与公司保持沟通联系,及时报告出差情况。
六、出差补偿1. 差旅补贴:根据出差地点和时长,公司将给予员工相应的差旅补贴。
2. 伙食费用:公司将负责提供员工出差期间的伙食费用。
3. 住宿补贴:公司将为员工提供合适的住宿,并给予相应的住宿补贴。
七、出差负责人公司领导层将指定专门负责出差管理的人员,负责对员工出差进行监督和管理,并及时解决出差中遇到的问题。
八、违规处理出差中如发生严重违规行为,公司有权对员工做出相应处理,包括责任追究、停止出差资格等。
一、总则为规范公司员工出差管理,确保出差工作的顺利进行,降低差旅成本,提高工作效率,特制定本制度。
二、适用范围本制度适用于公司所有因公出差员工。
三、出差申请与审批1. 出差申请(1)员工因公出差,需提前填写《出差申请单》,内容包括出差时间、地点、目的、预计费用等。
(2)出差申请单经部门负责人审核,报总经理批准。
2. 出差审批(1)总经理审批权限:部门负责人以上级别员工的出差申请,需报总经理审批。
(2)部门负责人审批权限:部门内其他员工的出差申请,由部门负责人审批。
四、出差流程1. 出差前(1)根据出差申请单,预定交通工具和住宿。
(2)准备相关出差资料,如身份证、工作证、报销凭证等。
(3)向财务部门申请预支差旅费。
2. 出差中(1)严格遵守交通规则,确保人身安全。
(2)按时完成任务,与公司保持沟通。
(3)节约使用公司资源,如交通工具、通讯设备等。
(4)发生意外情况,及时向公司汇报。
3. 出差后(1)及时报销差旅费,提供相关票据。
(2)填写《出差报告单》,总结出差成果。
(3)将相关资料归档。
五、差旅费报销1. 报销时限员工出差结束后7个工作日内,需提交报销申请。
2. 报销材料(1)出差申请单、出差报告单。
(2)交通票据、住宿发票、餐费发票等。
(3)其他相关费用票据。
3. 报销流程(1)员工将报销材料提交给财务部门。
(2)财务部门审核报销材料。
(3)总经理审批报销申请。
(4)财务部门支付报销款项。
六、监督检查1. 公司对员工出差情况进行定期检查,确保出差工作顺利进行。
2. 对违反本制度规定的行为,公司将予以严肃处理。
七、附则本制度自发布之日起实施,解释权归公司所有。
注:本制度可根据实际情况进行修订和完善。
员工出差管理工作计划(精选14篇)第一章总则第一条目的为统一、规范员工出差流程管理,明确出差费用预算,特制定本制度。
第二条适用对象本制度适用于本公司所有员工。
第二章员工出差管理办法第三条公司员工出差分为:省内出差、省外出差。
第四条出差人员须在出差前三个工作日填写《出差登记表》,若因特殊原因无法提前填写的,须在到达出差目的地开展工作后的三个工作日内补填,出差结束后须在返回工作岗位的三个工作日内完成实际出差结束时间的填写。
第五条员工出差时间达到三个工作日以上,须办理交接工作,在出差前一个工作日填写好《工作交接表》提交至办公室主任处。
第六条出差期间的休息日(包括双休日和法定节假日)如需加班也必须打卡,若因个人原因未打卡,加班视为无效,不予发放出差补贴;若因工作原因或者其它不可预见性的原因无法打卡,出差地考勤负责人需要及时跟相关上级主管确认其加班事宜。
第七条出差员工在生活费用、交通费用、住宿费用报销过程中应实报实销,不得损公肥私,牟取私利。
第三章生活费管理规定第九条员工出差前可向公司借支生活费,以保障出差基本生活。
省内出差可向公司借支生活费的限额为500元,省外出差可向公司借支生活费的限额为1000元。
第十条出差人员如需借支生活费,须在出差前三个工作日填写的《出差登记表》中填写借支金额,经部门领导审核后,出纳人员确认审批结果,办理费用借支手续即可。
第十一条出差需借大笔现金时,须在出差前三个工作日向财务部申请;大额开支,应按银行的有关规定用支票支付。
第十二条员工出差结束后须在返回工作岗位的三个工作日内,持生活费有效凭证(国家认定的统一发票)到财务部办理生活费报销手续。
第四章交通费管理规定第十三条员工出差交通工具的使用须严格按公司规定执行,未按规定执行者,超标准部分将自行承担。
出差员工交通工具的使用标准见下表:交通工具使用规定火车乘坐规定1.出发地与到达地相隔400公里以上;2.员工出差启程时间在晚上八时至次日早上七时之间且乘坐时间6小时以上;3.员工出差连续乘车时间在12个小时以上的;符合以上三个条件中任一个皆可乘坐卧铺票,不符合者皆买坐票。
出差管理规程(完整版)一、目的和适用范围本规程的目的是为了规范和管理公司员工的出差活动,确保出差活动的安全、有效和经济。
适用范围为全体公司员工。
二、出差审批1. 出差任务确定- 出差任务由上级主管或项目负责人提出,并向人力资源部门提交出差申请。
- 出差任务应明确出差地点、时间、目的和预算。
2. 出差申请- 员工需将出差申请表格填写完整,并附上出差任务相关文件。
- 出差申请应提前至少三个工作日提交给人力资源部门。
3. 出差审批流程- 人力资源部门收到出差申请后,将进行初步审查。
- 初步审查通过后,将出差申请交由上级主管审批。
- 上级主管审批通过后,将出差申请交由财务部门进行预算核准。
- 财务部门核准后,将出差申请交由人力资源部门办理相关手续。
4. 出差审批结果通知- 人力资源部门将出差审批结果通知申请人。
- 若出差申请未获批准,申请人可向人力资源部门提出申诉申请。
三、出差行前准备1. 行程安排- 出差人员需要提前制定详细的出差行程安排。
- 出差行程应包括出发日期和时间、交通工具、住宿安排等。
2. 出差费用预算- 出差人员应根据出差行程制定详细的费用预算。
- 出差费用包括交通费、住宿费、餐费、通讯费等。
3. 带备文件和材料- 出差人员需要根据出差任务的要求,带备相关文件和材料。
- 出差人员应确认携带的文件和材料的完整性。
四、出差期间管理1. 工作任务- 出差人员需按照出差任务要求完成工作任务。
- 若出差任务发生变更,出差人员应及时向上级主管报告。
2. 出差费用管理- 出差人员应按照预算要求合理控制出差费用。
- 出差费用超支需经过上级主管批准。
五、出差归档和总结1. 出差归档- 出差任务结束后,出差人员需将相关文件和材料归档。
- 归档文件应包括行程安排、费用报销单据、出差报告等。
2. 出差总结- 出差人员应撰写出差总结报告,包括出差活动的目的、工作情况、成果和问题等。
- 出差总结报告应提交给上级主管和人力资源部门。
出差人员管理流程范例1.出差申请阶段:-出差人员填写出差申请表格,包括出差地点、出差目的、出差时间、出差费用预算等信息。
-出差人员提交申请表格,可以通过电子邮件、在线申请系统或者纸质申请形式进行。
-出差申请表格必须包括直接上级主管的签字确认。
2.出差审批阶段:-直接上级主管收到出差申请表格后,对申请进行审批。
-直接上级主管可以根据出差目的、预算等因素,决定是否批准出差申请。
-如果出差申请被拒绝,直接上级主管需要给出拒绝理由,并将其通知给出差人员。
-如果出差申请被批准,直接上级主管需要将申请表格传递给相关部门(例如行政部门)。
3.出差准备阶段:-相关部门(例如行政部门)收到出差申请表格后,开始着手准备出差所需的各项事宜。
-行政部门协助出差人员预订交通工具(例如机票、火车票)、酒店住宿、会议场地等。
-行政部门提供出差人员所需的出差指南,包括目的地信息、当地交通、安全注意事项等。
4.出差执行阶段:-出差人员按照出差指南进行出差活动。
-出差人员积极履行工作职责,与客户、合作伙伴进行有效沟通和协商。
-出差期间的费用支出必须按照预算进行合理控制,出差人员需要妥善保管所有费用票据,并在出差结束后提交给财务部门。
5.出差归档阶段:-出差人员在出差结束后,将出差报告和其他相关文件提交给行政部门。
-行政部门负责对所有出差相关文件进行归档,并进行后续的审核工作。
-行政部门可以根据出差报告和相关文件,对出差活动进行总结和评估,以提高出差管理的效率和质量。
出差人员管理流程中,需要各方的密切配合和有效沟通。
出差人员需要遵守公司的相关规定和政策,做好出差申请和执行工作。
直接上级主管需要根据出差目的和预算等因素,进行审批和决策。
行政部门需要提供全面的出差支持和服务。
财务部门需要对出差费用进行核算和报销。
这样可以确保出差人员管理流程的顺畅进行,提高出差效率,降低出差成本,在出差活动中取得更好的业务成果。
员工出差的管理制度一、目的和范围为了规范公司员工的出差行为,提高出差工作效率,降低出差风险,制定本管理制度。
本管理制度适用于公司所有员工出差行为,包括国内和国际出差。
二、出差申请1.员工出差前需提前向所属部门或直接领导提交出差申请,包括出差原因、目的、时间、地点、预计费用等信息。
2.出差申请需经直接领导审核同意后方可出差,特殊情况需经公司高层领导批准。
3.出差期间如需延长或提前结束出差,需提前向所属部门或直接领导申请,并经批准后执行。
三、出差安排1.出差期间的交通、住宿、餐饮等安排由公司统一安排,员工不得擅自安排或修改。
2.员工在出差期间需严格遵守公司制度和规定,认真履行出差任务,如有违反出差制度或规定的行为将受到相应惩罚。
3.出差期间需做好个人安全防范,避免发生意外事件,如有遇到紧急情况应及时报告领导并采取相应措施。
四、费用报销1.出差期间产生的费用须提供相关票据,并按照公司规定进行报销。
2.公司将根据实际情况报销员工的出差费用,并定期进行核对。
3.员工需如实填写费用报销单,不得虚报或冒领费用,一经查实将受到严厉处罚。
五、出差报告1.员工在出差结束后需及时向所属部门或直接领导提交出差报告,详细描述出差情况、成果、问题等。
2.出差报告需真实客观,对出差过程中的问题和不足提出建议和改进措施。
3.公司将根据员工的出差报告进行评估和总结,以便提高出差工作效率和质量。
六、违规处理1.员工如有违反本管理制度或其他公司规定的行为,将按照公司相关规定进行处理,包括但不限于警告、罚款、停职、开除等处罚。
2.员工应当自觉遵守公司规定,如有发现他人违规行为应及时向领导或人事部门举报。
七、生效和修改本管理制度自颪颁布之日起生效,并由公司人事部门进行管理和监督。
公司保留对本管理制度的最终解释权,并可根据实际情况对其进行调整和修改。
以上为员工出差管理制度,望全体员工严格遵守,保障公司出差工作的顺利进行。
员工出差管理流程出差是许多企业员工工作中必不可少的一部分。
为了确保出差的顺利进行以及员工安全和工作任务的完成,企业需要建立一套完善的员工出差管理流程。
下面将介绍员工出差管理的具体流程和操作步骤,以便企业可以更好地组织和管理员工的出差行动。
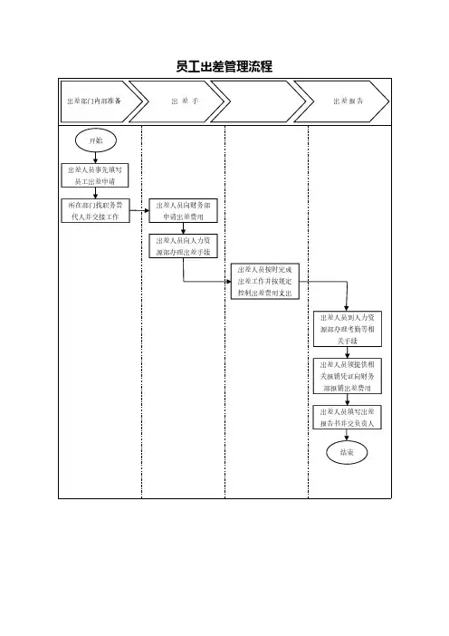
1. 出差申请阶段在员工出差管理流程中,首先需要员工填写一份出差申请表。
出差申请表包括员工的个人信息、出差日期、出差地点、出差目的以及预算等信息。
员工需要详细说明出差的目的和预计完成的工作任务,并且提供相应的预算计划。
完成填写后,员工需要提交该表格给上级主管进行审核。
2. 出差审批阶段上级主管收到员工的出差申请表后,需要对申请进行审批。
审批的依据可以包括出差任务是否紧急、经费是否充足以及员工个人业绩等方面。
上级主管如果同意员工的出差申请,需要在出差申请表上签字并加盖公司公章,表示批准。
如果上级主管不同意出差申请,需要填写相应的原因,并将表格退回给员工。
3. 出差准备阶段在出差申请得到批准后,员工需要开始出差的准备工作。
主要包括:- 预订交通工具和住宿:根据出差地点和日期,员工需要提前预订机票、火车票或其他交通工具,并安排好住宿。
- 行李准备:根据出差任务和行程安排,员工需要准备适当的行李,并确保携带必要的工作文件和设备。
- 报销预算:员工需要根据公司规定填写差旅费用报销预算,包括交通费、住宿费、餐费、通讯费等。
这有助于控制出差费用并方便后续的报销工作。
- 了解目的地情况:员工需要对出差目的地的地理环境、气候条件、当地风俗习惯以及安全风险等方面有一定了解,以便做好出差的准备。
4. 出差执行阶段在出差执行阶段,员工需要按照出差计划进行工作和活动。
主要包括:- 工作任务完成:员工需要按照出差的任务目标,高效地完成工作任务。
- 安全防范:员工需要注意个人安全,确保出差期间的人身和财产安全。
比如,要保管好贵重物品,注意交通安全和个人隐私等。
- 定期报告:员工需要按照规定的时间和方式向上级汇报出差期间的工作进展和遇到的问题。