货币资金的清查方法
- 格式:ppt
- 大小:2.21 MB
- 文档页数:2
财产清查的内容和方法一、货币资金的清查(一)现金的清查现金的清查,是通过实地盘点的方法,确定库存现金的实存数,再与现金日记账的账面余额进行核对,以查明账实是否一致。
在盘点时,出纳人员必须在场,如发现账实不符,必须当场核实盘盈盘亏数额,同时还要注意超过规定库存现金限额、白条抵库等现象。
盘点结束后,应根据盘点结果,现场编制“现金盘点报告表”。
若账实不符,要由出纳员说明原因,记入盘点表内,并由清查人员和出纳员共同签章。
“现金盘点报告表”是重要的原始凭证,其一般格式如表7.1所示。
表7.1现金盘点报告表盘点人签章:出纳员签章:(二)有价证券的清查各种有价证券和库存现金一样,应在财产清查时进行实地盘点,由财产清查人员会同出纳人员共同负责。
除了要与账面核对,查明有无盘盈盘亏外,还要查明有价证券是否有违反财经法规和非法买卖等情况。
清查结束后,也应在现场填制相应原始凭证,据以入账。
(三)银行存款的清查银行存款的清查与实物、现金的清查方法不同,它是采用与银行核对账目的方法来进行的。
在与银行核对账目之前,应先详细检查本单位银行存款日记账的正确性和完整性,然后根据从银行取得的对账单(即银行记账时复写的账页)逐笔核对以检查银行存款的账实是否相符。
应当注意,在双方记账均无错误的情况下,也可能会出现银行对账单上的存款余额与本单位银行存款日记账上的存款余额不一致的情况,这是因为双方之间往往会发生未达账项。
所谓未达账项,是指由于双方记账时间不一致而发生的一方已入账,而另一方尚未入账的事项。
企业与银行之间的未达账项,大致有以下四种情况:一是企业送存银行的款项,企业已记账,作为银行存款的增加,但银行尚未入账;二是企业开出支票等从银行存款付出款项,企业已记账,作为银行存款的减少,但银行尚未付款入账;三是银行代企业收进的款项,银行已记账,作为企业存款的增加,但企业尚未收到有关凭证,而尚未登记银行存款日记账;四是银行代企业支付的款项,银行已记账,作为企业存款的减少,但企业尚未收到凭证,而尚未登记银行存款日记账。
一、方案背景为加强企业内部控制,确保货币资金的安全、合规使用,提高财务管理水平,根据《企业内部控制基本规范》及相关法律法规要求,结合本企业实际情况,特制定本专项清查方案。
二、清查目的1. 确保货币资金的真实性、合法性和安全性。
2. 查找和纠正货币资金管理中存在的问题和不足。
3. 完善内部控制制度,提高货币资金管理水平。
4. 促进企业合规经营,防范和降低财务风险。
三、清查范围1. 库存现金:包括现金日记账、现金收付凭证、现金盘点记录等。
2. 银行存款:包括银行存款日记账、银行对账单、银行收付款凭证等。
3. 其他货币资金:包括外埠存款、银行汇票、银行承兑汇票等。
四、清查时间本次专项清查工作从2023年X月X日开始,至2023年X月X日结束。
五、清查步骤1. 前期准备- 成立专项清查小组,明确小组成员职责和分工。
- 收集和整理相关资料,包括财务报表、凭证、账簿等。
- 制定详细的清查计划,明确清查内容和要求。
2. 库存现金清查- 检查现金日记账、现金收付凭证,确保账实相符。
- 实地盘点库存现金,核对实际现金与账面余额。
- 审查现金收支业务,确保合法合规。
3. 银行存款清查- 核对银行存款日记账与银行对账单,查找未达账项。
- 审查银行收付款凭证,确保业务真实、合法。
- 分析银行存款结构,评估资金使用效率。
4. 其他货币资金清查- 检查外埠存款、银行汇票、银行承兑汇票等,确保资金安全。
- 审查相关业务合同、协议,确保业务合规。
5. 问题整改- 对清查过程中发现的问题,及时分析原因,制定整改措施。
- 跟踪整改进度,确保问题得到有效解决。
六、清查要求1. 专项清查小组应严格按照方案要求进行清查,确保清查工作全面、细致、客观、公正。
2. 清查过程中,如发现重大问题,应及时上报公司领导。
3. 清查结束后,形成专项清查报告,并提出改进建议。
七、预期成果通过本次专项清查,预计将取得以下成果:1. 提高企业货币资金管理水平,降低财务风险。
货币资金的清查方法有货币资金的清查方法有1.库存现金的清查库存现金的日清月结是对出纳员的工作要求。
在日常工作中,出纳员每日清点库存现金实有数额,并及时与库存现金日记账的余额相核对。
在由专门清查人员进行的清查工作中,出纳员应将库存现金收、付凭证全部登记入账,并结出现金日记账余额,做好准备工作。
库存现金盘点时,出纳人员必须在场,盘点后应由盘点人员根据现金盘点结果编制“库存现金盘点报告表”,并由盘点人员和出纳员签章。
清查库存现金主要采用实地盘点的方法,确定实有现金的数额,然后与现金日记账的账面余额核对,查明账款是否相符以及现金长款或短缺的原因。
库存现金清查主要包括以下内容:①库存现金实有数是否与现金日记账余额一致。
②有无没有经过批准的私人借条或收据充抵现金(即“白条”现象)。
③库存现金数是否超过规定的库存限额。
④是否有挪用公款的迹象。
“库存现金盘点报告表”兼有盘点表(单)和“实存账存对比表”的作用,是反映现金实有数和调整账簿记录的原始凭证。
有价证券由于可以变现,具有与库存现金相同的性质和价值,因此也必须按照与现金清查同样的方法清点有关人员保管的各种有价证券,并与专设的明细账进行核对。
有价证券主要包括:国库券、其他金融债券、公司债券、股票等,其清查方法、程序与库存现金相同。
2.银行存款的清查清查银行存款主要采用与开户银行核对账日的方法,即将企业的银行存款日记账与收到的银行对账单上记录的业务逐笔核对。
每月末,企业的出纳员首先将本企业的银行存款账登记完毕结出余额,然后取得银行出具的银行对账单,由出纳以外的会计人员将银行存款日记账与银行对账单逐笔核对。
如有核对不符,应分析不符的原因。
核对不符的原因包括记账错误和未达账项两种。
(1)记账错误记账错误主要有企业在编制记账凭证中会计分录错误,或登记账簿时重记或漏记以及不同银行日记账间串户等错误。
在同银行对账单核对账目之前,应先详细检查本企业银行存款日记账的正确性和完整性,发现有错记的,应及时更正、补记。
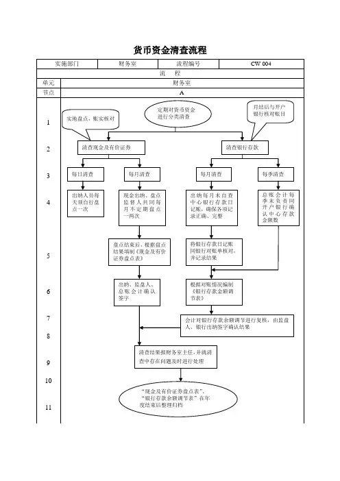
货币资金清查流程
实施部门财务室流程编号CW-004
流程
单元财务室
节点 A
1 2 3 4
5 6
7 8 9
10
11 实地盘点,账实核对
定期对货币资金
进行分类清查
月结后与开户
银行核对账目清查现金及有价证券清查银行存款
每日清查每月清查每月清查每季清查
出纳人员每
天须自行盘
点一次
现金出纳、盘点
监督人共同每
月不定期盘点
一两次
出纳每月末自查
中心银行存款日
记账,确保各项记
录正确、完整
总账会计每
季末负责同
开户银行确
认中心存款
金额数
盘点结束后,根据盘点
结果填制《现金及有价
证券盘点表》
将银行存款日记账
同银行对账单核对,
并记录结果
出纳、监盘人、
总账会计确认
签字
根据对账情况编制
《银行存款金额调
节表》
会计对银行存款余额调节进行复核,由监盘
人、银行出纳签字确认结果
清查结果报财务室主任,并就清
查中存在问题及时进行处理
“现金及有价证券盘点表”、
“银行存款余额调节表”在年
度结束后整理归档。
第二节财产清查的方法一、货币资金的清查方法(一)库存现金的清查库存现金的清查是采用实地盘点法确定库存现金的实存数,然后与库存现金日记账的账面余额相核对,确定账实是否相符。
在库存现金清查时,出纳员必须在场,清查过程中不能白条抵库,库存现金盘点后,应根据盘点结果和库存现金日记账核对情况,填制“库存现金盘点报告表”,并由盘点人和出纳员共同签章生效。
库存现金盘点报告表年月日实存金额账存金额对比结果备注盘盈盘亏盘点人(签章):出纳员(签章):(二)银行存款的清查银行存款的清查是采用与开户银行核对账目的方法(对账单法)进行的,即将本单位银行存款日记账的账簿记录与开户银行转来的对账单逐笔进行核对,来查明银行存款的实有数额。
银行存款的清查一般在月末进行。
1.银行存款日记账与银行对账单不一致的原因将截止到清查日所有银行存款的收付业务都登记入账后,对发生的错账、漏账应及时查清更正,再与银行的对账单逐笔核对。
如果二者余额相符,通常说明没有错误;如果二者余额不相符,则可能是企业或银行一方或双方记账过程有错误或者存在未达账项。
未达账项,是指企业和银行之间,由于记账时间不一致而发生的一方已经入账,而另一方尚未入账的事项。
未达账项一般分为以下四种情况:(1)企业已收款记账,银行未收款未记账的款项;(2)企业已付款记账,银行未付款未记账的款项;(3)银行已收款记账,企业未收款未记账的款项;(4)银行已付款记账,企业未付款未记账的款项;其中(1)(4)会使日记账余额大于对账单余额,(2)(3)会使对账单余额大于日记账余额。
2.银行存款清查的步骤(1)将单位银行存款日记账与银行对账单,以结算凭证的种类、号码和金额为依据,逐日逐笔核对。
凡双方都有记录的,用铅笔在金额旁打上记号“√“。
(2)找出未达账项(即银行存款日记账和银行对账单中没有打“√“的款项)。
(3)将日记账和对账单的月末余额及找出的未达账项填入“银行存款余额调节表”,并计算出调整后的余额。
会计基础 【零基础学员必练】第 291题:多选题(本题2分)货币资金的清查方法有哪些( )。
A.实地盘点法B.技术推算法C.发函询证法D.对账单法【正确答案】:AD【答案解析】:货币资金的清查包括库存现金的清查和银行存款的清查。
其中库存现金的清查应采用实地盘点的方法;银行存款的清查应采用对账单法。
选项B技术推算法适用于对存货、固定资产等实物资产的清查;选项C发函询证法适用于对企业的应收账款、应付账款等各种往来款项的清查。
因此,符合题意的选项是AD。
第 292题:多选题(本题2分)进行局部财产清查时,正确的做法有( )。
A.现金每月清点一次B.银行存款每月至少同银行核对一次C.贵重物品每月盘点一次D.债权债务每年至少核对一至二次【正确答案】:BCD【答案解析】:库存现金应该是每日清点一次。
第 293题:多选题(本题2分)下列关于财产清查目的的说法,错误的有( )。
A.账账相符B.账证相符C.账实相符D.账表相符【正确答案】:ABD【答案解析】:账实相符为财产清查的目的。
财产清查是指通过对货币资金、实物资产和往来款项的盘点或核对,确定其实存数,查明账存数与实存数是否相符的一种专门方法。
账实核对是指各项财产物资、债权债务等账面余额与实有数额之间的核对。
选项中只有账实相符是对财产清查的,故C项正确。
而账账相符,账证相符,账表相符是会计账簿的对账内容,故ABD错误。
第 294题:多选题(本题2分)下列关于结算往来款项盘存的账务处理表述中,正确的有( )。
A.对于无法收回的应收款项则作为坏账损失冲减坏账准备B.对于经查明确实无法支付的应付款项可按规定程序报经批准后,转作营业外收入C.对有确凿证据表明确实无法收回的应收款项,经批准后作为坏账损失D.对于已确认为坏账的应收款项,并不意味着企业放弃了追索权,一旦重新收回,应及时入账【正确答案】:ABCD【答案解析】:对于无法收回的应收款项则作为坏账损失冲减坏账准备;对于经查明确实无法支付的应付款项可按规定程序报经批准后,转作营业外收入;对有确凿证据表明确实无法收回的应收款项,经批准后作为坏账损失;对于已确认为坏账的应收款项,并不意味着企业放弃了追索权,一旦重新收回,应及时入账。
河北会计从业会计基础知识重点——货币资金的清查方法财产清查的方法不同的财产物资,其清查方法也有所不同。
一、货币资金的清查方法(一)库存现金的清查库存现金清查的主要方法是通过实地盘点的方法确定库存现金的实存数,然后再与库存现金日记账的账面余额核对,确定账存与实存是否相符以及盈亏情况。
库存现金清查主要包括两种情况:一是由出纳人员每日清点库存现金实有数,并与库存现金日记账的账面余额核对,这是出纳人员所做的经常性的现金清查工作。
二是由清查小组对库存现金进行定期或不定期清查。
清查时,出纳人员必须在场,库存现金由出纳人员经手盘点,清查人员从旁监督。
同时,清查人员还应认真审核库存现金收付凭证和有关账簿,检查账务处理是否合理合法、账簿记录有无错误,以确定账存数与实存数是否相符。
通过库存现金的清查,既要检查账证是否客观、真实,是否符合有关规定(如:是否有白条顶库;是否超限额留存现金;是否有公款私存等),又要检查账实是否相符。
在库存现金盘点结束后,直接填制“库存现金盘点报告表”,由盘点人员、出纳人员及其相关负责人签名盖章,并据以调整库存现金日记账的账面记录。
注意:“库存现金盘点报告表”兼有“盘存单”和“实存账存对比表”的作用,是反映库存现金实有数和调整账簿记录的原始凭证,其一般格式如表7-1所示。
库存现金盘点报告表年月日负责人签章:盘点人签章:出纳员签章【例题21·单选题】现金清查时,在盘点结束后应根据盘点结果,编制( )。
A.盘存单B.实存账存对比表C.现金盘点报告表D.对账单【答案】C【例题22·多选题】下列各项中,关于库存现金的清查说法错误的有( )。
A.库存现金只需要定期清查B.库存现金清查时出纳人员应该回避C.清查人员应该自己动手亲自盘点库存现金D.现金清查后,如果存在账实不符也不得调整库存现金日记账【答案】ABCD【例题23·多选题】关于现金清查,下列说法中正确的有( )。
【税会实务】年末货币资金及往来款清查方法一、货币资金的清查方法(一)现金的清查现金清查采用实地盘点方法,确定库存现金的实存数,在于现金日记账的账面余额核对,以查明盈亏情况。
现金盘点后,应填制“现金盘点报告表”。
现金盘点报告表也是重要的原始凭证。
(二)银行存款的清查核查方法主要是通过核对企业的银行存款日记账和银行转来的对账单逐调核对。
核对的结果可能有两种,可能一致,但往往不一致。
造成这种核对结果账实不符的原因可能有两种,一种是记账错误;还有一种就是未达账项的存在。
未达账项:是指由于企业和银行之间对于同一项业务,由于取得凭证的时间不同,导致记账时间不一致,而发生的一方已取得结算凭证已登记入账,而另外一方由于尚未取得结算凭证尚未入账的款项。
未达账项有四种情况:1.企业已收,银行未收的款项。
2.企业已付,银行未付款项。
3.银行已收,企业未收款项。
4.银行已付,企业未付款项。
“银行存款余额调节表”只起到对帐的作用,不能作为调节账面余额的凭证。
二、往来结算款项的清查方法一般采取“函证核对法”进行清查,也就是由企业编制往来款项对账单然后送或者寄到各个往来的的经济单位进行核对。
会计是一门操作性很强的专业,同时,由于会计又分很多行业,比如工业企业会计、商业企业会计、酒店企业会计、餐饮企业会计、金融企业会计等等。
会计处理,关键是思路,因为课堂上不可能教给你所有行业,怎么样才叫学会了实操呢,就是你有了一个基本的账务处理流程,知道一些典型的业务金额是怎么由凭证最后转接到到报表的。
也就是有一个系统的思维,每一笔业务发生后,你都知道最后会影响到报表上那个栏目的数据。
这是学习的重点,要时刻思考这个问题,想不明白,多问老师。
等你明白了,会计真的很简单了。
其他货币资金资产的清查及评估流程
一、清查取证
(1)核对明细账、总账、报表一致性;
(2)查清其他货币资金的内容;
(3)取证核实其他货币资金的真实性和完整性。
对信用卡存款、信用保证金存款、存出投资款、外埠存款等,可通过索取相关金融机构的存款对账单,存款余额调节表(注明未达账内容及金额),向相关金融机构寄发银行询证函,并与其他货币资金明细账进行核对等,对评估基准日余额进行清查核实;对银行汇票存款、银行本票存款等,可通过现场盘点、查阅期后收款凭证,并与其他货币资金明细账进行核对等,对评估基准日余额进行清查核实。
(4)关注存款余额调节表,分析并说明其中是否存在影响净资产的事项及涉及的金额。
(5)抽查其他货币资金收支凭证,对其他货币资金会计记录的真实性、完整性、及时性进行清查核实;
(6)对截止评估基准日其他货币资金账户进行截止性测试,并特别关注期后其他货币资金收支凭证中涉及损益的且属于评估基准日前的经济业务对评估值的影响;
(7)对其他货币资金的流动性进行关注,对其中可能存在的其他货币资金质押、各项保证金等的期限及金额作适当的披露;
(8)清查结论:对其他货币资金账面价值进行确认;或对差异
进行分析说明。
二、评定估算
其他货币资金按清查核实后的金额评估;即:其他货币资金的评估值=其他货币资金账面值±∑影响其他货币资金评估值的金额。