办理压覆重要矿产资源登记手续流程图
- 格式:doc
- 大小:42.00 KB
- 文档页数:4
关于做好建设项目压覆重要矿产资源审批管理工作的通知为深入贯彻落实党的十九大和中央经济工作会议精神,坚决落实国家发展委《关于进一步加强矿产资源审批管理工作的意见》文件,加强对建设项目压覆重要矿产资源审批管理工作的监督和指导,我单位拟定下列措施,确保工作顺利开展。
一、组织机构建设设立建设项目压覆重要矿产资源审批管理办公室,由工程技术部门负责日常工作。
办公室人员需具备较好的政务管理和专业知识背景,以确保工作的高效与科学。
二、项目篩选机制建立严格的项目筛选机制,对于所有涉及重要矿产资源的建设项目,必须在立项之前进行审查。
首先要进行项目的必要性和可行性评估,确保项目的合理性和可行性。
其次,要对项目的压覆重要矿产资源的条件进行评估,判断项目对矿产资源的影响程度。
只有经过严格的评估,项目才能够进入立项阶段。
三、信息共享机制建设项目压覆重要矿产资源审批管理办公室与各相关部门及矿产资源监管机构建立信息共享机制。
确保审批过程中所有相关部门都能够及时获取到项目信息,以便进行综合评审和决策。
四、综合评估和论证建设项目压覆重要矿产资源审批管理办公室要结合各相关部门的意见和专业知识,对项目进行全面的综合评估和论证。
评估和论证过程应当遵循科学、公正、公平、透明的原则,确保决策的科学性和决策的合理性。
五、公众参与机制建设项目涉及重要矿产资源的审批过程中,要积极组织和引导公众参与,听取公众的意见和建议。
特别是对于重大项目,必须进行公众听证,确保公众的知情权和参与权,以增强决策的公正性和合法性。
六、责任追究机制对于违反建设项目压覆重要矿产资源审批管理的相关法律法规和规章制度的单位和个人,要进行相应的追责。
对于违规行为严重的项目,应当及时停止审批和工程施工,并依法追究责任。
以上就是关于做好建设项目压覆重要矿产资源审批管理工作的通知。
办公室要加强对各项措施的宣传和培训,确保各级部门和人员能够深入理解、认真贯彻落实这些措施,以推动我国矿产资源的合理开发和利用,促进经济可持续发展。
压覆矿产资源和地质灾害危险性评估报告编制目录一、对本项目服务总体要求的理解 (2)二、压覆矿产资源评估服务方案 (2)三、地质灾害危险性评估服务方案 (13)四、服务说明 (17)五、服务响应表及图片介绍资料 (18)六、招标文件要求或者投标人认为其它应介绍或者提交的资料和文件. 19七、证明服务的合格性和符合招标文件规定的技术资料. (19)一、对本项目服务总体要求的理解压覆矿产资源是指因建设项目实施后导致的矿产资源不能开发利用的情况。
我国在《矿产资源法》中明确规定:”在建设铁路、机场、工厂、水库、输油管道、输电线路和各种大型建筑物或者建筑群之前,建设单位必须向所在省国土资源厅(或向县、市国土资源局)查询征地范围内有无探矿权、采矿权及矿产地设置,为建设项目选址时注意避让已发现的重要矿区、重要的成矿靶区、采空区与开采塌陷区提供依据,避免或减少压覆重要矿产资源、切实保护和合理利用矿产资源,提高矿产资源保障能力,保障建设项目正常建设和运行,保护矿业权人和建设单位双方的利益关系。
地质灾害危险性评估是针对建设工程的特点和地质环境特征,分析工程建设与地质环境的相互作用和影响,对评估区现状地质灾害的类型、发育程度及危害性进行全面评估,并对工程建设过程中可能引发、加剧的地质灾害以及建设工程本身可能遭受的地质灾害的危险性进行评估,在现状评估和预测评估的基础上综合评估地质灾害危险性程度,提出防治措施和建议。
二、压覆矿产资源评估服务方案(一)项目概况本项目项目压覆矿产资源和地质灾害危险性评估报告编制是青岛市本项目区机场建设指挥部办公室委托青岛建通工程招标咨询有限公司公开招标的项目。
本项目项目压覆矿产资源和地质灾害危险性评估项目规模约17km2,项目地点:青岛市本项目区.招标范围:压覆矿产资源评估报告的编制、地质灾害危险性评估报告编制,项目评估方面的相关服务,配合招标人通过相关部门的审批.质量标准:成果文件顺利通过相关部门的审批。
国土资源部关于进一步做好建设项目压覆重要矿产资源
审批管理工作的通知
为了做好建设项目压覆重要矿产资源审批管理工作,进一步保护国家的国土资源,国土资源部决定加强相关工作。
现将有关事项通知如下:
一、强化组织领导
二、完善审批流程
国土资源部将制定统一的审批流程,明确各个环节的职责和要求。
建设单位在申请建设项目时,必须提交明确的压覆重要矿产资源调查报告,报告中要包括对压覆重要矿产资源的情况描述、开采对资源的影响评估以及相应的保护措施和补偿方案。
审批机构要对这些材料进行认真审核,并在规定时间内作出审批决定。
三、严格用地审批
建设项目需要用地的,国土资源部门要加强对用地审批的管理。
要严格按照法律法规的要求,对建设项目用地进行评估,确保用地符合规划和资源保护的要求。
对于压覆重要矿产资源所在地的建设项目,要特别谨慎审批,并根据调查报告的结果,评估建设对压覆重要矿产资源的影响,保护资源,并给予合理的补偿。
四、加强监督执法
国土资源部门要加强对建设项目的监督执法工作,确保建设单位按照审批的要求履行相关责任。
对于违法违规行为,要依法严肃处理,并追究相关责任人的责任。
同时,建设单位也应加强自身的监管,确保项目的合法性和对压覆重要矿产资源的保护。
五、加强宣传教育
国土资源部门要加强对压覆重要矿产资源保护的宣传教育工作,增强全社会的资源保护意识。
要广泛开展资源保护知识的普及活动,提高公众的环境意识和法律法规的知晓率。
同时,要加强与媒体的合作,以宣传报道的方式推动资源保护工作的开展。
六、加强科研与技术支持。
建设项目压覆矿产资源审批技术讲座吴敬杰前言建设项目压覆矿产资源的审批工作是按照《中华人民矿产资源法》及其《实施细则》等法律、法规的规定进行的,其目的是为了有效保护和合理利用矿产资源,确保用地建设项目的进行。
近年来,随着我省经济建设的高速发展和改革开放的进一步深入,开工建设的各种项目日益增多。
特别是能源、交通、水利、市政配套设施和矿山工业广场建设项目比较多,像西气东输、南水北调、郑西和石武客运专线等国家和省重点项目的建设,将对我省经济建设持续稳定协调的发展和加快中原崛起的步伐起到重要的促进作用。
建设项目压矿的评估核查和评审工作都是由具有相应资质的地勘单位和评估机构来完成的,审批程序必须在这些工作完成的基础上进行。
所以,我们今天来共同探讨一下建设项目压覆矿产资源审批工作中的一些具体问题和技术方法,对于以后这方面的工作肯定是有所裨益的。
一、审批依据《中华人民矿产资源法》第三十三条:在建设铁路、工厂、水库、输油管道、输电线路和各种大型建筑物或者建筑群之前,建设单位必须向所在省、自治区、直辖市地质矿产主管部门了解拟建工程所在地区的矿产资源分布和开采情况。
非经国务院授权的部门批准,不得压覆重要矿床。
《中华人民矿产资源法实施细则》(国务院第152号令)第三十五条:建设单位在建设铁路、公路、工厂、水库、输油管道、输电线路和各种大型建筑物前,必须向所在地的省、自治区、直辖市人民政府地质矿产主管部门了解拟建工程所在地区的矿产资源分布情况,并在建设项目设计任务书报请审批时附具地质矿产主管部门的证明。
在上述建设项目与重要矿床的开采发生矛盾时,由国务院有关主管部门或者省、自治区、直辖市人民政府提出方案,经国务院地质矿产主管部门提出意见后,报国务院计划行政主管部门决定。
河南省实施《矿产资源法》办法第四十七条:在建设铁路、工厂、水库、输油管道、输电线路、重要公路和各种大型建筑物或建筑群之前,建设单位必须向省地质矿产主管部门了解拟建工程所在地区的矿产资源分布和开采情况。
自然资源部办公厅关于做好建设项目压覆重要矿产资源审批服务的通知文章属性•【制定机关】自然资源部•【公布日期】2020.04.28•【文号】自然资办函〔2020〕710号•【施行日期】2020.05.01•【效力等级】部门规范性文件•【时效性】现行有效•【主题分类】矿产资源正文自然资源部办公厅关于做好建设项目压覆重要矿产资源审批服务的通知自然资办函〔2020〕710号各省、自治区、直辖市自然资源主管部门,新疆生产建设兵团自然资源主管部门,部机关相关司局:为深入推进“放管服”改革,进一步提升政务服务效率,根据《优化营商环境条例》和《自然资源部关于推进矿产资源管理改革若干事项的意见(试行)》(自然资规〔2019〕7号)有关规定,现就做好建设项目压覆重要矿产资源管理服务有关事项通知如下:一、全面开展特定区域调查评估经国务院或省级人民政府已批准设立的各类开发区、国务院已批准的自由贸易试验区等特定区域内的建设项目,不再对区域内的市场主体单独提出评估要求。
省级自然资源主管部门负责组织特定区域内查明的重要矿产资源情况的统一调查评估和录入矿产资源储量数据库工作。
新设立的及范围调整的特定区域,应在批准前完成调查评估。
二、做好取消压覆矿产资源储量登记后的工作衔接建设项目压覆重要矿产资源审批通过后,自然资源主管部门应将相关信息录入矿产资源储量数据库,并同时发送建设单位和相关矿业权人。
取消压覆矿产资源储量登记后,以压覆重要矿产资源批复文件作为转发用地批复及供地的条件。
三、建立建设项目压覆重要矿产资源查询服务系统各省(区、市)自然资源主管部门应收集整理辖区范围内查明矿产资源、矿业权设置及区划、压覆重要矿产资源审批等基本情况数据,做好数据库建设,实时更新数据,及时在门户网站或相关政务网站上线运行,方便建设单位通过互联网预查询。
四、开通互联网远程申报渠道自然资源主管部门应在门户网站或相关政务网站上线开通远程申报系统,建设单位可通过远程申报系统提交建设项目压覆重要矿产资源审批申请及相关申请资料(含补正资料),涉及国家秘密的除外。
自然资源部办公厅关于做好建设项目压覆重要矿产资源审批服务的通知文章属性•【制定机关】自然资源部•【公布日期】2020.04.28•【文号】自然资办函〔2020〕710号•【施行日期】2020.05.01•【效力等级】部门规范性文件•【时效性】现行有效•【主题分类】矿产资源正文自然资源部办公厅关于做好建设项目压覆重要矿产资源审批服务的通知自然资办函〔2020〕710号各省、自治区、直辖市自然资源主管部门,新疆生产建设兵团自然资源主管部门,部机关相关司局:为深入推进“放管服”改革,进一步提升政务服务效率,根据《优化营商环境条例》和《自然资源部关于推进矿产资源管理改革若干事项的意见(试行)》(自然资规〔2019〕7号)有关规定,现就做好建设项目压覆重要矿产资源管理服务有关事项通知如下:一、全面开展特定区域调查评估经国务院或省级人民政府已批准设立的各类开发区、国务院已批准的自由贸易试验区等特定区域内的建设项目,不再对区域内的市场主体单独提出评估要求。
省级自然资源主管部门负责组织特定区域内查明的重要矿产资源情况的统一调查评估和录入矿产资源储量数据库工作。
新设立的及范围调整的特定区域,应在批准前完成调查评估。
二、做好取消压覆矿产资源储量登记后的工作衔接建设项目压覆重要矿产资源审批通过后,自然资源主管部门应将相关信息录入矿产资源储量数据库,并同时发送建设单位和相关矿业权人。
取消压覆矿产资源储量登记后,以压覆重要矿产资源批复文件作为转发用地批复及供地的条件。
三、建立建设项目压覆重要矿产资源查询服务系统各省(区、市)自然资源主管部门应收集整理辖区范围内查明矿产资源、矿业权设置及区划、压覆重要矿产资源审批等基本情况数据,做好数据库建设,实时更新数据,及时在门户网站或相关政务网站上线运行,方便建设单位通过互联网预查询。
四、开通互联网远程申报渠道自然资源主管部门应在门户网站或相关政务网站上线开通远程申报系统,建设单位可通过远程申报系统提交建设项目压覆重要矿产资源审批申请及相关申请资料(含补正资料),涉及国家秘密的除外。
建设项目用地是否压覆矿产资源审查业务流程根据《关于规范建设项目压覆矿产资源审批工作的通知》(国土资发[2000]386号)及《关于委托办理建设项目用地有无压覆矿床有关事宜的通知》(粤国土资发[2006]217号),广东省国土资源档案馆负责建设项目用地有无压覆矿床审查工作,现将具体业务流程规定如下:一、提交资料,审查受理查询单位应提交如下资料:1.查询建设项目用地是否压覆矿产资源申请函由查询单位向广东省国土资源厅以公函形式(有正式文号并加盖公章)提出申请,公函中应简要说明建设项目名称、建设项目的由来及申请理由等。
2.建设项目批复文件要求提交上级主管部门对建设项目的立项(可行性研究报告、预可研报告、设计方案)等的批准文件的复印件。
3.建设项目简介简要说明项目情况,内容包括:项目来源、项目投资、项目地点及具体位置、要求查询范围,对线状项目还应说明路线的起点及终点位置、路线长度、路基宽度、路线经过的地名(具体到镇一级)。
4、市、县国土资源主管部门初审意见要求提供市、县国土资源主管部门对其所辖区内建设项目用地是否压覆非重要矿产资源的审查意见。
5.建设项目选址位置范围图选址位置范围图应加有查询单位公章,图上应标明经纬度或北京(西安)座标、项目征地红线、查询范围,对线状项目还应标明路线的起点及终点位置、路线的公里桩号或拐点号。
以上资料齐全的予以受理,否则退回补齐资料后再受理。
二、申请登记受理后,由申请查询单位经办人填写《建设项目用地是否压覆矿产资源审理登记表》1~4栏,填写内容包括:建设项目名称、查询单位、联系地址、邮政编码、联系人、联系电话,方便以后联系。
三、定价、缴费,领取收文回执按收费标准计费,开具事业单位统一收费通知单,到广东省内联网银行网点缴费,由银行开具统一发票,缴费后凭发票到本馆领取收文回执。
四、查明是否压覆重要矿床,出具审查意见由本馆组织地质工程技术人员、专家对建设用地压覆矿产资源情况进行查阅资料、调查、评审、审查,对于查出有压覆重要矿产资源的项目,由馆组织地质工程技术人员及专家到现场进行详细调查、查核(费用由查询单位负责)。
国土资源部关于进一步做好建设项目压覆重要矿产资源审批管理工作的通知各省、自治区、直辖市国土资源厅(国土环境资源厅、国土资源局、国土资源和房屋管理局、规划和国土资源管理局):自2000年我部印发《关于规范建设项目压覆矿产资源审批工作的通知》(国土资发〔2000〕386号)以来,各省(区、市)国土资源行政主管部门高度重视,积极探索,并结合本地实际制定管理办法,保证建设项目压覆矿产资源审批管理工作顺利进行。
为总结经验,进一步规范压覆重要矿产资源审批管理工作,现将有关事项通知如下:一、提高认识,加强领导建设项目压覆矿产资源审批是《矿产资源法》确定的一项重要管理工作,对避免或减少压覆重要矿产资源、提高矿产资源保障能力,保障建设项目正常进行具有重要作用。
各省级国土资源行政主管部门要充分认识压覆重要矿产资源审批管理工作的目的和意义,加强领导,进一步转变管理理念和管理方式,既要加强审批管理,又要做好服务;做到既保护矿产资源,又有利于建设项目顺利进行,维护矿业权人合法权益。
二、严格管理范围凡建设项目实施后,导致其压覆区内已查明的重要矿产资源不能开发利用的,都应按本通知规定报批。
未经批准,不得压覆重要矿产资源。
建设项目压覆区与勘查区块范围或矿区范围重叠但不影响矿产资源正常勘查开采的,不作压覆处理。
矿山企业在本矿区范围内的建设项目压覆矿产资源不需审批。
重要矿产资源是指《矿产资源开采登记管理办法》附录所列34个矿种和省级国土资源行政主管部门确定的本行政区优势矿产、紧缺矿产。
炼焦用煤、富铁矿、铬铁矿、富铜矿、钨、锡、锑、稀土、钼、铌钽、钾盐、金刚石矿产资源储量规模在中型以上的矿区原则上不得压覆,但国务院批准的或国务院组成部门按照国家产业政策批准的国家重大建设项目除外。
三、明确管理分工建设项目压覆重要矿产资源由省级以上国土资源行政主管部门审批。
压覆石油、天然气、放射性矿产,或压覆《矿产资源开采登记管理办法》附录所列矿种(石油、天然气、放射性矿产除外)累计查明资源储量数量达大型矿区规模以上的,或矿区查明资源储量规模达到大型并且压覆占三分之一以上的,由国土资源部负责审批。
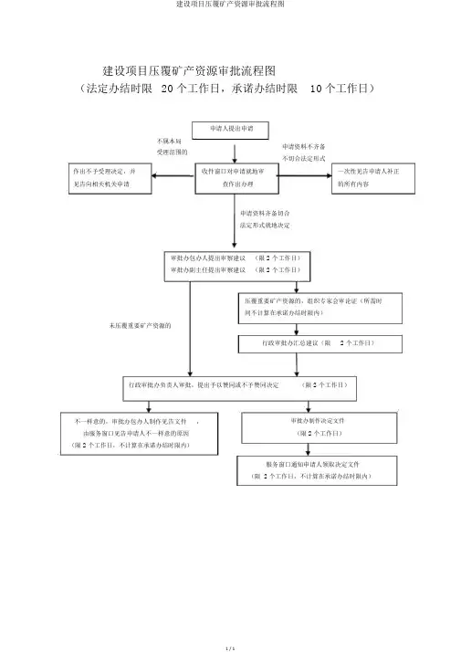
建设项目压覆矿产资源审批流程图
1 / 1
建设项目压覆矿产资源审批流程图
(法定办结时限 20个工作日,承诺办结时限 10个工作日)
申请人提出申请
不属本局 申请资料不齐备
受理范围的
不切合法定形式
作出不予受理决定,并
收件窗口对申请就地审
一次性见告申请人补正 见告向相关机关申请
查作出办理
的所有内容
申请资料齐备切合 法定形式就地决定
审批办包办人提出审察建议 (限 2 个工作日) 审批办副主任提出审察建议 (限 2 个工作日)
压覆重要矿产资源的,组织专家会审论证(所需时 间不计算在承诺办结时限内)
未压覆重要矿产资源的
行政审批办汇总建议(限
2 个工作日)
行政审批办负责人审批,提出予以赞同或不予赞同决定
(限 2 个工作日)
不一样意的,审批办包办人制作见告文件 由服务窗口见告申请人不一样意的原因 (限 2 个工作日,不计算在承诺办结时限内)
, 审批办制作决定文件
(限 2 个工作日)
(限 服务窗口通知申请人领取决定文件
2 个工作日,不计算在承诺办结时限内)。
地面光伏电站以及一部分分布式光伏电站,在办理备案、核准及审批过程中,需要办理项目选址意见书和用地预审,在这之前,需要解决几个关键的问题,其中比较重要的就是办理压覆矿产资源证明。
压覆矿产资源证明的意思是国土部门出具的证明项目所利用的土地范围内是否含有重要矿产资源。
一、压覆矿产资源查询国土部门规定,所有建设项目在批准用地前必须先进行压覆矿产资源查询,查询发现压覆矿产资源的还必须进行压覆矿产资源评估,经审核的查询或评估报告作为用地审批的必备文件。
未进行压覆矿产资源查询或评估的,不受理建设用地申请。
二、查询流程查询需从县区级国土部门申请,经逐级上报后,由省级国土资源信息中心进行具体查证。
具体流程为:申请建设用地的单位(用地单位)向县区级国土资源提交查询申请→县区级国土部门逐级上报至省国土资源信息中心→省国土资源信息中心进行具体查证并向市、县国土资源部门了解矿业权设置情况→省国土资源信息中心出具压覆矿产资源调查报告→省厅对调查报告进行审核。
用地单位申请查询需提供以下资料:1.压覆矿产资源查询申请表;2.以地形图为底图的建设项目用地范围图。
三、查询结果及处理办法1.用地范围及其所影响区域内没有探明矿产资源,也没有设置矿业权的,由省厅出示未压覆矿产资源的证明文件;2.用地范围及其所影响区域内没有探明矿产资源但设置有矿业权的,用地单位需与矿业权人先协商并签订准予压覆的协议,省厅再出示未压覆重要矿产资源的证明文件;3.用地范围及其所影响区域内有探明矿产资源储量或经过地质勘查显示具有重要找矿前景的,必须在查询的基础上进行压覆矿产资源评估。
四、压覆矿产资源评估按以下程序进行:省国土资源厅通知需进行评估的用地单位→用地单位委托具有地勘资格的评估单位→接受委托的单位依照有关规程规范进行评估并出具评估报告→用地单位将评估报告及压覆矿产资源申请资料报省厅审查→省厅审批并出具是否同意压覆矿产资源的证明文件(需要报国土资源部审查的还需报部审查)。
广东省国土资源厅建设项目压覆重要矿产资源审批管理办法(征求意见稿)第一章总则第一条为有效保护和合理利用重要矿产资源,保障重点建设项目的顺利推进,维护矿业权人合法权益,进一步规范建设项目压覆重要矿产资源审批管理工作,根据《中华人民共和国矿产资源法》及其实施细则的有关规定,结合我省实际,制定本办法。
第二条本办法适用于我省行政区域内单独选址建设项目和市、县(市、区)土地利用总体规划确定的城镇新增建设用地压覆重要矿产资源的查询、审批与登记。
第三条本办法所指重要矿产资源是指《矿产资源开采登记管理办法》附录所列34种矿产。
(重要矿产资源目录见附件1)本办法所指非重要矿产资源是指除前款重要矿产资源目录以外的矿产资源。
本办法所指的压矿查询是指建设项目是否压覆重要矿产资源及所有矿业权(不包括石油、天然气和放射性矿产及其矿业权)的查询工作;压矿评估是指建设项目压覆重要矿产资源储量评估工作;压矿审批与登记是指建设项目压覆重要矿产资源审批与登记工作。
第四条建设项目压覆矿产资源是指因建设项目实施后导致其压覆区内已查明的矿产资源不能开发利用。
建设项目压覆区是指建设项目用地范围及其安全距离范围。
法律、法规、规章等对项目安全距离范围有明确规定的,从其规定;未有明确规定的,由建设单位在申请项目压矿查询时提出安全距离范围,并对其负责。
查明固体矿产资源是经评审备案与登记的推断的内蕴经济资源量(333)及以上类型的矿产资源储量,查明地热或矿泉水资源是指经评审备案与登记的推断及以上的允许(可)开采量。
第二章压矿查询第五条建设项目选址前(单独选址项目应在项目选址前,批次用地应在批次用地报批前),建设单位(广州、深圳境内项目除外)应当持下列材料向省国土资源档案馆查询拟建项目压覆区内的重要矿产资源分布和所有矿业权(包括探矿权和采矿权,下同)设置情况。
(一)建设项目用地是否压覆矿产资源查询申请函;(二)建设项目简介(含电子版);(三)建设项目选址位置范围图(电子版,含拐点坐标);(四)项目安全距离范围说明书(说明该项目安全距离范围确定的依据或出处等)。
山东省建设项目压覆重要矿产资源管理办法第一章总则第一条为有效保护和合理利用重要矿产资源,进一步规范建设项目压覆重要矿产资源管理工作,根据《中华人民共和国矿产资源法》、《山东省实施〈中华人民共和国矿产资源法>办法》等有关规定,结合我省实际,制定本办法。
第二条本办法适用于本省行政区域内单独选址建设项目和市、县(市、区)土地利用总体规划(以下简称“规划”)确定的城镇新增建设用地压覆重要矿产资源的审批管理。
第三条本办法中的重要矿产资源是指《矿产资源开采登记管理办法》附录所列34个矿种及本省优势矿产(附件1)。
本办法中的已查明重要矿产资源是指经地质勘查工作发现并经评审备案的重要矿产资源。
- 1 -压覆重要矿产资源是指在当前技术经济条件下,因建设项目实施后导致其压覆区内已查明的重要矿产资源不能开发利用。
第四条建设项目压覆重要矿产资源由省级以上国土资源行政主管部门审批。
第二章压覆重要矿产资源管理第五条单独选址建设项目选址前,建设单位应向县级以上国土资源行政主管部门查询拟建项目所在区域的矿产资源规划、矿产资源分布和矿业权设臵情况(附件2)。
经查询,建设项目压覆范围内有已查明重要矿产资源的,建设单位应调整选址方案,不能另行选址的,要统筹兼顾矿产资源的保护和项目建设,避免压覆或者尽量少压覆重要矿产资源。
第六条市、县(市、区)土地利用总体规划编制、修改调整涉及新增建设用地的,本级国土资源行政主管部门在规划编制阶段应当根据当地已查明重要矿产资源储量分布状况和矿产资源规划情况,充分考虑城镇建设发展和保护重要矿产资源的关系,合理确定城镇发展方向、新增城镇建设用地布局和合理确定城镇规划区。
第七条建设项目压覆范围或者城镇规划区内有已查明重要矿产资源的,建设单位或者规划编制单位可按要求自行 - 2 -编制或委托有关机构编制《建设项目压覆重要矿产资源评估报告》(以下简称《评估报告》,编写提纲见附件3),提交省国土资源行政主管部门组织专家审查。
压覆重要矿产资源查询登记手续流程图
关于查询××××建设项目压覆
重要矿产资源的申请
×××国土资源局:
概述建设项目立项背景、审批(核准、备案)状况、项目主管机关、建设机关、地理位置、拟用地范围及考虑建设项目安全保护距离后的评估范围(附规范的1980西安坐标系表示的拐点坐标)、面积或拟投资规模。
(1)××建设项目评估区范围直角坐标(1980西安坐标系)
拐点编号X Y
1 ················
2 ···············
3 ···············
4 ···············
·····
(直角坐标格式参考范例:4××××××. ×××,××××××××. ×××,X坐标为7位数,Y坐标为8位数)
(2)×建设项目评估区范围经纬度坐标(1980西安坐标系)
拐点编号X Y
1 ················
2 ···············
3 ···············
4 ···············
·····
(经纬度坐标格式参考范例,以90. ××××,38. ××××为例,X坐标为经度,用两位数值保留四位小数点表示,对应90度××分××秒,Y坐标为纬度,格式参照X坐标)
因评估区范围确定不当引起的一切责任后果由建设方负责。
现按规定将有关材料报上,专此申请查询该建设项目是否压覆重要矿产资源。
以上申请,请予答复。
(联系人及联系电话;详细通讯地址和邮编)
注:建设项目安全保护距离的确定需符合有关规范或规定,拟用地范围加上安全保护距离后的总范围即评估区范围。
(建设方加盖公章)
××××年××月××日
关于查询××××建设项目压覆
重要矿产资源的申请
×××国土资源厅:
概述建设项目立项背景、审批(核准、备案)状况、项目主管机关、建设机关、地理位置、拟用地范围及考虑建设项目安全保护距离后的评估范围(附规范的1980西安坐标系表示的拐点坐标)、面积或拟投资规模。
(1)××建设项目评估区范围直角坐标(1980西安坐标系)
拐点编号X Y
1 ················
2 ···············
3 ···············
4 ···············
·····
(2)×建设项目评估区范围经纬度坐标(1980西安坐标系)
拐点编号X Y
1 ················
2 ···············
3 ···············
4 ···············
·····
因评估区范围确定不当引起的一切责任后果由建设方负责。
现按规定将有关材料报上,专此申请查询该建设项目是否压覆重要矿产资源。
以上申请,请予答复。
(联系人及联系电话;详细通讯地址和邮编)
注:建设项目安全保护距离的确定需符合有关规范或规定,拟用地范围加上安全保护距离后的总范围即评估区范围。
(建设方加盖公章)
××××年××月××。