超市采购业务流程图
- 格式:docx
- 大小:27.39 KB
- 文档页数:15
生鲜采购流程图及流程说明一、生鲜采购流程图1. 审批人员选择供应商2. 发送采购订单3. 供应商接收订单4. 供应商备货5. 送货到仓库6. 仓库验收7. 入库8. 销售部门接收货物9. 分发到各销售点二、生鲜采购流程说明生鲜采购是公司运营中一个至关重要的环节,保证了产品的新鲜度和质量。
以下是生鲜采购流程详细说明:1. 审批人员选择供应商在生鲜采购流程中,首先由审批人员根据公司的采购政策和要求选择合作的供应商。
供应商的信誉度、价格、产品质量等都是审批人员选择供应商的重要考虑因素。
2. 发送采购订单审批人员选择完供应商后,就需要发送采购订单给供应商,确保双方对产品的类型、数量、价格等都有明确的约定。
3. 供应商接收订单供应商收到采购订单后,需要进行确认,并通知采购方订单的接收情况,确保双方都了解订单的状态。
4. 供应商备货供应商收到订单后,开始备货,保证在约定的时间内准备好产品,以便交付给采购方。
5. 送货到仓库供应商备货完成后,就需要将产品送到采购方的仓库,确保产品的运输过程中不受损坏。
6. 仓库验收仓库收到产品后,会进行验收,确认产品的数量、质量是否符合采购订单的要求,并记录在相应的采购记录中。
7. 入库验收通过后,产品会被入库,存放在仓库的指定位置,方便之后的管理和销售。
8. 销售部门接收货物在产品入库后,销售部门会接收到产品信息,并安排将产品分发到各销售点进行销售。
9. 分发到各销售点销售部门会根据销售需求将产品分发到各销售点,以供顾客购买,完成整个生鲜采购流程。
生鲜采购流程的严谨性和高效性对保证产品质量和公司运营有着重要的作用,每个环节都需要认真执行,确保产品能够按时到达销售点,满足客户需求。
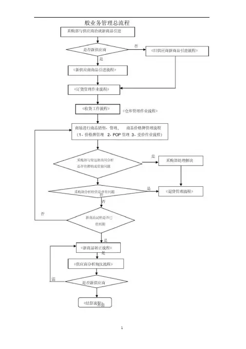
般业务管理总流程新供应商新商品引进流程3、设定商品状态注:录入组二十四小时内录入完成, 原始资料及电脑打印供应商商品明细表于次日十点前返回 (错误一条采购员下新品订单、排面量(订单备注新品、新供应商),并 .通知卖场签名确认(陈列位置由采购同营运经理协商确认)丿备注:试销期规定(1 )常规商品试销期 30天 (2)电器类商品试销期 60天 (3)特殊商品另订/录入组录入: 1、 新供应商资料 2、 新商品资料 《合同管理流 程》 合同管理流程罚五旧供应商新商品引进流程联营及代销扣点供应商引进流程采购员与供应商合同签署合同(一式三份)财务部审核同意不同意供应商留底新商品转正流程未退货通知供应商分析淘汰流程营运部每周进行一次检查,已入场三个月供应商,以及供应商销售排行榜编号、供应商名称、进场日期、品种数、平均日销、结款方式、库存金额、排名、进货总量、总销量通知:采购部、财务部、营运部、电脑部<该供应商转正采购部书面填报各厂家特别费用清单录单组将该供应商资料订为不可订或不可进通知录单组:淘汰供应商名单及最后期限营运部列〈供应商经营情况一览表〉通知采购及店长租赁结算流程联营供应商结算流程是1P通知联营供应商开发票到财务部结算财务确认支票日期,出纳员付款本月结算到期后,财务部将以下各表交至指定部门:《正常结算供应商明细表》《保底额结算供应商明细表》《合同已到期供应商明细表》代销结算流程购销(先货后款)结算流程每周三供应商持验收单至财 务部对帐供应商检查验收单和送货单并更正E T1财务部对帐组将供应商验收无单和电脑验收单进行核对否检查入库单是否有误确定供应商验收单与 是到期采购在每月7 日前 统计供应商的各 项应扣费用总表财务部结转已平帐单据, 财务总监结转不平帐单据待 处否 理 电脑验收单是否平帐财务部检查单据 是否已到结算期交采购经理签名确认应付款金额,权限金额范围之外权限金额之内财务总监签名同意店长签名确认通知供应商在每周五前领款 并提交增值税发票或收据财务部确认付款日期,出纳员 付款并在电脑内做付款确认补做调整单有工数量有误,由 收货部提出 解决方案同意金额有误,由 采购部提出 解决方案采购部经理审批►总经理签名同意购销(先款后货)结算流程类别单品数量管理流程(没讨论)店长每月至少一次查询分类商品情况采购部负责整改,增『通知采购部经理,由采r购部经理汇报差异原因调整类别中单品数量指标不合理加新品或淘汰滞销品〔完成,下次再查卜1赠品送货流程场内、场外促销活动流程1供应商自行举办的活动:订货管理作业流程备注:1、商品到货率要求不低于60%,办公室助理每月30日查供应商平均到货率,未达到到货率要求,按20元一家处罚采购员。
超市采购流程图超市采购流程图是一个描述超市采购过程的图表,包括了从商品采购计划制定到商品上架销售的整个过程。
首先,超市需要进行商品采购计划制定。
这个步骤是根据市场需求、销售数据和库存情况等因素,制定出下一个时间段内需要采购的商品种类、数量和价格范围等信息。
接下来,基于商品采购计划,超市需要进行供应商选择。
超市会根据不同的需求,寻找适合自己的供应商,包括了选择主要供应商和备选供应商,综合考虑供应商的信誉、货源稳定性、价格和服务等指标,进行供应商的筛选。
然后,超市与供应商进行采购合同的签订。
合同应包括商品的种类、数量、质量标准、价格、付款方式、发货时间等关键信息,确保双方的权益得到保障。
接着,超市与供应商开始商品的采购。
超市会根据商品采购计划,向供应商下订单,并与供应商确认商品的价格和交货时间。
供应商将根据超市的需求,准备商品并按时交货给超市。
收到商品后,超市会进行商品验收。
这个步骤是为了确保供应商交货的商品符合超市的要求,包括了商品的数量、质量、包装等方面进行检查,并将检查结果记录下来。
通过验收后,超市会进行商品的入库。
这个步骤是将商品按照不同的类别,进行整理、分类和储存,确保商品的安全和可管理性。
随后,超市会进行商品陈列和标价。
超市会按照商品的属性和销售情况,将商品进行布局陈列,并对商品进行标价,以便顾客能够清晰地了解商品的信息。
最后,超市进行商品销售。
顾客在超市内选购商品,并通过前台收银台付款进行购买。
超市通过销售数据的统计和分析,了解商品的销售情况和市场需求,为下一阶段的商品采购计划提供参考。
总的来说,超市采购流程图展示了超市商品采购的全过程,包括计划制定、供应商选择、合同签订、商品采购、验收、入库、陈列和销售等环节。
通过流程图,可以清晰地了解超市采购过程的每一个步骤和环节,从而提高超市的采购管理效率和供应链的运营效果。
般业务管理总流程121、 新供应商资料2、 新商品资料3、 设定商品状态注:录入组二十四小时内录入完成, 原始资料及电脑打 印供应商商品明细表于次日十点前返回 (错误一条 丿采购员下新品订单、排面量(订单备注新品、新供应商),并 、通知卖场签名确认(陈列位置由采购同营运经理协商确认)备注:试销期规定(1 )常规商品试销期 30天 (2)电器类商品试销期 60天 (3)特殊商品另订新供应商新商品引进流程采购员洽谈新供应商及新商品Y将供应商详细资料列表,上报经 理审批。
并注明更换供应商原 经营已有经营因:如供货价较低、是生产厂家 等(1、洽谈记录 2、新供应商 报价 3、旧供应商合同4、旧供应商商品资料明细表(采购在 电脑系统中列印))▼洽谈记录(不得涂改) 供应商报价明细(含商 品零售价及试销期) 市调报告将供应商详细情况资料列表申报米购经理/ 店长审批/录入组录入:1L《合同管理流 程》合同管理流程罚五元)旧供应商新商品引进流程不同意3联营及代销扣点供应商引进流程4新商品转正流程未退货通知5供应商分析淘汰流程营运部每周进行一次检查,已入场三个月供应商,以及供应商销售排行榜营运部列〈供应商经营情况一览表〉编号、供应商名称、进场日期、品种数、平均日销、结款方式、库存金额、排名、进货总量、总销量……采购部签署是否保留意见并交店长确认签名4-通知:采购部、财务部、营运部、电脑部该供应商转正店长签名是否保留通知采购及店长采购部书面填报各厂家特别费用清单录单组将该供应商资料订为不可订或不可进1F退货流程1F■财务部汇总并收取厂家各项费用通知录单组:淘汰供应商名单及最后期限录单组检查是否按时完成财务部结清卜供应商余款丨6租赁结算流程78联营供应商结算流程与财务部进 行对帐,核 对每日交款 项(营业额)每月指定对帐日期,联营供应商到 财务部查询销售额及可结款金额, 每月1-5号对单,15号、25号后周 五结款是收取联营 各种; ;供应商 杂费1r财务部根据合同查验收取 分成额是否超出保底数核算员审核结款金额是否正确采购部书面填报各供 应商特别费用清单1 F财务部汇总用,列F总各项费 明细表采购部经理签名 提出处理意见否是____________ 1 _________通知联营供应商开发票 到财务部结算是否 店长审核意见是否保留该供 应商 财务确认支票日 期,出纳员付款本月结算到期后,财务部将以 下各表交至指定部门 :《正常结算供应商明细表》 《保底额结算供应商明细表》 《合同已到期供应商明细表》通知采购部、营运部、 财务部淘汰供应商 JL供应商清算代销结算流程9购销(先货后款)结算流程10购销(先款后货)结算流程类别单品数量管理流程(没讨论)赠品送货流程场内、场外促销活动流程1供应商自行举办的活动:订货管理作业流程备注:1、商品到货率要求不低于 60%,办公室助理每月 30日查供应商平均到货率,未达到到货率要求, 按20元一家处罚采购员。
连锁超市采购部作业流程一般业务管理总流程采购部与供应商洽谈新商品引进否是否新供应商《旧供应商新商品引进流程》是《新供应商商品引进流程》《订货管理作业流程》《收货工作流程》《仓库管理作业流程》商场进行商品销售、管理,商品价格牌管理流程(1、价格牌管理2、 POP 管理 3、变价作业流程)采购部与营运部共同分析采购部处理解决是否有滞销或质量问题是是否否否是是需是否新供应商不需申报采购总监审批新供应商新商品引进流程采购员洽谈新供应《合同管理流录入组录入:将供应商详细资料列表, 上报商及新商品1、新供应商资料已有经营程》经理审批。
并注明更换供应商商品是否已不2、新商品资料原因:如供货价较低、 是生产有经营同3、设定商品状态厂家等( 1、洽谈记录2、新注:录入组二十四小时内录入完成, 原始资料及电脑打意3、旧供应商合无供应商报价印供应商商品明细表于次日十点前返回 同 4、旧供应商商品资料明( 1) 洽谈记录(不得涂改)合同管理流程将供应商详细情况资细表(采购在电脑系统中列( 2) 供应商报价明细(含商 料列表采购员下新品订单、 排面量(订单备注新品、 新供应商) ,品零售价及试销期)备注:试销期规定并通知卖场签名确认(陈列位置由采购同营运经理协商 60 天 ( 3)特殊商品另订( 3 1)常规商品试销期 30 天 ( 2)电器类商品试销期) 市调报告旧供应商新商品引进流程供应商带新商品资料与采不购部采购员洽谈同采购员填写 《新品开发单》 、 意供应商报价单、市调报告同意(含售价及试销期)采购部经理签名同意采购员下新品订单、排面量并由采购总监签字确(订单备注新品),并通知卖联营及代销扣点供应商引进流程电脑认房24 小时内录入新商场确认(陈列位置由采购同卖品资料并确认, 原始资料及场协商确认)采购部与供应商协商不供应商商品明细表于次日采购与供应商草签供应商洽同 代销或扣点条件谈记录表(十点前返回2)意1)洽谈记录(报价单(只需售价)( 3)市调报告同意财务部审核供应商在合同上签名、 盖公章交采购经理和采购总监不同意同意总经理签名是否同意审核采购员与供应商合同签署合同(一采购部副本留底式三份)采购员填写《新品录入资料表》和《供应商资料表》供应商留底财务部正本留底合同、供应商资料电脑部录入房 入商品 料, 入整理 用收程序新商品转正流程取清房每周一次 , 已到期、品名、 格、 价、新商品 ( 期 30 天)采 部出 《需淘汰到期新第一次采 部、 考售价、 毛利率、 品平均商品明 表》日 、 平均日 、 名 通知采 部出意保留第二次采及 房商淘汰次、 量、 售 量、字 存未 品 正退房将商品基通知 房淘汰及 通料属性改 : 退 期限 两周知不可 、不可〈〈退货流程〉〉已退部 清余退货期限为两周款及 用供应商分析淘汰流程采 部 每周 行一次 ,已采 部 列〈供 商入 三个月供 商,以及供情况一 表〉 商 售排行榜采 部 署是否保留意 并通交采 确 名知通知:采 部、 理 名是采部、 运部、 部否保留是供 商 正及 店房将 供 商料 不可 或 采 部 面填 各 退货流程 不可厂家特 用清部 并收取部 清厂家各 用供 商余款店内租赁结算流程房 到期是否已退号、供 商名称、 日期、品种数、平均 日 、 款方式、 存金 、排名、 量、量⋯⋯通知 :淘汰供 商名 及最后期限录单组检查是否按时完成每月指定交款日期, 租 供部根据合同 采 部 面填 各供 商到 部交租金收租金商特 用清收取租 供 商各种部 采 部及 运部及租 用各 用,列明 表列《未交款供 商明 》本月收款工作到期后, 部交采 部催交采将各表交至指定部 《已交款供 商明 表》《未交款供 商明 表》部《合同已到期供 商明 表》总经理与财务部进否行对帐,核对每日交款项(营业额)否采购部经理签名提出处理意见采购总监审核否意见是否保留该供应商总经理签名同意通知采购部、营运部、财务部淘汰供应商供应商清算营运店联营供应商结算流程部长每月指定对帐日期,联营供应商到财采购部书面填报各供务部查询销售额及可结款金额,每月应商特别费用清单10-15 号对单, 25 号至月底结款核算员审核结款金财务部汇总各项费用,是额是否正确列明细表收取联营供应商各种杂费财务部根据合同查验收取是分成额是否超出保底数通知联营供应商开发票到是财务部结算本月结算到期后,财务部将以财务确认支票日下各表交至指定部门:期,出纳员付款《正常结算供应商明细表》《保底额结算供应商明细表》《合同已到期供应商明细表》总采营代销结算流程经购运总总理监监待否处理采购部书面填报供应财务部汇总各项费商特别费用清单财务部查询供应商可结算金额核对用,列明细表总经理签名同意应结款余额,财收务取总供监应签商名各同项意费用并供应商按单开填单交采购部签名财务部确认支票日期出财务每月交《代销供应商具结算发票纳员付款,在电脑系统结算情况表》于总经理购销(先货后款)结算流程内做付款确认每月供应商持验收单至财务部供应商检查验收单和送货财务部对帐员将供应商验收单无对帐单并更正和电脑验收单进行核对确定供应商验收单与否检查入库单是补做调整单有是否有误电脑验收单是否平帐到期采购在每月 10 日前统计数量有误,由金额有误,由财务部检查单据供应商的各项应扣费用财务部结是转否已到平结帐算单期据,收货部提出采购部提出解财总表同意决方案务总监结转不平帐单据解决方案采购部经理审批交采购总监签名确认应付款金额,权限金额范围之外董事长签名同意权限金额之内公司总经理签名确认财务总监签名同意通知供应商在付款期内领款并财务部确认付款日期,出纳员付提交增值税发票或收据款并在电脑内做付购款确销认(先款后货)结算流程采购部与供应商协商商品付不同意款条件并签订合作合同同意采购总监、财务部确定财务部合同正本备案总经理在合同上签名,盖公合同内容、付款条件是采购部合同副本备案司合同章否符合要求、签名采购部填写《借款单》店长在《借款单》上供应商合同正本备案财务总监签名确认签名并且查验合同书采购员下订单采购员凭结算单报销类别单品数量管理流程店长及采购部经理根据公不店长每月至少一次司情况,确定商品类别及每妥查询分类商品情况类应做品种类同类别实际单品列分类商品数量意表报总经理审批数是否符指标由营运总监、采购总监与其它高层领导差异较大由采购1、确定各采购分管大类通知采购部经理,部经理汇报差异原因2、确定各大类应有商品品种差异原因合理由电脑房3、确定各大类应占用面积及楼层位置不合理是否合理1、录入商品分类资料采购部负责整改,增加2、设定每类商品种类新品或淘汰滞销品完成,下次再查3、设定各采购分类管理权限调整类别中单品数量指标。
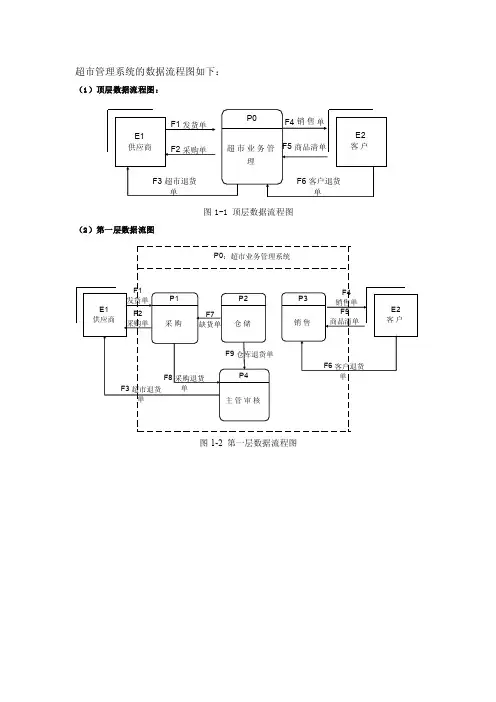
超市管理系统的数据流程图如下:(1)顶层数据流程图:图1-1 顶层数据流程图(2)第一层数据流图图1-2 第一层数据流程图(3)第二层数据流程图-采购图1-3 采购数据流程图(4)第二层数据流程图—仓储图1-4 仓储数据流程图(5)第二层数据流程图—销售图1-5 销售数据流程图下面红色字体是赠送的精美网络散文欣赏,不需要的朋友可以下载后编辑删除!!谢谢!!!一一条猎狗将兔子赶出了窝,一直追赶他,追了很久仍没有捉到。
牧羊看到此种情景,讥笑猎狗说…你们两个之间小的反而跑得快得多。
…猎狗回答说:…你不知道我们两个的跑是完全不同的!我仅仅为了一顿饭而跑,他却是为了性命而跑呀!目标二这话被猎人听到了,猎人想:猎狗说的对啊,那我要想得到更多的猎物,得想个好法子.于是,猎人又买来几条猎狗,凡是能够在打猎中捉到兔子的,就可以得到几根骨头,捉不到的就没有饭吃.这一招果然有用,猎狗们纷纷去努力追兔子,因为谁都不愿意看着别人有骨头吃,自已没的吃.就这样过了一段时间,问题又出现了.大兔子非常难捉到,小兔子好捉.但捉到大兔子得到的奖赏和捉到小兔子得到的骨头差不多,猎狗们善于观察发现了这个窍门,专门去捉小兔子.慢慢的,大家都发现了这个窍门.猎人对猎狗说:最近你们捉的兔子越来越小了,为什么?猎狗们说:反正没有什么大的区别,为什么费那么大的劲去捉那些大的呢?动力三猎人经过思考后,决定不将分得骨头的数量与是否捉到兔子挂钩,而是采用每过一段时间,就统计一次猎狗捉到兔子的总重量.按照重量来评价猎狗,决定一段时间内的待遇.于是猎狗们捉到兔子的数量和重量都增加了.猎人很开心.但是过了一段时间,猎人发现,猎狗们捉兔子的数量又少了,而且越有经验的猎狗,捉兔子的数量下降的就越利害.于是猎人又去问猎狗.猎狗说…我们把最好的时间都奉献给了您,主人,但是我们随着时间的推移会老,当我们捉不到兔子的时候,您还会给我们骨头吃吗?…四猎人做了论功行赏的决定.分析与汇总了所有猎狗捉到兔子的数量与重量,规定如果捉到的兔子超过了一定的数量后,即使捉不到兔子,每顿饭也可以得到一定数量的骨头.猎狗们都很高兴,大家都努力去达到猎人规定的数量.一段时间过后,终于有一些猎狗达到了猎人规定的数量.这时,其中有一只猎狗说:我们这么努力,只得到几根骨头,而我们捉的猎物远远超过了这几根骨头.我们为什么不能给自己捉兔子呢?…于是,有些猎狗离开了猎人,自己捉兔子去了骨头与肉兼而有之……五猎人意识到猎狗正在流失,并且那些流失的猎狗像野狗一般和自己的猎狗抢兔子。
制作单位:前言管理工作是严谨的,也是公司业绩的保证。
超市标准化的管理的必要条件就是管理路径必须合理科学。
而作业程序则就是管理的路径。
有一个科学的管理作业程序能够提高工作效率,分工明确、且能够使各人员有条不紊的进行管理工作。
本文针对兴隆购物中心实际情况制订了一部分作业流程,在以后的管理工作当中会不断补充和完善。
招聘程序执行部门流程图说明用人部门严格按照定编执行人事部组织招聘在原编制上增加人事经理 部门岗位情况店长执行董事人事部招聘审批程序执行部门 流程图 说明求职者人事部 验证求职者资格用人部门 验证求职者专业技能店长 检验求职者综合素质执行董事决定是否录用备注:主管级以下职位由店长决定是否录用,主管级(含主管)以上人员则由执行董事决定是否录用。
请假审批程序执行部门流程图说明请假人部门负责人根据部门情况人事经理店长执行董事附:请假审批权限人员异动程序晋升执行部门流程图说明拟晋升人员部门负责人 人事经理 店长 执行董事 备注:1、人员晋升包含职位晋升和级别晋升(如收银员转职做文员)。
2、主管级以下晋升店长可作最后审批,主管级以上则由执行董事审批。
转岗/调动执行部门 流程图 说明 转岗人员部门负责人接收部门负责人 做技能上的测试人事经理 根据人力情况资源情况店长人员调薪程序执行部门 流程图 说明调薪人员部门负责人 人事经理 店长 执行董事离职审批程序执行部门 流程图 说明离职人员部门负责人 需经过谈话人事经理店长执行董事备注:1、 主管级以下职位由店长做最终审批,主管级(含主管)以上人员则由执行董事做最终审批。
2、 人员的辞退,由部门负责人填写辞退单,按照此审批程序物料申领程序执行部门 流程图 说明物料需求人注明用途部门负责人人事经理店长人事部 备注:1、 物料的使用遵循节约、循环利用原则。
2、 部分物料需以旧换新。
物料申购程序执行部门 流程图 说明物料使用人部门负责人人事部人事经理店长执行董事采购人员人事文员备注:1、500元以下由店长审批生效。
第二节商品采购流程一、商品采购的流程形式(一) 新商品进货流程(代销)(二) 已销售商品的补货(订货)流程(三) 现金采购商品进货流程二、新商品进货操作流程(一) 新商品进货操作程序1、业务部经理根据公司经营策略和分店销售要求制订商品采购计划;2、根据采购计划寻找供应商;3、预约供应商;4、业务员接待预约的供应商,初步洽谈价格和结算方式;5、会同物价质检员审核有效证件和资料并签名。
(1) 供货方营业执照复印件一份(存业务部);(2) 供货方税务登记复印一份(存业务部);(3) 供货方加盖公章的商品报价单一式二份(存财务部、配送中心各一份);(4) 产品生产许可证、质量检验报告、质量合格证以及进口商品检验证书、复印件各一份(存业务部);(5) 提供商品样板(实物)或彩色图片;(6) 原则要求必须从厂家直接进货,若只能从厂家的代理或总经销处进货,则须出示厂家签订的总代理或总经销委托书复印件存业务部及财务部各一份。
(7)其它商场资料,包括送货单、合同资料。
6、业务部经理根据相关资料及样品和本公司各分店商品结构情况,会同分店,每周组织一次相关人员讨论,同时填制“新商品待引进表”,进行卖场可容量分析后,决定是否引进。
7、业务部经理审核,确定谈判目标。
8、业务部经理审核同意进货,即安排业务员二人在预约时间内与供应商谈判,并作好谈判记录。
谈判内容包括:商品进货价格、结算方式、销售奖励、佣金、促销内容(含要求供应商每月或每季度最少一次提供部分供应商品特价促销计划)、促销费用、赞助费、年终返利。
谈判中业务员应具备高水平的谈判技巧,使新商品能以最有利我方的方式入场;不能进货的,即向供应商退还资料和样品。
9、物价部审核新商品价格,并拟定供应商提供的商品特价促销计划,给商场分店制定滚动式促销计划。
10、业务部经理根据情况约供应商进行第二次谈判。
11、达成协议,业务员签定合同并填写新商品开发表,(不能进货即退还资料和样品)同时向填制“商品上架通知单”给预收货分店。
超市采购业务流程图采购,是指企业在一定的条件下从供应市场获取产品或服务作为企业资源,以保证企业生产及经营活动正常开展的一项企业经营活动。
以下是店铺为大家整理的关于超市采购业务流程图,给大家作为参考,欢迎阅读!超市采购业务流程图采购业务流程及管理制度第一条采购部门的划分1.生产原材料采购:由采购部门负责办理。
2.日常办公用品采购:由办公室或办公室指定的部门或专人负责办理。
3.对于重要材料的采购,必要时由总经理指派专人或指定部门办理采购作业。
第二条采购作业方式一般情况,采购部门依材料使用及采购特性,选择下列一种最有利的方式进行采购:1.集中计划采购:凡具有共同性的材料,须以集中计划办理采购较为有利,采购前,先通知请购部门依计划提出请购,采购部门集中办理采购。
2.长期报价采购:凡经常性使用,且使用量较大的材料,采购部门应事先选定供应厂商,议定长期供应价格,批准后通知请购部门依需要提出请购。
3.未经公司主管领导书面同意,不得私自变更、替换现有面辅材料供应商;如有更适合供应商而需要替换原供应商的,采购部必须提交书面变更供应商陈述材料,获得书面批准后方可变更。
4.询价、议价结束后,需公司主管领导书面同意方可定价,否则公司不予认可价格;由此引起后果由责任人负全责。
5.采购作业合同签订由公司指定或授权委派专人负责,否则视为无效。
6.毛领、毛条、面料等大额材料合同签订由分管采购副总经理以上级别人员办理。
第三条采购作业处理期限采购部门应依采购地区、材料特性及市场供需,分类制定材料采购作业处理期限,通知有关部门以便参考,如果有变更时,应立即修正。
采购作业处理第四条询价、比价、议价(一)经办人员应对厂商的报价资料进行整理并经过深入调查分析后,以电话或其他联络方式向供应厂商议价。
(二)凡是最低采购量超过请购量的,采购经办人员在议价后,应在请购单中注明,经主管签字确认后上报。
(三)采购经办人员接到“材料采购单”后应依采购材料使用时间的缓急,并参考市场行情及过去采购记录或厂商提供的资料,需精选三家以上的供应商进行产品的书面比价,经分析后进行议价,议价结果书面上报主管领导。
超市管理系统数据流程图[方案]超市管理系统的数据流程图如下:(1)顶层数据流程图:P0销售F4 单F1 发货单E2E1F5 客户商品清单供应商超市业务管F2 采购单理F3 F6 超市退货客户退货单单图1—1 顶层数据流程图(2)第一层数据流图P0:超市业务管理系统F1 F4 P3P1P2发货单销售单E2E1F5 F2 F7客户供应商商品清单销售采购单仓储采购缺货单F9 仓库退货单F6 客户退货P4单F8 采购退货单F3 超市退货单主管审核图1-2 第一层数据流程图(3)第二层数据流程图-采购P1P1.1F7 缺货单F2 采购单采购审核P1.2P1。
3P1。
5F1 发货单入库检E1库存修改F11 验货入库供应商 F10 查采购单合格单F12F13库存信息采购不合格单入库不合格单S1表P1。
4F8 采购退货单退货审核图1—3 采购数据流程图(4)第二层数据流程图-仓储P2报损单S3P2.1仓库主管F7 缺货单审核P2.5F17 F10 F14 仓库退分拨单移库通知单货物申查货单P2。
2库存信S2分拨货物P2。
6息表F15 出库单货物清点P2.3P2.4F16移库库存修改移库单S4盘存单-4 仓储数据流程图图1(5)第二层数据流程图—销售P3S5会员信息表F18会员商品表P3.2P3。
1F19销售货物普通商品表是否会员F4 商品表E2F5 销售单客户P3。
4P3.3F20F6 退货单入库单S6库存信息表库存修改审核退单图1—5 销售数据流程图。
超市一般业务管理总流程
是
否
否
是
需
超市新供应商商品引进流程
已有经营
不 同 意
无
超市旧供应商新商品引进流程
同意
超市联营及代销供应商引进流程
同意
不同意
同意
超市新商品转正流程
第一次
未
退
货
通
知
超市供应商分析淘汰流程
通知采购及总经
理
超市租赁结算流程
超市联营供应商结算流程
是
是是
否
超市代销结算流程
超市购销(先货后款)结算流程
无
否
是有权限金额之内
超市购销(先款后货)结算流程
超市类别单品数量管理流程
不 妥
同 意
差异 较大
不合理
超市赠品送货流程
超市场内、场外促销活动流程
1、供应商自行举办的活动:
2、公司举办的活动:。