四川钻神 自进式(中空注浆)锚杆施工工艺措施
- 格式:doc
- 大小:50.00 KB
- 文档页数:2
中空注浆锚杆作业技术交底引言中空注浆锚杆是一种常用于岩土工程中的地下支护工法。
通过注浆技术将锚杆与周围岩土结合,提高地下结构的稳定性和承载能力。
本文将详细介绍中空注浆锚杆作业技术的相关知识,包括工作原理、施工步骤、设备材料、质量控制等方面。
一、工作原理中空注浆锚杆是由钢筋和注浆管组成的,钢筋通常采用高强度钢材,注浆管则用于注入浆液。
施工过程中,首先钻孔至设计深度,然后将锚杆插入孔洞中,通过注浆管注入一定比例的水泥浆液,使锚杆与孔洞壁产生粘结。
随着浆液硬化,形成一种坚固的地下支护结构。
二、施工步骤1. 前期准备在开始施工前,必须进行充分的前期准备。
包括制定详细的施工方案和安全保护措施,购买所需的设备材料,并对施工现场进行清理。
同时,还应检查钻机和注浆泵等设备的性能和工作状态,确保其正常运行。
2. 钻孔凿岩按照设计要求,在地下进行钻孔凿岩作业。
钻孔直径、深度和间距等参数应符合设计要求。
钻孔过程中,应特别注意岩层的稳定性,防止因岩层崩落等问题导致事故发生。
3. 安装锚杆在完成钻孔作业后,将钢筋锚杆插入孔洞中。
钢筋长度应根据孔深和固结要求进行确定。
插入钢筋时,要确保钢筋与孔洞壁紧密接触,并且垂直于地面。
同时,还应在钢筋外侧留出足够的长度,用于连接注浆管。
4. 注浆灌浆将注浆管连接至锚杆上,并采用注浆泵将浆液注入孔洞中。
注浆过程中,要避免出现断流、堵塞等问题。
注浆结束后,应检验注浆管和孔洞是否存在渗漏或其他缺陷,确认注浆质量。
5. 后期加固待注浆硬化后,根据实际需要,可以进行后期加固工作。
包括增加钢筋的数量和直径,或者在锚杆周围注入更多的浆液,以提高支护效果。
三、设备材料中空注浆锚杆施工所需的设备材料主要包括:1. 钻机:用于钻孔凿岩,可选择手持式钻机、液压钻机等。
2. 钢筋:采用高强度钢材,一般为螺纹钢筋或螺纹钢管。
3. 注浆管:用于将浆液注入孔洞中,可以选择螺纹注浆管或皮管。
4. 注浆泵:用于注入浆液,常用的有活塞泵和螺杆泵。
自进式锚杆的施工工艺及操作方式自进式锚杆是钻杆及锚杆合而为一,在风化岩,碎岩层,回填区,砂,粘土,园卵石层等不需套管护壁,即能形成锚孔,保证锚固与注浆效果。
操作简便,快捷省时,节省百分之25工作量,减少工程成本。
自进式锚杆支护是通过围岩内部的锚杆改变围岩本身的力学状态,在巷道周围形成一个整体而又稳定的岩石带,利用锚杆与围岩共同作用,达到维护巷道稳定的目的。
它是一种积及防御的支护方法,是矿山支护的重大变革。
中煤自进式锚杆主要是用于断层破碎带开挖支护施工,在复杂地质条件下取代普通砂浆锚杆,克服了普通砂浆锚杆诸如塌孔、无法插杆、注浆不饱满等难题,发挥了锚杆支护的作用,提高了围岩的承载能力,保证了围岩的整体稳定,具有较好的应用价值。
自进式锚杆采用良好的厚壁无缝钢管材料、快捷的表面螺纹成形工艺以及做工精良的配件实现了自钻式锚杆钻孔、注浆、锚固等功能的统一。
自进式锚杆施工工艺1、将合金钻头与锚杆一端连接,自进式锚杆另一端连接上钎套、钎尾后再与台车或手持式钻机连接好。
自进式锚杆按设计的高度开始钻进,钻进时须加注冷却水。
(锚杆如需加长,自进式锚杆可用连接套进行连接,然后钻进)2、卸下钻机,将止浆塞套进杆体,并将其塞入孔内,准备注浆。
异常情况入注浆压力过大或围岩太破碎,可用锚固剂封孔ymjt043、将快速注浆接头与锚杆尾端连接,注浆接头另一端与注浆机连接。
4、开动注浆机注浆,待注浆饱满且压力达到设计值时关机。
注浆压力根据设计参数和注浆机性能确定,灰沙比参考值1:0~1:1,水灰比参考值0.45~0.5:1.5、安装垫板和螺母,并旋紧螺母自进式锚杆的操作方式1、打锚杆孔,眼深比锚杆体短80-100mm为宜。
2、将锚杆孔内的岩粉去除干净。
3、装药卷之前应检查药卷质量,对破裂失效的药卷不得使用。
4、将树脂药卷送入眼底,用锚杆顶住药卷开始搅拌,搅拌完后,卸下搅拌工具,待4-6分钟后,卸下搅拌连接头,上托盘,40分钟后用专用扳手拧紧螺母。
自钻式中空注浆锚杆的施工工艺自钻式中空注浆锚杆的施工工艺可谓是个相对新鲜的玩意儿。
想想看,建筑工地上,那些高大上的大楼和坚固的桥梁,背后可少不了这些“隐形英雄”的支撑。
嘿,今天咱就聊聊这玩意儿的施工过程,听起来有点儿复杂,但其实也不是什么难事儿。
得准备工作。
说白了,就是把工具和材料整齐划一地摆好。
你想啊,工地上那一片忙碌的景象,咱可不能让自己掉链子。
工具要检查得妥妥的,材料更是要确保质量过关,毕竟“宁可千日不用,不可一日大意”。
然后,就得选好位置了,得根据施工图纸找准那些关键点。
没办法,谁让咱这是个细致活呢,找准了才能“千锤百炼”。
咱就要钻孔了。
看着那机器咕噜咕噜地转,真是像在做一道美味的菜肴,一步一步来,越往里钻越觉得神奇。
咱用的是自钻式中空注浆锚杆,名字听起来就让人觉得高大上。
这家伙有个特别的地方,那就是它可以边钻边注浆,简直像是让土壤喝水。
想象一下,土壤慢慢吸收这些浆料,稳稳当当的,立刻就能增强地基的承载力。
真是“有理走遍天下,无理寸步难行”。
然后,注浆的过程就开始了。
浆料在管道里流动,那感觉就像小河流淌。
我们得保持压力,确保浆料均匀分布。
听说过“无压力不成材”,在这儿同样适用。
浆料注入后,咱们就要等一会儿,让它们慢慢凝固,这就像等待一块蛋糕从烤箱里出来,心里那种期待感可真是满满的。
你得耐心点,毕竟“心急吃不了热豆腐”。
浆料凝固后,就要把锚杆安装上去。
哎,这可不能马虎。
得把锚杆放到位,然后用工具拧紧。
就像组装家具一样,得仔细、得稳妥。
这样才能确保整个结构的牢固性,毕竟这关系到安全,可是“事关重大”。
咱们要进行验收。
没错,光干活儿可不够,还得检查一遍,确保一切都符合标准。
可不能让“马虎”这两个字闯进咱的工作。
工地上,大家都忙得不可开交,但这种时候,还是得小心翼翼。
毕竟,咱不是在玩过家家,这是真刀真枪的事儿。
每一个环节都得过得去,不能留下隐患。
施工完毕,回头一看,心里那个成就感啊,真是美滋滋的。
中空砂浆锚杆施工工艺
中空砂浆锚杆是一种将锚杆和注浆管组合在一起的锚固装置,其施工工艺一般包括以下几个步骤:
1. 准备工作:确定锚杆的位置和数量,并进行钻孔。
根据设计要求,选择合适的钻机和钻头,按照预定的孔径和深度进行钻孔。
2. 锚杆安装:将中空砂浆锚杆插入钻好的孔中,确保锚杆的末端与孔底紧密接触。
在插入锚杆的过程中,可以使用专门的安装工具来保证锚杆的垂直度和深度。
3. 注浆:使用注浆泵将砂浆注入锚杆内部的注浆管中。
通过注浆管,砂浆可以填满锚杆周围的空隙,形成坚固的锚固结构体。
在注浆过程中,要控制好注浆压力和注浆量,确保砂浆均匀填充。
4. 锚杆固定:待砂浆凝固后,中空砂浆锚杆就能够提供强大的锚固力。
根据需要,可以对锚杆进行张拉力测试,以确保其满足设计要求。
5. 施工质量检查:对中空砂浆锚杆的施工质量进行检查,包括锚杆的位置、深度、注浆量等。
如发现问题,及时进行整改。
需要注意的是,中空砂浆锚杆的施工工艺可能会因地质条件、工程要求等因素而有所不同。
在具体施工过程中,应根据实际情况进行调整和优化。
同时,施工人员应具备相关的专业知识和技能,确保施工质量和安全。
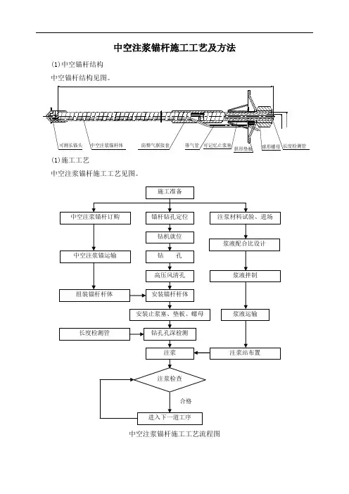
中空注浆锚杆施工工艺及方法(1)中空锚杆结构中空锚杆结构见图。
(1)施工工艺中空注浆锚杆施工工艺见图。
中空注浆锚杆施工工艺流程图(3)施工方法及要点中空注浆锚杆在专业厂家购买,锚杆钻机钻孔,液压平台辅助人工安装,专用高压注浆泵注浆。
①施工准备严格按照设计要求选择专业厂家订购中空注浆锚杆,并进行相关试验,确保锚杆体的抗拉拔力满足设计要求。
注浆浆液采用水泥浆,施工准备阶段主要完成有关水泥相关试验和水质化验,进行浆液配合比设计及相关试验。
②测量放样、钻机就位锚杆孔开孔前做好量测工作,按设计要求布孔并做好标记,开孔偏差不大于10cm;锚杆孔的孔轴方向满足施工图纸的要求,图纸未规定时垂直于开挖面,局部加固锚杆的孔轴方向与可能滑动面的倾向相反,交角大于45º。
③锚杆钻机就位。
④成孔采用锚杆钻机钻孔,测斜仪控制孔身倾斜角度,利用短杆冲孔,然后接长钻杆钻孔到设计长度。
锚孔位置、方向、直径严格控制,锚孔钻完后用高压风清孔。
清孔完成后进行锚孔位置、方向、直径进行严格控制,检查锚孔是否平直畅通,不合格的孔位重新钻孔。
⑤锚杆杆体安装组装中空注浆锚杆杆体,安装可测长锚头、长度检测管。
人工辅助锚杆钻机安装,锚杆边旋转边送入锚孔。
隧道拱部采用带防弊气联接套的中空注浆锚杆,锚杆组装时,同时安装防弊气联接套、排气管。
杆体安装完成后,安装止浆塞、垫板、球形螺母,利用中空锚杆扳手拧紧。
安装锚杆垫板时确保垫板与锚杆垂直,并与初喷混凝土面密贴紧压。
锚杆安装后,不得随意敲击,3天内不得悬挂重物。
⑥注浆利用专用高压注浆泵注浆通过锚杆杆体预留通道接孔口注浆。
隧道拱部利用排气管排气,确保锚杆孔内注浆饱满。
注浆浆液配合比设计:注浆采用水泥浆,水灰比0.4~0.5:1。
浆液扩散半径r的确定:根据已有资料进行工程类比及现场碴体注浆试验情况选定注浆压力范围,确定浆液扩散半径r的大小。
注浆孔距D与排距L的计算:L=Dsin60º,D=2rcos30º单孔注浆量Q注=πr2hηβ式中:r--浆液扩散半径,m;h--压浆段有效长度,m;η--岩石裂隙率;β--浆液在裂隙内的有效充填系数。
中空注浆锚索施工技术措施中空注浆锚索是一种常用于岩土工程中的加固和支护技术,其通过在地下隧道、坑道和坡面等工程中使用锚索进行加固和支护。
中空注浆锚索施工技术措施是确保锚索施工质量和安全的重要环节,本文将对中空注浆锚索施工技术措施进行详细介绍。
一、施工前准备工作:1.设计准备:根据工程要求,绘制中空注浆锚索的详细设计图纸,明确锚索的布置位置、长度和锚段数等参数。
2.施工方案编制:根据设计图纸,编制中空注浆锚索的施工方案,包括施工方法、施工工艺和施工序列等内容。
3.安全措施制定:制定中空注浆锚索施工的安全措施,包括临时围护措施、危险源辨识和应急预案等内容。
4.施工人员培训:对参与中空注浆锚索施工的人员进行培训,提高其对施工技术和安全措施的理解和掌握程度。
二、现场施工操作:1.定位控制:根据设计要求,使用测量仪器在施工现场确定锚索的布置位置,进行精确定位控制。
2.钻孔预制:根据设计图纸要求,在锚索布置位置进行钻孔预制工作,钻孔直径和深度要符合设计要求。
3.钢束安装:将预制的钢筋束或钢绞线束(即锚索)装入钻孔中,并使用注浆材料对钢束进行灌浆充填。
4.注浆充填:选用合适的注浆材料,按照施工方案要求对钻孔中的钢束进行注浆充填,确保注浆材料能充分固化。
5.固结时间控制:根据注浆材料的固结时间,控制施工序列和施工速度,确保注浆后的钢束能够在固结时间内达到设计要求的强度。
6.后续加固:根据设计要求,在锚索注浆固定后,进行后续加固工作,如表面保护和接头处理等。
三、施工质量控制:1.施工记录:对每个锚索的施工过程进行详细记录,包括钻孔预制情况、注浆材料使用情况和注浆充填效果等。
2.质量检测:对注浆后的钢束进行质量检测,包括拉拔试验和扭转试验等,确保锚索的强度和稳定性符合设计要求。
3.施工过程监控:采用实时监控技术对施工过程进行监控,如应变片、应变计和振动传感器等,及时发现施工中的异常情况。
4.验收工作:对完成的中空注浆锚索进行验收工作,确保施工质量达到设计要求,并提交相应的验收报告。
中空注浆锚杆施工方法
中空注浆锚杆主要用来作系统支护。
做法是:在开挖后较为松散的土方边坡按设计要求规格及见距打入相应锚杆,压注水泥砂浆,使较为松散的土壤凝固成为一个整体,然后在边坡表面挂网喷射相应强度的混凝土。
确保边坡的稳定性。
锚杆安装:
放线:按设计间距沿坡面标出锚杆位置。
连接锚杆:先清理钻头、锚杆孔中异物堵塞,然后将钻头安装在锚杆一端,再将凿岩机以套管连接在另一端。
钻进及安装:将锚杆的钻头对准坡面上标出的钻位,对凿岩机供风供水,开始钻进,钻进应以多回转、少冲击的原则进行,以免钻碴堵塞凿岩机的水孔;钻至设计深度后,用水或高压风清孔,确认畅通后卸下钻杆连接套,保持锚杆的外露长度为10~15cm。
注浆:
为了保证注浆不停顿地进行,注浆前应认真检查:注浆泵的状况是否良好,配件是否备齐;检查制浆的原材料是否备齐,质量是否合格。
采用水泥砂浆,初步选定配比为:水泥:砂:水=1:1:0.45,外加剂添加量为:水泥:早强剂=1:0.01。
注浆按以下程序进行:迅速将锚杆、注浆管及注浆泵用快速接头连接好;开动注浆泵注浆,直至浆液从孔口周边溢出或压力表达到设计压力值为止。
应注意,每根锚杆必须“一气呵成”;一根锚杆完成后,应迅速卸下注浆软管和锚杆接头,清洗后移至下一根锚杆使用。
若停泵时间较长,则在下根锚杆注浆前要放掉注浆管内残留的灰浆;注浆过程中,每次移位前应及时清洗快速接头,以保证注浆连续进行。
中空注浆锚杆施工工艺流程图。
中空注浆锚杆预应力锚杆技术是利用锚杆周围地层岩土的抗剪强度来传递结构物的拉力或保持地层开挖面的自身稳定。
由于锚杆的使用,使锚固地层产生压应力区并对加固地层起到加筋作用以增强地层的强度,改善地层的力学性能;使结构与地层连锁在一起,形成一种共同工作的复合体.使其能有效地承受拉力和剪力.并能提高潜在滑移面上的抗剪强度,有效地阻止坡体位移。
中空注浆锚杆的工艺原理是预应力锚杆的一端与岩土体或结构物相连,另一端锚固在岩土体层内,并对其施加预应力,形成锚固体系,以承受岩土压力、水压力、抗浮、抗倾覆等所产生的结构拉力,用以维护岩土体的稳定。
通过对锚杆施加预应力能够主动控制岩土体变形,调整岩土体应力状态.有利于岩土体的稳定性;施上所需钻孔径小,不用大型机械,结构轻巧,可靠度高;施工机具轻便简单、灵活,所需工作面小,工人劳动强度低:基本采用机械化作业.工艺简便、施工安全、便于相关工序穿插等特点。
施工前编制专项施工方案,进行技术交底。
根据预应力锚杆设计要求、土层条件和环境条件。
合理选择施工设备、器具和工艺方法。
搭设施工工作平台。
锚杆制作与安装锚杆制作①锚杆制作前对钻孔清理的孔位实际长度进行测量,并按孔号对锚杆进行下料。
根据设计图纸尺寸,在锚杆上安置PVC塑料定位支架。
用粘结或绑扎固定定位支架,绑扎时一定要捆扎牢靠。
②剪裁锚杆应使用砂轮机切割,不得采用氧割或电焊。
锚杆接长使用联接器。
自由段长度应考虑张拉端张拉时所需要的长度。
锚杆制作完成后,进行外观检验,按锚杆长度,规格对应孔号进行编号。
中空注浆锚杆制作完成后尽早使用。
避免长期存放。
锚杆应存放在干燥、清洁的地方,锚杆体裸露部分应用浸渍油脂的纸张或塑料布进行防潮处理,不得受到机械损坏。
以上是成都现代万通锚固对中空注浆锚杆工艺原理及施工特点的介绍,了解中空注浆锚杆的工艺原理及施工特点之后我们一起来了解一家成都地区的锚固技术公司,他就是成都现代万通锚固技术有限公司。
成都现代万通锚固技术有限公司是集研发、生产、销售为一体的专业锚固技术公司。
一、自进式(中空注浆)锚杆施工工艺流程二、自进式(中空注浆)锚杆施工主要工序作业措施为确保自进式锚杆的耐久性,应保证杆体全部被水泥浆或水泥砂浆包裹。
因此施工前,对于不同岩石条件的锚杆应进行试验,以确定所采用的诸如灌浆压力、浆液配比、灌浆工艺等技术参数,并保证杆体能被水泥浆或水泥砂浆包裹,试验报告应报监理人审批。
1、锚杆的安装(1)使用前,应检查钻头、钻杆是否通气,如有堵塞应处理通畅后方可使用。
(2)连接钻头和锚杆、凿岩机和钎尾、钻机连接套和钎尾、锚杆和钻机连接套等。
(3)锚杆对准设计的锚孔位置,凿岩机应先给风或水,然后钻进,在破碎岩中钻进时,钻头的水孔易堵塞,因此在钻进时,应放慢钻进速度,多回转,少冲击,注意水从钻孔中流出的状况,若有水孔堵塞的现象,应后撤锚杆500mm左右,并反复扫孔,使水孔畅通,然后慢慢推进,直到设计深度。
(4)钻进至设计深度,应用水或空气洗孔,检查钻头上的孔是否畅通,然后将锚杆从钻机连接套上卸下,锚杆按设计要求外露。
(5)用钢管将止浆塞通过锚杆外露端打入孔口100mm左右作为封孔进行注浆,如注浆压力较大或围岩较为破碎,也可采用锚固剂封孔。
2、锚杆的注浆(1)检查注浆泵及其配件是否齐备和正常,水泥浆或水泥砂浆的水灰比或粒径、湿度等是否符合设计要求。
(2)用水或空气检查锚孔是否畅通,调节水流量计使砂浆水灰比至设计值为止,从泵出口出来的砂浆,必须要均匀,不能有断续不均现象。
(3)迅速将锚杆和注浆管及泵用快速接头连接好,开动泵注浆,整个过程应连续灌注,不停顿,必须一次完成,观察浆液从止浆塞边缘流出或压力表达到设计值,即可停泵。
若注浆过程中,出现堵管现象,应及时清理锚杆、注浆软管和泵,此时若泵的压力表显示有压,应反转电机1-2秒卸压,方可卸下各接头,电机反转时间必须短暂。
(4)当完成一根锚杆的注浆后,应迅速卸下注浆软管与锚杆的接头,清洗并安装至另一根锚杆,然后注浆,若停泵时间较长,在对下根锚杆注浆前应放掉前段不均匀的灰浆,以避免堵孔。
中空注浆锚杆施工方法嘿,咱今儿个就来讲讲这中空注浆锚杆的施工方法!你可别小瞧了这玩意儿,它在好多工程里那可是顶梁柱般的存在呢!先来说说这准备工作吧。
就好比你要去打仗,不得先把武器弹药啥的准备好呀!那锚杆、钻头、注浆机这些家伙什儿都得齐全咯,而且还得保证质量杠杠的,不然到时候掉链子可就麻烦啦。
然后呢,就是定位啦。
你得找准地方下家伙呀,可不能瞎戳一气。
就跟你打靶一样,得瞄得准准的,不然子弹都不知道飞哪儿去啦。
在岩壁上找好位置,做好标记,这一步可得认真仔细喽。
接着就该钻孔啦。
拿起那钻头,就跟那电钻似的嗡嗡响,嘿,可带劲啦!钻的时候也得注意,别钻歪了,要直直地钻下去。
这就好像挖井,你得挖得正,水才能冒出来呀。
钻孔的深度也得把握好,深了浅了都不行,得恰到好处。
孔钻好了,该把锚杆放进去啦。
就像是给这个孔穿上一件特制的衣服一样。
锚杆放进去得稳稳当当的,不能摇摇晃晃。
接下来就是注浆啦。
这就好比给锚杆喂饭,让它吃得饱饱的,才有劲儿干活呀。
把那浆料通过注浆机慢慢地灌进去,看着那浆料填满整个孔,心里就踏实啦。
在这整个过程中,可得时刻留意着各种小细节哦。
比如说钻孔的时候有没有啥异常情况呀,注浆的时候是不是顺利呀。
就跟你走路一样,得时刻看着脚下,别一不小心踩坑里啦。
你说这中空注浆锚杆施工是不是挺有意思的呀?它虽然看起来好像挺简单的,但里面的门道可多着呢!每一个步骤都不能马虎,都得认真对待。
就好像盖房子,一块砖一块砖地垒起来,才能盖出坚固漂亮的大房子。
这中空注浆锚杆施工也是一样,一步一步地做好,才能保证工程的质量和安全呀。
咱再打个比方,这中空注浆锚杆就像是人体的骨骼,支撑着整个工程呢。
要是这骨骼不结实,那工程还不得摇摇欲坠呀!所以说呀,施工的时候可千万不能大意,要像对待宝贝一样对待它。
总之呢,中空注浆锚杆施工方法虽然不复杂,但也绝对不是随随便便就能搞定的。
得用心去做,用细心和耐心去对待每一个环节。
这样才能让我们的工程稳稳当当,坚如磐石!你说是不是这个理儿呀?。
迈式注浆钻进锚杆是一种将钻进,注浆,锚固功能合而为一的锚杆,能够保证在复杂地层(软岩,土层,断裂带等)条件下的锚固效果,具有可靠,高效,简便的特点。
(1)钻杆及锚杆合而为一,在风化岩,碎岩层,回填区,砂,粘土,园卵石层等不需套管护壁,即能形成锚孔,保证锚固与注浆效果。
操作简便,快捷省时,节省25%工作量,减少工程成本。
(2)高效能的注浆,充填裂隙,固结岩体和土层,控制地下水,具有良好的注浆扩散半径及可靠的锚固质量。
(3)连续的螺纹使迈式注浆钻进锚杆可任意切割,连接,适合在狭窄的工作场地施工。
同时,连续的螺纹使迈式注浆钻进锚杆比光滑的钢管具有更强的粘结阻力。
据试验结果所得,粘结阻力高出光滑钢管2—3倍。
本文仅就用潜孔钻机施工迈工锚杆作简介,当采用手持气腿式风钻的施工方法与使用潜孔钻大体相同,两者区别在于手持气腿式风钻适用于4m以内的迈式锚杆。
1.施工方法1.1施工准备:用人工或机械将要施工的场地平整好,以便潜孔钻能行驶、进出及操作。
一般要修一条潜孔钻机行驶便道,便道要求宽3m左右,坡度控制在30%,而施工场地需4m×5m。
根据需要搭设工作平台或搭设脚手架,以便操作。
将各种风管和水管接好,保持各种管路畅通,空压机司机和注浆手及潜孔钻司机到位,空压机、潜孔钻机、注浆泵、灰浆搅拌机试机无故障,备好各种料具。
1.2钻孔: 空压机启动后,开启潜孔钻机,根据地形及地质情况,调整好潜孔钻机的钻进角度。
在潜孔钻在套上专用的纤尾套,将锚杆与纤尾套连接牢固,并在第一节锚杆的前端套上钻头。
并根据地质情况确定锚杆的长度,以现场拼接锚杆。
当一节锚杆钻进后,在前一节锚杆的尾部套上带有人工涂抹润滑剂的连接套后再连接好后一节锚杆,直到每根锚杆钻到需要长度。
1.3注浆:通过快速注浆接头将锚杆尾端注浆泵相连,启动灰浆搅拌机,人力将水泥和其他外加剂材料按配合比配制好,输入到搅拌中进行加水搅拌。
搅拌均匀后,输入压浆泵,压浆时要保持压浆高压管顺直。
中空注浆锚杆施工方法及工艺流程下载提示:该文档是本店铺精心编制而成的,希望大家下载后,能够帮助大家解决实际问题。
文档下载后可定制修改,请根据实际需要进行调整和使用,谢谢!而且本店铺为大家提供各种类型的实用资料,如教育随笔、日记赏析、句子摘抄、古诗大全、经典美文、话题作文、工作总结、词语解析、文案摘录、其他资料等等,想了解不同资料格式和写法,敬请关注!Download tips: This document is carefully compiled by this editor. I hope that after you download it, it can help you solve practical problems. The document can be customized and modified after downloading, please adjust and use it according to actual needs, thank you!In addition, this shop provides you with various types of practical materials, such as educational essays, diary appreciation, sentence excerpts, ancient poems, classic articles, topic composition, work summary, word parsing, copy excerpts, other materials and so on, want to know different data formats and writing methods, please pay attention!中空注浆锚杆施工方法及工艺流程。
引言中空注浆锚杆作为一种常见的地下工程支护材料,其施工方法和工艺流程对工程质量和安全至关重要。
【最新资料Word版可自由编辑!】中空注浆锚杆有用于预支护的超前中空注浆锚杆和用于一般隧道复合式衬砌拱部的系统径向锚杆。
主要应用于地质条件中等-良好的围岩永久系统支护和超前预支护。
1 施工工艺1.1 中空注浆锚杆参数超前锚杆:φ25,长度3.5m;环向间距40cm;纵向间距Ⅳ级围岩中为2.0m,Ⅴ级为2.4m;外插角5°~10°,可据实际情况作适当调整,注浆材料为1:1水泥浆液。
系统锚杆:φ25带排气装置,长度3、3.5、4m。
杆体极限拉力≥180KN,带垫板,垫板尺寸不得小于150mm×150mm×6mm,梅花形布置,间距详参设计。
1.2 工艺流程中空注浆锚杆施工工艺流程见图1。
图1 中空注浆锚杆施工工艺框图1.3 施工方法区别于普通的砂浆锚杆,它将传统的先灌浆后锚固工艺改为先锚固后注浆,注浆时压力可达数十公斤,不但可以充填锚孔,而且在裂隙发育的地区,浆液在注浆压力作用下渗透进裂隙,达到改善围岩结构的目的。
锚杆制作:采用厂家生产的定型产品,如WT、WTD系列,锚杆由中空全螺纹杆体、排气管、锚头、止浆塞、垫板、螺母组成。
见图2。
图2 普通中空注浆锚杆系统⑴采用锚杆台车或风枪钻孔,并用高压风清孔。
地质为黄土地层时采用煤矿螺旋钻成孔。
⑵将安装好锚头的中空锚杆和排气管同时插入孔内,锚头上的倒刺立即将锚杆挂住。
⑶人工安装止浆塞、垫板和螺母。
⑷利用快速接头将锚杆和注浆机连接。
⑸开启注浆机器,按照设计的注浆压力进行压力注浆。
⑹待砂浆达到设计强度90%以上时,再度拧紧螺母,施加预应力。
2 质量要求2.1质量验收规范《客运专线铁路隧道工程质量验收暂行标准》2.2 分项验收标准2.2.1 主控项目●半成品、成品锚杆的类型、规格、性能等应符合设计要求和国家现行有关技术标准的规定。
检查数量:按进场的每批次随机抽样3%进行检验。
检验方法:检查产品合格证、出厂检验报告并进行试验。
●锚杆安装的数量应符合设计要求。
1、工程概述1.1、工程简述索风营电站左右坝肩高程843.6m以上地质构造为崩塌堆积块石夹粘土与坡残积粘土夹碎块石以及灰岩,开挖支护具体操作是以2m一个台阶边开挖边支护,由于开挖后坡较陡(1:0.5) ,在加上岩土结构松散的影响,对边坡的稳定很不利,为保证边坡的稳定,在边坡的支护过程中采用自钻式中空注浆锚杆,具体布置如下:左坝肩崩塌堆积块石夹粘土部分采用长度为80Φ25L=6m自钻式锚杆,俯角30°,间排距2m,外露0.5m; 坡残积粘土夹碎块石部分使用长Φ32L=9m自钻式锚杆,间排距2m,外露0.5m。
右坝肩采用99Φ32L=9m和119Φ25L=6m的自钻式锚杆与钢管桩间隔布置,两种锚杆的布置形式均为:间排距2m,外露1m,俯角30°。
在进水口上部的Ⅲ#塌滑堆积体860.0m高程以上分A、B、C三个支护区混凝土挡墙的支护节点处布置自钻式锚杆,根据地质条件和其它因素综合考虑,自钻式锚杆锚杆的长度有所不同。
A区:872.0m高程以上,自钻式锚杆规格为Φ25L=9m,深入覆盖层8.7m,共387根; B区:867.0m~872.0m高程,自钻式锚杆规格为Φ25L=6m,深入覆盖层5.7m,共172根; C 区:860.0m高程排水沟~867.0m高程,自钻式锚杆规格为Φ25L=3m,深入覆盖层2.7m,共349根。
1.2、主要工程量左右岸坝肩843.6m高程以上覆盖层及Ⅲ#塌滑堆积体处理自钻式锚杆的主要设计工程量见表1。
表1 自钻式锚杆主要工程量表2、自钻式锚杆的特点自钻式锚杆与一般注浆锚杆相比,具有其自身的特点和优点。
2.1、一般锚杆施工一般锚杆的施工是先钻孔,取出钻杆后,再进行先注浆后安装锚杆或先锚杆后注浆的施工方法。
这个过程中就存在一些常见的难以解决的问题,如:①钻孔时的岩渣若没有完全排出或钻孔部位地质不良引起堵孔会使锚杆下注困难②锚杆孔口没有堵口,注浆压力无法保证,可能出现注浆不饱满。
自钻式中空锚杆施工工法1前言在水电工程施工中,经常遇到各类不良地质条件,如软弱围岩、断层破碎带、高地应力等复杂地质条件,为保证工程安全,需对不良地质进行锚固处理。
如:在西藏某水电站厂房后边坡覆盖层及交通洞工程中,岩石以Ⅴ类为主,岩性为全风化紫红色石英砂岩夹泥质粉砂岩;大渡河某水电站左岸坝顶以上高边坡工程中,岩石以Ⅴ类为主,岩性为全、强风化花岗岩;使用普通砂浆锚杆已远不能满足施工要求,根据现场实际情况,设计单位对边坡支护采用了自钻式中空锚杆。
某企业在工程施工中,结合工程实践进行了总结创新,形成了自钻式中空锚杆施工工法,实现工程施工了安全、快速、经济的目的,具有明显的社会效益和经济效益。
2工法特点2.1在边坡、隧道超前支护、径向支护及各类边坡处理、高地应力大变形病害等的整治工程中,具有操作简单、经济适用、安全可靠的特点。
2.2钻头具较强穿透力,能穿过各类岩石。
依靠普通凿岩机械, 不需采用套管、预注浆等特殊手法护壁,将钻孔、注浆及锚固等功能一体化。
2.3锚杆外表面全长采用波形连接螺纹,便于安装钻头、连接套、紧固螺母,并能任意切割和连接加长,便于狭小场地施工。
2.4锚杆体中空部分为注浆通道,可以从里至外注浆;安装止浆塞可进行压力注浆,使浆液充满空隙;垫板、螺母可以将锚杆端部应力均匀传递到岩体上。
2.5经过试验(无损检测法)检测:锚杆注浆密实度达到85%以上(达到75%为合格),杆体检测长度达到设计长度的95%(达到设计长度的90%即为合格)。
3适用范围适用于全强风化岩或岩体极其破碎的边坡、隧道超前支护、径向支护,高地应力大变形病害等整治中,也可适用于标准要求高的路基加固、深基坑边坡加固等工程。
4工艺原理自钻式锚杆端头为一次性简易钻头,在外力作用下能自行完成钻孔任务。
锚杆体外表通体为波纹状,可解决排渣不畅、塌孔、卡钻,增大锚杆的握裹力,同时,高强度钻杆即为锚杆体。
,显著增强隧洞或边坡工程的稳定性锚杆中空杆体为注浆通道,钻进后在中空杆体的孔腔中由内向外灌注水泥浆,且锚孔外端口有止浆塞和托板,能有效地防止浆液的外溢,保证杆体与孔壁间的注浆饱满,这样就能沿锚杆全长传递剪应力和拉应力,确保锚固范围内的岩体得到加固;必要时,还可以实施压力注浆,使浆液向杆体周边岩体的裂隙内渗透扩散,使锚固范围内的岩体得到进一步加固。
自进式锚杆施工工艺迈式注浆钻进锚杆是一种将钻进,注浆,锚固功能合而为一的锚杆,能够保证在复杂地层(软岩,土层,断裂带等)条件下的锚固效果,具有可靠,高效,简便的特点。
(1)钻杆及锚杆合而为一,在风化岩,碎岩层,回填区,砂,粘土,园卵石层等不需套管护壁,即能形成锚孔,保证锚固与注浆效果。
操作简便,快捷省时,节省25%工作量,减少工程成本。
(2)高效能的注浆,充填裂隙,固结岩体和土层,控制地下水,具有良好的注浆扩散半径及可靠的锚固质量。
(3)连续的螺纹使迈式注浆钻进锚杆可任意切割,连接,适合在狭窄的工作场地施工。
同时,连续的螺纹使迈式注浆钻进锚杆比光滑的钢管具有更强的粘结阻力。
据试验结果所得,粘结阻力高出光滑钢管2—3倍。
本文仅就用潜孔钻机施工迈工锚杆作简介,当采用手持气腿式风钻的施工方法与使用潜孔钻大体相同,两者区别在于手持气腿式风钻适用于4m以内的迈式锚杆。
1. 施工方法施工准备用人工或机械将要施工的场地平整好,以便潜孔钻能行驶、进出及操作。
一般要修一条潜孔钻机行驶便道,便道要求宽3m左右,坡度控制在30%,而施工场地需4m×5m。
根据需要搭设工作平台或搭设脚手架,以便操作。
将各种风管和水管接好,保持各种管路畅通,空压机司机和注浆手及潜孔钻司机到位,空压机、潜孔钻机、注浆泵、灰浆搅拌机试机无故障,备好各种料具。
钻孔空压机启动后,开启潜孔钻机,根据地形及地质情况,调整好潜孔钻机的钻进角度。
在潜孔钻在套上专用的纤尾套,将锚杆与纤尾套连接牢固,并在第一节锚杆的前端套上钻头。
并根据地质情况确定锚杆的长度,以现场拼接锚杆。
当一节锚杆钻进后,在前一节锚杆的尾部套上带有人工涂抹润滑剂的连接套后再连接好后一节锚杆,直到每根锚杆钻到需要长度。
注浆通过快速注浆接头将锚杆尾端注浆泵相连,启动灰浆搅拌机,人力将水泥和其他外加剂材料按配合比配制好,输入到搅拌中进行加水搅拌。
搅拌均匀后,输入压浆泵,压浆时要保持压浆高压管顺直。
一、自进式(中空注浆)锚杆施工工艺流程
二、自进式(中空注浆)锚杆施工主要工序作业措施
为确保自进式锚杆的耐久性,应保证杆体全部被水泥浆或水泥砂浆包裹。
因此施工前,对于不同岩石条件的锚杆应进行试验,以确定所采用的诸如灌浆压力、浆液配比、灌浆工艺等技术参数,并保证杆体能被水泥浆或水泥砂浆包裹,试验报告应报监理人审批。
1、锚杆的安装
(1)使用前,应检查钻头、钻杆是否通气,如有堵塞应处理通畅后方可使用。
(2)连接钻头和锚杆、凿岩机和钎尾、钻机连接套和钎尾、锚杆和钻机连接套等。
(3)锚杆对准设计的锚孔位置,凿岩机应先给风或水,然后钻进,在破碎岩中钻进时,钻头的水孔易堵塞,因此在钻进时,应放慢钻进速度,多回转,少冲击,注意水从钻孔中流出的状况,若有水孔堵塞的现象,应后撤锚杆500mm左右,并反复扫孔,使水孔畅通,然后慢慢推进,直到设计深度。
(4)钻进至设计深度,应用水或空气洗孔,检查钻头上的孔是否畅通,然后将锚杆从钻机连接套上卸下,锚杆按设计要求外露。
(5)用钢管将止浆塞通过锚杆外露端打入孔口100mm左右作为封孔进行注浆,如注浆压力较大或围岩较为破碎,也可采用锚固剂封孔。
2、锚杆的注浆
(1)检查注浆泵及其配件是否齐备和正常,水泥浆或水泥砂浆的水灰比或粒径、湿度等是否符合设计要求。
(2)用水或空气检查锚孔是否畅通,调节水流量计使砂浆水灰比至设计值为止,从泵出口出来的砂浆,必须要均匀,不能有断续不均现象。
(3)迅速将锚杆和注浆管及泵用快速接头连接好,开动泵注浆,整个过程应连续灌注,不停顿,必须一次完成,观察浆液从止浆塞边缘流出或压力表达到设计值,即可停泵。
若注浆过程中,出现堵管现象,应及时清理锚杆、注浆软管和泵,此时若泵的压力表显示有压,应反转电机1-2秒卸压,方可卸下各接头,电机反转时间必须短暂。
(4)当完成一根锚杆的注浆后,应迅速卸下注浆软管与锚杆的接头,清洗并安装至另一根锚杆,然后注浆,若停泵时间较长,在对下根锚杆注浆前应放掉前段
不均匀的灰浆,以避免堵孔。
在整个注浆过程中,操作人员应密切配合,动作迅速,保证注浆过程的连续性。
(5)在浆液终凝之前,不得敲击、碰撞或施加任何其它荷载。
3、其它
(1)用作自进式(中空注浆)锚杆的钢管规格、尺寸和材质均应符合设计要求。
(2)当需要通过自进式(中空注浆)锚杆对围岩进行固接灌浆时,注浆在围岩被喷砼覆盖以后进行。
用来注浆的自进式锚杆,在杆体前端1/3~1/4杆长范围内的管壁上开孔。
孔径6~8mm,孔距沿管轴线100~150mm,环向90mm,梅花型布置。
托板上设计孔径约12mm的排气孔。
孔口处锚杆与孔壁之间的孔隙应进行封堵。
注浆的浆液应采用添加早强剂、减水剂、膨胀剂的水泥浆。
注浆压力通过试验确定,不宜超过1MPa。
注浆时,待排气管出浆后,封堵排气管,并继续灌注至预定压力,停止灌注,封堵钢管口。
(3)自进式锚杆为注浆锚杆,按注浆锚杆检查方法、数量、合格标准执行。